JP3676548B2 - 光情報媒体の記録再生方法 - Google Patents

光情報媒体の記録再生方法 Download PDF

Info

Publication number
JP3676548B2
JP3676548B2 JP24456397A JP24456397A JP3676548B2 JP 3676548 B2 JP3676548 B2 JP 3676548B2 JP 24456397 A JP24456397 A JP 24456397A JP 24456397 A JP24456397 A JP 24456397A JP 3676548 B2 JP3676548 B2 JP 3676548B2
Authority
JP
Japan
Prior art keywords
recording
information recording
layer
information
laser beam
Prior art date
Legal status (The legal status is an assumption and is not a legal conclusion. Google has not performed a legal analysis and makes no representation as to the accuracy of the status listed.)
Expired - Fee Related
Application number
JP24456397A
Other languages
English (en)
Other versions
JPH1166621A (ja
Inventor
徹 藤井
俊明 田島
祐寿 富沢
良 根岸
恵美子 浜田
Current Assignee (The listed assignees may be inaccurate. Google has not performed a legal analysis and makes no representation or warranty as to the accuracy of the list.)
Taiyo Yuden Co Ltd
Original Assignee
Taiyo Yuden Co Ltd
Priority date (The priority date is an assumption and is not a legal conclusion. Google has not performed a legal analysis and makes no representation as to the accuracy of the date listed.)
Filing date
Publication date
Application filed by Taiyo Yuden Co Ltd filed Critical Taiyo Yuden Co Ltd
Priority to JP24456397A priority Critical patent/JP3676548B2/ja
Publication of JPH1166621A publication Critical patent/JPH1166621A/ja
Application granted granted Critical
Publication of JP3676548B2 publication Critical patent/JP3676548B2/ja
Anticipated expiration legal-status Critical
Expired - Fee Related legal-status Critical Current

Links

Images

Landscapes

  • Optical Record Carriers And Manufacture Thereof (AREA)
  • Optical Recording Or Reproduction (AREA)

Description

【0001】
【発明の属する技術分野】
本発明は、光学的に読み取り可能な情報が記録及び再生し得る光情報媒体の記録再生方法であって、2つの情報記録層を有し、光学ピックアップにより、光情報媒体の片面側から各情報記録層に焦点を合わせて再生用レーザ光を照射して信号を読み取り、再生する方式の、いわゆるデュアルレイヤタイプの光情報媒体の記録再生方法に関する。
【0002】
【従来の技術】
最近の短波長レーザーの開発と実用化に伴い、より高密度な記録再生を可能とするデジタルビデオディスク(DVD)の実用化が進んでいる。この種の光情報媒体では、その少なくとも一方の主面に情報記録領域が設定され、この情報記録領域に情報記録手段であるピットが形成され、その上に金属膜からなる反射層が形成されている。例えば、前記DVD方式の光情報媒体では、2枚のディスクが互いに貼り合わせられている。
【0003】
前記のようなDVDでは、信号を記録するピットを設ける層の数により、シングルレイヤとデュアルレイヤとの2種類がある。前者は、1層のみにピットを形成し、光学ピックアップからその層に焦点を合わせて再生用レーザ光を照射し、信号を読み取って再生するものである。最大4.7GB程度の記憶容量を有する。後者は、ピットを2層に設け、光学ピックアップからそれぞれの層に焦点を合わせて再生用レーザ光を照射し、信号を読み取って再生するものである。2つの層のピットから信号を読み取るため、最大8.5GB程度の記憶容量が得られる。
【0004】
さらに、前記のようなDVDでは、2枚貼り合わせた一方のディスクのみにピットを形成するか、或いは双方のディスクにピットを形成するかによって、シングルサイドとダブルサイドの2種類がある。何れのものも、前述のシングルレイヤとデュアルレイヤとの2種類がある。後者のダブルサイドのDVDでは、前者のシングルサイドのDVDの倍の記憶容量が得られる。
【0005】
このようなDVDにおいては、記録可能としたもの、いわゆるDVD−RやDVD−RAMも開発及び検討がされている。この中で、DVD−Rの基本的な構成は、ディスクの表面の情報記録領域に光学ピックアップのトラッキング手段であるスパイラル状の溝からなるプリグルーブが形成され、その上にスピンコート法等の手段で有機色素が塗布され、乾燥されて光干渉層が形成され、その上に金属膜からなる反射層が形成される、というものである。このDVD−Rは、情報記録層に信号を1回だけ書き込みが可能で、その消去及び再書き込みをしないライトワンスタイプのものである。
また、DVD−RAMは、ランダムな書き込み及び消去が可能な、いわゆるディスク・フェーズチェンジ記録技術を使用したものの開発が検討されている。これは、その情報記録層に信号を何度か書き込み及び消去が可能なオーバーライトタイプのものである。
【0006】
何れの種類の記録可能なDVDも、2枚貼り合わせた一方のディスクのみにピットを形成するか、或いは双方のディスクにピットを形成するかによって、シングルサイドとダブルサイドの2種類がある。シングルサイドの最大記憶容量は、DVD−Rで3.9GB程度、DVD−ROMで2.6GB程度である。ダブルサイドでは、それぞれそれらの倍の記憶容量が得られる、とされている。
【0007】
【発明が解決しようとしている課題】
前記のよう記録可能なDVD、いわゆるDVD−RやDVD−RAMでは、シングルレイヤタイプのものしかなく、これらの光情報媒体でより大きな記憶容量を得るためには、ダブルサイドタイプのものとする必要があった。
その理由は、デュアルレイヤタイプの光情報媒体は、情報記録層が2層あるため、光学ピックアップから奥の情報記録層に焦点を当てて書き込み用レーザ光を照射して信号を記録するとき、手前の情報記録層に記録用レーザ光の作用が及び、その手前の情報記録層が破壊、損傷または変化してしまうからである。
【0008】
しかし、ダブルサイドタイプの光情報媒体では、順次その両面から信号を読み取らなければならず、その再生を行うためには、必ず光情報媒体の反転という動作を行わなければならなかった。或いは、光情報媒体の両面側に光学ピックアップを配置したダブルピックアップ方式のプレーヤで再生する必要があった。何れの場合も、光情報媒体の反転機構が必要となったり、2つの光学ピックアップが必要になる等、プレーヤやドライブが複雑化し、或いは大型化する等の課題がある。しかも、光情報媒体の再生により、ビデオの鑑賞やゲームに興じているときに、映像の再生が途中で途切れることを余儀なくされる。すなわち、ビデオの鑑賞やゲームに興じているときの集中感を殺ぐことがない、いわゆるシームレス再生ができない。
【0009】
【課題を解決するための手段】
本発明は、このような従来の光情報媒体における前記のような課題に鑑み、貼り合わせ型の書き込み可能な光情報媒体において、デュアルレイヤタイプの光情報媒体として再生することができる光情報媒体の記録再生方法を提供することを目的とするものである。
このような目的を達成するため、本発明では、記録時に2つの情報記録層に光情報媒体の両面からそれぞれ書き込みできるようにし、なお且つ再生時には2つの情報記録層に光情報媒体の片面から読み込みができるようにしたものである。
【0011】
すなわち、本発明による光情報媒体の記録再生方法では、第一の透光性基板5の上に、記録用レーザ光の照射により光学的に情報が記録し得る第一の情報記録層12が設けられた第一のディスク1と、第二の透光性基板5’の上に、記録用レーザ光の照射により光学的に情報が記録し得る第二の情報記録層12’が設けられた第二にディスク1’とを有し、これら第一と第二のディスク1、1’の前記情報記録層12、12’側が互いに貼り合わせられ、それら情報記録層12、12’の間に、記録用レーザ光及び再生用レーザ光に対して透光性を有するフォーカス用間隙層11が形成されており、少なくとも一方の情報記録層12が再生用レーザ光に対して透光性を有する光情報媒体を使用する。この光情報媒体を使用し、前記第一と第二の透光性基板5、5’側からそれら基板を通してそれぞれ第一と第二の情報記録層12、12’に記録用レーザ光を照射して信号を記録する一方、一方の透光性基板5側から透光性を有する前記一方の情報記録層12を通して他方の情報記録層12’に再生用レーザ光を集束して、そこに記録された信号の再生を可能とし、再生時には片面側から双方の情報記録層12、12’に記録された信号を再生する。
【0012】
ここで、フォーカス用間隙層11は、一対のディスク1、1’を貼り合わせる接着層を兼ねることもできる。
また、第一と第二の情報記録層12、12’とフォーカス用間隙層11との間に、再生用レーザ光を反射する第一と第二の反射層13、13’をそれぞれ設けることもできる。この場合、一方の反射層13、13’は、再生用レーザ光の一部を透過し得る半透光性反射膜とする。さらに、情報記録層12、12’と接して同情報記録層12、12’と再生用レーザ光の波長において屈折率の異なる層を形成すると、これらの層と情報記録層12、12’との界面で再生用レーザ光が反射されるため、これによって反射層としての機能を兼ねさせることもできる。
【0013】
このような光情報媒体については、次のようにしてその情報の記録と再生をする。すなわち、情報の記録時には、それぞれ第一と第二の透光性基板5、5’側から第一と第二の透光性基板5、5’を通してそれぞれ第一と第二の情報記録層12、12’に記録用レーザ光を照射して信号を記録する。他方、その情報の再生時には、一方の透光性基板5側から第一と第二の情報記録層12、12’に再生用レーザ光をそれぞれ集束して信号を再生する。
【0014】
例えば、情報の記録時には、第一と第二の情報記録層12、12’に記録用レーザ光を集束させることにより、それぞれ第一と第二の透光性基板5、5’の表面を局部的に変形して信号を記録する。或いは、第一と第二の情報記録層12、12’に記録用レーザ光を集束させることにより、それら第一と第二の情報記録層12、12’の光学特性を局部的に変化させて信号を記録する。すなわち、これら透光性基板5、5’の局部的な変形及びその変形に伴う情報記録層12、12’や反射層13、13’の局部的な変形、或いは情報記録層12、12’の光学特性の局部的な変化により、光学ピックアップへの戻り光に光路長の変化を伴うピットが形成され、このピットから光学的に信号を再生することができるようになる。
【0015】
このような光情報媒体では、一方の情報記録層12、12’に記録用レーザ光を集束して信号の記録を行うとき、この記録用レーザ光を他方の情報記録層12’、12に通さずに記録することが出来る。また、一方の情報記録層12、12’に集束した記録用レーザ光が、その一方の情報記録層12、12’を透過し、フォーカス用間隙層11を通して他の情報記録層12’、12に達したとしても、当該他の情報記録層12’、12は記録用レーザ光の焦点からずれている。このため、当該他の情報記録層12、12’には、記録用レーザ光が集束されない、いわゆるデフォーカス状態となる。しかも、他の情報記録層12’、12に達するレーザ光は、一方の情報記録層12、12’やフォーカス用間隙層11を通過する過程で吸収、反射され、減衰される。従って、記録用レーザ光の光密度は、前記他の情報記録層12’、12に対しては極めて小さい。このような理由から、他の情報記録層12’、12を破壊、損傷または変化させずに、目的の情報記録層12、12’に記録用レーザ光を集束させて、その目的の情報記録層12、12’にのみ所要の信号を記録することが出来ることになる。
【0016】
こうして記録された信号は、一方の透光性基板5側から各情報記録層12、12’に再生用レーザ光を集束させて再生することが可能である。これにより、いわゆるデュアルレイヤタイプの光情報媒体として再生することが可能である。
なお、前記のように、光情報媒体への記録時には、その両面側から記録用レーザ光をそれぞれの情報記録層12、12に集束して信号を記録することが必要である。しかし、必ずしも光学ピックアップを光情報媒体の両側に配置する必要はない。
【0017】
例えば、第一の透光性基板5を通して第一の情報記録層12に記録用レーザ光を集束して信号を記録した後、光情報媒体を反転させて第二の透光性基板5’を通して第二の情報記録層12に記録用レーザ光を集束して信号を記録する。こうすることにより、記録のための光学ピックアップを複数備える必要はない。
【0018】
【発明の実施の形態】
次に、図面を参照しながら、本発明の実施の形態について具体的且つ詳細に説明する。
本発明による光情報媒体の記録再生方法に使用する光情報媒体の一例として、両面貼り合わせによる両面記録−片面再生方式のデュアルレイヤタイプの追記形光情報媒の例を図1〜図4に示す。図3及び図4に示すように、ディスク1は、中央にセンターホール4を有する透明な円板状の透光性基板5を有する。この透光性基板5は、ポリカーボネート、ポリメチルメタクリレート(PMMA)等の透明樹脂で作るのが最もよいが、表面にプリグルーブ等を形成出来るように樹脂層等を設けることにより、ガラス基板を用いることもできる。
【0019】
この透光性基板5の片面の前記センターホール4の外側にクランピングエリアが設定されており、その外周側に情報記録領域rが設定されている。図1、図2及び図4に示すように、透光性基板5の表面の情報記録領域rの部分には、スパイラル状のグルーブからなるトラッキングガイド3が形成されている。このトラッキングガイド3のピッチは、0.74〜0.8μmを標準とする。
【0020】
例えば、透光性基板5の前記情報記録領域rの部分の主面にスピンコート法等の手段で有機色素等が塗布され、情報記録層12が形成され、この情報記録層12の上に、金、アルミニウム、銀、銅等の金属膜或いはこれらの合金膜からなる反射層13が形成される。この反射層13は、光の透過性を有する半透明のもので、例えば前記のような金属膜をごく薄く形成する。また金属膜の代わりに、シリコーン樹脂等の透明な樹脂膜であって、情報記録層12と屈折率の異なるものをスピンコート法等による設けることもできる。さらに、SiC、SiN等の無機材料膜を反射層13として設けることもできる。
【0021】
前記のように、透光性基板5の表面に情報記録層12と反射層13を形成したディスク1の他にもう1枚のディスク1’を用意する。このディク1’の透光性基板5’は、前記ディスク1と同じ材質で出来た同じサイズのものであり、その主面には、前記透光性基板5のようなトラッキングガイド3’が形成され、その上に情報記録層12’と反射層13’が設けらる。例えば、まずスピンコート法等の手段で有機色素等が塗布され、情報記録層12’が形成され、さらに、この情報記録層12’の上に、金、アルミニウム、銀、銅等の金属膜或いはこれらの合金膜からなる反射層13’が形成される。この反射層13’は、必ずしも前記ディスク1の反射層13のような半透明のものである必要はなく、半透光性或いは全反射性の何れであってもよい。
【0022】
これらの2枚のディスク1、1’が貼り合わせられる。例えば、スピンコート法やスクリーン印刷法等の手段により、2枚のディスク1、1’の少なくとも一方の主面に接着剤として反応性硬化樹脂が塗布され、さらにこれらの面が互いに向かい合わせて重ね合わせられ、且つ前記反応性硬化樹脂が硬化される。これにより、前記反応性硬化樹脂が硬化することにより形成された接着剤により、2枚のディスク1、1’の主面が互いに貼り合わせられる。この場合、ディスク1、1’はそれらの情報記録層12、12’が形成された面が接着される。
【0023】
例えば、ディスク1、1’の少なくとも何れか一方の接着すべき面を上側にして、同面に硬化していない接着剤を滴下し、そのままディスク1、1’を重ね合わせて接着する。
或いは、ディスク1、1’の少なくとも何れか一方の接着すべき面を上側にして、接着剤として同面に硬化していない熱硬化性樹脂を滴下する。その後、2枚のディスク1、1’の接着すべき所定の面同士を重ね合わせる。これにより、接着剤はディスク1、1’から受ける圧力や毛細管現象によりディスク1、1’の間に広がってゆく。この接着剤がディスク1、1’の間の内周側の全面に広がったところで、両ディスク1、1’を高速回転させて余分の熱硬化性樹脂を振り切る。次に、透明なディスク1、1’を加熱し、硬化させて接着剤の層を形成し、この接着剤により双方のディスク1、1’を密着固定する。
【0024】
この接着剤は、反射層13、13’や情報記録層12、12’を溶解しないような溶剤を使用して形成することが必要である。例えば、モノメチルシロキサン(例:信越化学工業株式会社製のKR220)をシクロヘキサンに溶解してディスク1、1’の少なくとも何れか一方の接着面に塗布し、前述のようにしてディスク1、1’を接着する。このような接着剤は、60〜110℃の温度で硬化する。
接着剤としては、その他に2液混合形のエポキシ系、ホットメルト系、アクリル系等のものを使用することが出来る。
【0025】
このようにして2枚のディスク1、1’を貼り合わせた接着層は、2つの情報記録層12、12’の焦点距離を分けるフォーカス用間隙層11の少なくとも一部を構成するものであり、記録及び再生用のレーザ光に対して透明であることが必要である。例えば、図1及び図2に示した例では、接着層がフォーカス用間隙層11を兼ねている。
なお、光情報媒体の耐衝撃性を考慮すると、硬化後の接着層の硬度は、基板の硬度より高いことが好ましい。
【0026】
このような光情報媒体に信号を記録するときは、図1に実線と破線で示すように、一方のディスク1の透光性基板5側から記録用レーザ光を情報記録層12に集束させ、その部分にピットを形成して信号を記録する。次に、図1に二点鎖線で示すように、他方のディスク1’の透光性基板5’側から記録用レーザ光を情報記録層12’に集束させ、その部分にピットを形成して信号を記録する。
【0027】
例えば、一方の情報記録層12に記録用レーザ光を集束して信号の記録を行うとき、手前の情報記録層12に集束した記録用レーザ光が、その情報記録層12を透過し、フォーカス用間隙層11を通して奥にある他の情報記録層12’に達することもある。しかし、記録用レーザ光は、手前の情報記録層12で吸収され、減衰されると共に、奥側の情報記録層12’は、記録用レーザ光の焦点からずれており、いわゆるデフォーカス状態となる。このため、記録用レーザ光は、奥側の情報記録層12’には光学的作用を殆ど及ぼすことがない。従って、奥側の情報記録層12’を破壊、損傷または変化させずに、手前の情報記録層12に記録用レーザ光を集束させて、その情報記録層12にのみ所要の信号を記録することが出来る。
【0028】
このようにして光情報媒体の両面からそれぞれの情報記録層12、12’に記録用レーザ光を入射させて信号を記録する場合、光情報媒体の両面側に光学ピックアップが必要となる。しかし、一般の光情報媒体のドライブは光学ピックアップを1つしか備えておらず、このような場合は、光情報媒体の両面側から順次記録を行う。具体的には、第一の透光性基板5側から記録用レーザ光を第一の情報記録層12に集束して信号を記録した後、光情報媒体を反転することによって、第二の透光性基板5’側を光学ピックアップに向け、その記録用レーザ光を第二の透光性基板5’を通して第二の情報記録層12’に集束し、信号を記録する。なお記録に際しては、トラッキングガイド手段であるプリグルーブ3、3’により、光学ピックアップによる記録用レーザ光の焦点位置をガイドすることは言うまでもない。
【0029】
こうして記録した信号を再生するときは、図2に示すように、透光性基板5側から記録用レーザ光を情報記録層12、12’にそれぞれ集束して記録した信号を読み取る。すなわち、光情報媒体の片側から2つの情報記録層12、12’に記録された信号を読み取るものであり、デュアルレイヤタイプの光情報媒体として信号を読み取ることができる。
これにより、例えばDVD規格に適合する光情報媒体では、そのデュアルレイヤと同等8.5GB程度の記憶容量を得ることが出来る。
【0030】
図7は、光情報媒体への信号の記録前と記録後の状態を模式的に示すものであり、トラキングガイド3、3’と直交する方向に断面した図である。二点鎖線で示したのが記録前の状態であり、実線で示したのが記録後の状態である。
前述のようにして、透光性基板5、5’側からそれぞれ情報記録層12、12’に記録用レーザ光を集束することにより、情報記録層12、12’が熱分解し、これにより第一と第二の透光性基板5、5’の表面を局部的に変形させる。この透光性基板5、5’の表面の変形は、情報記録層12、12’及び反射層13、13’にも及び、それらの界面も変形する。また、前記の熱分解により、第一と第二の情報記録層12、12’の光学特性が局部的に変化する。図7において、ドットを施したのは、情報記録層12、12’の光学特性が局部的に変化した部分15、15’を示す。
【0031】
これら透光性基板5、5’の局部的な変形及びその変形に伴う情報記録層12、12’や反射層13、13’の局部的な変形、さらには情報記録層12、12’の光学特性の局部的な変化により、再生用レーザ光の反射光に、他の部分と異なる局部的な光路長の変化を伴うピットが形成され、このピットから光学ピックアップに反射してくる、いわゆる戻り光により、光学的に信号を再生することができるようになる。
【0032】
例えば図7において、透光性基板5側から第一の情報記録層12側に集束して入射した再生光は、第一の情報記録層12と第一の光反射層13との界面で反射され、その戻り光が光学ピックアップで受光される。このとき、第一の透光性基板5、5’の局部的な変形及びその変形に伴う第一の情報記録層12や第一の反射層13の局部的な変形、さらには第一の情報記録層12の光学特性の局部的な変化により、ピット部分とそれ以外の部分とにおける戻り光の光路長に違いが生じ、これにより信号を再生することができる。
【0033】
他方、透光性基板5側から第一の情報記録層12を非集束状態で透過し、第二の情報記録層12’側に集束して入射した再生光は、第二の反射層13の界面で反射され、その戻り光が光学ピックアップで受光される。このとき、第二の透光性基板5’の局部的な変形及びその変形に伴う第二の情報記録層12’や第二の反射層13’の局部的な変形により、ピット部分とそれ以外の部分における戻り光の光路長に違いが生じ、これにより信号を再生することができる。従って、第二の反射層13’が全反射するものであっても、第二の情報記録層12’側で信号の再生が可能である。
ここで、非集束状態の第一の情報記録層12の近傍では、ピットの回折の影響も存在するが、DVD規格にのっとり、フォーカス用間隙層11が40〜70μm程度あれば、第一の情報記録層12における光学的影響を殆ど無視することが出来る。
【0034】
次に、図5の例について説明すると、この光情報媒体は、金属膜からなる反射層に代えて、シリコーン系樹脂膜、シラン膜等からなる保護層14、14’を、前記の情報記録層12、12’の上に直接設けている。このような保護層14、14’の再生用レーザ光の波長における屈折率は、一般に1.6前後であるのに対し、前述のような有機色素からなる情報記録層12、12’の屈折率は2.0以上と高い。この屈折率の差のため、情報記録層12、12’と保護層14、14’との界面で再生用レーザ光が反射する。従って、このような情報記録層12、12’と屈折率の異なる保護層14、14’は、光学的には前述の反射層13、13’の代わりをなし得る。
【0035】
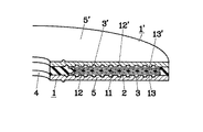
図6の例では、金属膜からなる反射層や前記のような保護層を設けず、2枚のディスク1、1’を接着する接着層がフォーカス用間隙層11を兼ねていると共に、このフォーカス用間隙層11と情報記録層12、12’との界面で再生用レーザ光が反射される。すなわち、情報記録層12、12’とフォーカス用間隙層11との界面における反射を利用して信号を読み取るための記録用レーザ光の反射光を得る。
【0036】
前述の例では、一対のディスク1、1’において、トラキングガイド3、3’となるグルーブが互いに対応する位置で一致して対向するように設けられている。これに対し、例えば、図8に示すように、一対のディスク1、1’において、トラキングガイド3、3’がトラッキング方向に対して直交する方向に互いにずれて配置されていてもよい。また、このトラッキングガイド3が透光性基板5、5’側に凹状のグルーブだけでなく、少なくとも一方のディスク1、1’のトラッキングガイド3、3’が、透光性基板5、5’の表面から凸状となったものであってもよい。
【0037】
【発明の効果】
以上説明した通り、本発明による光情報媒体の記録再生方法では、光情報媒体の両面からそれぞれ情報を記録し、再生時には、いわゆるデュアルレイヤタイプの光情報媒体として片面側から信号を読み取ることが出来る。従って、記録可能の光情報媒体において、片側のみから高密度記録情報の再生が可能となる。これにより、光情報媒体を反転することなく、大きな記憶容量の情報を再生することが可能となる。さらに、同一面から2つの層の記録信号が再生できるので、光情報媒体の反転や2つの光学ピックアップの切替等が不要となり、いわゆるシームレス再生が可能となる。
【図面の簡単な説明】
【図1】本発明による光情報媒体の層構造とその記録時の状態を概念的に示した要部縦断側面図である。
【図2】同光情報媒体の層構造とその再生時の状態を概念的に示した要部縦断側面図である。
【図3】同光情報媒体の例を示す2枚のディスクを貼り合わせる前の状態の半断面分解斜視図である。
【図4】同光情報媒体を示す一部縦断面図である。
【図5】本発明による他の光情報媒体の層構造とその記録時の状態を概念的に示した要部縦断側面図である。
【図6】本発明による他の光情報媒体の層構造とその記録時の状態を概念的に示した要部縦断側面図である。
【図7】本発明による光情報媒体における信号の記録とその再生のメカニズムの例を示すトラッキング部分の要部拡大断面図である。
【図8】本発明による他の光情報媒体の層構造とその記録時の状態を概念的に示した要部縦断側面図である。
【符号の説明】
1 ディスク
1’ ディスク
3 トラッキングガイド
3’ トラッキングガイド
5 透光性基板
5’ 透光性基板
11 フォーカス用間隙層
12 情報記録層
12’ 情報記録層
13 反射層
13’ 反射層
15 情報記録層の光学特性が変化した部分
15’ 情報記録層の光学特性が変化した部分

Claims (4)

  1. 光情報媒体に情報を記録し、再生する方法において、第一の透光性基板(5)の上に、記録用レーザ光の照射により光学的に情報が記録し得る第一の情報記録層(12)が設けられた第一のディスク(1)と、第二の透光性基板(5’)の上に、記録用レーザ光の照射により光学的に情報が記録し得る第二の情報記録層(12’)が設けられた第二のディスク(1’)とを有し、これら第一と第二のディスク(1)、(1’)の前記情報記録層(12)、(12’)側が互いに貼り合わせられ、これら情報記録層(12)、(12’)の間に、記録用レーザ光及び再生用レーザ光に対して透光性を有するフォーカス用間隙層(11)が形成されることにより、前記第一と第二の透光性基板(5)、(5’)側からそれら基板を通してそれぞれ第一と第二の情報記録層(12)、(12’)に記録用レーザ光を照射して信号を記録し、さらに少なくとも一方の情報記録層(12)が再生用レーザ光に対して透光性を有することにより、一方の透光性基板(5)側から透光性を有する前記一方の情報記録層(12)を通して他方の情報記録層(12’)に再生用レーザ光を集束して、そこに記録された信号の再生を可能とした光情報媒体を使用し、第一と第二の透光性基板(5)、(5’)側から第一と第二の透光性基板(5)、(5’)を通してそれぞれ第一と第二の情報記録層(12)、(12’)に記録用レーザ光を照射して信号を記録し、再生時には一方の透光性基板(5)側から第一と第二の情報記録層(12)、(12’)に再生用レーザ光をそれぞれ集束して、記録された信号を再生することを特徴とする光情報媒体の記録再生方法。
  2. 第一と第二の情報記録層(12)、(12’)に記録用レーザ光を集束させることにより、それぞれ第一と第二の透光性基板(5)、(5’)の表面を局部的に変形して信号が記録されることを特徴とする請求項に記載の光情報媒体の記録再生方法。
  3. 第一と第二の情報記録層(12)、(12’)に記録用レーザ光を集束させることにより、それら第一と第二の情報記録層(12)、(12’)の光学特性を局部的に変化させて信号を記録することを特徴とする請求項1または2に記載の光情報媒体の記録再生方法。
  4. 第一の透光性基板(5)を通して第一の情報記録層(12)に記録用レーザ光を集束して信号を記録した後、光情報媒体を反転させて第二の透光性基板(5’)を通して第二の情報記録層(12)に記録用レーザ光を集束して信号を記録することを特徴とする請求項1〜3の何れかに記載の光情報媒体の記録再生方法。
JP24456397A 1997-08-25 1997-08-25 光情報媒体の記録再生方法 Expired - Fee Related JP3676548B2 (ja)

Priority Applications (1)

Application Number Priority Date Filing Date Title
JP24456397A JP3676548B2 (ja) 1997-08-25 1997-08-25 光情報媒体の記録再生方法

Applications Claiming Priority (1)

Application Number Priority Date Filing Date Title
JP24456397A JP3676548B2 (ja) 1997-08-25 1997-08-25 光情報媒体の記録再生方法

Publications (2)

Publication Number Publication Date
JPH1166621A JPH1166621A (ja) 1999-03-09
JP3676548B2 true JP3676548B2 (ja) 2005-07-27

Family

ID=17120586

Family Applications (1)

Application Number Title Priority Date Filing Date
JP24456397A Expired - Fee Related JP3676548B2 (ja) 1997-08-25 1997-08-25 光情報媒体の記録再生方法

Country Status (1)

Country Link
JP (1) JP3676548B2 (ja)

Families Citing this family (1)

* Cited by examiner, † Cited by third party
Publication number Priority date Publication date Assignee Title
ATE504058T1 (de) 2003-10-08 2011-04-15 Panasonic Corp Verfahren zur aufzeichnung von indentifikationsinformationen, vorrichtung dafür und informationsaufzeichnungsmedium

Also Published As

Publication number Publication date
JPH1166621A (ja) 1999-03-09

Similar Documents

Publication Publication Date Title
JP3008819B2 (ja) 光ディスク
JP3210549B2 (ja) 光情報記録媒体
JP3250989B2 (ja) 光学情報記録媒体、その記録再生方法、その製造法及び光学情報記録再生装置
JPH1166622A (ja) 光情報媒体とその記録再生方法
KR20020071937A (ko) 광학기록매체 및 광디스크장치
US6721265B1 (en) High-density optical information recording medium and a substrate and a stamper for the manufacture thereof
JPH113543A (ja) 情報記録媒体
JP3676548B2 (ja) 光情報媒体の記録再生方法
JPH09274736A (ja) 光ディスク及びその製造方法
KR100363255B1 (ko) 광기록 매체
JP2002342980A (ja) 光情報記録媒体
JP2001134981A (ja) 多層光ディスク
JP2001202655A (ja) 光ディスク
KR100616232B1 (ko) 고밀도광기록매체그리고그기록/재생장치및방법
JP3206748B2 (ja) 光ディスク
JP2005115997A (ja) 光記録媒体、およびその製造方法
JP2001202657A (ja) 光ディスク
JPWO2003065359A1 (ja) 光記録媒体
JPWO2003025918A1 (ja) 記録媒体の記録方法及び記録媒体
JPH10289482A (ja) 光情報記録媒体
JPH02132657A (ja) 光情報記録媒体とそれを用いた光情報記録方法
JPH083912B2 (ja) 新規な光記録媒体及びその製造方法
JP2793516B2 (ja) 光情報記録媒体とその再生方法
JPH0981962A (ja) 光ディスクおよび光ディスクの製造方法
EP0473672A1 (en) Interactive optical disk, method of fabrication and apparatus for recording thereon

Legal Events

Date Code Title Description
A02 Decision of refusal

Free format text: JAPANESE INTERMEDIATE CODE: A02

Effective date: 20030916

A521 Request for written amendment filed

Free format text: JAPANESE INTERMEDIATE CODE: A523

Effective date: 20040128

A911 Transfer to examiner for re-examination before appeal (zenchi)

Free format text: JAPANESE INTERMEDIATE CODE: A911

Effective date: 20040210

A912 Re-examination (zenchi) completed and case transferred to appeal board

Free format text: JAPANESE INTERMEDIATE CODE: A912

Effective date: 20040312

A521 Request for written amendment filed

Free format text: JAPANESE INTERMEDIATE CODE: A523

Effective date: 20050121

A61 First payment of annual fees (during grant procedure)

Free format text: JAPANESE INTERMEDIATE CODE: A61

Effective date: 20050428

R150 Certificate of patent or registration of utility model

Free format text: JAPANESE INTERMEDIATE CODE: R150

FPAY Renewal fee payment (event date is renewal date of database)

Free format text: PAYMENT UNTIL: 20090513

Year of fee payment: 4

FPAY Renewal fee payment (event date is renewal date of database)

Free format text: PAYMENT UNTIL: 20100513

Year of fee payment: 5

FPAY Renewal fee payment (event date is renewal date of database)

Free format text: PAYMENT UNTIL: 20100513

Year of fee payment: 5

FPAY Renewal fee payment (event date is renewal date of database)

Free format text: PAYMENT UNTIL: 20110513

Year of fee payment: 6

FPAY Renewal fee payment (event date is renewal date of database)

Free format text: PAYMENT UNTIL: 20120513

Year of fee payment: 7

FPAY Renewal fee payment (event date is renewal date of database)

Free format text: PAYMENT UNTIL: 20130513

Year of fee payment: 8

R250 Receipt of annual fees

Free format text: JAPANESE INTERMEDIATE CODE: R250

R250 Receipt of annual fees

Free format text: JAPANESE INTERMEDIATE CODE: R250

LAPS Cancellation because of no payment of annual fees