JP3671007B2 - 電源装置 - Google Patents
電源装置 Download PDFInfo
- Publication number
- JP3671007B2 JP3671007B2 JP2002024806A JP2002024806A JP3671007B2 JP 3671007 B2 JP3671007 B2 JP 3671007B2 JP 2002024806 A JP2002024806 A JP 2002024806A JP 2002024806 A JP2002024806 A JP 2002024806A JP 3671007 B2 JP3671007 B2 JP 3671007B2
- Authority
- JP
- Japan
- Prior art keywords
- bus bar
- battery module
- battery
- output terminal
- case
- Prior art date
- Legal status (The legal status is an assumption and is not a legal conclusion. Google has not performed a legal analysis and makes no representation as to the accuracy of the status listed.)
- Expired - Fee Related
Links
Images
Classifications
-
- H—ELECTRICITY
- H01—ELECTRIC ELEMENTS
- H01M—PROCESSES OR MEANS, e.g. BATTERIES, FOR THE DIRECT CONVERSION OF CHEMICAL ENERGY INTO ELECTRICAL ENERGY
- H01M50/00—Constructional details or processes of manufacture of the non-active parts of electrochemical cells other than fuel cells, e.g. hybrid cells
- H01M50/20—Mountings; Secondary casings or frames; Racks, modules or packs; Suspension devices; Shock absorbers; Transport or carrying devices; Holders
- H01M50/296—Mountings; Secondary casings or frames; Racks, modules or packs; Suspension devices; Shock absorbers; Transport or carrying devices; Holders characterised by terminals of battery packs
-
- H—ELECTRICITY
- H01—ELECTRIC ELEMENTS
- H01M—PROCESSES OR MEANS, e.g. BATTERIES, FOR THE DIRECT CONVERSION OF CHEMICAL ENERGY INTO ELECTRICAL ENERGY
- H01M50/00—Constructional details or processes of manufacture of the non-active parts of electrochemical cells other than fuel cells, e.g. hybrid cells
- H01M50/50—Current conducting connections for cells or batteries
- H01M50/502—Interconnectors for connecting terminals of adjacent batteries; Interconnectors for connecting cells outside a battery casing
- H01M50/503—Interconnectors for connecting terminals of adjacent batteries; Interconnectors for connecting cells outside a battery casing characterised by the shape of the interconnectors
-
- H—ELECTRICITY
- H01—ELECTRIC ELEMENTS
- H01M—PROCESSES OR MEANS, e.g. BATTERIES, FOR THE DIRECT CONVERSION OF CHEMICAL ENERGY INTO ELECTRICAL ENERGY
- H01M50/00—Constructional details or processes of manufacture of the non-active parts of electrochemical cells other than fuel cells, e.g. hybrid cells
- H01M50/50—Current conducting connections for cells or batteries
- H01M50/502—Interconnectors for connecting terminals of adjacent batteries; Interconnectors for connecting cells outside a battery casing
- H01M50/509—Interconnectors for connecting terminals of adjacent batteries; Interconnectors for connecting cells outside a battery casing characterised by the type of connection, e.g. mixed connections
- H01M50/51—Connection only in series
-
- H—ELECTRICITY
- H01—ELECTRIC ELEMENTS
- H01M—PROCESSES OR MEANS, e.g. BATTERIES, FOR THE DIRECT CONVERSION OF CHEMICAL ENERGY INTO ELECTRICAL ENERGY
- H01M50/00—Constructional details or processes of manufacture of the non-active parts of electrochemical cells other than fuel cells, e.g. hybrid cells
- H01M50/50—Current conducting connections for cells or batteries
- H01M50/502—Interconnectors for connecting terminals of adjacent batteries; Interconnectors for connecting cells outside a battery casing
- H01M50/514—Methods for interconnecting adjacent batteries or cells
- H01M50/516—Methods for interconnecting adjacent batteries or cells by welding, soldering or brazing
-
- H—ELECTRICITY
- H01—ELECTRIC ELEMENTS
- H01M—PROCESSES OR MEANS, e.g. BATTERIES, FOR THE DIRECT CONVERSION OF CHEMICAL ENERGY INTO ELECTRICAL ENERGY
- H01M50/00—Constructional details or processes of manufacture of the non-active parts of electrochemical cells other than fuel cells, e.g. hybrid cells
- H01M50/50—Current conducting connections for cells or batteries
- H01M50/502—Interconnectors for connecting terminals of adjacent batteries; Interconnectors for connecting cells outside a battery casing
- H01M50/514—Methods for interconnecting adjacent batteries or cells
- H01M50/517—Methods for interconnecting adjacent batteries or cells by fixing means, e.g. screws, rivets or bolts
-
- H—ELECTRICITY
- H01—ELECTRIC ELEMENTS
- H01M—PROCESSES OR MEANS, e.g. BATTERIES, FOR THE DIRECT CONVERSION OF CHEMICAL ENERGY INTO ELECTRICAL ENERGY
- H01M50/00—Constructional details or processes of manufacture of the non-active parts of electrochemical cells other than fuel cells, e.g. hybrid cells
- H01M50/50—Current conducting connections for cells or batteries
- H01M50/502—Interconnectors for connecting terminals of adjacent batteries; Interconnectors for connecting cells outside a battery casing
- H01M50/521—Interconnectors for connecting terminals of adjacent batteries; Interconnectors for connecting cells outside a battery casing characterised by the material
- H01M50/522—Inorganic material
-
- H—ELECTRICITY
- H01—ELECTRIC ELEMENTS
- H01M—PROCESSES OR MEANS, e.g. BATTERIES, FOR THE DIRECT CONVERSION OF CHEMICAL ENERGY INTO ELECTRICAL ENERGY
- H01M10/00—Secondary cells; Manufacture thereof
- H01M10/05—Accumulators with non-aqueous electrolyte
- H01M10/052—Li-accumulators
-
- H—ELECTRICITY
- H01—ELECTRIC ELEMENTS
- H01M—PROCESSES OR MEANS, e.g. BATTERIES, FOR THE DIRECT CONVERSION OF CHEMICAL ENERGY INTO ELECTRICAL ENERGY
- H01M10/00—Secondary cells; Manufacture thereof
- H01M10/34—Gastight accumulators
- H01M10/345—Gastight metal hydride accumulators
-
- H—ELECTRICITY
- H01—ELECTRIC ELEMENTS
- H01M—PROCESSES OR MEANS, e.g. BATTERIES, FOR THE DIRECT CONVERSION OF CHEMICAL ENERGY INTO ELECTRICAL ENERGY
- H01M50/00—Constructional details or processes of manufacture of the non-active parts of electrochemical cells other than fuel cells, e.g. hybrid cells
- H01M50/20—Mountings; Secondary casings or frames; Racks, modules or packs; Suspension devices; Shock absorbers; Transport or carrying devices; Holders
- H01M50/204—Racks, modules or packs for multiple batteries or multiple cells
- H01M50/207—Racks, modules or packs for multiple batteries or multiple cells characterised by their shape
- H01M50/213—Racks, modules or packs for multiple batteries or multiple cells characterised by their shape adapted for cells having curved cross-section, e.g. round or elliptic
-
- H—ELECTRICITY
- H01—ELECTRIC ELEMENTS
- H01M—PROCESSES OR MEANS, e.g. BATTERIES, FOR THE DIRECT CONVERSION OF CHEMICAL ENERGY INTO ELECTRICAL ENERGY
- H01M6/00—Primary cells; Manufacture thereof
- H01M6/42—Grouping of primary cells into batteries
-
- Y—GENERAL TAGGING OF NEW TECHNOLOGICAL DEVELOPMENTS; GENERAL TAGGING OF CROSS-SECTIONAL TECHNOLOGIES SPANNING OVER SEVERAL SECTIONS OF THE IPC; TECHNICAL SUBJECTS COVERED BY FORMER USPC CROSS-REFERENCE ART COLLECTIONS [XRACs] AND DIGESTS
- Y02—TECHNOLOGIES OR APPLICATIONS FOR MITIGATION OR ADAPTATION AGAINST CLIMATE CHANGE
- Y02E—REDUCTION OF GREENHOUSE GAS [GHG] EMISSIONS, RELATED TO ENERGY GENERATION, TRANSMISSION OR DISTRIBUTION
- Y02E60/00—Enabling technologies; Technologies with a potential or indirect contribution to GHG emissions mitigation
- Y02E60/10—Energy storage using batteries
Landscapes
- Chemical & Material Sciences (AREA)
- Chemical Kinetics & Catalysis (AREA)
- Electrochemistry (AREA)
- General Chemical & Material Sciences (AREA)
- Inorganic Chemistry (AREA)
- Connection Of Batteries Or Terminals (AREA)
- Battery Mounting, Suspending (AREA)
Description
【発明の属する技術分野】
本発明は、主としてハイブリッドカー等の電動車両に搭載される電源装置に関する。
【0002】
【従来の技術】
二次電池を直線状に連結している電池モジュールをケースに収納している電源装置は、電動車両のように大出力が要求される電源装置として使用される。この種の電源装置は、図1に示すように、ケース70に電池モジュール71を収納している。ケース70に収納する電池モジュール71は、両端にネジとナットからなる出力端子72を固定している。電池モジュール71の出力端子72は、バスバー73で直列に接続される。ケース70は、バスバー73を内蔵するエンドプレート74を側部に設けている。エンドプレート74はプラスチックの成形品で、バスバー73をインサートして絶縁している。この構造の電源装置は、エンドプレート74のバスバー73に止ネジ75とナット76をねじ込んで、バスバー73を電池モジュール71の出力端子72に接続している。
【0003】
【発明が解決しようとする課題】
図1に示す構造の電源装置は、電池モジュールの長さに寸法誤差があると、それを吸収しながらケースに装着するのが難しい。とくに、隣接して配設している電池モジュールに長さの差があると、バスバーで連結する状態で短い電池モジュールには無理な引張力が作用し、長い電池モジュールには圧縮力が作用する欠点がある。電池モジュールは、複数の二次電池を直線状に連結しているので、二次電池に長さの寸法誤差があると全長にばらつきができる。たとえば、ハイブリッドカーに使用されるニッケル−水素電池は、長さの寸法誤差を最大で+−0.3mmとしている。この二次電池を6個、直線状に連結する電池モジュールは、寸法誤差の最大値が+−1.8mmにもなる。最も長いものと短いものとで約3mmもの寸法誤差が発生する。このように、長さが違う電池モジュールを隣に平行に配設してバスバーでしっかりと連結すると、長いものと短いものとで相当に無理な力が作用する。
【0004】
バスバーを遊びがある状態でエンドプレートに連結する構造は、電池モジュールの寸法誤差を吸収できる。ただ、この構造のエンドプレートは、構造が複雑で製造コストが高くなる欠点がある。さらに、この構造でバスバーをエンドプレートに連結しても、隣接する電池モジュールに長さの差があると、バスバーは無理なく連結できなくなる。ひとつのバスバーが、長さに差のある電池モジュールに連結されると、傾斜する姿勢で出力端子に連結されるからである。
【0005】
さらに、図1に示すように、円筒型電池を直線状に連結している電池モジュール71は、回転しないようにケース70に装着する必要がある。電池モジュール71の回転を阻止するために、図1の電池モジュール71は、両端に固定している出力端子72を四角形と六角形としている。これ等の多角形の出力端子72をエンドプレート74に嵌入して、電池モジュール71の回転を防止している。したがって、この電源装置は、電池モジュールの回転を阻止する構造を必要とし、エンドプレートの構造と出力端子の構造とが複雑になる欠点がある。
【0006】
さらに、図の電源装置は、ケース自体の構造も複雑になる欠点がある。それは、バスバーをインサート成形してなるエンドプレートを必要とし、しかもエンドプレートにはバスバーを完全に埋設できず表面に表出するので、この部分をさらに絶縁プレートでカバーして絶縁する必要があるからである。また、電池モジュールにもナットやネジを固定するので、電池モジュールに出力端子を固定する構造も複雑になる。ナットや止ネジを直接に電池モジュールの電池端面に溶接して固定できないからである。ナットや止ネジは、電池端面に溶接する金属プレートに予め溶接等の方法で固定し、さらに金属プレートを溶接して電池端面に固定する必要があり、構造と組み立てに手間がかかる欠点がある。
【0007】
さらにまた、図1に示す構造の電源装置は、電池モジュールが故障したときに、特定の電池モジュールを交換するのに極めて手間がかかる欠点もある。それは、電池モジュールを交換するために、エンドプレート74を外す必要があるからである。エンドプレート74を外すには、全ての電池モジュール71に連結しているナット76と止ネジ75を外す必要がある。ケースには、数十本の電池モジュールが収納されるので、全てのナットと止ネジを外してエンドプレートを外すのは極めて手間がかかる。
【0008】
本発明は、これらの欠点を解決することを目的に開発されたものである。本発明の重要な目的は、長さに差のある電池モジュールを簡単な構造で無理なく連結できると共に、電池モジュールの回転を阻止する構造を特別に設けることなく電池モジュールを回転しないようにケースに装着でき、さらにケースの構造を簡単にして、組み立てや電池モジュールの交換を極めて能率よく簡単にできる電源装置を提供することにある。
【0009】
【課題を解決するための手段】
本発明の電源装置は、複数の電池21を直線状に連結している複数の電池モジュール20をケース10に収納しており、これらの電池モジュール20をバスバー40で接続している。電池モジュール20は、両端に、電池端面に対して垂直に突出してなる金属板の出力端子30を固定している。電源装置は、隣接する電池モジュール20の出力端子30を金属板のバスバー40で連結して、ケース10に収納している。
【0010】
出力端子30は、好ましくは、バスバー40を連結する止ネジ45を挿通するための貫通孔32を有する。この貫通孔32は、電池モジュール20の縦方向に伸びる細長い長孔として、電池モジュール20の長さのばらつきを吸収しながらバスバー40に連結することができる。
【0011】
ケース10は、バスバー40と出力端子30の嵌入部50を設けることができる。このケース10は、バスバー40と出力端子30を嵌入部50に案内して、電池モジュール20を定位置に配設することができる。ケース10の嵌入部50は、電池モジュール20の長さの寸法誤差を吸収できる遊びを設けることができる。
【0012】
バスバー40は、ナット41を固定することができる。このバスバー40は、出力端子30の貫通孔32に挿入される止ネジ45をナット41にねじ込んで、出力端子30をバスバー40により確実に連結できる。
【0013】
【発明の実施の形態】
以下、本発明の実施例を図面に基づいて説明する。ただし、以下に示す実施例は、本発明の技術思想を具体化するための電源装置を例示するものであって、本発明は電源装置を以下のものに特定しない。
【0014】
さらに、この明細書は、特許請求の範囲を理解しやすいように、実施例に示される部材に対応する番号を、「特許請求の範囲の欄」、および「課題を解決するための手段の欄」に示される部材に付記している。ただ、特許請求の範囲に示される部材を、実施例の部材に特定するものでは決してない。
【0015】
図2〜図4の電源装置は、複数の電池21を直線状に連結している複数の電池モジュール20をケース10に収納して、隣接する電池モジュール20をバスバー40で直列に接続している。ケース10は、上ケース11と下ケース12を備える。図2は電源装置の横断面図を、図3は縦断面図を、図4は上ケース11を除いた平面図をそれぞれ示している。これらの図の電源装置は、主としてハイブリッドカー等の電動車両に使用される。ただ、本発明の電源装置は、電動車両以外の用途であって、大出力が要求される用途にも使用できる。図の電池モジュールは、図5に示すように、円筒型電池である二次電池21を直線状に連結して直列に接続している。ただし、電池モジュールは、角型電池も使用できる。
【0016】
二次電池21は、ニッケル−水素電池、リチウムイオン二次電池、ニッケル−カドミウム電池等の充電できる全ての電池を使用することができる。ただ、電動車両用の組電池に使用される二次電池には、ニッケル−水素電池が適している。体積と重量に対する出力が大きくて、優れた大電流特性を有するからである。
【0017】
二次電池21は、図6の断面図に示すように、外装缶25の開口部を封口板23で気密に密閉している。外装缶25と封口板23は金属板である。外装缶25は、金属板を底のある筒状にプレス成形して製作される。封口板23は、中央に凸部電極22を溶接している。外装缶25の内部には、電極(図示せず)が内蔵される。さらに、電解液も充填される。外装缶25は、開口部の端部をかしめ加工して封口板23を気密に固定している。封口板23は、ガスケット19を介して外装缶25のかしめ部に挟着されて気密に固定される。ガスケット19は絶縁材のゴム状弾性体で、封口板23と外装缶25とを絶縁すると共に、封口板23と外装缶25との隙間を気密に閉塞する。封口板23の周縁にはカシメ凸条24が設けられる。この二次電池21は、封口板23を第1の電極として、外装缶25を第2の電極としている。ニッケル−水素電池は、第1の電極を正極として第2の電極を負極としている。二次電池は、第1の電極を負極として第2の電極を正極とすることもできる。
【0018】
電池モジュール20は、図6に示すように、二次電池21の間に接続体26を配設しており、接続体26を介して直列に接続している。図の電池モジュール20は、一方の二次電池21の封口板23と他方の二次電池21の外装缶25とを接続体26で接続している。接続体26は、金属板をプレス成形したもので、対向して配設される二次電池21の電池端面に溶接して接続されて、二次電池21を直列に電気接続する。図7と図8は接続体26を示しており、図7は平面図、図8は断面図である。これ等の接続体26は、金属板を穴のあるリング状に成形して、両面に突出して電池端面に溶接される複数の溶接凸部27を設けている。両面に突出している溶接凸部27は、対向する電池端面に溶接されて、隣接して配設している二次電池21を直列に接続する。図の接続体26は、中心孔28を設けて、ここに凸部電極22を配設している。
【0019】
図7と図8に示す接続体26は、図6に示すように、電池端面に設けられているカシメ凸条24の内形よりも外形を小さくしている。二次電池21は、封口板23を第1の電極、外装缶25を第2の電極としているので、封口板23に接続される接続体26が外装缶25の一部であるカシメ凸条24に接触するとショートする。この接続体26は、外周縁とカシメ凸条24との間に隙間を設けて、接続体26がカシメ凸条24に接触してショートするのを阻止している。接続体26は、位置がずれるとカシメ凸条24に接触するので、接続体26を保持キャップ29で定位置に保持している。この接続体26は、同一の円周上に複数の溶接凸部27を設けている。溶接凸部27は、交互に反対面、図8において上下に突出している。反対面に突出する溶接凸部27は、対向して配設される電池端面に溶接して接続される。
【0020】
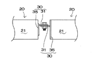
電池モジュール20は、その両端に、電池端面に対して垂直に突出している金属板の出力端子30を固定している。隣接する電池モジュール20の出力端子30は、金属板のバスバー40に連結される。バスバー40は、電池モジュール20を直列に接続する。電池モジュール20は、バスバー40に連結される状態で、ケース10に収納される。
【0021】
図9〜図14は、電池モジュール20の両端に接続される出力端子30を示す。図9〜図11に示す出力端子30と、図12〜図14に示す出力端子30は形状が異なる。形状が異なる出力端子30は、電池モジュール20の正負の電池端面に固定される。この電池モジュール20は、正負の両端に形状が異なる出力端子30を固定しているので、正負を間違いなくケース10に収納できる。
【0022】
以上の図に示す出力端子30は、電池端面に溶接される固定プレート35を有する。固定プレート35は、出力端子30をバスバー40に連結する本体部31に対して垂直な姿勢である。固定プレート35のある出力端子30は、電池モジュール20の電池端面に溶接してしっかりと固定できる。ただ、出力端子は、必ずしも固定プレートを設ける必要はない。金属板を所定の形状に切断してなる平面状の出力端子は、その側縁を電池端面に溶接して固定することもできるからである。図に示すように、固定プレート35と本体部31からなる出力端子30は、直角に折曲された2枚の金属片を、本体部31で2枚に重ねて溶接して連結している。各々の金属片は、金属板を直角に折曲して、固定プレート35と本体部31とを構成する。2枚の金属片は、2枚を本体部31で重ねて溶接して固定することにより、円形の固定プレート35を構成する形状としている。固定プレート35と本体部31の境界で直角に折曲している2枚の金属片を溶接して製作される出力端子30は、安価に多量生産できる。また、本体部と固定プレートとを金属板で製作して、その境界で溶接する構造に比較して、本体部31と固定プレート35との境界の曲げ強度を強くできる。
【0023】
電池モジュール20の正負に固定される出力端子30の固定プレート35は形状が異なる。図9〜図11の出力端子30は、図11の断面図で示すように、二次電池21の凸部電極22側に溶接して固定される。この出力端子30は、固定プレート35を、二次電池21の第1の電極である封口板23に溶接して固定される。封口板23に接続される固定プレート35は、外装缶25の一部であるカシメ凸条24に接触するとショートする。このため、この出力端子30は、固定プレート35の外形を二次電池21のカシメ凸条24の内形よりも小さくしている。固定プレート35がカシメ凸条24に接触しないようにするためである。さらに、この固定プレート35は、電池端面の凸部電極22を挿入する中心孔36を開口している。この出力端子30は、固定プレート35の中心孔36に凸部電極22を案内し、固定プレート35を電池端面の封口板23に溶接して固定される。
【0024】
図12〜図14の出力端子30は、図14の断面図に示すように、二次電池21の平面電極側に溶接して固定される。この出力端子30は、固定プレート35の外形を二次電池21の電池端面の外形よりもわずかに小さくしている。この出力端子30は、固定プレート35を二次電池21の第2の電極である外装缶23の底面に溶接して固定される。
【0025】
出力端子30は、バスバー40を連結する止ネジ45を挿通するための貫通孔32を本体部31に設けている。この貫通孔32は、図9と図13に示すように、電池モジュール20の縦方向に伸びる細長い長孔として、電池モジュール20の長さのばらつきを吸収しながらバスバー40に連結するようにしている。さらに、図9の出力端子30は、本体部31の両側縁に凸部33を設け、図13の出力端子30は、本体部31の両側縁に凹部34を設けている。本体部31の凸部33と凹部34は、ケース10に設けた嵌入部50に嵌着される。
【0026】
電池モジュール20の両端に固定される出力端子30は、図15に示すように、2本の電池モジュール20を直線状に連結できる位置に本体部31を設けている。この電池モジュール20は、複数本を直線状に直列に接続できる。
【0027】
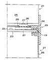
ケース10は、複数の電池モジュール20を、同一平面に平行に並べて収納している。このケース10は、上ケース11と下ケース12からなり、上ケース11と下ケース12で電池モジュール20を挟んで定位置に保持している。上ケース11と下ケース12は、図示しないが、ネジとナットで脱着できるようにしっかりと連結している。図2と図3に示す上ケース11と下ケース12は、電池モジュール20の電池部を案内する案内溝13を対向する内面に設けており、さらに電池モジュール20の両端の出力端子30とバスバー40を挟着する嵌入部50を両側の側壁に設けている。
【0028】
下ケース12の側壁に設けられる、出力端子30とバスバー40の嵌入部50の詳細な斜視図を図16に示している。嵌入部50は、側壁の表面に設けた凹部で、これ等の図に示す嵌入部50は、バスバー40を嵌入するバスバー嵌入部51と、出力端子30の本体部31を嵌入する端子嵌入部52とを設けている。端子嵌入部52は、バスバー嵌入部51の上方に設けている。
【0029】
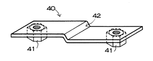
バスバー嵌入部51は、その内形をバスバー40の外形にほぼ等しく、ないしはわずかに大きくして、バスバー40を位置ずれしないように嵌入している。バスバー嵌入部51は、図17に示すように、途中で段差42ができるように折曲しているバスバー40を嵌入できるように、底面に段差53を設けている。バスバー40の途中に段差42を設けているのは、図15に示すように、電池モジュール20を直線状に連結するために、電池モジュール20の中心からわずかにずらせている正負の出力端子30を隙間なく連結するためである。さらにバスバー嵌入部51は、バスバー40の下面に固定しているナット41を入れる凹部54を底部に設けている。
【0030】
端子嵌入部52は、長さに誤差のある電池モジュール20の出力端子30を嵌入できる構造としている。この端子嵌入部52は、バスバー40に連結される一対の出力端子30を嵌入できる内形とし、かつ、最も長い電池モジュール20に固定している出力端子30の本体部31を嵌入できる内形としている。さらに、端子嵌入部52は、正負の出力端子30の本体部31に設けている凸部33と凹部34に嵌入される係止部55を内周縁に設けている。本体部31の凸部33に嵌入される係止部55は凹部形状とし、本体部31の凹部34に嵌入される係止部55は凸部形状としている。この係止部55は、電池モジュール20の縦方向に遊びのある形状として、長さに寸法誤差のある電池モジュール20の出力端子30を嵌入できるようにしている。さらに、端子嵌入部52は、一対の端子の間に凸条56を設けている。この凸条56は、出力端子30の本体部31に設けている凸部33を係止できるようにしている。
【0031】
上ケース11と下ケース12に設けている案内溝13は、その内形を電池モジュール20の電池部の外形よりもわずかに大きくしている。案内溝13の内面と電池モジュール20の表面との間に、冷却空気を通過させる冷却隙間14を設けるためである。さらに、上ケース11と下ケース12は、案内溝13の底部に換気穴15を開口している。換気穴15からケース10に換気される冷却空気は、冷却隙間14に送風される。冷却隙間14を通過する空気は、電池モジュール20の表面を流れて電池モジュール20を冷却する。
【0032】
バスバー40は、下面にナット41を固定している。このバスバー40は、出力端子30を簡単に固定できる。それは、図16に示すように、出力端子30の貫通孔32に挿入する止ネジ45をねじ込んで固定できるからである。
【0033】
以上の構造の電源装置は、以下のようにして組み立てられる。
(1) 電池モジュール20の両端に出力端子30を溶接して固定する。電池モジュール20は、正負の両端に異なる形状の出力端子30を固定する。
(2) 下ケース12のバスバー嵌入部51にバスバー40を入れる。バスバー40は、下面に固定しているナット41をバスバー嵌入部51の凹部54に入れる。この状態で、バスバー40は、下ケース12の定位置に嵌入される。
(3) 下ケース12の案内溝13に電池モジュール20を入れて平行に並べる。このとき、電池モジュール20は、出力端子30をバスバー40の上に載せる。
(4) 出力端子30の貫通孔32に止ネジ45を挿通し、この止ネジ45をバスバー40の下面に固定しているナット41にねじ込んで出力端子30をバスバー40に連結する。下ケース12に収納している電池モジュール20は、隣接する出力端子30をバスバー40で連結して、互いに直列に接続される。
(5) 下ケース12に上ケース11を重ねて、上ケース11を下ケース12に止ネジ(図示せず)で連結する。この状態で、電池モジュール20は、上ケース11と下ケース12に挟まれて定位置に保持される。
【0034】
【発明の効果】
本発明の電源装置は、長さに差のある電池モジュールを、簡単な構造で無理なく連結できる特長がある。それは、本発明の電源装置が、電池モジュールの両端に、電池端面に対して垂直に突出してなる金属板の出力端子を固定しており、隣接する電池モジュールの出力端子を金属板のバスバーで連結して、ケースに収納しているからである。この構造の電源装置は、電池モジュールの両端に固定された出力端子を、電池モジュールの軸方向でなく、軸方向と垂直な方向に固定する。このため、長さが違う電池モジュールをケースに平行に配設してバスバーでしっかりと連結しても、電池モジュールの寸法誤差を吸収しながら、これらの間に無理な力が作用するのを確実に阻止できる。さらに、電池モジュールの両端から垂直に突出する金属板の出力端子は、電池モジュールを面で支持する状態でケースに装着できるので、電池モジュールの回転を阻止する構造を特別に設けることなく、極めて簡単な構造で電池モジュールを回転しないようにケースに装着できる。
【0035】
さらに、本発明の電源装置は、従来のように、バスバーをインサート成形してなるエンドプレートを必要としないので、ケース自体の構造を簡単にして製造コストを低減できる特長がある。さらにまた、本発明の電源装置は、電池モジュールが故障したときに、特定の電池モジュールを極めて能率よく簡単に交換できる特長がある。それは、従来のように、電池モジュールを交換するために、全てのナットと止ネジを外してエンドプレートを外すことなく、交換したい電池モジュールの、ケースに固定している部分のみを取り外して交換できるからである。
【図面の簡単な説明】
【図1】従来の電源装置の分解斜視図
【図2】本発明の一実施例にかかる電源装置の横断面図
【図3】図2に示す電源装置の縦断面図
【図4】図2に示す電源装置の上ケースを除いた状態を示す平面図
【図5】電池モジュールの斜視図
【図6】図5に示す電池モジュールの電池の連結構造を示す拡大断面図
【図7】図6に示す電池モジュールの接続体を示す平面図
【図8】図7に示す接続体のA−A線断面図
【図9】電池モジュールの一方の端面に接続される出力端子の斜視図
【図10】図9に示す出力端子の平面図
【図11】図10に示す出力端子のA−A線断面図
【図12】電池モジュールの他方の端面に接続される出力端子の正面図
【図13】図12に示す出力端子のA−A線断面図
【図14】図12に示す出力端子のB−B線断面図
【図15】2本の電池モジュールを連結する状態を示す側面図
【図16】図4に示す電源装置の分解斜視図
【図17】バスバーの斜視図
【符号の説明】
10…ケース
11…上ケース
12…下ケース
13…案内溝
14…冷却隙間
15…換気穴
19…ガスケット
20…電池モジュール
21…電池
22…凸部電極
23…封口板
24…カシメ凸条
25…外装缶
26…接続体
27…溶接凸部
28…中心孔
29…保持キャップ
30…出力端子
31…本体部
32…貫通孔
33…凸部
34…凹部
35…固定プレート
36…中心孔
40…バスバー
41…ナット
42…段差
45…止ネジ
50…嵌入部
51…バスバー嵌入部
52…端子嵌入部
53…段差
54…凹部
55…係止部
56…凸条
70…ケース
71…電池モジュール
72…出力端子
73…バスバー
74…エンドプレート
75…止ネジ
76…ナット
Claims (5)
- 複数の電池(21)を直線状に連結している複数の電池モジュール(20)をケース(10)に収納して、電池モジュール(20)をバスバー(40)で接続している電源装置において、
電池モジュール(20)の両端に、電池端面に対して垂直に突出してなる金属板の出力端子(30)を固定しており、隣接する電池モジュール(20)の出力端子(30)を金属板のバスバー(40)で連結して、ケース(10)に収納し、出力端子 (30) が、バスバー (40) を連結する止ネジ (45) を挿通するための貫通孔 (32) を有し、この貫通孔 (32) を電池モジュール (20) の縦方向に伸びる細長い長孔として、電池モジュール (20) の長さのばらつきを吸収しながらバスバー (40) に連結するようにしていることを特徴とする電源装置。 - 複数の電池 (21) を直線状に連結している複数の電池モジュール (20) をケース (10) に収納して、電池モジュール (20) をバスバー (40) で接続している電源装置において、
電池モジュール (20) の両端に、電池端面に対して垂直に突出してなる金属板の出力端子 (30) を固定しており、隣接する電池モジュール (20) の出力端子 (30) を金属板のバスバー (40) で連結して、ケース (10) に収納し、ケース (10) がバスバー (40) と出力端子 (30) の嵌入部 (50) を有し、バスバー (40) と出力端子 (30) をケース (10) の嵌入部 (50) に案内して、電池モジュール (20) を定位置に配設し、ケース (10) の嵌入部 (50) に、電池モジュール (20) の長さの寸法誤差を吸収できる遊びを設けていることを特徴とする電源装置。 - ケース(10)がバスバー(40)と出力端子(30)の嵌入部(50)を有し、バスバー(40)と出力端子(30)をケース(10)の嵌入部(50)に案内して、電池モジュール(20)を定位置に配設している請求項1に記載される電源装置。
- ケース(10)の嵌入部(50)に、電池モジュール(20)の長さの寸法誤差を吸収できる遊びを設けている請求項3に記載される電源装置。
- バスバー(40)にナット(41)を固定しており、出力端子(30)の貫通孔(32)に挿入される止ネジ(45)をバスバー(40)のナット(41)にねじ込んで、出力端子(30)をバスバー(40)に連結している請求項1または2に記載される電源装置。
Priority Applications (6)
| Application Number | Priority Date | Filing Date | Title |
|---|---|---|---|
| JP2002024806A JP3671007B2 (ja) | 2002-01-31 | 2002-01-31 | 電源装置 |
| CNB031015239A CN1271732C (zh) | 2002-01-31 | 2003-01-16 | 电源装置 |
| DE60321067T DE60321067D1 (de) | 2002-01-31 | 2003-01-28 | Energiequelle-Gerät |
| EP03001792A EP1333511B1 (en) | 2002-01-31 | 2003-01-28 | Power source apparatus |
| US10/353,020 US6819081B2 (en) | 2002-01-31 | 2003-01-29 | Power source apparatus |
| KR1020030006053A KR100872954B1 (ko) | 2002-01-31 | 2003-01-30 | 전원 장치 |
Applications Claiming Priority (1)
| Application Number | Priority Date | Filing Date | Title |
|---|---|---|---|
| JP2002024806A JP3671007B2 (ja) | 2002-01-31 | 2002-01-31 | 電源装置 |
Publications (2)
| Publication Number | Publication Date |
|---|---|
| JP2003229106A JP2003229106A (ja) | 2003-08-15 |
| JP3671007B2 true JP3671007B2 (ja) | 2005-07-13 |
Family
ID=19192289
Family Applications (1)
| Application Number | Title | Priority Date | Filing Date |
|---|---|---|---|
| JP2002024806A Expired - Fee Related JP3671007B2 (ja) | 2002-01-31 | 2002-01-31 | 電源装置 |
Country Status (6)
| Country | Link |
|---|---|
| US (1) | US6819081B2 (ja) |
| EP (1) | EP1333511B1 (ja) |
| JP (1) | JP3671007B2 (ja) |
| KR (1) | KR100872954B1 (ja) |
| CN (1) | CN1271732C (ja) |
| DE (1) | DE60321067D1 (ja) |
Families Citing this family (54)
| Publication number | Priority date | Publication date | Assignee | Title |
|---|---|---|---|---|
| ATE526694T1 (de) * | 2003-10-28 | 2011-10-15 | Johnson Controls Tech Co | Batteriesystem mit verbesserter wärmeableitung |
| KR100556101B1 (ko) * | 2003-12-16 | 2006-03-03 | 주식회사 엘지화학 | 이차전지 모듈 |
| US7479346B1 (en) * | 2004-08-13 | 2009-01-20 | Quallion Llc | Battery pack |
| CN101006362A (zh) * | 2004-08-13 | 2007-07-25 | 皇家飞利浦电子股份有限公司 | 固态辐射探测器封装技术 |
| KR100876456B1 (ko) | 2004-12-24 | 2008-12-29 | 주식회사 엘지화학 | 분리형 커넥팅 부재 및 그것을 이용한 이차전지 모듈의제조방법 |
| US7967506B2 (en) | 2005-03-16 | 2011-06-28 | Ford Global Technologies, Llc | Power supply temperature sensor and system |
| US7604896B2 (en) * | 2005-03-16 | 2009-10-20 | Ford Global Technologies, Llc | High voltage battery assembly for a motor vehicle |
| EP1875582B1 (en) * | 2005-03-16 | 2017-02-22 | Ford Global Technologies, LLC | Power supply system comprising temperature sensor stations |
| KR100857019B1 (ko) * | 2005-04-19 | 2008-09-05 | 주식회사 엘지화학 | 기계적 및 전기적 커넥팅 부재 |
| KR100868255B1 (ko) * | 2005-04-19 | 2008-11-11 | 주식회사 엘지화학 | 단자 연결장치 |
| KR100740126B1 (ko) * | 2006-02-02 | 2007-07-16 | 삼성에스디아이 주식회사 | 이차 전지 모듈용 격벽 및 이를 포함하는 이차 전지 모듈 |
| KR100846556B1 (ko) | 2006-11-22 | 2008-07-15 | 엘지전자 주식회사 | 전자 제품의 전지지지장치 |
| KR100783871B1 (ko) * | 2006-11-29 | 2007-12-10 | 현대자동차주식회사 | 배터리모듈의 지지장치 |
| CN101578723B (zh) | 2007-01-12 | 2012-01-04 | 丰田自动车株式会社 | 电极构造和蓄电池装置的制造方法 |
| KR100874455B1 (ko) * | 2007-03-08 | 2008-12-17 | 삼성에스디아이 주식회사 | 전지 모듈 및 그 제조 방법 |
| US8307967B2 (en) | 2007-07-04 | 2012-11-13 | Satyajit Patwardhan | Widely deployable charging system for vehicles |
| PL2191524T3 (pl) * | 2007-08-14 | 2019-11-29 | Battery Patent Trust | Moduł ogniw akumulatorowych |
| KR100924724B1 (ko) * | 2007-09-14 | 2009-11-04 | 에너지 컨트롤 리미티드 | 독립 분리형 전력 전지 조립체 |
| KR101103755B1 (ko) * | 2008-09-03 | 2012-01-06 | 에스케이이노베이션 주식회사 | 버스 바 구비 리튬 2차 전지 단위 셋 및 버스 바 구비 리튬2차 전지 셋 |
| CN101399363B (zh) * | 2008-10-21 | 2012-04-18 | 微宏动力系统(湖州)有限公司 | 电池组 |
| US20100181962A1 (en) * | 2009-01-21 | 2010-07-22 | Chen Shih Chung | Nondirectional Radio Frequency Rechargeable Dry Cell |
| WO2010141853A1 (en) * | 2009-06-05 | 2010-12-09 | K2 Energy Solutions, Inc. | Lithium ion battery pack having cathode and anode current collectors |
| ES2512016T5 (es) * | 2009-06-08 | 2018-12-28 | Auto-Kabel Management Gmbh | Conector de elementos de batería |
| KR101106544B1 (ko) * | 2009-06-17 | 2012-01-20 | 강정욱 | 기구물체결방식의 유닛팩 조합형 셀 카트리지 |
| JP5294034B2 (ja) * | 2009-11-13 | 2013-09-18 | 住友電装株式会社 | 端子台 |
| JP2011113913A (ja) * | 2009-11-30 | 2011-06-09 | Sumitomo Wiring Syst Ltd | バスバー回路構造および端子台 |
| KR101137365B1 (ko) * | 2010-05-20 | 2012-04-20 | 에스비리모티브 주식회사 | 배터리 팩 |
| KR101199179B1 (ko) | 2010-06-09 | 2012-11-07 | 삼성에스디아이 주식회사 | 전지스택의 전원단 연결구조 |
| JP2012054138A (ja) * | 2010-09-02 | 2012-03-15 | Makita Corp | 工具用バッテリ |
| US8790823B2 (en) | 2011-02-08 | 2014-07-29 | Samsung Sdi Co., Ltd. | Battery unit and battery pack having less resistance and improved contacts |
| US9810020B2 (en) | 2011-03-11 | 2017-11-07 | Lutron Electronics Co., Inc. | Motorized window treatment |
| US10655386B2 (en) | 2011-03-11 | 2020-05-19 | Lutron Technology Company Llc | Motorized window treatment |
| US10041292B2 (en) | 2011-03-11 | 2018-08-07 | Lutron Electronics Co., Inc. | Low-power radio-frequency receiver |
| KR101223517B1 (ko) * | 2011-09-16 | 2013-01-17 | 로베르트 보쉬 게엠베하 | 이차 전지 |
| JP5592341B2 (ja) * | 2011-12-09 | 2014-09-17 | 本田技研工業株式会社 | バッテリモジュールユニット |
| JPWO2013187280A1 (ja) * | 2012-06-11 | 2016-02-04 | 三洋電機株式会社 | 車載用の電装用バッテリ |
| JP6086315B2 (ja) * | 2013-03-19 | 2017-03-01 | 株式会社Gsユアサ | 蓄電装置 |
| CN103258982B (zh) * | 2013-05-16 | 2015-10-28 | 江苏新日电动车股份有限公司 | 一种用于电器动力系统的电池盒 |
| US9166425B1 (en) * | 2013-07-03 | 2015-10-20 | Billy White | Battery charging storage device |
| KR102073193B1 (ko) * | 2013-09-23 | 2020-02-04 | 삼성에스디아이 주식회사 | 배터리 팩 |
| KR102211369B1 (ko) | 2014-03-19 | 2021-02-03 | 삼성에스디아이 주식회사 | 배터리 모듈 |
| US9437860B2 (en) * | 2014-11-20 | 2016-09-06 | Ford Global Technologies, Llc | Traction battery assembly having snap-in bus bar module |
| KR102102455B1 (ko) | 2015-10-22 | 2020-04-20 | 주식회사 엘지화학 | 배터리 접속부와 이를 포함하는 배터리 팩 |
| KR101970250B1 (ko) * | 2017-07-03 | 2019-04-18 | 엘지전자 주식회사 | 배터리 셀이 분리 가능하게 결합되는 배터리 모듈 |
| GB2585409B (en) | 2017-08-30 | 2022-08-10 | Noco Co | A rechargeable jump starting device having a highly electrically conductive cable connecting device |
| JP7143397B2 (ja) | 2017-08-30 | 2022-09-28 | ザ・ノコ・カンパニー | 充電式ポータブルバッテリジャンプスタート装置 |
| GB2579942B (en) * | 2017-08-30 | 2022-09-21 | Noco Co | Rechargeable battery jump starting device and rechargeable battery assembly |
| GB2583178B (en) | 2017-09-22 | 2022-10-05 | Noco Co | Rechargeable battery jump starting device with control switch backlight system |
| EP3649722A1 (en) * | 2017-09-22 | 2020-05-13 | The Noco Company | Rechargeable battery jump starting device and battery frame |
| KR102387356B1 (ko) | 2019-02-21 | 2022-04-14 | 주식회사 엘지에너지솔루션 | 유동 너트를 구비한 단자 연결구조를 갖는 전지 모듈과 이를 포함한 전지 팩 |
| US11973237B2 (en) | 2020-02-25 | 2024-04-30 | Milwaukee Electric Tool Corporation | Battery pack |
| DE102021201288A1 (de) | 2021-02-11 | 2022-08-11 | Volkswagen Aktiengesellschaft | Batteriesystem, Modul-Verbinder und Verfahren zum Austausch eines defekten Zellmoduls aus einem Batteriesystem |
| JP7491939B2 (ja) * | 2021-07-21 | 2024-05-28 | 寧徳時代新能源科技股▲分▼有限公司 | 電池、電気機器、電池の製造方法及び装置 |
| WO2025013567A1 (ja) * | 2023-07-13 | 2025-01-16 | パナソニックIpマネジメント株式会社 | 電池パック |
Family Cites Families (10)
| Publication number | Priority date | Publication date | Assignee | Title |
|---|---|---|---|---|
| US4322597A (en) * | 1980-06-30 | 1982-03-30 | General Electric Company | Method and apparatus for interconnecting electrochemical cells for a battery |
| JPH09190811A (ja) * | 1996-01-09 | 1997-07-22 | Furukawa Battery Co Ltd:The | 蓄電池の極柱端子間接続器具 |
| EP0892450B1 (en) * | 1997-03-24 | 2004-05-12 | Matsushita Electric Industrial Co., Ltd. | Battery power source unit |
| JP3777748B2 (ja) * | 1997-09-30 | 2006-05-24 | 株式会社ジーエス・ユアサコーポレーション | 組電池 |
| JP3343889B2 (ja) * | 1997-10-13 | 2002-11-11 | トヨタ自動車株式会社 | バッテリーホルダ用接続プレート |
| JP3553812B2 (ja) * | 1999-02-19 | 2004-08-11 | 三洋電機株式会社 | 電源装置 |
| JP2000323109A (ja) * | 1999-05-12 | 2000-11-24 | Toyota Central Res & Dev Lab Inc | 電池モジュール |
| DE19930399A1 (de) * | 1999-07-01 | 2001-01-11 | Daimler Chrysler Ag | Batteriekasten und Kraftfahrzeug |
| DE10064648C2 (de) * | 1999-12-28 | 2003-09-18 | Honda Motor Co Ltd | Batterieeinheit |
| JP4080132B2 (ja) * | 2000-03-15 | 2008-04-23 | 新神戸電機株式会社 | 組電池 |
-
2002
- 2002-01-31 JP JP2002024806A patent/JP3671007B2/ja not_active Expired - Fee Related
-
2003
- 2003-01-16 CN CNB031015239A patent/CN1271732C/zh not_active Expired - Fee Related
- 2003-01-28 DE DE60321067T patent/DE60321067D1/de not_active Expired - Lifetime
- 2003-01-28 EP EP03001792A patent/EP1333511B1/en not_active Expired - Lifetime
- 2003-01-29 US US10/353,020 patent/US6819081B2/en not_active Expired - Fee Related
- 2003-01-30 KR KR1020030006053A patent/KR100872954B1/ko not_active Expired - Fee Related
Also Published As
| Publication number | Publication date |
|---|---|
| KR100872954B1 (ko) | 2008-12-08 |
| US6819081B2 (en) | 2004-11-16 |
| CN1271732C (zh) | 2006-08-23 |
| DE60321067D1 (de) | 2008-07-03 |
| EP1333511A3 (en) | 2004-03-10 |
| US20030141842A1 (en) | 2003-07-31 |
| EP1333511A2 (en) | 2003-08-06 |
| CN1435902A (zh) | 2003-08-13 |
| EP1333511B1 (en) | 2008-05-21 |
| KR20030066382A (ko) | 2003-08-09 |
| JP2003229106A (ja) | 2003-08-15 |
Similar Documents
| Publication | Publication Date | Title |
|---|---|---|
| JP3671007B2 (ja) | 電源装置 | |
| KR100905393B1 (ko) | 이차전지 모듈 | |
| KR101326196B1 (ko) | 콤팩트한 구조의 전지팩 | |
| JP4193328B2 (ja) | 組電池構造、組電池及び電池モジュール | |
| US20050079408A1 (en) | Battery connection structure, battery module, and battery pack | |
| US7160643B2 (en) | Battery pack | |
| KR100936262B1 (ko) | 신규한 구조의 전기 접속용 버스 바 및 그것을 포함하고있는 전지모듈 | |
| JP5465440B2 (ja) | 組電池 | |
| JP4665277B2 (ja) | バッテリ装置 | |
| JP5208976B2 (ja) | 電池モジュール | |
| KR101219237B1 (ko) | 배터리 모듈 | |
| JP4607733B2 (ja) | 二次電池及び二次電池モジュール | |
| JP2006147319A (ja) | 電源装置 | |
| KR20050106540A (ko) | 이차 전지 | |
| JP6065368B2 (ja) | 組電池 | |
| KR20150012995A (ko) | 이차 전지 | |
| JP2005353547A (ja) | 電源装置 | |
| KR101810657B1 (ko) | 고정 브라켓이 형성되어 있는 카트리지 및 이를 포함하는 전지모듈 및 전지팩 | |
| KR20180080811A (ko) | 직렬 연결 구조를 갖는 배터리 팩 및 이의 조립 방법 | |
| JP2005108481A (ja) | 電池パック | |
| KR101667519B1 (ko) | 외부 입출력 단자를 형성하는 버스 바를 포함하는 전지모듈 | |
| KR101533991B1 (ko) | 전지모듈 어셈블리 | |
| JP2003223876A (ja) | 組電池 | |
| KR100627343B1 (ko) | 이차 전지 모듈 | |
| JP2003217556A (ja) | 組電池 |
Legal Events
| Date | Code | Title | Description |
|---|---|---|---|
| A977 | Report on retrieval |
Free format text: JAPANESE INTERMEDIATE CODE: A971007 Effective date: 20050124 |
|
| A131 | Notification of reasons for refusal |
Free format text: JAPANESE INTERMEDIATE CODE: A131 Effective date: 20050301 |
|
| A521 | Request for written amendment filed |
Free format text: JAPANESE INTERMEDIATE CODE: A523 Effective date: 20050309 |
|
| TRDD | Decision of grant or rejection written | ||
| A01 | Written decision to grant a patent or to grant a registration (utility model) |
Free format text: JAPANESE INTERMEDIATE CODE: A01 Effective date: 20050405 |
|
| A61 | First payment of annual fees (during grant procedure) |
Free format text: JAPANESE INTERMEDIATE CODE: A61 Effective date: 20050415 |
|
| FPAY | Renewal fee payment (event date is renewal date of database) |
Free format text: PAYMENT UNTIL: 20090422 Year of fee payment: 4 |
|
| FPAY | Renewal fee payment (event date is renewal date of database) |
Free format text: PAYMENT UNTIL: 20090422 Year of fee payment: 4 |
|
| FPAY | Renewal fee payment (event date is renewal date of database) |
Free format text: PAYMENT UNTIL: 20100422 Year of fee payment: 5 |
|
| FPAY | Renewal fee payment (event date is renewal date of database) |
Free format text: PAYMENT UNTIL: 20110422 Year of fee payment: 6 |
|
| FPAY | Renewal fee payment (event date is renewal date of database) |
Free format text: PAYMENT UNTIL: 20120422 Year of fee payment: 7 |
|
| FPAY | Renewal fee payment (event date is renewal date of database) |
Free format text: PAYMENT UNTIL: 20130422 Year of fee payment: 8 |
|
| FPAY | Renewal fee payment (event date is renewal date of database) |
Free format text: PAYMENT UNTIL: 20140422 Year of fee payment: 9 |
|
| LAPS | Cancellation because of no payment of annual fees |