JP3658801B2 - 複式熱交換器 - Google Patents
複式熱交換器 Download PDFInfo
- Publication number
- JP3658801B2 JP3658801B2 JP15762195A JP15762195A JP3658801B2 JP 3658801 B2 JP3658801 B2 JP 3658801B2 JP 15762195 A JP15762195 A JP 15762195A JP 15762195 A JP15762195 A JP 15762195A JP 3658801 B2 JP3658801 B2 JP 3658801B2
- Authority
- JP
- Japan
- Prior art keywords
- heat exchanger
- connection block
- block body
- tubular
- header tank
- Prior art date
- Legal status (The legal status is an assumption and is not a legal conclusion. Google has not performed a legal analysis and makes no representation as to the accuracy of the status listed.)
- Expired - Fee Related
Links
- 238000009423 ventilation Methods 0.000 claims description 14
- 238000004891 communication Methods 0.000 claims description 12
- 230000009977 dual effect Effects 0.000 claims description 11
- 238000005219 brazing Methods 0.000 claims description 8
- 238000000465 moulding Methods 0.000 claims description 4
- 239000003507 refrigerant Substances 0.000 description 25
- XAGFODPZIPBFFR-UHFFFAOYSA-N aluminium Chemical compound [Al] XAGFODPZIPBFFR-UHFFFAOYSA-N 0.000 description 4
- 229910052782 aluminium Inorganic materials 0.000 description 4
- 239000000463 material Substances 0.000 description 4
- 238000005520 cutting process Methods 0.000 description 3
- 238000007789 sealing Methods 0.000 description 3
- 238000011144 upstream manufacturing Methods 0.000 description 3
- 229910000838 Al alloy Inorganic materials 0.000 description 2
- 239000000956 alloy Substances 0.000 description 2
- 230000001143 conditioned effect Effects 0.000 description 2
- 239000002826 coolant Substances 0.000 description 2
- 238000005304 joining Methods 0.000 description 2
- 238000005192 partition Methods 0.000 description 2
- 238000007664 blowing Methods 0.000 description 1
- 238000010273 cold forging Methods 0.000 description 1
- 238000001816 cooling Methods 0.000 description 1
- 230000008878 coupling Effects 0.000 description 1
- 238000010168 coupling process Methods 0.000 description 1
- 238000005859 coupling reaction Methods 0.000 description 1
- 238000004512 die casting Methods 0.000 description 1
- 230000000694 effects Effects 0.000 description 1
- 238000005242 forging Methods 0.000 description 1
- 238000010438 heat treatment Methods 0.000 description 1
- 238000004519 manufacturing process Methods 0.000 description 1
- 230000002093 peripheral effect Effects 0.000 description 1
- 238000005057 refrigeration Methods 0.000 description 1
- 239000003566 sealing material Substances 0.000 description 1
- 238000003466 welding Methods 0.000 description 1
Images
Classifications
-
- F—MECHANICAL ENGINEERING; LIGHTING; HEATING; WEAPONS; BLASTING
- F28—HEAT EXCHANGE IN GENERAL
- F28D—HEAT-EXCHANGE APPARATUS, NOT PROVIDED FOR IN ANOTHER SUBCLASS, IN WHICH THE HEAT-EXCHANGE MEDIA DO NOT COME INTO DIRECT CONTACT
- F28D1/00—Heat-exchange apparatus having stationary conduit assemblies for one heat-exchange medium only, the media being in contact with different sides of the conduit wall, in which the other heat-exchange medium is a large body of fluid, e.g. domestic or motor car radiators
- F28D1/02—Heat-exchange apparatus having stationary conduit assemblies for one heat-exchange medium only, the media being in contact with different sides of the conduit wall, in which the other heat-exchange medium is a large body of fluid, e.g. domestic or motor car radiators with heat-exchange conduits immersed in the body of fluid
- F28D1/04—Heat-exchange apparatus having stationary conduit assemblies for one heat-exchange medium only, the media being in contact with different sides of the conduit wall, in which the other heat-exchange medium is a large body of fluid, e.g. domestic or motor car radiators with heat-exchange conduits immersed in the body of fluid with tubular conduits
- F28D1/053—Heat-exchange apparatus having stationary conduit assemblies for one heat-exchange medium only, the media being in contact with different sides of the conduit wall, in which the other heat-exchange medium is a large body of fluid, e.g. domestic or motor car radiators with heat-exchange conduits immersed in the body of fluid with tubular conduits the conduits being straight
- F28D1/0535—Heat-exchange apparatus having stationary conduit assemblies for one heat-exchange medium only, the media being in contact with different sides of the conduit wall, in which the other heat-exchange medium is a large body of fluid, e.g. domestic or motor car radiators with heat-exchange conduits immersed in the body of fluid with tubular conduits the conduits being straight the conduits having a non-circular cross-section
- F28D1/05366—Assemblies of conduits connected to common headers, e.g. core type radiators
- F28D1/05383—Assemblies of conduits connected to common headers, e.g. core type radiators with multiple rows of conduits or with multi-channel conduits
-
- F—MECHANICAL ENGINEERING; LIGHTING; HEATING; WEAPONS; BLASTING
- F28—HEAT EXCHANGE IN GENERAL
- F28F—DETAILS OF HEAT-EXCHANGE AND HEAT-TRANSFER APPARATUS, OF GENERAL APPLICATION
- F28F9/00—Casings; Header boxes; Auxiliary supports for elements; Auxiliary members within casings
- F28F9/26—Arrangements for connecting different sections of heat-exchange elements, e.g. of radiators
Landscapes
- Engineering & Computer Science (AREA)
- Physics & Mathematics (AREA)
- Thermal Sciences (AREA)
- Mechanical Engineering (AREA)
- General Engineering & Computer Science (AREA)
- Details Of Heat-Exchange And Heat-Transfer (AREA)
- Heat-Exchange Devices With Radiators And Conduit Assemblies (AREA)
Description
【産業上の利用分野】
本発明は、複数個の熱交換器を、空気通風方向において前後に並べて配置した複式熱交換器に関するもので、特に複数個の熱交換器間の媒体通路の接続部を小型、簡潔にするための改良構造に関する。
【0002】
【従来の技術】
従来、この種の複式熱交換器として特開平3−84395号公報に記載されたものがあり、この公報記載のものでは、空気通風方向において前後に並べて配置された複数個の熱交換器間の媒体通路を接続するために、複数個の熱交換器の隣接するヘッダタンクの一方に、雄型接続ブロック体を接合し、他方のヘッダタンクに雌型接続ブロック体を接合している。
【0003】
そして、この雄型接続ブロック体に設けた嵌合突起を、雌型接続ブロック体に設けた嵌合穴に嵌合することにより、複数個の熱交換器の隣接するヘッダタンク間の媒体通路(例えば、冷凍サイクルの冷媒通路)を接続するようにしている。また、上記両接続ブロック体間の機械的結合は、ボルトによるねじ止めにて行っている。
【0004】
【発明が解決しようとする課題】
しかしながら、上記従来構造では、上記両接続ブロック体間を機械的に結合するための、ボルトによるねじ止め、嵌合突起と嵌合穴との嵌合部をOリング等のシール部材によりシールする構造等が必要となり、複数個の熱交換器間の媒体通路の接続構造が複雑となり、製造コストが高くなるという問題がある。
【0005】
本発明は上記点に鑑みてなされたもので、複数個の熱交換器間の媒体通路の接続構造が簡潔な複式熱交換器を提供することを目的とする。
【0006】
【課題を解決するための手段】
本発明は上記目的を達成するため、以下の技術的手段を採用する。
請求項1記載の発明では、並列状に配置された複数のチューブ(21)と、
この複数のチューブ(21)間に配置されたフィン(22)と、
前記複数のチューブ(21)の一端部および他端部をそれぞれ相互に連通する一対のヘッダタンク(17、19)(18、20)とからなる熱交換器(11、12)が、空気通風方向(A)において複数個、前後に並べて配置された複式熱交換器(10)において、
前記複数個の熱交換器(11、12)の隣接するヘッダタンク(17、18)間の媒体通路を接続する接続ブロック体(25)を有し、
この接続ブロック体(25)は、一方のヘッダタンク(17)に接続される第1の管状部(25a)と、他方のヘッダタンク(18)に接続される第2の管状部(25b)と、この第1および第2の管状部(25a)(25b)間の媒体通路を連通する本体部(25c)とを一体成形した構造からなり、
前記第1の管状部(25a)は、前記一方のヘッダタンク(17)の連通穴部(26)に、また前記第2の管状部(25b)は、前記他方のヘッダタンク(18)の連通穴部(27)にそれぞれ直接接合されている複式熱交換器を特徴とする。
【0007】
さらに、請求項1記載の発明では、前記接続ブロック体(25)の前記本体部(25c)に開口部(25d)が設けられており、この開口部(25d)が蓋部材(25e)により閉塞されていることを特徴とする。
請求項2記載の発明では、請求項1に記載の複式熱交換器において、前記接続ブロック体(25)の前記本体部(25c)において、前記開口部(25d)が前記第1および第2の管状部(25a、25b)と対向する部位に設けられており、
前記接続ブロック体(25)の前記本体部(25c)と前記第1および第2の管状部(25a、25b)とが型成形による一体成形品で形成されていることを特徴とする。
【0008】
請求項3記載の発明では、請求項1または2に記載の複式熱交換器において、前記第1の管状部(25a)および前記第2の管状部(25b)が、前記連通穴部(26、27)にそれぞれろう付けにて直接接合されていることを特徴とする。
請求項4記載の発明では、請求項1ないし3のいずれか1つに記載の複式熱交換器において、前記複数個の熱交換器(11、12)の隣接するヘッダタンク(17、18)の一部(B)が前記空気通風方向において直接密着するように配置され、この直接密着部分(B)で前記ヘッダタンク(17、18)相互が接合されていることを特徴とする。
【0009】
なお、上記各手段の括弧内の符号は、後述する実施例記載の具体的手段との対応関係を示すものである。
【0010】
【発明の作用効果】
請求項1〜4記載の発明によれば、上記技術的手段を有しているため、複数の熱交換器の隣接するヘッダタンク間の媒体通路を、一体成形品で形成された1つの接続ブロック体にて接続することができ、かつこの1つの接続ブロック体は両ヘッダタンクの連通穴部に直接ろう付け等で接合する構造であるから、従来構造のようなボルトを用いたねじ止め構造やシール材を用いたシール構造を必要とせず、媒体通路接続部を極めて小型簡潔にまとめることができる。
【0011】
また、ねじ止め作業の廃止により熱交換器組付の生産性も向上できる。上記に加えて、請求項2記載の発明では、接続ブロック体の本体部において、開口部を第1および第2の管状部と対向する部位に設けて、接続ブロック体の本体部と第1および第2の管状部とを型成形による一体成形品で形成しているから、接続ブロック体を切削加工する必要がなく、接続ブロック体の材料費、加工コストを大幅に低減できる。
【0012】
さらに、請求項4記載の発明では、複数個の熱交換器の隣接するヘッダタンクの一部を空気通風方向において直接密着するように配置して、この直接密着部分ヘッダタンク相互を接合しているから、複式熱交換器の通風前後方向の全体寸法を最小限に抑制できる。
【0013】
【実施例】
以下、本発明を図に示す実施例について説明する。
(第1実施例)
図1、2は第1実施例を示すもので、本発明を電気自動車用ヒートポンプ式空調装置の室内熱交換器に適用した例を示す。この室内熱交換器は、空調装置の通風ケーシング(図示せず)内に設置され、夏季冷房時には冷媒蒸発器として作用して送風空気を冷却し、冬季暖房時には冷媒凝縮器として作用して送風空気を加熱するものである。
【0014】
本例の複式熱交換器10は、空調空気の通風方向Aにおいて、前後に並べて配置された2つの熱交換器11、12を有している。ここで、2つの熱交換器11、12のうち、通風方向Aの上流側に位置する熱交換器11は、冷媒出口パイプ13を有する冷媒出口側の熱交換器であり、通風方向Aの下流側に位置する熱交換器12は、冷媒入口パイプ14を有する冷媒入口側の熱交換器である。
【0015】
上記両熱交換器11、12は同一構造であり、以下その具体的構造について述べる。
上記両熱交換器11、12は、空気と冷媒との熱交換を行うコア15、16、このコア15、16の水平方向の一端側に配された第1ヘッダタンク17、18およびコア15、16の水平方向の他端側に配された第2ヘッダタンク19、20等から構成され、これらの構成部品はすべてアルミニウムで形成され、炉中にて一体ろう付けして製造される。
【0016】
コア15、16は、水平方向に延びて並列状に配置された複数のチューブ21およびこのチューブ21間に配置されたコルゲートフィン22よりなり、これらはろう付け等の接合手段により接合されている。
複数のチューブ21はアルミニウムまたはアルミニウム合金材により断面形状が偏平な形状に形成され、その内部に冷媒流路を形成している。
【0017】
第1ヘッダタンク17、18は、上下方向に延びる略円筒形状を呈するものであって、前記複数のチューブ21の一端部が連通している。また、第1ヘッダタンク17、18の内部空間は仕切り板23、24により上下方向に2つの空間に仕切られている。
そして、空気上流側の熱交換器11の第1ヘッダタンク17の下部空間には、このヘッダタンク17内の冷媒を外部へ流出させる冷媒出口パイプ13が接続されている。また、空気下流側の熱交換器12の第1ヘッダタンク18の下部空間には、このヘッダタンク18内へ冷媒を流入させる冷媒入口パイプ14が接続されている。
【0018】
第2ヘッダタンク19、20も、上下方向に延びる略円筒形状を呈するものであって、前記複数のチューブ21の他端部が連通している。また、第2ヘッダタンク19、20の内部空間は仕切り板により仕切られることなく、上下方向に貫通している。
また、隣接する第1ヘッダタンク17、18は、空気の通風方向Aにおいて、その上下方向の端部Bが直接密着するように配置されており、この上下方向の端部Bにおいてスポット的にろう付けされている。同様に、第2ヘッダタンク19、20も、その上下方向の端部Bが直接密着するように配置され、この上下方向の端部Bにおいてスポット的にろう付けされている。
【0019】
従って、合計4か所のスポット的ろう付けにより、隣接する第1ヘッダタンク17と18、および第2ヘッダタンク19と20が相互に一体に接合され、2つの熱交換器11、12が一体構造となるようにしてある。
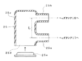
次に、本発明の要部をなす接続ブロック体25について詳述する。この接続ブロック体25は2つの熱交換器11、12の隣接する第1ヘッダタンク17、18間の冷媒通路を接続するものであって、この接続ブロック体25は、他の熱交換器部品と同様にアルミニウムまたはアルミニウム合金材により形成されるものである。
【0020】
この接続ブロック体25は、一方の第1ヘッダタンク17に接続される第1の管状部25aと、他方の第1ヘッダタンク18に接続される第2の管状部25bと、この第1および第2の管状部25a、25b間の冷媒通路を連通する本体部25cとを有している。本体部25cは本例では略直方体状の形状に形成され、その一方の側面部に開口部25dが設けられており、この開口部25dには蓋部材25eが全周でろう付けされて、開口部25dを閉塞するようになっている。
【0021】
上記第1および第2の管状部25a、25bと本体部25cは、アルミニュウム材を切削加工することにより、図2に示す断面形状に一体成形されている。
一方、第1ヘッダタンク17、18の上端部近くの部位で、チューブ21との接合部分とは反対側の外周面に、連通穴部26、27が開けてあり、上記第1および第2の管状部25a、25b間の距離Lは、通風前後方向の両ヘッダタンク17、18を略密着配置したときの、連通穴部26、27間の距離と一致するように設定されている。
【0022】
このように距離Lを設定することにより、通風前後方向の両ヘッダタンク17、18を略密着配置して、複式熱交換器10の通風前後方向の全体寸法を最小限に抑制できる。
また、上記第1および第2の管状部25a、25bの外径は、連通穴部26、27内に嵌入し得る大きさに設定され、上記第1および第2の管状部25a、25bは、連通穴部26、27内に嵌入された状態でヘッダタンク17、18にろう付けされる。
【0023】
第1実施例では、上述した構成を有しているから、2つの熱交換器11、12の隣接する第1ヘッダタンク17、18間の冷媒通路を、一体成形品で形成された1つの接続ブロック体25にて接続することができ、かつこの1つの接続ブロック体25は両ヘッダタンク17、18の連通穴部26、27に直接ろう付けする構造であるから、従来構造のようなボルトを用いたねじ止め構造やシール材を用いたシール構造を必要とせず、冷媒通路接続部を極めて小型簡潔にまとめることができる。
【0024】
また、接続ブロック体25と両ヘッダタンク17、18の連通穴部26、27とのろう付けは、熱交換器のろう付けと同時に行うことができるので、ねじ止め作業の廃止により熱交換器組付の生産性を向上できる。
次に、本例の複式熱交換器10における冷媒の流れについて簡単に述べると、入口パイプ14から空気下流側の熱交換器12の第1ヘッダタンク18の下部空間内へ冷媒が流入し、この冷媒は熱交換器12の下半部のチューブ21を通って第2のヘッダタンク20内へ流入した後、ここでUターンして冷媒は熱交換器12の上半部のチューブ21を通って第1のヘッダタンク18の上部空間に至る。
【0025】
その後、冷媒は、接続ブロック体25の第2の管状部25b、本体部25c、第1の管状部25aを経由して、空気上流側の熱交換器11の第1ヘッダタンク17の上部空間内へ流入し、熱交換器11の上半部のチューブ21を通って第2のヘッダタンク19に至る。
次に、この第2のヘッダタンク19で、冷媒はUターンして熱交換器11の下半部のチューブ21を通って第1のヘッダタンク17の下部空間に至り、出口パイプ13から外部へ流出する。
【0026】
上記経路で冷媒が流れる間に矢印A方向に通風される空調空気と冷媒との間で熱交換が行われ、送風空気の冷却、除湿、または加熱がなされる。
図3〜図5は上記第1実施例のものを、自動車への搭載性、組付性等を考慮して、より一層具体化した形状例を示すもので、基本的形態は第1実施例と同じであるので、第1実施例と同一部分に同一符号を付して説明は省略する。
(第2実施例)
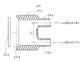
図6、7は第2実施例を示すもので、接続ブロック体25の形状を変更して切削加工でなく、ダイキャスト、冷間鍛造等の型成形で製造可能な一体成形品にて接続ブロック体25を製造できるようにしたものである。
【0027】
すなわち、第2実施例では、接続ブロック体25の本体部15cにおいて、開口部25dを第1および第2の管状部25a、25bと対向する部位に設け、これにより第1および第2の管状部25a、25bの軸方向(図6の左右方向)に、本体部15cの内壁形状を成形する成形型を抜くことができるようにして、接続ブロック体25を切削加工でなく、ダイキャスト、冷間鍛造等の型成形で製造できる。開口部25dには蓋部材25eが全周でろう付けされて、開口部25dを閉塞する。
【0028】
このように、接続ブロック体25を切削加工せずに成形できるので、接続ブロック体25の材料費を第1実施例に比して大幅に低減できるとともに、接続ブロック体25成形の生産性を大幅に向上できる。
なお、本発明による複式熱交換器は、上述したヒートポンプ式空調装置の室内熱交換器に限定されることなく、種々な用途の熱交換器に広く適用可能であることはもちろんである。また、ヘッダタンク相互の接合部B等をろう付けでなく、溶接により接合してもよい。
【図面の簡単な説明】
【図1】本発明の第1実施例を示す斜視図である。
【図2】図1のC部の詳細断面図である。
【図3】本発明の第1実施例の熱交換器をより具体化した熱交換器の平面図である。
【図4】図3の熱交換器の正面図である。
【図5】図3の熱交換器の左側面図である。
【図6】本発明の第2実施例を示す接続ブロック体の断面図である。
【図7】図6に示す接続ブロック体の斜視図である。
【符号の説明】
10…複式熱交換器、11、12…熱交換器、17、18…第1ヘッダタンク、19、20…第2ヘッダタンク、21…チューブ、22…フィン、
25…接続ブロック体、25a…第1の管状部、25b…第2の管状部、
25c…本体部、25d…開口部、25e…蓋部材、26、27…連通穴部。
Claims (4)
- 並列状に配置された複数のチューブと、
この複数のチューブ間に配置されたフィンと、
前記複数のチューブの一端部および他端部をそれぞれ相互に連通する一対のヘッダタンクとからなる熱交換器が、空気通風方向において複数個、前後に並べて配置された複式熱交換器において、
前記複数個の熱交換器の隣接するヘッダタンク間の媒体通路を接続する接続ブロック体を有し、
この接続ブロック体は、一方のヘッダタンクに接続される第1の管状部と、他方のヘッダタンクに接続される第2の管状部と、この第1および第2の管状部間の媒体通路を連通する本体部とを一体成形した構造からなり、
前記第1の管状部は、前記一方のヘッダタンクの連通穴部に、また前記第2の管状部は、前記他方のヘッダタンクの連通穴部にそれぞれ直接接合されており、
前記接続ブロック体の前記本体部に開口部が設けられており、この開口部が蓋部材により閉塞されていることを特徴とする複式熱交換器。 - 前記接続ブロック体の前記本体部において、前記開口部が前記第1および第2の管状部と対向する部位に設けられており、
前記接続ブロック体の前記本体部と前記第1および第2の管状部とが型成形による一体成形品で形成されていることを特徴とする請求項1に記載の複式熱交換器。 - 前記第1の管状部および前記第2の管状部が、前記連通穴部にそれぞれろう付けにて直接接合されていることを特徴とする請求項1または2に記載の複式熱交換器。
- 前記複数個の熱交換器の隣接するヘッダタンクの一部が前記空気通風方向において直接密着するように配置され、この直接密着部分で前記ヘッダタンク相互が接合されていることを特徴とする請求項1ないし3のいずれか1つに記載の複式熱交換器。
Priority Applications (1)
| Application Number | Priority Date | Filing Date | Title |
|---|---|---|---|
| JP15762195A JP3658801B2 (ja) | 1995-06-23 | 1995-06-23 | 複式熱交換器 |
Applications Claiming Priority (1)
| Application Number | Priority Date | Filing Date | Title |
|---|---|---|---|
| JP15762195A JP3658801B2 (ja) | 1995-06-23 | 1995-06-23 | 複式熱交換器 |
Publications (2)
| Publication Number | Publication Date |
|---|---|
| JPH0914886A JPH0914886A (ja) | 1997-01-17 |
| JP3658801B2 true JP3658801B2 (ja) | 2005-06-08 |
Family
ID=15653739
Family Applications (1)
| Application Number | Title | Priority Date | Filing Date |
|---|---|---|---|
| JP15762195A Expired - Fee Related JP3658801B2 (ja) | 1995-06-23 | 1995-06-23 | 複式熱交換器 |
Country Status (1)
| Country | Link |
|---|---|
| JP (1) | JP3658801B2 (ja) |
Families Citing this family (6)
| Publication number | Priority date | Publication date | Assignee | Title |
|---|---|---|---|---|
| JP3218289B2 (ja) * | 1998-03-12 | 2001-10-15 | 典之 山内 | 空調装置およびそれに用いる凝縮器 |
| JP2001050686A (ja) * | 1999-08-05 | 2001-02-23 | Denso Corp | 蒸発器 |
| JP4540839B2 (ja) * | 2000-12-13 | 2010-09-08 | 株式会社日本クライメイトシステムズ | 複合型熱交換器 |
| KR100859730B1 (ko) * | 2002-07-12 | 2008-09-23 | 한라공조주식회사 | 복합 열교환기 |
| JP6583729B2 (ja) * | 2015-11-24 | 2019-10-02 | 株式会社富士通ゼネラル | 熱交換器 |
| KR102735941B1 (ko) * | 2019-11-27 | 2024-12-02 | 한온시스템 주식회사 | 열교환기 |
Family Cites Families (3)
| Publication number | Priority date | Publication date | Assignee | Title |
|---|---|---|---|---|
| JPH0236793U (ja) * | 1988-09-02 | 1990-03-09 | ||
| JP3030036B2 (ja) * | 1989-08-23 | 2000-04-10 | 昭和アルミニウム株式会社 | 複式熱交換器 |
| JP2586753Y2 (ja) * | 1990-09-28 | 1998-12-09 | サンデン株式会社 | 熱交換器 |
-
1995
- 1995-06-23 JP JP15762195A patent/JP3658801B2/ja not_active Expired - Fee Related
Also Published As
| Publication number | Publication date |
|---|---|
| JPH0914886A (ja) | 1997-01-17 |
Similar Documents
| Publication | Publication Date | Title |
|---|---|---|
| JP3159805B2 (ja) | 熱交換器 | |
| EP1172623B1 (en) | Heat exchanger and fluid pipe therefor | |
| JP3829499B2 (ja) | 熱交換器 | |
| JPH09126685A (ja) | 熱交換器 | |
| JP3658801B2 (ja) | 複式熱交換器 | |
| JPH11142087A (ja) | 熱交換器 | |
| JP3233015B2 (ja) | 複式熱交換器 | |
| KR100225506B1 (ko) | 자동차 에어컨용 증발기 | |
| JPH11223486A (ja) | 並設一体型熱交換器及びその製造方法 | |
| JP3203014B2 (ja) | 熱交換器 | |
| JPH11223477A (ja) | 自動車用複合型熱交換器およびその製造方法 | |
| JP5741470B2 (ja) | 熱交換器、およびその製造方法 | |
| JP3880097B2 (ja) | 熱交換器 | |
| JP4164145B2 (ja) | 熱交換器、及びこれを用いたカー・エアコン | |
| JP2000304489A (ja) | 熱交換器及び放熱器 | |
| JPH11337292A (ja) | 熱交換器 | |
| KR100532187B1 (ko) | 증발기 | |
| JP2551703Y2 (ja) | 熱交換器 | |
| JPH0519714Y2 (ja) | ||
| JP3241120B2 (ja) | 熱交換器 | |
| JPH01291098A (ja) | 熱交換器における出入口管の取付装置 | |
| KR100521395B1 (ko) | 자동차용증발기 | |
| JP3151954B2 (ja) | 自動車用熱交換器 | |
| JP2523238B2 (ja) | 熱交換器 | |
| JPH11351784A (ja) | 熱交換器 |
Legal Events
| Date | Code | Title | Description |
|---|---|---|---|
| A977 | Report on retrieval |
Free format text: JAPANESE INTERMEDIATE CODE: A971007 Effective date: 20041111 |
|
| A131 | Notification of reasons for refusal |
Free format text: JAPANESE INTERMEDIATE CODE: A131 Effective date: 20041116 |
|
| A521 | Written amendment |
Free format text: JAPANESE INTERMEDIATE CODE: A523 Effective date: 20050111 |
|
| TRDD | Decision of grant or rejection written | ||
| A01 | Written decision to grant a patent or to grant a registration (utility model) |
Free format text: JAPANESE INTERMEDIATE CODE: A01 Effective date: 20050222 |
|
| A61 | First payment of annual fees (during grant procedure) |
Free format text: JAPANESE INTERMEDIATE CODE: A61 Effective date: 20050307 |
|
| R150 | Certificate of patent or registration of utility model |
Free format text: JAPANESE INTERMEDIATE CODE: R150 |
|
| FPAY | Renewal fee payment (event date is renewal date of database) |
Free format text: PAYMENT UNTIL: 20080325 Year of fee payment: 3 |
|
| FPAY | Renewal fee payment (event date is renewal date of database) |
Free format text: PAYMENT UNTIL: 20110325 Year of fee payment: 6 |
|
| FPAY | Renewal fee payment (event date is renewal date of database) |
Free format text: PAYMENT UNTIL: 20120325 Year of fee payment: 7 |
|
| FPAY | Renewal fee payment (event date is renewal date of database) |
Free format text: PAYMENT UNTIL: 20120325 Year of fee payment: 7 |
|
| FPAY | Renewal fee payment (event date is renewal date of database) |
Free format text: PAYMENT UNTIL: 20130325 Year of fee payment: 8 |
|
| FPAY | Renewal fee payment (event date is renewal date of database) |
Free format text: PAYMENT UNTIL: 20140325 Year of fee payment: 9 |
|
| LAPS | Cancellation because of no payment of annual fees |