JP3649858B2 - 飲料抽出装置 - Google Patents
飲料抽出装置 Download PDFInfo
- Publication number
- JP3649858B2 JP3649858B2 JP15860897A JP15860897A JP3649858B2 JP 3649858 B2 JP3649858 B2 JP 3649858B2 JP 15860897 A JP15860897 A JP 15860897A JP 15860897 A JP15860897 A JP 15860897A JP 3649858 B2 JP3649858 B2 JP 3649858B2
- Authority
- JP
- Japan
- Prior art keywords
- extraction
- beverage
- paper filter
- cylindrical member
- cylinder
- Prior art date
- Legal status (The legal status is an assumption and is not a legal conclusion. Google has not performed a legal analysis and makes no representation as to the accuracy of the status listed.)
- Expired - Fee Related
Links
- 235000013361 beverage Nutrition 0.000 title claims description 95
- 238000000605 extraction Methods 0.000 claims description 135
- XLYOFNOQVPJJNP-UHFFFAOYSA-N water Substances O XLYOFNOQVPJJNP-UHFFFAOYSA-N 0.000 claims description 14
- 239000002994 raw material Substances 0.000 claims description 11
- 239000000843 powder Substances 0.000 claims description 9
- 239000010902 straw Substances 0.000 claims description 3
- 238000001514 detection method Methods 0.000 description 83
- 238000000034 method Methods 0.000 description 75
- 239000002699 waste material Substances 0.000 description 47
- 239000000203 mixture Substances 0.000 description 18
- 238000003756 stirring Methods 0.000 description 18
- 239000003638 chemical reducing agent Substances 0.000 description 13
- 238000010586 diagram Methods 0.000 description 11
- 238000004891 communication Methods 0.000 description 10
- 239000004071 soot Substances 0.000 description 8
- 239000000796 flavoring agent Substances 0.000 description 5
- 235000019634 flavors Nutrition 0.000 description 5
- 230000000694 effects Effects 0.000 description 4
- 239000000284 extract Substances 0.000 description 4
- 239000004615 ingredient Substances 0.000 description 4
- 238000002156 mixing Methods 0.000 description 4
- 235000016213 coffee Nutrition 0.000 description 3
- 235000013353 coffee beverage Nutrition 0.000 description 3
- 238000001914 filtration Methods 0.000 description 3
- 238000012856 packing Methods 0.000 description 3
- 244000269722 Thea sinensis Species 0.000 description 2
- 230000001771 impaired effect Effects 0.000 description 2
- 235000006468 Thea sinensis Nutrition 0.000 description 1
- 230000002411 adverse Effects 0.000 description 1
- 235000009508 confectionery Nutrition 0.000 description 1
- 238000007599 discharging Methods 0.000 description 1
- 238000010828 elution Methods 0.000 description 1
- 235000009569 green tea Nutrition 0.000 description 1
- 239000010813 municipal solid waste Substances 0.000 description 1
- 235000020333 oolong tea Nutrition 0.000 description 1
- 235000013616 tea Nutrition 0.000 description 1
Images
Landscapes
- Apparatus For Making Beverages (AREA)
Description
【発明の属する技術分野】
本発明は、飲料原料からコーヒー,紅茶,ウーロン茶,緑茶等を抽出してカップ販売するカップ式自動販売機に適用される飲料抽出装置に関し、特に、飲料抽出室内の滓の廃棄を確実に行えるようにして、次販売飲料の風味を損ねないようにした飲料抽出装置に関する。
【0002】
【従来の技術】
従来の飲料抽出装置として、例えば、実開昭61−118526号公報に示されるものがある。図19はこの飲料抽出装置100を示し、上下動可能に支持され、上方から供給されたコーヒー粉末等の飲料原料と湯の混合体を攪拌して下方へ排出するシリンダ101と、シリンダ101の下方に配置され、シリンダ101から排出された混合体を濾過するフィルタ102と、フィルタ102の濾過によって抽出された飲料を受け入れるゴムパッキン103を備えた飲料受け104と、飲料受け104に接続され、飲料をカップ側へ供給する飲料供給管105と、飲料供給管105を開閉する押圧板106aおよびカム106bからなるカム機構106と、本装置100の各部を制御する制御部(図示せず)とを備えて構成されている。
【0003】
シリンダ101は、上方に設けた供給口101aから供給された飲料原料と湯との攪拌工程が行われる攪拌室101bと、混合体を下方に設けた排出口101cから排出して飲料の抽出工程が行われる抽出室101dとを連通口101eで連通して形成されている。連通口101eは、バルブ107によって開閉されるようになっており、抽出口101dには、エアポンプ108からの加圧空気を導入するエアパイプ109が接続されている。
【0004】
このように構成された飲料抽出装置100において、制御部に販売信号が入力されると、制御部は、抽出駆動モータ(図示せず)を駆動する。図19に示すように、抽出駆動モータによってシリンダ101が待機位置Pから下降し、シリンダ101の下端が飲料受け104に当接する。次に、飲料原料と湯が供給口101aから供給されると、制御部は、エアポンプ108から加圧空気をエアパイプ109,抽出室101dおよび連通口101eを介して攪拌室101bへ送る。攪拌室101b内の飲料原料と湯との混合体は、エアポンプ108からの加圧空気によって攪拌される。混合体が十分攪拌されると、制御部は、エアポンプ108の駆動を停止する。攪拌室101b内の混合体は連通口101eを通って抽出室101dへ流れる。次に、制御部は、図20に示すように、抽出駆動モータを再度駆動する。抽出駆動モータによってバルブ107が上昇して連通口101eを閉じる。制御部は、エアポンプ108から加圧空気をエアパイプ109を介して抽出室101dへ送る。抽出室101d内の混合体は、加圧空気によってフィルタ102側へ圧送され、フィルタ102で濾過される。制御部は、供給モータ(図示せず)を駆動し、カム106bを所定角度回転させて押圧板106aによる飲料供給管105の押圧を解除し、飲料供給管105を開く。フィルタ102で濾過される飲料は、飲料供給管105を介してカップ側へ供給される。次に、制御部は、シリンダ101を滓廃棄位置P’へ移動させてシリンダ101内から滓を抜き、フィルタ102上に残った滓を滓除去部材(図示せず)をスライドさせて廃棄する。このようにして飲料抽出動作が終了すると、制御部は、抽出駆動モータを駆動してシリンダ101を上昇させると共に、バルブ107を上昇させて連通口101eを開いた待機位置Pに戻す。
【0005】
【発明が解決しようとする課題】
しかし、従来の飲料抽出装置によると、飲料抽出が終了してシリンダを上方へ移動させて滓廃棄位置を取っても、抽出滓が抽出室を形成するシリンダの内壁に付着していることがあるため、抽出滓を確実に抜いて廃棄できないという問題がある。抽出室内に抽出滓が残ると、次販売飲料の抽出において残った抽出滓の成分が混ざってしまい、次販売飲料の風味を損ねる恐れがある。
【0006】
一方、シリンダの排出口にテーパを形成したり、シリンダの下方の内表面を荒らしたりして抽出滓を抜け易くしたものもあるが、例えば、深煎りで細引きの原料を使用したり、原料の使用量が多くなると、抜け難くなり、前述した問題が生じてしまう。特に、最近では販売予定数を見越して一度に数杯分の飲料を抽出してタンク等に貯蔵して販売する方法が取られているため、抽出滓を確実に廃棄することが大きな課題となっている。
【0007】
従って、本発明の目的は飲料抽出室内の抽出滓の廃棄を確実に行えるようにして、次販売飲料の風味を損ねることがない飲料抽出装置を提供することである。
【0008】
【課題を解決するための手段】
本発明は上記問題点に鑑み、下端に開口部を有し、ペーパーフィルタ上に位置することにより飲料抽出室を形成する筒状部材と、
前記筒状部材を前記ペーパーフィルタ上で上下させて前記開口部を前記ペーパーフィルタと接する位置と前記ペーパーフィルタから離れる位置の間で変位させる駆動手段と、
飲料抽出が終了して前記駆動手段によって前記筒状部材を上昇させたとき、前記筒状部材に衝撃を与えて抽出滓を前記ペーパーフィルタ上に落下させる滓落下手段を備えたことを特徴とする飲料抽出装置を提供するものである。
前記滓落下手段は、前記駆動手段に含まれ、前記筒状部材を急上昇させるカムによって構成されることが好ましい。
前記滓落下手段は、前記筒状部材に外部から衝撃を与えるレバーによって構成されることが好ましい。
前記滓落下手段は、前記筒状部材に残留した前記抽出滓に外部から衝撃を与えるレバーによって構成されることが好ましい。
【0009】
また、本発明は上記問題点に鑑み、下端に開口部を有し、ペーパーフィルタ上に位置することにより飲料抽出室を形成する筒状部材と、
前記筒状部材を前記ペーパーフィルタ上で上下させて前記開口部を前記ペーパーフィルタと接する位置と前記ペーパーフィルタから離れる位置の間で変位させる駆動手段と、
飲料抽出が終了して前記駆動手段によって前記筒状部材を上昇させたとき、前記筒状部材の上昇によって相対移動する押出棒によって前記筒状部材の中で前記抽出滓を押し出して前記ペーパーフィルタ上に落下させる滓落下手段を備え、前記筒状部材は、粉末原料と湯が供給される第1の開口部、及び加圧空気が供給される第2の開口部を有し、
前記押出棒は、前記第1の開口部を開閉するバルブに取り付けられたことを特徴とする飲料抽出装置を提供するものである。
【0013】
【発明の実施の形態】
以下、本発明の飲料抽出装置を添付図面を参照しながら詳細に説明する。
【0014】
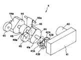
図1は本発明の第1の実施の形態に係る飲料抽出装置を示す。この飲料抽出装置1は、コーヒー粉末等の粉末原料と湯との混合体から飲料を抽出する抽出部2と、滓等を廃棄する廃棄処理部4と、本装置1の各部に加圧空気を送るエアポンプ5とを有して構成されている。
【0015】
抽出部2は、図示しない案内レールによって上下動可能に支持され、上方から供給された粉末原料と湯との混合体を攪拌して下方へ排出するシリンダ20と、シリンダ20の下方に配置され、シリンダ20から排出された混合体を濾過するペーパーフィルタ21と、ペーパーフィルタ21の濾過によって抽出された飲料を受け入れる飲料受け22とを備えている。
【0016】
シリンダ20は、上方に設けた供給口20aから供給された粉末原料と湯を受け入れる混合室20bと、粉末原料と湯との混合体を下方に設けた排出口20cから排出して飲料の抽出工程が行われる抽出室20dとを有し、混合室20bと抽出室20dは連通口20eで連通して形成されている。連通口20eは、バルブ23によって開閉されるようになっており、抽出室20dには、エアポンプ5からの加圧空気を導入する導入口20fを備えている。
【0017】
ペーパーフィルタ21は、回動可能な軸21Aにロール状でセットされ、後述する廃棄処理部4の廃棄処理モータ40の駆動により図1の左方向へ引き出されるように構成されている。ペーパーフィルタ21の残量検出は、基端側が回転可能に支持され、中間部あるいは先端側がロール状のペーパーフィルタ21に常に当接するフィルタ検出レバー21Bと、ペーパーフィルタ21の残量が少なくなってフィルタ検出レバー21Bが回動してスイッチング動作し、ペーパーフィルタ21が無くなったこと示す検出信号を後述する制御部6に出力して警報出力等に供するマイクロスイッチの如きフィルタ残量検出センサ21Cによって行われる。
【0018】
飲料受け22は、上部に開口22aを備え、開口22aの周囲にシリンダ20(排出口20c)が当接したとき、混合体が漏れるのを防ぐためのゴムパッキン22Aを設け、端部にペーパーフィルタ21の走行をガイドするローラ22Bを備え、下部に、飲料をカップ側へ供給する飲料供給管22Cおよび飲料を廃棄する廃棄管22Dを備えている。また、飲料供給管22Cには、飲料供給電磁弁53が設けられている。
【0019】
抽出部2は、抽出モータ24と、両側から出力軸25a、25bをそれぞれ突設し、抽出モータ24の回転数を所定の回転数に減速する減速機25と、一方の出力軸25aの一端をベアリング26aによって支持した支持板26と、一方の出力軸25aに固定されたシリンダカム27Aおよびバルブカム27Bと、シリンダ20を駆動するシリンダ駆動板28Aと、バルブ23を駆動するバルブ駆動板28Bと、シリンダ駆動板28Aに取り付けられたシリンダカムフォロア29Aと、バルブ駆動板28Bに取り付けられたバルブカムフォロア29Bと、シリンダ駆動板28Aに取り付けられた係止部材28aとバルブ駆動板28Bに取り付けられた係止部材28bとに両端がそれぞれ係止され、シリンダ駆動板28Aとバルブ駆動板28Bとを互いに引き寄せてシリンダカムフォロア29Aおよびバルブカムフォロア29Bをシリンダカム27Aおよびバルブカム27Bにそれぞれ当接させる引張コイルバネ30と、シリンダ20とシリンダ駆動板28Aとを連結する複数の連結部材31A,31B,31Cと、バルブ23を先端側のピン32aによって回動可能に連結したレバー32と、バルブ駆動板28Bに取り付けられ、ピン32bによってレバー32を回動可能に連結した連結部材33と、レバー32の後端側とバルブ駆動板28Bに取り付けられた係止部材28cとに両端がそれぞれ係止された引張コイルバネ34とを備えている。この抽出部2は、出力軸25a,25bおよび出力軸41aがそれぞれ1回転することにより攪拌工程,抽出工程,滓廃棄工程の一連の工程が終了するように構成されている。
【0020】
減速機25の他方の出力軸25b側には、各工程の進行を検出する工程検出機構が設けられている。すなわち、減速機25の他方の出力軸25bには、第1,第2および第3の工程検出板35A,35B,35Cが取り付けられ、第1,第2および第3工程検出板35A,35B,35Cの周囲には、第1,第2および第3の工程検出板35A,35B,35Cの回転位置を検出(例えば、遮光によってオフ)するホトセンサの如き第1,第2および第3の工程検出センサ36A,36B,36Cが配置されている。
【0021】
エアポンプ5には、抽出室20dの導入口20fと飲料受け22に通じるエアパイプ52が接続され、エアパイプ52には、抽出室20dの導入口20fの前段に上部空気電磁弁50が、また、飲料受け22の前段に下部空気電磁弁51がそれぞれ設けられている。
【0022】
図2は図1のA−A線断面図を示す。シリンダカム27Aおよびバルブカム27Bは、キー25cによって一方の出力軸25aに固定されており、シリンダカム27Aおよびバルブカム27Bのカム面は、シリンダ20およびバルブ23を各工程に応じた所定の位置に変位させるのに必要なカム半径を提供する形状に形成されていると共に、シリンダカム27Aのカム面の滓廃棄工程に相当する位置にカム半径が急激に小さくなる段差部27a,27bが形成されている。
【0023】
図3は工程検出機構の斜視図である。第1の工程検出板35Aには、2箇所に約90°にわたって突部35aが形成され、第2の工程検出板35Bには、4箇所に約70°にわたって突部35aが形成され、第3の工程検出板35Cには、1箇所に約180°にわたって突部35aが形成されている。
【0024】
図4は廃棄処理部4の要部斜視図である。廃棄処理部4は、廃棄処理モータ40と、廃棄処理モータ40の回転数を所定の回転数に減速する減速機41と、減速機41の出力軸41aに取り付けられた廃棄管開検出板42Aおよび廃棄管閉検出板42Bと、廃棄管開検出板42Aの突部42aによる遮光(例えば、オフ)によって廃棄管22Dの開状態(待機状態)を示すオフ信号を出力するホトセンサの如き廃棄管開検出センサ43Aと、廃棄管閉検出板42Bの突部42aによる遮光(例えば、オフ)によって廃棄管22Dの閉状態を示すオフ信号を出力するホトセンサの如き廃棄管閉検出センサ43Bと、円周上に切欠き部44aを有して出力軸41aに取り付けられ、ペーパーフィルタ21を一定長さ分送り出す一対のフィルタ送りローラ44と、ペーパーフィルタ21を一対のフィルタ送りローラ44側に図示しないバネによって押圧する一対のガイドローラ45と、支軸46aによって回動可能に支持され、廃棄管22Dを固定板(図1参照)47との間で押圧閉塞する板ばね等からなる押圧板46と、出力軸41aに取り付けられ、押圧板46を回動させる円周上に突部48aを有した押圧カム48とを備えている。
【0025】
図5は本飲料抽出装置1の制御系を示す。この飲料抽出装置1は、本装置1の各部を制御する制御部6を有し、この制御部6に、上記廃棄管開検出センサ43A、廃棄管閉検出センサ43B、第1,第2および第3の工程検出センサ36A,36B,36C、フィルタ残量検出センサ21C、エアポンプ5、上部空気電磁弁50、下部空気電磁弁51、飲料供給電磁弁53、抽出モータ24および廃棄処理モータ40を各々接続し、更に、抽出飲料の販売制御を司る主制御部7を接続している。
【0026】
主制御部7は、抽出飲料を販売する毎に販売信号を制御部6に出力し、制御部6は、主制御部7から販売信号を入力すると、抽出モータ24,廃棄処理モータ40およびエアポンプ5を制御して飲料抽出制御、すなわち、攪拌工程,抽出工程,滓廃棄工程の一連の工程を行わせるようになっている。
【0027】
次に、本飲料抽出装置1の動作を図6乃至図13を参照して説明する。図6は第1,第2および第3の工程検出センサ36A,36B,36Cの出力信号を示す図である。図7乃至図13は本装置1の動作を示す図であり、同図(a) は主要部(シリンダ20,バルブ13等)の位置を示す図、同図(b) は廃棄管開検出板42Aおよび廃棄管閉検出板42B、およびフィルタ送りローラ44の位置を示す図、同図(c) はシリンダカム27Aおよびバルブカム27Bの位置を示す図、同図(d) は第1,第2および第3の工程検出板35A,35B,35Cの位置を示す図である。
【0028】
(1) 待機状態(図7参照)
待機状態においては、本装置1の主要部は、図6に示す待機位置P1 にあり、図7に示す状態にある。すなわち、第1,第2および第3の工程検出センサ36A,36B,36Cはオンとなり、廃棄管開検出センサ43Aはオフ、廃棄管閉検出センサ43Bはオンとなっている。フィルタ送りローラ44とガイドローラ45との間に若干の隙間を有しており、フィルタ送りローラ44が回転してもペーパーフィルタ21は、全く移動しないようになっている。押圧板46は、廃棄管22Dの弾性力によって押圧カム48に当接している。
【0029】
(2) 攪拌工程(図8,図9参照)
制御部6は、主制御部7から販売信号が入力されると、第2の工程検出センサ36Bがオンのとき、第1,第3の工程検出センサ36A,36Cのオンに基づいて、待機位置P1 から攪拌位置P2 への移動動作を行う。すなわち、制御部6は、廃棄処理モータ40を正転駆動(図8(a) において出力軸41aが左回転する駆動)する。廃棄処理モータ40の駆動トルクが減速機41を介して出力軸41aに伝達され、出力軸41aが約60°正転(図8(a) において左回転)して、図8(a) に示すように、押圧カム48の突部48aが押圧板46を押圧することにより、廃棄管22Dが押圧板46と固定板47との間で閉塞される。廃棄管閉検出センサ43Bは、廃棄管閉検出板42Bの突部42aによって遮光され、オフ信号を制御部6に出力する。制御部6は、廃棄管閉検出センサ43Bからのオフ信号に基づいて廃棄処理モータ40の駆動を停止する。
【0030】
続いて制御部6は、抽出モータ24を正転駆動(図9(d) において出力軸25bが左回転する駆動)する。抽出モータ24の駆動トルクが減速機25を介して出力軸25a,25bに伝達され、出力軸25a,25bが正転(図9(d) において左回転)して、図9(c) に示すように、シリンダカム27Aおよびバルブカム27Bが正転することにより、シリンダ駆動板28Aおよびバルブ駆動板28Bが下降する。シリンダ駆動板28Aが下降すると、複数の連結部材31A,31B,31Cを介してシリンダ20が下降し、抽出室20dの下端がペーパーフィルタ21を飲料受け22へ圧接する。一方、バルブ駆動板28Bが下降すると、連結部材33,レバー32を介してバルブ32も下降する。第1の工程検出センサ36Aは、第1の工程検出板35Aによって遮光され、オフ信号を制御部6に出力する。続いて、第2の工程検出センサ36Bは、オン信号を制御部6に出力する。制御部6は、第2の工程検出センサ36Bがオンのとき、第1の工程検出センサ36Aのオフに基づいて抽出モータ24の駆動を停止する。本装置1の主要部は、図6に示す攪拌位置P2 に到達し、図9に示す状態となる。図9に示す状態では、同図(d) に示すように、第2,第3の工程検出センサ36B,36Cは、第2,第3の工程検出板35B,35Cの突部35aによって遮光されていないので、オン信号を制御部6にそれぞれ出力している。
【0031】
制御部6は、第2の工程検出センサ36Bのオンのとき、第1の工程検出センサ36Aのオフ、第3の工程検出センサ36Cのオンに基づいて攪拌工程を行う。すなわち、制御部6は、粉末原料および湯の供給要求信号を主制御部7に出力する。主制御部7の制御により混合室20bの供給口20aに粉末原料と湯が供給される。制御部6は、粉末原料と湯の供給に合わせて、飲料供給電磁弁53を閉じ、さらに下部空気電磁弁51を開き、エアポンプ5を駆動する。エアポンプ5は、加圧空気をエアパイプ52を介して飲料受け22に送る。この加圧空気は、ペーパーフィルタ21を通過して抽出室20d内へ流入する。この加圧空気が抽出室20d内の混合体中を通過する際、その気泡の流れが混合体を攪拌するように作用する。ペーパーフィルタ21の下方から加圧空気を供給することで、粉末原料成分の湯への溶出が助長され、短時間で飲料を抽出することができる。
【0032】
(3) 抽出工程(図10参照)
制御部6は、タイマーで設定された攪拌時間が経過すると、抽出モータ24を正転駆動する。抽出モータ24の駆動トルクが減速機25を介して出力軸25a,25bに伝達され、シリンダカム27A,バルブカム27Bが正転する。図10(c) に示すように、シリンダカム27Aのカム半径は変化しないので、シリンダ20は上下動しないが、バルブカム27Bのカム半径は大きくなるので、バルブ23が上昇し、図10(a) に示すように、連通口20eを閉じる。第3の工程検出センサ36Cは、第3の工程検出板35Cによって遮光され、オフ信号を制御部6に出力する。続いて第2の工程検出センサ36Bは、オン信号を制御部6に出力する。制御部6は、第2の工程検出センサ36Bがオンのとき、第3の工程検出センサ36Cのオフに基づいて抽出モータ24の駆動を停止する。本装置1の主要部は、図6に示す抽出位置P3 に到達し、図10に示す状態となる。図10に示す状態では、同図(d) に示すように、第1,第2の工程検出センサ36A,36Bはオンになる。
【0033】
制御部6は、第2の工程検出センサ36Bのオンのとき、第1の工程検出センサ36Aのオン、第3の工程検出センサ36Cのオフに基づいて抽出工程を行う。すなわち、制御部6は、上部空気電磁弁50を開け、下部空気電磁弁51を閉じ、飲料供給電磁弁53を開き、エアポンプ5を駆動して、エアポンプ5からの加圧空気をエアパイプ52を介して抽出室20dの上方の導入口20fから供給する。抽出室20d内の混合体は、エアポンプ5からの加圧空気によって下方へ圧送され、ペーパーフィルタ21で濾過される。ペーパーフィルタ21で濾過された飲料は、飲料受け22,飲料供給管22Cを介してカップ側へ供給される。抽出室20dに加圧空気を送ることで、抽出室20d内の気圧が増加して混合体がペーパーフィルタ21側に押し下げられるので、短時間で混合体が飲料と滓に分離され、効率良く濾過することができる。
【0034】
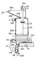
(4) 滓廃棄工程(図11,図12参照)
タイマで設定された抽出時間が経過すると、制御部6は、抽出モータ24を正転駆動する。これによって抽出モータ24の駆動トルクが減速機25を介して出力軸25a,25bに伝達され、シリンダカム27A,バルブカム27Bが正転することにより、シリンダ駆動板28Aおよびバルブ駆動板28Bが上昇し、シリンダ20およびバルブ23が最上位まで上昇する。ここで、シリンダカムフォロア29Aは、シリンダカム27Aの段差部27a,27bを通過する際に引張コイルバネ30によって急激に引き上げられ、これによってシリンダ30が急上昇する。このとき、シリンダ20に衝撃が加わり、抽出室20d内の滓7が落下する。第1,第3の工程検出センサ36A,36Cは、第1,第3の工程検出板35A,35Cによって遮光され、オフ信号を制御部6に出力する。続いて第2の工程検出センサ36Bは、オン信号を制御部6に出力する。制御部6は、第2の工程検出センサ36Bがオンのとき、第1,第3の工程検出センサ36A,36Cのオフに基づいて抽出モータ24の駆動を停止する。本装置1の主要部は、図6に示す滓廃棄位置P4 に到達し、図11に示す状態となる。図11の状態では、第2の工程検出センサ36Bはオンとなり、ペーパーフィルタ21上には、滓7が残る。
【0035】
制御部6は、第2の工程検出センサ36Bがオンのとき、第1,第3の工程検出センサ36A,36Cのオフに基づいて滓廃棄工程を行う。すなわち、制御部6は、廃棄処理モータ40を正転駆動する。廃棄処理モータ40の駆動トルクが減速機41を介して出力軸41aに伝達され、出力軸41aが正転し、フィルタ送りローラ44が回転してペーパーフィルタ21を引き出す。ペーパーフィルタ21上の滓7がローラ22Bを通過する際、図12(a) の想像線で示すように滓7が折れてペーパーフィルタ21から離れ、廃棄バケツ(図示せず)へ落下する。廃棄管開検出センサ43Aは、廃棄管開検出板42Aによって遮光され、オフ信号を制御部6に出力する。制御部6は、廃棄管開検出センサ43Aからのオフ信号に基づいて廃棄処理モータ40の駆動を停止する。本装置1の主要部は、図12に示す状態となる。
【0036】
(5) 待機状態への戻り動作
滓廃棄工程が終了すると、制御部6は、抽出モータ24および廃棄処理モータ40を正転駆動する。本装置1の主要部は、図7に示す待機状態へ戻る。その後、販売信号が制御部6に入力される毎に上記(1) 〜(5) の動作が繰り返される。
【0037】
上述した上記実施の形態によれば、シリンダ20を上下させるシリンダカム27Aのカム面の滓廃棄工程に相当する位置にカム半径が急激に小さくなる部分を形成したため、滓廃棄工程においてシリンダ20が急上昇してシリンダ20に衝撃が加わり、抽出室20d内の滓7を落下させることができる。その結果、滓の廃棄を確実に行うことができ、次販売飲料の風味に悪影響を及ぼすのを防ぐことができる。
【0038】
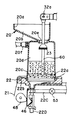
図13は本発明の第2の実施の形態に係る飲料抽出装置1を示す。この図において図1と同一の部分には同一の引用数字、符号を付したので、重複する説明は省略する。この飲料抽出装置1は、シリンダカム27Aのカム面にカム半径が急激に小さくなる部分を形成せずに、抽出室20d内のバルブ23の先端に、T字形の押出棒60を設けて構成されている。
【0039】
次に、本飲料抽出装置1の動作を図14乃至図17を参照して説明する。図14は待機状態を、図15は攪拌工程を、図16は抽出工程の抽出後の状態を、図17は滓廃棄工程を示し、販売信号が制御部6に入力されると、第1の実施の形態と同様、各工程を順次に実施し、各工程において第1の実施の形態と同様な動作を行う。但し、抽出工程から滓廃棄工程への動作は以下のように行われる。
【0040】
図16の抽出工程においてタイマで設定された抽出時間が経過すると、制御部6は、抽出モータ24を正転駆動する。抽出モータ24の駆動トルクが減速機25を介して出力軸25a,25bに伝達され、シリンダカム27A,バルブカム27Bが正転し、シリンダ駆動板28Aおよびバルブ駆動板28Bが上昇し、図17に示すように、シリンダ20およびバルブ23が最上位まで上昇する。このとき、バルブ23は滓7がペーパーフィルタ21上で送られて廃棄されるのに支障をきたさない程度の上昇量になっている、つまり、バルブ23の上昇量に対してシリンダ20の上昇量が非常に大になっているため、シリンダ20の上昇によって押出棒60がシリンダ20の排出口20cに詰まって一緒に上昇してきた滓7を押し出して落下させる。このようにしてシリンダ20が上昇すると、第1,第2,および第3の工程検出センサ36A〜36Cの検出結果に基づいて第1の実施の形態と同様に滓廃棄工程が実施され、滓7が廃棄される。
【0041】
上記第2の実施の形態によれば、抽出工程が済んでシリンダ20が上昇したときにシリンダ20の抽出室20d内の滓7を押出棒60で落下させるようになっているため、滓7を確実に廃棄することができ、第1の実施の形態と同様な効果を得ることができる。なお、押出棒60はバルブ23と一体に構成されるものであっても良く、或いは別体でねじ等で結合されるものであっても良い。
【0042】
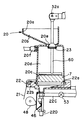
図18は本発明の第3の実施の形態に係る飲料抽出装置1を示す。この図において、第1および第2の実施の形態と同一の部分には同一の引用数字,符号を付したので重複する説明は省略する。この飲料抽出装置は、シリンダ20の抽出室20dの下端外面の近傍に、リンクピン70に支持されたレバー71と、レバー71の一端を上方に引っ張ってレバー71を反時計方向に付勢するスプリング72と、所定のタイミングで通電されて励磁されることによりレバー71の一端を下方に引っ張ってレバー71を時計方向に回動させるソレノイド73を設けて構成されている。
【0043】
次に、本飲料抽出装置1の動作を説明する。なお、ここでは抽出工程から滓廃棄工程への動作についてのみ説明する。
【0044】
抽出工程においてタイマで設定された抽出時間が経過すると、制御部6は、抽出モータ24を正転駆動する。抽出モータ24の駆動トルクが減速機25を介して出力軸25a,25bに伝達され、シリンダカム27A,バルブカム27Bが正転し、シリンダ駆動板28Aおよびバルブ駆動板28Bが上昇し、図17に示すように、シリンダ20およびバルブ23が最上位まで上昇する。このとき、制御部6はソレノイド73への通電を行わせ、ソレノイド73を励磁させる。ソレノイド73が励磁すると、レバー71の一端がスプリング72の付勢力に抗して下方に引っ張られ、これによってレバー71が時計方向に回動して、その他端がシリンダ20の抽出室20dの下方に衝突する。このため、シリンダ20に衝撃が加えられる。そして、ソレノイド73の通電、非通電を繰り返すことでこの動作を繰り返し行い、シリンダ20の上昇によって押出棒60がシリンダ20の排出口20cに詰まって一緒に上昇してきた滓7を落下させる。このようにしてシリンダ20が上昇すると、第1,第2,および第3の工程検出センサ36A〜36Cの検出結果に基づいて第1の実施の形態と同様に滓廃棄工程が実施され、滓7が廃棄される。
【0045】
上記第3の実施の形態によれば、抽出工程が済んでシリンダ20が上昇したときにシリンダ20の抽出室20dの下端外周にレバー71を衝突させて外部から衝撃を与えるようになっているため、滓7を確実に廃棄することができ、第1および第2の実施の形態と同様な効果を得ることができる。なお、レバー71の支持位置を低くして、レバー71の他端をシリンダ20の抽出室20d内に飛び込ませて、抽出室20d内の滓7に直接衝撃を与えて滓7を落下させるようにしても良い。
【0046】
また、第1から第3の実施の形態を適宜、組み合わせると、滓7の廃棄を更に確実にすることができる。
【0047】
【発明の効果】
以上説明したように、本発明の飲料抽出装置によると、飲料抽出が終了して駆動手段によって筒状部材をペーパーフィルタから離れる位置に変位させたとき、抽出滓をペーパーフィルタ上に落下させる滓落下手段を設けたため、飲料抽出室内の抽出滓の廃棄を確実に行うことができ、次販売飲料の風味を損ねないようにすることができる。
【図面の簡単な説明】
【図1】本発明の第1の実施の形態に係る飲料抽出装置を示す説明図。
【図2】図1のA−A断面図。
【図3】第1の実施の形態に係る工程検出機構の斜視図。
【図4】第1の実施の形態に係る廃棄処理部の要部斜視図。
【図5】第1の実施の形態に係る制御系を示すブロック図。
【図6】第1の実施の形態に係る第1,第2,第3の工程検出センサの出力信号を示す説明図。
【図7】第1の実施の形態に係る待機状態を示す説明図。
【図8】第1の実施の形態に係る廃棄管の閉塞状態を示す説明図。
【図9】第1の実施の形態に係る攪拌工程を示す説明図。
【図10】第1の実施の形態に係る抽出工程を示す説明図。
【図11】第1の実施の形態に係る滓廃棄工程を示す説明図。
【図12】第1の実施の形態に係る滓廃棄工程の終了状態を示す説明図。
【図13】本発明の第2の実施の形態に係る飲料抽出装置を示す説明図。
【図14】第2の実施の形態に係る待機状態を示す説明図。
【図15】第2の実施の形態に係る攪拌工程を示す説明図。
【図16】第2の実施の形態に係る抽出工程の終了状態を示す説明図。
【図17】第2の実施の形態に係る滓廃棄工程を示す説明図。
【図18】本発明の第3の実施の形態に係る飲料抽出装置を示す説明図。
【図19】従来の飲料抽出装置の攪拌工程を示す説明図。
【図20】従来の飲料抽出装置の抽出工程を示す説明図。
【符号の説明】
1 飲料抽出装置
2 抽出部
3 エアポンプ
4 廃棄処理部
5 エアポンプ
6 制御部
20 シリンダ
20a 供給口
20b 混合室
20c 排出口
20d 抽出室
20e 連通口
20f 導入口
21 ペーパーフィルタ
21A 軸
21B フィルタ検出レバー
21C フィルタ残量検出センサ
22 飲料受け
22A ゴムパッキン
22B ローラ
22C 飲料供給管
22D 廃棄管
22a 開口
23 バルブ
24 抽出モータ
25 減速機
25a,25b 出力軸
25c キー
26 支持板
26a ベアリング
27A シリンダカム
27B バルブカム
27a,27b 段差部
28A シリンダ駆動板
28B バルブ駆動板
28a,28b 係止部材
29A シリンダカムフォロア
29B バルブカムフォロア
30 引張コイルバネ
31A,31B,31C 連結部材
32 レバー
32a,32b ピン
33 連結部材
34 引張コイルバネ
40 廃棄処理モータ
41a 出力軸
35A 第1の工程検出板
35B 第2の工程検出板
35C 第3の工程検出板
35a 突部
36A 第1の工程検出センサ
36B 第2の工程検出センサ
36C 第3の工程検出センサ
40 廃棄処理モータ
41 減速機
41a 出力軸
42A 廃棄管開検出板
42B 廃棄管閉検出板
42a 突部
43A 廃棄管開検出センサ
43B 廃棄管閉検出センサ
44 フィルタ送りローラ
45 ガイドローラ
46 押圧板
46a 支軸
47 固定板
48 押圧カム
48a 突部
50 上部空気電磁弁
51 下部空気電磁弁
52 エアパイプ
53 飲料供給電磁弁
60 押出棒
70 リンクピン
71 レバー
72 スプリング
73 ソレノイド
Claims (5)
- 下端に開口部を有し、ペーパーフィルタ上に位置することにより飲料抽出室を形成する筒状部材と、
前記筒状部材を前記ペーパーフィルタ上で上下させて前記開口部を前記ペーパーフィルタと接する位置と前記ペーパーフィルタから離れる位置の間で変位させる駆動手段と、
飲料抽出が終了して前記駆動手段によって前記筒状部材を上昇させたとき、前記筒状部材に衝撃を与えて抽出滓を前記ペーパーフィルタ上に落下させる滓落下手段を備えたことを特徴とする飲料抽出装置。 - 前記滓落下手段は、前記駆動手段に含まれ、前記筒状部材を急上昇させるカムによって構成される請求項1記載の飲料抽出装置。
- 前記滓落下手段は、前記筒状部材に外部から衝撃を与えるレバーによって構成される請求項1記載の飲料抽出装置。
- 前記滓落下手段は、前記筒状部材に残留した前記抽出滓に外部から衝撃を与えるレバーによって構成される請求項1記載の飲料抽出装置。
- 下端に開口部を有し、ペーパーフィルタ上に位置することにより飲料抽出室を形成する筒状部材と、
前記筒状部材を前記ペーパーフィルタ上で上下させて前記開口部を前記ペーパーフィルタと接する位置と前記ペーパーフィルタから離れる位置の間で変位させる駆動手段と、
飲料抽出が終了して前記駆動手段によって前記筒状部材を上昇させたとき、前記筒状部材の上昇によって相対移動する押出棒によって前記筒状部材の中で前記抽出滓を押し出して前記ペーパーフィルタ上に落下させる滓落下手段を備え、前記筒状部材は、粉末原料と湯が供給される第1の開口部、及び加圧空気が供給される第2の開口部を有し、
前記押出棒は、前記第1の開口部を開閉するバルブに取り付けられたことを特徴とする飲料抽出装置。
Priority Applications (1)
| Application Number | Priority Date | Filing Date | Title |
|---|---|---|---|
| JP15860897A JP3649858B2 (ja) | 1997-06-16 | 1997-06-16 | 飲料抽出装置 |
Applications Claiming Priority (1)
| Application Number | Priority Date | Filing Date | Title |
|---|---|---|---|
| JP15860897A JP3649858B2 (ja) | 1997-06-16 | 1997-06-16 | 飲料抽出装置 |
Publications (2)
| Publication Number | Publication Date |
|---|---|
| JPH114765A JPH114765A (ja) | 1999-01-12 |
| JP3649858B2 true JP3649858B2 (ja) | 2005-05-18 |
Family
ID=15675432
Family Applications (1)
| Application Number | Title | Priority Date | Filing Date |
|---|---|---|---|
| JP15860897A Expired - Fee Related JP3649858B2 (ja) | 1997-06-16 | 1997-06-16 | 飲料抽出装置 |
Country Status (1)
| Country | Link |
|---|---|
| JP (1) | JP3649858B2 (ja) |
Families Citing this family (2)
| Publication number | Priority date | Publication date | Assignee | Title |
|---|---|---|---|---|
| CN106943039A (zh) * | 2017-03-19 | 2017-07-14 | 王晓东 | 具有料渣收集功能的食品处理机 |
| JP2024009602A (ja) * | 2022-07-11 | 2024-01-23 | パナソニックIpマネジメント株式会社 | 飲料抽出装置、異常検出方法、及び、異常検出システム |
-
1997
- 1997-06-16 JP JP15860897A patent/JP3649858B2/ja not_active Expired - Fee Related
Also Published As
| Publication number | Publication date |
|---|---|
| JPH114765A (ja) | 1999-01-12 |
Similar Documents
| Publication | Publication Date | Title |
|---|---|---|
| JPH1156638A (ja) | 飲料抽出装置 | |
| US4581239A (en) | Beverage production | |
| JP5220337B2 (ja) | 高温飲料調製装置および方法 | |
| JP3702071B2 (ja) | 飲料抽出装置におけるペーパーフィルタ送出装置 | |
| JP3649858B2 (ja) | 飲料抽出装置 | |
| JP3796017B2 (ja) | 飲料抽出装置 | |
| JP3649859B2 (ja) | コーヒー飲料の製造装置 | |
| JP2976598B2 (ja) | 飲料抽出装置 | |
| JP3778688B2 (ja) | 飲料抽出装置 | |
| JP3845740B2 (ja) | 飲料製造装置 | |
| JP3630885B2 (ja) | 飲料抽出装置 | |
| JP3649860B2 (ja) | 飲料抽出装置 | |
| JP3796044B2 (ja) | 飲料抽出装置 | |
| JP3796045B2 (ja) | 飲料抽出装置 | |
| NL2000200C2 (nl) | Werkwijze en inrichting voor het bereiden van thee. | |
| JP2752153B2 (ja) | 飲料抽出装置 | |
| EP0978245A1 (en) | Coffee brewing apparatus | |
| JP3985691B2 (ja) | 飲料抽出装置 | |
| KR100279689B1 (ko) | 음료 추출 장치 | |
| JP2005261835A (ja) | 飲料供給装置 | |
| JP4218485B2 (ja) | 飲料抽出装置 | |
| JP2848422B2 (ja) | 自動販売機の抽出濾過装置 | |
| JPH07272118A (ja) | 抽出濾過装置 | |
| JPH1166420A (ja) | 抽出飲料の自動販売機 | |
| EP1013204A1 (en) | Beverage extraction apparatus |
Legal Events
| Date | Code | Title | Description |
|---|---|---|---|
| A977 | Report on retrieval |
Free format text: JAPANESE INTERMEDIATE CODE: A971007 Effective date: 20040715 |
|
| A131 | Notification of reasons for refusal |
Free format text: JAPANESE INTERMEDIATE CODE: A131 Effective date: 20040727 |
|
| A521 | Written amendment |
Free format text: JAPANESE INTERMEDIATE CODE: A523 Effective date: 20040927 |
|
| TRDD | Decision of grant or rejection written | ||
| A01 | Written decision to grant a patent or to grant a registration (utility model) |
Free format text: JAPANESE INTERMEDIATE CODE: A01 Effective date: 20050208 |
|
| A61 | First payment of annual fees (during grant procedure) |
Free format text: JAPANESE INTERMEDIATE CODE: A61 Effective date: 20050216 |
|
| FPAY | Renewal fee payment (prs date is renewal date of database) |
Free format text: PAYMENT UNTIL: 20090225 Year of fee payment: 4 |
|
| LAPS | Cancellation because of no payment of annual fees |