JP3649836B2 - 漏洩検知用磁場偏向型質量分析管の分解能向上方法 - Google Patents
漏洩検知用磁場偏向型質量分析管の分解能向上方法 Download PDFInfo
- Publication number
- JP3649836B2 JP3649836B2 JP01048597A JP1048597A JP3649836B2 JP 3649836 B2 JP3649836 B2 JP 3649836B2 JP 01048597 A JP01048597 A JP 01048597A JP 1048597 A JP1048597 A JP 1048597A JP 3649836 B2 JP3649836 B2 JP 3649836B2
- Authority
- JP
- Japan
- Prior art keywords
- magnetic field
- ions
- ion
- leak detection
- gas
- Prior art date
- Legal status (The legal status is an assumption and is not a legal conclusion. Google has not performed a legal analysis and makes no representation as to the accuracy of the status listed.)
- Expired - Lifetime
Links
- 238000001514 detection method Methods 0.000 title claims description 38
- 238000000034 method Methods 0.000 title claims description 9
- 150000002500 ions Chemical class 0.000 claims description 91
- 239000007789 gas Substances 0.000 claims description 47
- XKRFYHLGVUSROY-UHFFFAOYSA-N Argon Chemical compound [Ar] XKRFYHLGVUSROY-UHFFFAOYSA-N 0.000 claims description 38
- 238000004458 analytical method Methods 0.000 claims description 24
- 239000000523 sample Substances 0.000 claims description 22
- 239000001307 helium Substances 0.000 claims description 21
- 229910052734 helium Inorganic materials 0.000 claims description 21
- SWQJXJOGLNCZEY-UHFFFAOYSA-N helium atom Chemical compound [He] SWQJXJOGLNCZEY-UHFFFAOYSA-N 0.000 claims description 20
- 229910052786 argon Inorganic materials 0.000 claims description 19
- 238000000605 extraction Methods 0.000 claims description 16
- IJGRMHOSHXDMSA-UHFFFAOYSA-N Atomic nitrogen Chemical compound N#N IJGRMHOSHXDMSA-UHFFFAOYSA-N 0.000 claims description 10
- CURLTUGMZLYLDI-UHFFFAOYSA-N Carbon dioxide Chemical compound O=C=O CURLTUGMZLYLDI-UHFFFAOYSA-N 0.000 claims description 10
- QVGXLLKOCUKJST-UHFFFAOYSA-N atomic oxygen Chemical compound [O] QVGXLLKOCUKJST-UHFFFAOYSA-N 0.000 claims description 5
- 239000001569 carbon dioxide Substances 0.000 claims description 5
- 229910002092 carbon dioxide Inorganic materials 0.000 claims description 5
- 239000001301 oxygen Substances 0.000 claims description 5
- 229910052760 oxygen Inorganic materials 0.000 claims description 5
- 229910052757 nitrogen Inorganic materials 0.000 claims description 3
- 238000001819 mass spectrum Methods 0.000 description 12
- 230000001133 acceleration Effects 0.000 description 11
- 238000010586 diagram Methods 0.000 description 10
- 238000005259 measurement Methods 0.000 description 3
- UGFAIRIUMAVXCW-UHFFFAOYSA-N Carbon monoxide Chemical compound [O+]#[C-] UGFAIRIUMAVXCW-UHFFFAOYSA-N 0.000 description 2
- YCKRFDGAMUMZLT-UHFFFAOYSA-N Fluorine atom Chemical compound [F] YCKRFDGAMUMZLT-UHFFFAOYSA-N 0.000 description 2
- 229910002091 carbon monoxide Inorganic materials 0.000 description 2
- 239000006185 dispersion Substances 0.000 description 2
- 230000000694 effects Effects 0.000 description 2
- 229910052731 fluorine Inorganic materials 0.000 description 2
- 239000011737 fluorine Substances 0.000 description 2
- MWUXSHHQAYIFBG-UHFFFAOYSA-N nitrogen oxide Inorganic materials O=[N] MWUXSHHQAYIFBG-UHFFFAOYSA-N 0.000 description 2
- 238000001228 spectrum Methods 0.000 description 2
- 238000004364 calculation method Methods 0.000 description 1
- 238000002474 experimental method Methods 0.000 description 1
- 230000004907 flux Effects 0.000 description 1
- -1 helium ions Chemical class 0.000 description 1
- 238000004519 manufacturing process Methods 0.000 description 1
- 238000004949 mass spectrometry Methods 0.000 description 1
- 238000000691 measurement method Methods 0.000 description 1
- 239000000203 mixture Substances 0.000 description 1
- 230000035945 sensitivity Effects 0.000 description 1
- 239000007921 spray Substances 0.000 description 1
Images
Landscapes
- Examining Or Testing Airtightness (AREA)
- Electron Tubes For Measurement (AREA)
- Other Investigation Or Analysis Of Materials By Electrical Means (AREA)
Description
【発明の属する技術分野】
本発明は、ヘリウム等のプローブガスを中空の漏洩検知対象物の周囲に吹き付け、該対象物の漏洩部を検知するプローブ法に使用される漏洩検知装置の磁場偏向型質量分析管の分解能を向上させる方法に関する。
【0002】
【従来の技術】
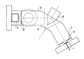
従来、この種の漏洩検知装置に使用される磁場偏向型質量分析管は、内部が真空に排気された管内に、図1に示すようにイオン化室aと磁場偏向型分析器b及び検出室cとを設けて構成され、該分析器bとして扇形の永久磁石dが用いられる。該イオン化室a内にはグリッド(エレクトロンコレクター)eとフィラメントf及びイオン引出電極gが設けられ、該検出室cにはコレクタースリットhを介してイオンコレクターiが設けられる。また該フィラメントfはフィラメント電源jとイオン加速電源kに接続され、該フィラメントf及びイオン引出電極gには電子加速電源lが接続される。nはイオン電流測定器である。
【0003】
永久磁石を用いた該分析器bには、代表的なもので60度偏向、90度偏向、180度偏向等があるが、いずれも
r=(1.44×10−4√Mu×V)/B…式1
という基本的な式により質量分離するのが原理である。ここで、r:回転半径、Mu:質量数、B:磁束密度である。
【0004】
60度偏向型の該分析管bの具体的構成の1例は図2に示す如くであり、気密の管の中間に永久磁石dを配置し、該管の一端にイオン化室aを設け、他端に検出室cが設けられる。該イオン化室aと永久磁石dのとの間の該管の側壁に漏洩検知対象物の中空内部及び真空ポンプへ繋がる測定管pの端部が接続される。該測定管pには、例えば図3に示すようにターボ分子ポンプやメカニカルブースターポンプ等の真空ポンプqで排気されるチャンバーrが接続され、漏洩検知対象物sに漏洩部が存在したとき、該対象物sに吹きかけたプローブガスがその内部から該分析管b内へ拡散して漏洩の存在が確認される。即ち、真空の該分析管b内では該フィラメントfから放出された熱電子が電子加速電源lによって調整された速度でグリッドe内へ飛翔し、そこに存在する該対象物sから漏れたプローブガスを電子衝撃してこれをイオン化し、そのイオンは静電加速系やイオン加速電源kの電圧の力を受けてイオン引出電極gより引き出される。そしてイオン加速電源kによる加速電圧とグリッド電圧を調整すると、1式のBが一定であるから質量数Muにより回転半径が異なることを利用してある特定のイオンをイオンコレクターiに到達させることができる。イオン加速電源kの電圧を変化させると、イオンコレクターiに到達するイオンの種類が変化するから、該分析管b中のガスの組成を検出することもできる。グリッド電圧はプローブガスを集めることができる電圧に調整される。
【0005】
【発明が解決しようとする課題】
従来の漏洩検知装置では、プローブガスとしてヘリウムガスを使用するのが一般的であるが、ヘリウムガスは価格が高いという欠点がある。また、簡便な漏洩検知装置の磁場偏向型質量分析管ではヘリウムスペクトルのみが分離できればよいのでその分解能が4〜8程度に設計されており、ヘリウムよりも質量数の大きい気体のスペクトルを分離できるようにするには、該分析管の感度を大幅に落として分解能を向上させるか、大型で高価な磁場偏向型質量分析管を使用したり、或いは漏洩検知用よりもはるかに高価な四重極質量分析管を使用しなければならず、装置価格の上昇を嫌って結局はヘリウムガスを使用することで漏洩検知の経済性を求めることが多くなっている。尚、漏洩検知の方法として、プローブガスとしてヘリウムガス以外の例えばアルゴンガスを使用することは、すでに特開昭54−50390号公報に開示されている。
【0006】
本発明は、簡便な構成で比較的小型の漏洩検知用の磁場偏向型質量分析管の分解能を向上させ、各種のプローブガスを使用して漏洩検知を安価に行える方法を提案することを目的とするものである。
【0007】
【課題を解決するための手段】
本発明では、内部を真空に排気した中空の漏洩検知対象物の周囲に、ヘリウムガス、アルゴンガス等のプローブガスを吹き付け、該対象物の漏洩部からその内部へ侵入する該プローブガスのガス原子や分子を電子衝撃によりイオン化すると共にイオン引出電極のスリットを介してイオンを引き出すイオン化室と、該イオン化室から引き出されたイオンのうちの特定のイオンを選別する永久磁石を用いた磁場偏向型分析器と、該特定のイオンの量をコレクタースリットを介して入射するイオンコレクターにより検出する検出室を備えた質量分析管に於いて、該磁場偏向型分析器を構成する永久磁石のイオン入射側の有効磁場面に対し該イオン化室から引き出されたイオンの中心軸を斜めに設定すると共に該イオン引出電極のスリット幅と該コレクタースリットの幅の少なくとも一方を狭めることにより、上記の目的を達成するようにした。該磁場偏向型分析器を、該分析器へ入射するイオンの中心軸に対して該分析器から出射するイオンの中心軸を90度偏向させる永久磁石で構成し、該永久磁石の有効磁場面に対して20度斜めにイオンを入射させることが好ましく、プローブガスには、ヘリウム、アルゴン、二酸化炭素、窒素、酸素が使用でき、通常は安価なアルゴンガスを使用して漏洩検知を行い、微少な漏洩を検知するときにヘリウムガスに交換して行える。
【0008】
【発明の実施の形態】
本発明の実施の形態を図4に基づき説明すると、同図に於いて符号1は中空の漏洩検知対象物、2は一端が該対象物1の内部に連なり他端が磁場偏向型質量分析管3に接続された測定管、4は該測定管2及び該分析管3内を真空に排気するターボ分子ポンプとメカニカルブースターポンプで構成された排気系、5は該測定管2の中間に設けたチャンバーを示す。該磁場偏向型質量分析管3は、漏洩検知用の簡易で小型のもので、イオン化室6と永久磁石7から成る磁場偏向型分析器8を設けたイオン偏向部9及び検出室10で構成され、該イオン化室6にはグリッド(エレクトロンコレクター)11、フィラメント12及びスリット状のイオン引出電極13を設け、該検出室10には該分析器8で選別されたイオンを通過させるコレクタースリット14とイオン電流検出器15に接続されたイオンコレクター16が設けられる。
【0009】
こうした構成は図3に示した従来の漏洩検知装置の構成と特に変わりがなく、該グリッド11にイオン加速電源17を接続すると共にフィラメント12との間に電子加速電源18を接続し、該フィラメント12にフィラメント電源19を接続する構成も従来のものと同様であり、排気系4を作動させてプローブガスを該対象物1に吹き付け、該対象物1の漏洩部からその内部へ漏れたプローブガスを該分析管3内のイオン化室6に於いてイオン化し、そのイオンを永久磁石7で偏向してイオンコレクター16に入射させて漏洩部の存在を検知することも従来のものと同様である。
【0010】
これを更に説明すると、該分析管3内へ漏れたプローブガスは電子加速電源18により加速されたフィラメント12からの熱電子と衝突してイオン化され、イオン引出電極13の電位により永久磁石7に向けて引き出され、該永久磁石7により特定の質量数のイオンのみがイオンコレクター16に入射し、イオン電流検知器に於いてイオン電流として漏れの存在が検知される。
【0011】
しかし、該分析管3の分解能は一般には4〜8程度であり、ヘリウム以外の質量数の大きなガスをプローブガスとして使用しても、質量スペクトルとして分離ができない。該分析管3の分解能Rは、通常、
R=r/(S1+S2+rα2+rΔV/V)…式2
で表される。ここでr:偏向半径、S1:イオン引出電極のスリット幅、S2:コレクタースリット幅、α:イオンの発散角、ΔV:イオンのエネルギー分散、V:イオンのエネルギーを示す。右辺分母の第3項は、イオン化室から引き出されたイオンが有限の発散角を持つことによって生じるイオンコレクターでの像の広がりを示し、第4項はイオン化室で生成されたイオンのエネルギー分散によって生じるイオンコレクターでの像の広がりを示す。
【0012】
本発明は、この分解能Rを、該永久磁石7のイオン入射側の有効磁場面20に対し該イオン化室6からイオン引出電極13のスリットを介して引き出されたビーム状又は帯状イオンの中心軸21を斜めに設定すると共に該コレクタースリット14の幅を可能な範囲で狭めることにより向上させるようにしたもので、これにより、該分析管3の大きさを変えず、或いは該分析管3の代わりに高価な四重極質量分析管などを使用しなくても安価に分解能を向上させ得る。
【0013】
該イオン化室6から引き出されたイオンの中心軸21を、該永久磁石7の有効磁場面20の垂直軸に対して例えば20度内側へ傾斜させて設定すると、イオンはイオン出射側の有効磁場面22の垂直軸に対しても例えば20度内側から出射する傾向になり、イオンの質量数の差が大きくなると図6に示すように出射側で生じるイオンの収束点23がイオンの軌道面に対し垂直方向の収束点24へと大きな距離L2で変化し、この距離が分解能に関与することが判明した。即ち、質量数が異なる2種のイオンを有効磁場面に垂直に入射させた場合、図7に示すように収束点25、26に於いて収束し、その間の距離はL1となるが、その距離L1はこれら2種のイオンを図6のように20度斜めに入射させたときの収束点23、24間の距離L2よりも短く、L2/L1の比は、式2から計算した垂直入射の場合の分解能と実験で求めた20度斜め入射の場合の分解能との比に略一致することが分かった。
【0014】
具体的には、図5の形態の90度偏向型の磁場偏向型質量分析管3であって、式2の定数r:35mm、S1:2.5mm、S2:2mm、α:0.028rad、ΔV:7V、V:250Vである場合、有効磁場面にイオンを垂直入射させたときは式2から分解能R=7になるが、20度斜めに入射させたときは実験では分解能R=11になり、またこの場合質量数の異なるイオンを垂直入射させたときと20度斜め入射させたときの比はL2/L1=1.5で、この値は分解能の比11/7に略一致している。従って、L2/L1=Lとしてイオンを有効磁場面に斜め入射させた形態の磁場偏向型質量分析管の分解能は、
R=L・r/(S1+S2+rα2+rΔV/V)…式3
と表せることが分かった。そしてこの式3に基づきS1、S2のスリット幅の一方又は双方を可能な範囲で小さな値にすればより一層分解能を向上させ得る。
【0015】
図5の形態の分析管では、分解能が低く、質量数19のフッ素系の気体や質量数44の二酸化炭素が多い雰囲気で例えばアルゴンガスをプローブガスとして使用すると、質量数20のアルゴン2価イオンや質量数40のアルゴン1価イオンのピークがフッ素系気体や二酸化炭素のピークと接近して確認したいピークを分離できず、漏洩検知を行なえないが、有効磁場面にイオンを斜め入射させ且つイオン引出電極13のスリットの幅とコレクタースリット14のスリット幅を例えば0.5mmに狭めると、分解能Rを例えば27に向上させることができる。
【0016】
【実施例】
図4及び図5に示す偏向角90度の永久磁石からなる磁場偏向型分析器8を設けた漏洩検知装置であって、その分析管3の式2に関する定数をr:35mm、S1:2.5mm、S2:2mm、α:0.028rad、ΔV:7V、V:250Vとしたときの到達圧力約1×10-4Paでの質量スペクトルは、図8の曲線Aで示す如くであった。また測定管2に約10-7Pam3/s台の流量のアルゴンガスを導入し、約6×10-4Paとしたときの質量スペクトルは図8の曲線Bのようになった。尚、これらの測定中には10-9Pam3/s台の流量のヘリウムガスを流した。
【0017】
同図から質量数4のヘリウムガスのピークでの分解能はR=11であり、計算値の約1.5倍になっている。また、アルゴンの1価イオンのピーク(質量数40)、アルゴンの2価イオンのピーク(質量数20)、さらに窒素又は一酸化炭素ピーク、酸素ピーク(質量数28、32)ははっきりと分離できている。また質量数4のヘリウムイオンのピークの高さは3〜4倍の値をとる。質量数19や44が多い雰囲気であると、質量数20や40は十分に分離できない。そのためイオン引出電極13とコレクタースリット14のスリット幅をS1=S2=0.5mmに狭め、式3による計算上の分解能がR=27となるようにした。そして図8の測定時と同条件で質量スペクトルを測定した結果を図9に示す。図9の曲線Cは到達圧力約1×10-4Paでの質量スペクトル、曲線Dは測定管2に約10-7Pam3/s台の流量のアルゴンガスを導入し、約6×10-4Paとしたときの質量スペクトルである。図9から質量数4のヘリウムでの分解能はR=25でほぼ計算値と一致する。また、質量数40のアルゴンの1価イオンのピークと、質量数20のアルゴンの2価イオンのピーク、さらには窒素または一酸化炭素ピーク、酸素ピークは十分に分離されている。この場合でも二酸化炭素(質量数44)などの多い雰囲気であると質量数40は分離できないが、質量数20のピークや質量数28、32などのピークは、その他の質量数の気体の多い雰囲気でも分離できる。従って、質量数20のアルゴンの2価イオンのピーク、または窒素ピーク、酸素ピークを検出することで漏洩を検知することができる。また、図9のヘリウムピークの高さは、図2の従来の分析管による質量数4のヘリウムピークの高さと同等であった。比較のために図2の従来の分析管で有効磁場面にイオンを垂直入射させた場合の質量スペクトルを図10に示した。図10曲線Eは、図2の分析管でr:40mm、S1:2.5mm、S2:2mm、α:0.028rad、ΔV:7V、V:250Vの条件ときの到達圧力約1×10-4Paの質量スペクトルで、計算上の分解能はR=7.8である。また、図10の曲線Fは同条件でアルゴンガスを導入し圧力を約6×10-4Paにしたときの質量スペクトルである。
【0018】
尚、プローブガスとしてアルゴンを選択したときには検出できないような微小な漏洩を検出することの要望があるときは、プローブガスとしてヘリウムを選択することができ、しかもその検出限界は図2で表される従来の分析管を使用した場合と同様である。
【0019】
図9からは、通常真空中に見られる主だったピークを全て確認することができる。例えば、質量数16、17、18、28、32等である。従って、本発明の方法は、漏洩検知ばかりでなく質量数1から50までの簡易質量測定法としても利用できる。
【0020】
【発明の効果】
以上のように本発明によるときは、漏洩検知用の磁場偏向型質量分析管を構成する永久磁石の磁場偏向型分析器の有効磁場面にイオン化室から引き出されたイオンの中心軸を斜めに入射させ、更にイオン引出電極とコレクタースリットのスリット幅を可能な限り狭めて分解能を向上させるようにしたので、該有効磁場面に対するイオン入射角とスリット幅を調整するだけで簡単に分解能が向上し、従来の比較的小型で簡易な構造の分析管によりアルゴンガス等のヘリウムガス以外の安価なプローブガスを使用して漏洩検知できるから経済的であり、必要に応じてヘリウムガスを使用して微小な漏洩を検知することもでき、漏洩検知の限界も従来のものと遜色がなく、質量分析にも適用できる等の効果がある。
【図面の簡単な説明】
【図1】従来の磁場偏向型質量分析管の構成の説明図
【図2】図1の具体的構成の説明図
【図3】図1の分析管を使用した漏洩検知装置の全体の説明図
【図4】本発明の方法を適用した漏洩検知装置の全体の説明図
【図5】図4の磁場偏向型質量分析管の具体的構成の説明図
【図6】本発明の方法により2種類のイオンを永久磁石に入射させた場合の収束点の軌跡を示す線図
【図7】従来の垂直に2種類のイオンを永久磁石に入射させた場合の収束点の軌跡を示す線図
【図8】図5の磁場偏向型質量分析管の永久磁石にイオンを斜め入射させて分析した質量スペクトルの線図
【図9】図5の磁場偏向型質量分析管の永久磁石にイオンを斜め入射させると共にイオン引出電極及びコレクタースリットのスリット幅を狭めて分析した質量スペクトルの線図
【図10】図2の磁場偏向型質量分析管の永久磁石にイオンを垂直入射させて分析した質量スペクトルの線図
【符号の説明】
1 漏洩検知対象物、3 磁場偏向型質量分析管、6 イオン化室、7 永久磁石、8 磁場偏向型分析器、10 検出室、11 グリッド、12 フィラメント、13 イオン引出電極、14 コレクタースリット、16 イオンコレクター、
Claims (3)
- 内部を真空に排気した中空の漏洩検知対象物の周囲に、ヘリウムガス、アルゴンガス等のプローブガスを吹き付け、該対象物の漏洩部からその内部へ侵入する該プローブガスのガス原子や分子を電子衝撃によりイオン化すると共にイオン引出電極のスリットを介してイオンを引き出すイオン化室と、該イオン化室から引き出されたイオンのうちの特定のイオンを選別する永久磁石を用いた磁場偏向型分析器と、該特定のイオンの量をコレクタースリットを介して入射するイオンコレクターにより検出する検出室を備えた質量分析管に於いて、該磁場偏向型分析器を構成する永久磁石のイオン入射側の有効磁場面に対し該イオン化室から引き出されたイオンの中心軸を斜めに設定すると共にイオン引出電極のスリット幅と該コレクタースリットの幅の少なくとも一方を狭めたことを特徴とする漏洩検知用磁場偏向型質量分析管の分解能向上方法。
- 上記磁場偏向型分析器は、該分析器へ入射するイオンの中心軸に対して該分析器から出射するイオンの中心軸を90度偏向させる永久磁石で構成され、該永久磁石の有効磁場面に対して20度斜めにイオンを入射させることを特徴とする請求項1に記載の漏洩検知用磁場偏向型質量分析管の分解能向上方法。
- 上記プローブガスは、ヘリウム、アルゴン、二酸化炭素、窒素、酸素であることを特徴とする請求項1に記載の漏洩検知用磁場偏向型質量分析管の分解能向上方法。
Priority Applications (1)
| Application Number | Priority Date | Filing Date | Title |
|---|---|---|---|
| JP01048597A JP3649836B2 (ja) | 1997-01-23 | 1997-01-23 | 漏洩検知用磁場偏向型質量分析管の分解能向上方法 |
Applications Claiming Priority (1)
| Application Number | Priority Date | Filing Date | Title |
|---|---|---|---|
| JP01048597A JP3649836B2 (ja) | 1997-01-23 | 1997-01-23 | 漏洩検知用磁場偏向型質量分析管の分解能向上方法 |
Publications (3)
| Publication Number | Publication Date |
|---|---|
| JPH10206272A JPH10206272A (ja) | 1998-08-07 |
| JPH10206272A5 JPH10206272A5 (ja) | 2004-08-12 |
| JP3649836B2 true JP3649836B2 (ja) | 2005-05-18 |
Family
ID=11751477
Family Applications (1)
| Application Number | Title | Priority Date | Filing Date |
|---|---|---|---|
| JP01048597A Expired - Lifetime JP3649836B2 (ja) | 1997-01-23 | 1997-01-23 | 漏洩検知用磁場偏向型質量分析管の分解能向上方法 |
Country Status (1)
| Country | Link |
|---|---|
| JP (1) | JP3649836B2 (ja) |
Families Citing this family (2)
| Publication number | Priority date | Publication date | Assignee | Title |
|---|---|---|---|---|
| JP2008010282A (ja) * | 2006-06-28 | 2008-01-17 | Sharp Corp | イオンビーム発生装置、イオンドーピング装置、イオンビーム発生方法および質量分離方法 |
| JP5660529B2 (ja) * | 2010-05-14 | 2015-01-28 | 株式会社アルバック | 酸素検出計、酸素検出機能付き電離真空計及び質量分析計 |
Family Cites Families (7)
| Publication number | Priority date | Publication date | Assignee | Title |
|---|---|---|---|---|
| JPS50132987A (ja) * | 1974-04-04 | 1975-10-21 | ||
| JPS5450390A (en) * | 1977-09-28 | 1979-04-20 | Toshiba Corp | Gas leak testing method |
| JPS5963652A (ja) * | 1982-09-30 | 1984-04-11 | Shimadzu Corp | 質量分析装置 |
| JPS61237357A (ja) * | 1985-04-11 | 1986-10-22 | Murata Mfg Co Ltd | 質量分析装置 |
| JP2559560Y2 (ja) * | 1993-04-14 | 1998-01-19 | 株式会社島津製作所 | ヘリウムリークディテクタ |
| JP3467656B2 (ja) * | 1994-11-15 | 2003-11-17 | アネルバ株式会社 | スニッファー用ヘリウムリークディテクタ |
| JP3611671B2 (ja) * | 1996-06-06 | 2005-01-19 | 株式会社アルバック | 漏洩検知装置用分析管 |
-
1997
- 1997-01-23 JP JP01048597A patent/JP3649836B2/ja not_active Expired - Lifetime
Also Published As
| Publication number | Publication date |
|---|---|
| JPH10206272A (ja) | 1998-08-07 |
Similar Documents
| Publication | Publication Date | Title |
|---|---|---|
| Auerbach et al. | Merged electron-ion beam experiments. I. Method and measurements of (e-H2+) and (e-H3+) dissociative-recombination cross sections | |
| EP0970504B1 (en) | Time of flight mass spectrometer and dual gain detector therefor | |
| US5889281A (en) | Method for linearization of ion currents in a quadrupole mass analyzer | |
| US4058724A (en) | Ion Scattering spectrometer with two analyzers preferably in tandem | |
| US8288715B2 (en) | Oxygen detection method, air leakage determination method, gas component detection device, and vacuum processing apparatus | |
| JP2006266854A (ja) | 全圧測定電極付き四重極質量分析計及びこれを用いる真空装置 | |
| Orient et al. | Production of negative ions by dissociative electron attachment to SO2 | |
| JP3649836B2 (ja) | 漏洩検知用磁場偏向型質量分析管の分解能向上方法 | |
| JP2023505040A (ja) | イオン源を有するガス分析器システム | |
| JPS6082956A (ja) | 交流変調型四重極分析装置 | |
| JP3640470B2 (ja) | ヘリウムリークディテクタの分析管 | |
| JPH10206272A5 (ja) | ||
| JP3657359B2 (ja) | 漏洩検知装置 | |
| JP3611671B2 (ja) | 漏洩検知装置用分析管 | |
| JPH0636737A (ja) | イオン注入装置 | |
| JPH0587668A (ja) | ヘリウムリークデイテクター | |
| JPH1114597A (ja) | 小型高感度漏洩検知装置 | |
| Waldmann et al. | Ion mass spectrometry in a magnetized plasma | |
| JP2000046680A (ja) | 磁場偏向型質量分析管を使用した漏洩検知方法及び装置 | |
| JP2011242172A (ja) | 酸素検出計、酸素検出機能付き電離真空計及び質量分析計 | |
| JPH0582077A (ja) | 大気圧イオン化質量分析計 | |
| JP2005024449A (ja) | ヘリウムリークディテクタ | |
| JP2867410B2 (ja) | 微小寸法測定器 | |
| Satou et al. | Performance of an ionization gauge with a large‐angle ion deflector. II. Mass analysis of residual gas and electron stimulated desorption ions | |
| JPS62291852A (ja) | 質量分光計 |
Legal Events
| Date | Code | Title | Description |
|---|---|---|---|
| A977 | Report on retrieval |
Free format text: JAPANESE INTERMEDIATE CODE: A971007 Effective date: 20041224 |
|
| TRDD | Decision of grant or rejection written | ||
| A01 | Written decision to grant a patent or to grant a registration (utility model) |
Free format text: JAPANESE INTERMEDIATE CODE: A01 Effective date: 20050118 |
|
| A61 | First payment of annual fees (during grant procedure) |
Free format text: JAPANESE INTERMEDIATE CODE: A61 Effective date: 20050216 |
|
| R150 | Certificate of patent or registration of utility model |
Free format text: JAPANESE INTERMEDIATE CODE: R150 |
|
| FPAY | Renewal fee payment (event date is renewal date of database) |
Free format text: PAYMENT UNTIL: 20080225 Year of fee payment: 3 |
|
| FPAY | Renewal fee payment (event date is renewal date of database) |
Free format text: PAYMENT UNTIL: 20110225 Year of fee payment: 6 |
|
| FPAY | Renewal fee payment (event date is renewal date of database) |
Free format text: PAYMENT UNTIL: 20140225 Year of fee payment: 9 |
|
| R250 | Receipt of annual fees |
Free format text: JAPANESE INTERMEDIATE CODE: R250 |
|
| R250 | Receipt of annual fees |
Free format text: JAPANESE INTERMEDIATE CODE: R250 |
|
| R250 | Receipt of annual fees |
Free format text: JAPANESE INTERMEDIATE CODE: R250 |
|
| EXPY | Cancellation because of completion of term |