JP3645003B2 - カメラ - Google Patents
カメラ Download PDFInfo
- Publication number
- JP3645003B2 JP3645003B2 JP10256995A JP10256995A JP3645003B2 JP 3645003 B2 JP3645003 B2 JP 3645003B2 JP 10256995 A JP10256995 A JP 10256995A JP 10256995 A JP10256995 A JP 10256995A JP 3645003 B2 JP3645003 B2 JP 3645003B2
- Authority
- JP
- Japan
- Prior art keywords
- lens
- lens frame
- lens barrel
- frame
- cam ring
- Prior art date
- Legal status (The legal status is an assumption and is not a legal conclusion. Google has not performed a legal analysis and makes no representation as to the accuracy of the status listed.)
- Expired - Fee Related
Links
- 230000003287 optical effect Effects 0.000 claims description 47
- 230000007246 mechanism Effects 0.000 description 17
- 210000000078 claw Anatomy 0.000 description 16
- 230000002093 peripheral effect Effects 0.000 description 14
- 230000000694 effects Effects 0.000 description 5
- 230000004048 modification Effects 0.000 description 3
- 238000012986 modification Methods 0.000 description 3
- 230000001105 regulatory effect Effects 0.000 description 3
- 230000008094 contradictory effect Effects 0.000 description 1
- 238000003384 imaging method Methods 0.000 description 1
Images
Classifications
-
- G—PHYSICS
- G02—OPTICS
- G02B—OPTICAL ELEMENTS, SYSTEMS OR APPARATUS
- G02B7/00—Mountings, adjusting means, or light-tight connections, for optical elements
- G02B7/02—Mountings, adjusting means, or light-tight connections, for optical elements for lenses
- G02B7/04—Mountings, adjusting means, or light-tight connections, for optical elements for lenses with mechanism for focusing or varying magnification
- G02B7/10—Mountings, adjusting means, or light-tight connections, for optical elements for lenses with mechanism for focusing or varying magnification by relative axial movement of several lenses, e.g. of varifocal objective lens
- G02B7/102—Mountings, adjusting means, or light-tight connections, for optical elements for lenses with mechanism for focusing or varying magnification by relative axial movement of several lenses, e.g. of varifocal objective lens controlled by a microcomputer
Landscapes
- Physics & Mathematics (AREA)
- Engineering & Computer Science (AREA)
- General Engineering & Computer Science (AREA)
- General Physics & Mathematics (AREA)
- Optics & Photonics (AREA)
- Structure And Mechanism Of Cameras (AREA)
Description
【産業上の利用分野】
本発明は、カメラ、より詳しくは、撮影位置と該位置よりも本体側の繰り込み位置との間で移動可能なレンズ鏡枠を有するカメラに関する。
【0002】
【従来の技術】
近年、カメラは小型化を要求されていて、しかも、カメラを持ち運ぶ際などには、携帯性を低下させるような突起等がカメラ本体から突出しているのはあまり望ましくないとされる傾向にある。
【0003】
しかしながら、所定の性能を満たした撮影レンズとするためには、光軸方向にある程度の長さが要求されるために、上記小型化を満たすのは困難である。さらに、最近では高倍率ズームが好まれる傾向にあるために、撮影レンズを収納するレンズ鏡枠も一層光軸方向に長くならざるを得なかった。
【0004】
上述のようなカメラの小型化と撮影レンズの大型化という一見相反する要求を満たすものとして、従来より、撮影を行う際にはカメラ本体から突出した撮影位置に移動し、一方、携帯時などの撮影を行わない際には上記撮影位置よりも本体側に収納された位置である繰り込み位置に移動することが可能なレンズ鏡枠を有するカメラが提案されており、これらには種々のものがある。
【0005】
このようなものの一例としては、たとえば実開昭61−188112号公報に、テレからワイドへズーミング動作を行う延長上でさらに該ズーミング動作を続けることにより、レンズ鏡枠が沈胴してカメラ本体内に収納されるものが記載されている。
【0006】
【発明が解決しようとする課題】
しかしながら、上記実開昭61−188112号公報に記載のものでは、撮影状態にあるレンズ鏡枠を、光軸前方側から例えば手などで後方側に向けて押圧すると、該レンズ鏡枠内に設けられたカム環が回転してしまうことによりズーミング動作が行われてレンズ鏡枠が沈胴してしまい、撮影が不可能な状態となることがある。
【0007】
本発明は上記事情に鑑みてなされたものであり、撮影位置にあるときは外力を受けても光軸方向に移動することがないレンズ鏡枠を備えたカメラを提供することを目的としている。
【0008】
【課題を解決するための手段】
上記目的を達成するために、本発明のカメラは、撮影レンズを移動可能に有していて、撮影位置と該位置よりも本体側の繰り込み位置との間で移動する第1の鏡枠と、上記第1の鏡枠とともに光軸方向に移動可能で、該第1の鏡枠に対して回転することにより上記撮影レンズを上記光軸方向に駆動させる第2の鏡枠と、上記第1の鏡枠が上記撮影位置に移動した後、上記第2の鏡枠の回転により、上記カメラ本体と上記第1の鏡枠若しくは上記第2の鏡枠とが係合して上記第1の鏡枠の光軸方向の移動を規制する鏡枠位置規制手段とを具備する。
【0011】
【作 用】
請求項1による本発明のカメラは、撮影レンズを有する第1の鏡枠が撮影位置と該位置よりも本体側の繰り込み位置との間で移動し、第2の鏡枠が上記第1の鏡枠とともに光軸方向に移動し該第1の鏡枠に対して回転することにより上記撮影レンズを上記光軸方向に駆動させ、鏡枠位置規制手段は、上記第1の鏡枠が上記撮影位置に移動した後、上記第2の鏡枠の回転により該第1の鏡枠の光軸方向の移動を規制する。
【0014】
【実施例】
以下、図面を参照して本発明の実施例を説明する。
図1から図5は本発明の第1実施例を示したものであり、図1は収納時におけるレンズ鏡枠を示す光軸に沿った断面図、図2は上半分がワイド時、下半分がテレ時における撮影可能な状態のレンズ鏡枠を示す光軸に沿った断面図である。
【0015】
この実施例における光学系は、正の屈折力を有する第1のレンズ群2と、負の屈折力を有する第2のレンズ群3とを有してなり、いわゆる2群ズームレンズを構成している。
【0016】
上記第1のレンズ群2と第2のレンズ群3は、それぞれ1群枠4および2群枠5に保持されている。
【0017】
これら1群枠4と2群枠5は、その周面に突設されたピンが、第1の鏡枠たる移動枠6に穿設された直進孔6bを貫通することにより、該移動枠6に対して、光軸Oの方向に直進移動可能となるように保持されている。
【0018】
上記移動枠6の外周側には、回動可能となるようにカメラ本体1に保持された第2の鏡枠たるカム環7が設けられていて、このカム環7の内周面には、上記1群枠4の周面から突設されたピンが係合するカム溝7dと、上記2群枠5の周面から突設されたピンが係合するカム溝7eとがそれぞれ刻設されている。
【0019】
これにより、カム環7を回転することで、図2に示すように、ワイドとテレの間をズーミングすることができるようになっている。
【0020】
一方、この実施例におけるレンズ鏡枠は、図1に示すような、上記ワイド状態よりもさらに繰り込んで全長を縮めたコンパクトな収納状態に移行することが可能となっている。
【0021】
すなわち、上記カメラ本体1の前端部には鏡枠位置規制手段であり鏡枠係止手段たるロック爪11が取り付けられており、このロック爪11とカメラ本体1との間には第2の駆動手段たるズームギヤー9が回転可能に保持されている。
【0022】
このズームギヤー9は、上記カム環7の後端部周面に設けられた歯車7aと噛合して、該カム環7を回動するためのものである。さらにこのカム環7の歯車7aの前方近傍には、後で詳しく説明するように、上記ロック爪11と係合するためのリブ7bが周方向に形成されている。
【0023】
また、上記カメラ本体1の前端部には押え板10が取り付けられており、この押え板10とカメラ本体1との間には第1の駆動手段たる送りねじ軸8が回転可能に保持されている。
【0024】
この送りねじ軸8は、上記移動枠6の後端部に螺刻された雌ねじ部6aと噛合して、該移動枠6を光軸Oの方向に進退させるものである。
【0025】
これにより、この送りねじ軸8が回転すると、移動枠6は、カメラ本体1の内部に繰り込まれた位置である収納位置と、この収納位置から繰り出された位置である所定位置との間を、光軸Oの方向に進退して移動することが可能となっている。
【0026】
移動枠6が、上記所定位置にあるときにズームギヤー9を回転させると、カム環7が回転して撮影可能状態の内のワイド状態に移行し、さらに回転させることによりズーミングが行われてテレ状態に移行するようになっている。
【0027】
次に、上記図1および図2、さらに図3から図5を参照して、本実施例におけるレンズ鏡枠のロック機構を説明する。
【0028】
図3から図5はロック爪11とカム環7のリブ7bの位置関係を示したものであり、図3はカム環が収納位置に回転したとき、図4はカム環がワイド位置に回転したとき、図5はカム環がテレ位置に回転したときの状態をそれぞれ示したものである。
【0029】
まず、収納状態から撮影可能状態へのレンズ鏡枠の繰り出しについて説明する。
【0030】
図1に示すような収納状態において、送りねじ軸8が回転すると、移動枠6によってレンズ鏡枠が光軸Oの方向に移動して所定位置に達する。
【0031】
すなわち、カム環7のリブ7bには、図3に示すような略矩形の切欠部7cが形成されていて、この切欠部7cによりロック爪11を通過させることで、該リブ7bは、ロック爪11の前方となる所定位置まで移動する。このカム環7における所定位置とは、回転方向の位置は上記収納位置と同じとなり、光軸方向の位置は撮影可能状態と同じとなる位置である。
【0032】
このような所定位置の状態となったら、次に、ズームギヤー9を回転させることによって、回転位置が収納位置のままであったカム環7を図4に示すようなワイド位置に回転させる。これにより、レンズ鏡枠は、図2の上半分に示すようなワイド状態にセットされる。
【0033】
このワイド状態においては、ロック爪11は、図2および図4に示すように、リブ7bと歯車7aの間に保持されることになり、例えば外力を受けた場合においても、カム環7の光軸方向の位置を保つことが可能となる。
【0034】
上記ワイド状態からさらにズームギヤー9を回転させると、1群枠4および2群枠5がカム環7のカム溝7d,7eに沿って光軸方向に移動して、図5に示すようなテレ状態へ向かう。
【0035】
こうしてカム環7がテレ状態となった場合にも、図2および図5に示すように、ロック爪11がリブ7bと歯車7aの間に保持されたままの状態であるので、該カム環7の光軸方向の位置は、同様に維持される。
【0036】
次に、上記撮影可能状態から収納する場合には、全く逆に、まずカム環7を上記と逆方向にテレ側からワイド側へ回転させて、さらに図3に示すような所定位置まで戻し、次に、送りねじ軸8をやはり上記と逆方向に回転させることによりレンズ鏡枠をカメラ本体1の内部に繰り込んで収納位置に戻す。
【0037】
なお、本実施例では、ロック爪11を通過させるための切欠部7cを、カム環7のリブ7bに1つ設けたが、これに限るものではなく、複数設けてもよい。
【0038】
また、本実施例では、カム環7のリブ7bと歯車7aとでロック爪11を挟み込むことにより保持するように構成したが、リブ7bと歯車7aの間に他のリブを設けて、これら2つのリブの間にロック爪11を挟みこむように構成しても構わない。
【0039】
このような第1実施例によれば、レンズ鏡枠が撮影位置にある場合には、その光軸方向の位置は保持されているので、例え外力を加えられた場合であっても、該レンズ鏡枠が撮影不能となる収納位置に移動してしまうことはなく、不本意な動作を行うことがない。
【0040】
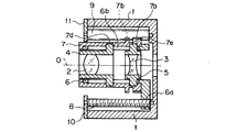
図6から図12は本発明の第2実施例を示したものであり、図6は収納時におけるレンズ鏡枠を示す正面図、図7は収納時におけるレンズ鏡枠の半分を示す光軸に沿った断面図、図8はワイド時におけるレンズ鏡枠を示す正面図、図9はワイド時におけるレンズ鏡枠の半分を示す光軸に沿った断面図である。
【0041】
この第2実施例において、上述の第1実施例と同様である部分については同一の符号を付して説明を省略し、主として異なる点についてのみ説明する。
【0042】
この実施例のカメラのレンズ鏡枠には、ズームギヤー9,送りねじ軸8等の、レンズ鏡枠のズーミングと収納位置とワイド位置の間の移動に関する機構も、図示はしないが上述の第1実施例と同様に設けられている。
【0043】
次に、ロック機構について説明する。
【0044】
この実施例のカメラ本体21,第1の鏡枠たる移動枠26,第2の鏡枠たるカム環27は、上述の第1実施例におけるカメラ本体1,移動枠6,カム環7とほぼ同様に構成されているが、ロック機構に関する部分のみが異なっている。
【0045】
すなわち、カム環27には、歯車27aが周方向に設けられるとともに、鏡枠位置規制手段であり鏡枠係止手段たるロック板22を駆動するための突起27bが周面から突設されている。この突起27bは、正面からみたときの形状が略台形になるように形成されていて、その一方の側面には、傾斜がより緩やかな斜面27cが設けられている。
【0046】
また、移動枠26は、後端部が一旦外周方向に突出した後、再び前方に向かって曲折しており、断面が図7に示すようにコの字状に形成されている。そして、このコの字形状をなす部分の先端部に、ロック板22が、光軸Oと平行な方向に植立された軸24によって回動自在に取り付けられている。
【0047】
このロック板22は、先端部に係合用の円形部が形成された駆動用腕部22aと、この駆動用腕部22aの反対方向からやや傾斜して突設された略矩形の腕部でなるロック用腕部22bとを有してなる。
【0048】
上記軸24には例えばコイルばねでなるロックばね23が挿通されていて、その一端をロック板22の駆動用腕部22aに掛けるとともに、他端を移動枠26に植立されたピンでなるばね掛け26bに掛けることによって、ロック板22を図6中時計周りに付勢するようになっている。
【0049】
また、上記ロック板22のロック用腕部22bが当接可能なカメラ本体21の位置には、光軸方向に長いリブ状の受部21aが内径方向に突設されるとともに、その先端側に略矩形のストッパ部21bが設けられている。
【0050】
次に、この第2実施例のロック機構の作用を説明する。
【0051】
図6に示すように、カム環27の回転位置が収納状態であるときは、ロック板22は、駆動用腕部22aが、カム環27の突起27bに乗り上げた状態でロックばね23の付勢力により当接している。
【0052】
この状態ではロック板22のロック用腕部22bは、カメラ本体21の受部21aとは接触していない。それゆえに、図示しない送りねじ軸を回転させることにより、移動枠26を収納状態から所定位置まで光軸方向に移動させても、この移動の動作が何等阻止されることはない。
【0053】
こうしてレンズ鏡枠が繰り出されて所定位置になったときには、ロック板22のロック用腕部22bは、カメラ本体21の受部21aを過ぎて、ストッパ部21bに当接可能な位置に達している。
【0054】
このような所定位置になると、図示しないズームギヤーを回転させることにより、カム環27が光軸周りに回転する。こうしてカム環27がワイド位置まで回転して撮影可能となった状態を、図8および図9に示す。
【0055】
カム環27がワイド位置まで回転すると、カム環の突起27bは、ロック板22の腕部22aと当接する位置からはすでに移動して過ぎている。すると、ロック板22は、ロックばね23の付勢力により時計周りに回転して、図8に示すように、カメラ本体21のストッパ部21bに、ロック用腕部22bが当接した状態で保持される。
【0056】
この状態では、ロック板22のロック用腕部22bは、カメラ本体21の受部21aに対して、光軸方向に対向して接触する位置となっている。それゆえに、この状態においてレンズ鏡枠を前方から外力により押圧されたとしても、ロック板22が、カメラ本体21の受部21aに当接してその光軸方向の位置を規制するために、レンズ鏡枠が収納方向に繰り込まれてしまうことはない。
【0057】
この位置規制は、カム環27をさらに回転させてテレ状態になったときも、同様に維持される。
【0058】
次に、レンズ鏡枠をカメラ本体21の内部に収納するときの動作について説明する。
【0059】
カム環27を上述とは逆方向に回転させることにより、ワイド位置から所定位置まで回転する。
【0060】
このとき、ロック板22は、駆動用腕部22aがカム環27の斜面27cに沿って突起27bに乗り上げることにより、図8中反時計周りに回転させられる。これにより、ロック用腕部22が受部21aおよびストッパ部21bから外れて、カメラ本体21とロック板22の係合が解かれる。
【0061】
この状態となったら、図示しない送りねじ軸を繰り出し時とは反対方向に回転させることにより、レンズ鏡枠がカメラ本体21の内部に収納される。
【0062】
なお、本実施例では、レンズ鏡枠を繰り出したときに、ロック板22が回転するのを係止するためのストッパ部21bを設けたが、該ストッパ部21bを設けなくても、例えば図10に示すように、カメラ本体21の上記受部21aを斜面21dとして形成すれば、ロック板22とカメラ本体21をガタなく位置決めすることができる。
【0063】
また、本実施例では、繰り込み方向の外力を受けた場合に対応する構成だけを示しているが、例えば図11に示すように、カメラ本体21にコの字状の溝をなす受部21eを形成すれば、繰り込み方向および繰り出し方向の両方向について、レンズ鏡枠が移動するのをロックすることが可能となる。
【0064】
この場合にも、図12に示すように、両側に斜面を有する受部21fとして形成すれば、繰り出し方向および繰り込み方向の両方向に対して、ガタなく位置決めすることができる。
【0065】
あるいは、受部21eは上記図11に示したような形状のまま両側面を垂直にしておいて、この受部21eに当接するロック板22の側面を斜面に形成しても、同様の効果を奏することができる。さらには、受部21eとロック板22の両方を斜面に形成すれば、接触する部分の面積が増して、より大きな外力に耐えられるようになってよい。
【0066】
加えて、ロック板22の側に溝状の受部を形成して、カメラ本体21の側にリブ等の突出する部分を形成してもよいことはいうまでもない。
【0067】
係止力をさらに高めるために、上述のようなロック機構を、移動枠26の複数箇所に設けることも、もちろん可能である。
【0068】
このような第2実施例によれば、上述の第1実施例とほぼ同様の効果を奏するとともに、該第1実施例においては、リブと歯車の間にロック爪を挟みこんで係止していたので、ズーミング中に外力を受けた場合にはカム環との間に摩擦力が発生してズーミングの負荷が増大してしまう可能性があったが、本実施例によれば、外力をカメラ本体と移動枠で受けるようにしたために、ズーミング時の負荷が増大することはない。
【0069】
図13から図18は本発明の第3実施例を示したものであり、図13は収納時のレンズ鏡枠を示す正面図、図14は収納時のレンズ鏡枠の半分を示す断面図、図15はレンズ鏡枠が所定位置に繰り出されてかつカム環が収納状態にあるときの正面図、図16はレンズ鏡枠が所定位置に繰り出されてかつカム環が収納状態にあるときの断面図、図17はレンズ鏡枠が所定位置に繰り出されてかつカム環がワイド状態にあるときの正面図、図18はレンズ鏡枠が所定位置に繰り出されてかつカム環がワイド状態にあるときの断面図である。
【0070】
この第3実施例において、上述の第1,第2実施例と同様である部分には同一の符号を付して説明を省略し、主として異なる点についてのみ説明する。
【0071】
この実施例のカメラのレンズ鏡枠には、ズームギヤー9,送りねじ軸8等の、レンズ鏡枠のズーミングと収納位置とワイド位置の間の移動に関する機構も、図示はしないが上述の第1実施例と同様に設けられている。
【0072】
次に、ロック機構について説明する。
【0073】
この実施例のカメラ本体31,第1の鏡枠たる移動枠36,第2の鏡枠たるカム環37は、上述の第1実施例におけるカメラ本体1,移動枠6,カム環7とほぼ同様に構成されているが、ロック機構に関する部分のみが異なっている。
【0074】
すなわち、この第3実施例は、上述の第2実施例でレンズ鏡枠の移動枠26に設けたロック板22を、カメラ本体側に設けたものである。
【0075】
カメラ本体31の取付部31aには、光軸Oに垂直な方向の軸34が植立されていて、この軸32には鏡枠位置規制手段であり鏡枠係止手段たるロックレバー32が回動可能に取り付けられている。
【0076】
このロックレバー32は、その先端部から内径方向に向けて突起部32aを突設するとともに、この突起部32aの光軸やや後方(図14の上方)の側面には矩形状の溝32cが形成されている。
【0077】
上記軸34には、例えばコイルばねでなるロックばね33が挿通されていて、その一端をロックレバー32に掛けるとともに、他端をカメラ本体31に掛けることによって、該ロックレバー32を図14中時計周りに付勢するようになっている。
【0078】
また、移動枠36の光軸方向の後端側からは、上記ロックレバー32の回転を規制するための突起部36aが、外周方向に向かって突設されている。
【0079】
カム環37は、歯車37aが周方向に設けられるとともに、ロックレバー32の回転位置を規制するための突起37bが周面から突設されている。この突起37bは、正面からみたときの形状が略台形になるように形成されていて、その一方の側面には傾斜がより緩やかな斜面37dが図13に示すように設けられ、さらに光軸前方側の面にも、傾斜が緩やかな斜面37cが図14に示すように設けられている。
【0080】
次に、この第3実施例のロック機構の作用を説明する。
【0081】
図13,図14に示すような、レンズ鏡枠がカメラ本体31に収納された状態では、ロックレバー32は、その軸34周りの図14中時計方向の回転を移動枠36に設けられた突起部36aにより規制されるために、先端に設けられた駆動用の突起部32aがカム環37に接触することはない。
【0082】
これにより、レンズ鏡枠を繰り出しているときに、カム環37に突起部32aが接触して擦れるようなことはなく、スリ傷等がつくことはない。
【0083】
図示しない送りねじ軸を回転することによりレンズ鏡枠を光軸方向に繰り出して行くと、ロックレバー32の突起部32aは、カム環37の周面から突設された突起37bの斜面37cに当接する。
【0084】
さらにレンズ鏡枠を所定の位置まで繰り出すと、ロックレバー32の突起部32aは、図15,図16に示すように斜面37cに沿って突起37bに乗り上げる状態となる。
【0085】
このときには、ロックレバー32は、カム環37の突起37bにより、軸34周りの図14中時計方向の回転を規制されることになる。
【0086】
次に、図示しないズームギヤーが回転して、カム環37が収納位置からワイド位置に回転されると、その突起37bは、図15の時計方向に回転されて、ロックレバー32の突起部32aと当接する位置から退避する。
【0087】
これによりロックレバー32は、ばね33の付勢力によって図18中時計周りに回転して、図17,図18に示すように、該ロックレバー32の溝32cが移動枠36の突起部36aと係合して、同移動枠36の光軸方向の移動を規制する。
【0088】
なお、このときには突起部32aと歯車37aおよびカム環37の周面との間には隙間が形成されるようになっていて、これらが互いに直接接触することはないために、ズーミングにおけるカム環37の回転が阻害されることはない。
【0089】
次に、レンズ鏡枠をカメラ本体31の内部に収納するときの動作について説明する。
【0090】
レンズ鏡枠を収納するときは、図示しないズームギヤーを上述とは逆方向に回転することにより、まずカム環37を収納位置まで回転させる。このとき、ロックレバー37は、上記斜面37dに沿って突起37bに乗り上げることにより、図18中反時計周りに回転させられて、図16に示すような所定位置の状態になる。
【0091】
この状態になったら、図示しない送りねじ軸を繰り出すときと反対方向に回転することにより、図14に示すように、レンズ鏡枠がカメラ本体31の内部に収納される。
【0092】
なお、ロックレバー32の溝32cと移動枠37の突起37bは、上述の第2実施例で説明したロック板22とカメラ本体21のように、そのどちらか一方、または両方を斜面とすることで、ガタのないロック機構とすることができる。
【0093】
また、本実施例に示したような機構も、複数箇所に設けても良いのはいうまでもなく、さらに、上記第1から第3実施例の構成を、それぞれ自由に組合わせて使用することも可能である。
【0094】
このような第3実施例によれば、上述の第1実施例とほぼ同様の効果を奏するとともに、第2実施例と同様に、外力がズーミング駆動に影響を及ぼすことのない機能性に優れたロック機構となる。
【0095】
本発明のカメラにおけるレンズ鏡枠のロック機構は、あくまでもレンズ鏡枠が外力を受けたときの安全機構であるので、何らかの原因で本機構が故障した場合でも、撮影が可能であることが望まれる。上述の第2,第3実施例において、ロックを掛けるときにはばねの付勢力により従動させて行い、一方、ロックを解除するときにはレンズ鏡枠の動作に連動して強制的に行うようにしているのは、このためである。
【0096】
すなわち、ロックが解除されている状態において、万が一、ロック板またはロックレバーが動作しなくなった場合でも、レンズ鏡枠の繰り出しや繰り込み、あるいはズーミング等は、全く正常に行うことができる。
【0097】
また、ロックされている状態において、ロック板またはロックレバーが動作しなくなった場合には、レンズ鏡枠がカメラ本体内に収納されことも有り得るが、ズーミング動作は支障なく行うことができる。
【0098】
一方、ロックを掛けるときの動作を、レンズ鏡枠の動作に連動して強制的に行うようにした場合には、ロックが解除されている状態において、ロック板またはロックレバーが動作しなくなると、ズーミングを行うことが不可能になってしまう。
【0099】
このような理由により、上記第2,第3実施例では、ロックを掛けるときの動作は、ばねの付勢力等により従動するようにしたものである。
【0100】
ただし、カメラの性質上、外力を受けてレンズ鏡枠が引込んでしまうことが絶対に許されない場合には、ロックを強制的に行い、一方、ロックの解除をばね力により従動して行うようにしても良いし、あるいはロックの係止と解除の両方を強制的に行うようにしてももちろんかまわない。
【0101】
上述の第1から第3実施例のいずれにおいても、収納動作とズーミング動作を利用したロック機構としたが、これに限るものではなく、ズーミング動作の代わりに例えばフォーカシング動作やあるいは焦点距離切替動作を利用してもよく、この場合にもほぼ同様の構成を適用することにより、同様の効果を奏することができる。
【0102】
[付記]
以上詳述したような本発明の上記実施態様によれば、以下のごとき構成を得ることができる。
【0103】
(1) 撮影レンズを有する第1の鏡枠と、
上記第1の鏡枠とともに移動可能で、該第1の鏡枠に対して回転することにより上記撮影レンズを光軸方向に駆動させる第2の鏡枠と、
上記第1の鏡枠を撮影位置と該位置よりも本体側の繰り込み位置との間で移動させる第1の駆動手段と、
上記第1の鏡枠が撮影位置に移動した後に、該第1の鏡枠と一体的に設けられた上記第2の鏡枠を回転させる第2の駆動手段と、
駆動された上記第2の鏡枠の位置によって、該第2の鏡枠の移動を許容するか、またはカメラ本体に対して該第2の鏡枠が光軸方向に移動するのを規制する鏡枠ロック手段と、
を具備したことを特徴とするカメラ。
【0104】
(2) 上記撮影レンズは焦点位置調節レンズであって、上記第2の駆動手段は焦点位置調節手段であることを特徴とする付記1に記載のカメラ。
【0105】
(3) 上記撮影レンズは焦点距離調節レンズを含んでいて、上記第2の駆動手段は焦点距離調節手段であることを特徴とする付記1に記載のカメラ。
【0106】
(4) 上記鏡枠ロック手段は、
カメラ本体に設けられたロック部材と、
上記第2の鏡枠に設けられていて、上記第1の鏡枠が光軸方向に移動する際には上記ロック部材の通過を許容する切欠部と、該第2の鏡枠が所定の位置に回転した際には該ロック部材とともに該第2の鏡枠の光軸方向の移動を阻止する溝部とを有するフランジ手段と、
を有してなることを特徴とする付記1に記載のカメラ。
【0107】
(5) 上記鏡枠ロック手段は、
上記第2の鏡枠の外周面に設けられた突起手段と、
上記第1の鏡枠に設けられていて、上記第2の鏡枠の回転に伴う上記突起手段の回転に連動して該第2の鏡枠の光軸方向の移動を許容する位置と光軸上の移動を阻止する位置とに移動可能なロック部材と、
を有してなることを特徴とする付記1に記載のカメラ。
【0108】
(6) 上記鏡枠ロック手段は、
上記第1の鏡枠と係合する係合部と上記第2の鏡枠の外周面方向に向かって設けられた突起手段とを有していて、カメラ本体に対して該第1の鏡枠と係合する係合位置とこの係合を解除する解除位置とに回動するロックレバーと、
上記第2の鏡枠の外周面に設けられていて、この第2の鏡枠が第1の位置へ回転した際には上記第1の鏡枠と上記ロックレバーとの係合を解除するとともに第1の鏡枠の移動を可能とし、上記第2の位置へ回転した際には上記第1の鏡枠と上記ロックレバーとが係合することによってその移動を阻止するカム手段と、
を有してなることを特徴とする付記1に記載のカメラ。
【0109】
【発明の効果】
以上説明したように本発明のカメラによれば、レンズ鏡枠が撮影位置にあるときは、外力を受けても光軸方向に移動することがない。
【図面の簡単な説明】
【図1】本発明の第1実施例において、収納時におけるレンズ鏡枠を示す光軸に沿った断面図。
【図2】上記第1実施例において、上半分がワイド時、下半分がテレ時における撮影可能な状態のレンズ鏡枠を示す光軸に沿った断面図。
【図3】上記第1実施例において、収納位置に回転したときのカム環のリブとロック爪との位置関係を示す正面図。
【図4】上記第1実施例において、ワイド位置に回転したときのカム環のリブとロック爪との位置関係を示す正面図。
【図5】上記第1実施例において、テレ位置に回転したときのカム環のリブとロック爪との位置関係を示す正面図。
【図6】本発明の第2実施例において、収納時におけるレンズ鏡枠を示す正面図。
【図7】上記第2実施例において、収納時におけるレンズ鏡枠の半分を示す光軸に沿った断面図。
【図8】上記第2実施例において、ワイド時におけるレンズ鏡枠を示す正面図。
【図9】上記第2実施例において、ワイド時におけるレンズ鏡枠の半分を示す光軸に沿った断面図。
【図10】上記第2実施例において、カメラ本体の受部の第1変形例を示す平面図。
【図11】上記第2実施例において、カメラ本体の受部の第2変形例を示す平面図。
【図12】上記第2実施例において、カメラ本体の受部の第3変形例を示す平面図。
【図13】本発明の第3実施例において、収納時のレンズ鏡枠を示す正面図。
【図14】本発明の第3実施例において、収納時のレンズ鏡枠の半分を示す断面図。
【図15】本発明の第3実施例において、レンズ鏡枠が所定位置に繰り出されてかつカム環が収納状態にあるときの、該レンズ鏡枠の半分を示す正面図。
【図16】本発明の第3実施例において、レンズ鏡枠が所定位置に繰り出されてかつカム環が収納状態にあるときの、該レンズ鏡枠の半分を示す断面図。
【図17】本発明の第3実施例において、レンズ鏡枠が所定位置に繰り出されてかつカム環がワイド状態にあるときの、該レンズ鏡枠の半分を示す正面図。
【図18】本発明の第3実施例において、レンズ鏡枠が所定位置に繰り出されてかつカム環がワイド状態にあるときの、該レンズ鏡枠の半分を示す断面図。
【符号の説明】
1,21,31…カメラ本体
6,26,36…直進枠(第1の鏡枠)
7,27,37…カム環(第2の鏡枠)
8…送りねじ軸(第1の駆動手段)
9…ズームギヤー(第2の駆動手段)
11…ロック爪(鏡枠位置規制手段,鏡枠係止手段)
22…ロック板(鏡枠位置規制手段,鏡枠係止手段)
32…ロックレバー(鏡枠位置規制手段,鏡枠係止手段)
Claims (1)
- 撮影レンズを移動可能に有していて、撮影位置と該位置よりも本体側の繰り込み位置との間で移動する第1の鏡枠と、
上記第1の鏡枠とともに光軸方向に移動可能で、該第1の鏡枠に対して回転することにより上記撮影レンズを上記光軸方向に駆動させる第2の鏡枠と、
上記第1の鏡枠が上記撮影位置に移動した後、上記第2の鏡枠の回転により、上記カメラ本体と上記第1の鏡枠若しくは上記第2の鏡枠とが係合して上記第1の鏡枠の光軸方向の移動を規制する鏡枠位置規制手段と、
を具備したことを特徴とするカメラ。
Priority Applications (2)
| Application Number | Priority Date | Filing Date | Title |
|---|---|---|---|
| JP10256995A JP3645003B2 (ja) | 1995-04-26 | 1995-04-26 | カメラ |
| US08/636,337 US6160583A (en) | 1995-04-26 | 1996-04-23 | Camera having a locking tab for locking movement of a lens barrel when extended to a photographing position |
Applications Claiming Priority (1)
| Application Number | Priority Date | Filing Date | Title |
|---|---|---|---|
| JP10256995A JP3645003B2 (ja) | 1995-04-26 | 1995-04-26 | カメラ |
Publications (2)
| Publication Number | Publication Date |
|---|---|
| JPH08297307A JPH08297307A (ja) | 1996-11-12 |
| JP3645003B2 true JP3645003B2 (ja) | 2005-05-11 |
Family
ID=14330864
Family Applications (1)
| Application Number | Title | Priority Date | Filing Date |
|---|---|---|---|
| JP10256995A Expired - Fee Related JP3645003B2 (ja) | 1995-04-26 | 1995-04-26 | カメラ |
Country Status (2)
| Country | Link |
|---|---|
| US (1) | US6160583A (ja) |
| JP (1) | JP3645003B2 (ja) |
Families Citing this family (8)
| Publication number | Priority date | Publication date | Assignee | Title |
|---|---|---|---|---|
| JPH0935289A (ja) * | 1995-07-14 | 1997-02-07 | Pioneer Electron Corp | ピックアップ制御装置 |
| US6914729B2 (en) * | 2002-02-07 | 2005-07-05 | Olympus Corporation | Lens barrel and picture taking apparatus having the same |
| KR20040062247A (ko) * | 2003-01-02 | 2004-07-07 | 엘지전자 주식회사 | 홍채 인식 카메라의 구조 및 그 사용 방법 |
| JP5339810B2 (ja) * | 2008-07-31 | 2013-11-13 | キヤノン株式会社 | レンズ装置及び撮像装置 |
| JP5751050B2 (ja) * | 2011-07-04 | 2015-07-22 | 株式会社リコー | 撮像装置 |
| JP6305000B2 (ja) * | 2013-10-09 | 2018-04-04 | キヤノン株式会社 | レンズ鏡筒および撮像装置 |
| JP6153444B2 (ja) * | 2013-10-09 | 2017-06-28 | キヤノン株式会社 | レンズ鏡筒および撮像装置 |
| CN120010085B (zh) * | 2023-11-14 | 2025-10-10 | 宁波舜宇光电信息有限公司 | 一种锁止机构及其驱动马达 |
Family Cites Families (9)
| Publication number | Priority date | Publication date | Assignee | Title |
|---|---|---|---|---|
| US5099263A (en) * | 1984-11-10 | 1992-03-24 | Minolta Camera Kabushiki Kaisha | Variable focal length camera |
| JPS61188112A (ja) * | 1985-02-15 | 1986-08-21 | Matsui Seisakusho:Kk | プラスチック成形用材料の混合輸送方法及びその装置 |
| US5602607A (en) * | 1989-11-06 | 1997-02-11 | Nikon Corporation | Camera with lens protection barrier member opened/closed with uniform force |
| US5950021A (en) * | 1991-02-07 | 1999-09-07 | Canon Kabushiki Kaisha | Camera with zoom lens |
| JP3041083B2 (ja) * | 1991-05-31 | 2000-05-15 | オリンパス光学工業株式会社 | レンズ鏡筒 |
| JP3259847B2 (ja) * | 1992-01-08 | 2002-02-25 | オリンパス光学工業株式会社 | ズームレンズ鏡筒を備えるカメラ |
| JP3240758B2 (ja) * | 1993-07-15 | 2001-12-25 | ミノルタ株式会社 | ズームレンズ装置及びカメラ |
| SG47529A1 (en) * | 1993-08-27 | 1998-04-17 | Asahi Optical Co Ltd | Zoom lens barrel |
| US5715481A (en) * | 1996-01-16 | 1998-02-03 | Fuji Photo Optical Co. Ltd. | Initial focusing mechanism for a variable-focus photographic camera |
-
1995
- 1995-04-26 JP JP10256995A patent/JP3645003B2/ja not_active Expired - Fee Related
-
1996
- 1996-04-23 US US08/636,337 patent/US6160583A/en not_active Expired - Lifetime
Also Published As
| Publication number | Publication date |
|---|---|
| US6160583A (en) | 2000-12-12 |
| JPH08297307A (ja) | 1996-11-12 |
Similar Documents
| Publication | Publication Date | Title |
|---|---|---|
| JP4641203B2 (ja) | レンズ鏡胴、このレンズ鏡胴を用いたカメラ及び携帯型情報端末装置 | |
| US7785021B2 (en) | Retractable lens camera | |
| US8442395B2 (en) | Lens barrel, driving method thereof, and image pickup device | |
| US8537477B2 (en) | Lens barrel and optical device | |
| JP2003140022A (ja) | レンズ鏡筒 | |
| JP4632817B2 (ja) | レンズ鏡胴、カメラ、携帯型情報端末機及び画像入力装置 | |
| CN103080803A (zh) | 镜头 | |
| EP1918771B1 (en) | Camera being equipped with a projector | |
| JP3645003B2 (ja) | カメラ | |
| US7350989B2 (en) | Lens barrel and camera having the same | |
| JP2011039527A (ja) | レンズ鏡胴、このレンズ鏡胴を用いたカメラ及び携帯型情報端末装置 | |
| JP2003057705A (ja) | ズームレンズを備えた沈胴式カメラ | |
| US6597524B2 (en) | Lens device | |
| JP4632819B2 (ja) | レンズ鏡胴、カメラ、携帯型情報端末機及び画像入力装置 | |
| JP2004252200A (ja) | レンズ鏡枠 | |
| JP4630090B2 (ja) | レンズ鏡胴、このレンズ鏡胴を用いたカメラ及び携帯型情報端末装置 | |
| JP4429714B2 (ja) | 鏡筒駆動機構 | |
| JP3109147B2 (ja) | バリア機構 | |
| JP4949499B2 (ja) | レンズ鏡胴、このレンズ鏡胴を用いたカメラ及び携帯型情報端末装置 | |
| JP3425833B2 (ja) | レンズ鏡筒 | |
| JPH05289167A (ja) | 画面サイズ切替機構を有するカメラ | |
| JP2007033961A (ja) | レンズ駆動装置 | |
| JP4627909B2 (ja) | レンズ鏡筒 | |
| US6637951B2 (en) | Lens device | |
| JP2004252367A (ja) | 光量調節装置およびカメラ |
Legal Events
| Date | Code | Title | Description |
|---|---|---|---|
| A977 | Report on retrieval |
Free format text: JAPANESE INTERMEDIATE CODE: A971007 Effective date: 20040119 |
|
| A131 | Notification of reasons for refusal |
Free format text: JAPANESE INTERMEDIATE CODE: A131 Effective date: 20040127 |
|
| A521 | Written amendment |
Free format text: JAPANESE INTERMEDIATE CODE: A523 Effective date: 20040318 |
|
| A131 | Notification of reasons for refusal |
Free format text: JAPANESE INTERMEDIATE CODE: A131 Effective date: 20041102 |
|
| A521 | Written amendment |
Free format text: JAPANESE INTERMEDIATE CODE: A523 Effective date: 20041220 |
|
| TRDD | Decision of grant or rejection written | ||
| A01 | Written decision to grant a patent or to grant a registration (utility model) |
Free format text: JAPANESE INTERMEDIATE CODE: A01 Effective date: 20050125 |
|
| A61 | First payment of annual fees (during grant procedure) |
Free format text: JAPANESE INTERMEDIATE CODE: A61 Effective date: 20050202 |
|
| FPAY | Renewal fee payment (event date is renewal date of database) |
Free format text: PAYMENT UNTIL: 20090210 Year of fee payment: 4 |
|
| FPAY | Renewal fee payment (event date is renewal date of database) |
Free format text: PAYMENT UNTIL: 20090210 Year of fee payment: 4 |
|
| FPAY | Renewal fee payment (event date is renewal date of database) |
Free format text: PAYMENT UNTIL: 20100210 Year of fee payment: 5 |
|
| FPAY | Renewal fee payment (event date is renewal date of database) |
Free format text: PAYMENT UNTIL: 20110210 Year of fee payment: 6 |
|
| FPAY | Renewal fee payment (event date is renewal date of database) |
Free format text: PAYMENT UNTIL: 20110210 Year of fee payment: 6 |
|
| FPAY | Renewal fee payment (event date is renewal date of database) |
Free format text: PAYMENT UNTIL: 20120210 Year of fee payment: 7 |
|
| FPAY | Renewal fee payment (event date is renewal date of database) |
Free format text: PAYMENT UNTIL: 20120210 Year of fee payment: 7 |
|
| FPAY | Renewal fee payment (event date is renewal date of database) |
Free format text: PAYMENT UNTIL: 20130210 Year of fee payment: 8 |
|
| FPAY | Renewal fee payment (event date is renewal date of database) |
Free format text: PAYMENT UNTIL: 20140210 Year of fee payment: 9 |
|
| LAPS | Cancellation because of no payment of annual fees |