JP3640771B2 - プーリユニット - Google Patents

プーリユニット Download PDF

Info

Publication number
JP3640771B2
JP3640771B2 JP17577597A JP17577597A JP3640771B2 JP 3640771 B2 JP3640771 B2 JP 3640771B2 JP 17577597 A JP17577597 A JP 17577597A JP 17577597 A JP17577597 A JP 17577597A JP 3640771 B2 JP3640771 B2 JP 3640771B2
Authority
JP
Japan
Prior art keywords
way clutch
inner ring
cage
pulley unit
axial direction
Prior art date
Legal status (The legal status is an assumption and is not a legal conclusion. Google has not performed a legal analysis and makes no representation as to the accuracy of the status listed.)
Expired - Fee Related
Application number
JP17577597A
Other languages
English (en)
Other versions
JPH1122753A (ja
Inventor
康人 田仲
Current Assignee (The listed assignees may be inaccurate. Google has not performed a legal analysis and makes no representation or warranty as to the accuracy of the list.)
Koyo Seiko Co Ltd
Original Assignee
Koyo Seiko Co Ltd
Priority date (The priority date is an assumption and is not a legal conclusion. Google has not performed a legal analysis and makes no representation as to the accuracy of the date listed.)
Filing date
Publication date
Application filed by Koyo Seiko Co Ltd filed Critical Koyo Seiko Co Ltd
Priority to JP17577597A priority Critical patent/JP3640771B2/ja
Priority to US09/102,557 priority patent/US6170625B1/en
Priority to GB9814310A priority patent/GB2328255B/en
Priority to DE19829469A priority patent/DE19829469B4/de
Publication of JPH1122753A publication Critical patent/JPH1122753A/ja
Priority to US09/733,907 priority patent/US20010000285A1/en
Priority to US10/997,877 priority patent/US7100754B2/en
Application granted granted Critical
Publication of JP3640771B2 publication Critical patent/JP3640771B2/ja
Anticipated expiration legal-status Critical
Expired - Fee Related legal-status Critical Current

Links

Images

Landscapes

  • Pulleys (AREA)

Description

【0001】
【発明の属する技術分野】
本発明は、一方向クラッチを備えるプーリユニットに関する。このプーリユニットは、例えば自動車などのエンジンのクランクシャフトからベルトを介して駆動される補機に装備することができる。補機としては、例えば自動車のエアコンディショナ用コンプレッサ、ウォーターポンプ、オルターネータ、冷却ファンなどが挙げられる。
【0002】
【従来の技術】
自動車エンジンに装着される各種の補機は、エンジンのクランクシャフトによりベルトを介して駆動されるようになっている。ここで、補機のうち、特にオルタネータの場合、エンジンのクランクシャフトと同期回転するように連結していると、クランクシャフトの回転数が低下するとき、オルタネータの発電能力が低下する。
【0003】
そこで、本願出願人は、オルタネータに上記一方向クラッチを内蔵し、クランクシャフトの回転数が低下するときに、オルタネータのロータの回転をその慣性力により継続させるようにして、発電効率を高めることを考えている。
【0004】
この場合、オルタネータのプーリとロータとの間に一方向クラッチを介装し、プーリとロータとの回転差に応じて、一方向クラッチをフリー状態(動力伝達状態)とロック状態(動力伝達遮断状態)とに切り替え、プーリとロータとの間で動力伝達させたり遮断させたりするようにする。
【0005】
上述した一方向クラッチは、もともと、ロック、フリー動作を行わせるために、カム面が形成される部材に対して保持器を回り止めさせる必要がある。この保持器の回り止め対策として、本願出願人は、実願平5−5162号に添付の明細書に示すような構成を考えている。つまり、外輪の円周数カ所に形成してある凹状カム面を軸方向一端にまで延ばし、保持器の軸方向一端で外周面の円周数カ所に前記凹状カム面に係入する凸部を設け、凹状カム面に対する凸部の周方向での引っ掛かりにより、外輪に対し保持器を回り止めさせる。
【0006】
【発明が解決しようとする課題】
上記従来の一方向クラッチでは、外輪に形成している既存の凹状カム面を流用して保持器の回り止めを行わせる構造としているので、下記するような不具合が発生している。
【0007】
そもそも、既存の凹状カム面の断面形状は、円弧のように一定の曲率半径になっていない。そして、保持器の回り止めだけのために、前記凸部の断面形状を前述の凹状カム面に対応させて高精度に加工するのは、コストの点からして無駄であると考え、従来では、凹状カム面に対して凸部を単に係入させるだけに設定している。このような構造では、一方向クラッチのロック、フリー動作時に、ころ付勢用の弾性部材の反力により保持器が周方向にぐらつきやすくなってしまい、それによって、ロック、フリー動作時の応答性が悪くなる他、甚だしい場合には完全なロック状態にならなくなることも起こりうる。また、外側環体や内側環体の回転動作に伴い振動が継続して発生するような状況では、保持器が軸方向へ変位することがあり、ころがスキューしやすくなるなど、ロック、フリー動作が不安定になりやすくなることが指摘される。
【0008】
したがって、本発明は、一方向クラッチを備えるプーリユニットにおいて、一方向クラッチの保持器を周方向ならびに軸方向で不動とし、動作安定化を図ることを目的としている。
【0009】
【課題を解決するための手段】
本発明の第1のプーリユニットは、ベルトにより回転駆動される外側環体と、外側環体の内周に配設される内側環体と、両環体の間の環状空間に介装される一方向クラッチと、前記環状空間において一方向クラッチの両側に設けられる転がり軸受とを含むプーリユニットであって、一方向クラッチは、複数のころと、複数のころを収納するポケットを有する保持器と、保持器の外周に配設される外輪と、保持器のポケットに対応する位置にくさび状空間形成用のカム面が設けられている内輪と、ころをくさび状空間の狭い側へ押圧する弾性部材とを含み、前記内輪の軸方向一端面に軸端へ向けて開放する凹部が、また、前記保持器の軸方向一端内周側に前記凹部に軸方向から嵌合される凸部が、それぞれ設けられており、前記凹部の開口側に前記両転がり軸受のうち一方の転がり軸受の内輪が配設されて、前記凸部が凹部奥壁面と前記一方の転がり軸受の内輪端面とで挟まれる。
本発明の第2のプーリユニットは、第1のプーリユニットにおいて、前記両転がり軸受のそれぞれ軸方向外端のみに、密封部材が設けられている。
【0010】
プーリユニットは、同心状に配設される内外2つの環体と、両環体の間の環状空間に介装される一方向クラッチと、前記環状空間において一方向クラッチの両側に設けられる転がり軸受とを含むもので、一方向クラッチが、内・外輪、ころならびに保持器を含み、内・外輪のうちくさび状空間形成用のカム面が形成される側の軸方向一端面に、軸端へ向けて開放する凹部が、また、保持器の軸方向一端に、前記凹部に軸方向から嵌合される凸部が、それぞれ設けられており、前記凹部の開口側に前記両転がり軸受のうち一方の転がり軸受が配設されて、前記凸部が凹部奥壁面と前記一方の転がり軸受の内輪・外輪のうち前記カム面が形成される側の端面とで挟まれてもよい。
【0014】
以上、本発明のプーリユニットでは、外側環体と内側環体との回転差に応じて、一方向クラッチがロック状態とフリー状態とに切り替わって、外側環体と内側環体との間で動力を伝達したり遮断したりするようになっている。
【0015】
そして、カム面が形成される一方向クラッチの内輪に設けた凹部と、一方向クラッチの保持器に設けた凸部との軸方向からの嵌合により保持器の周方向の動きを封じている。また、凹部からの凸部の抜け出しを物理的に封じることにより、保持器の軸方向の動きを封じている。このように保持器を周方向ならびに軸方向に不動としているから、一方向クラッチのロック、フリー動作時に、ころ付勢用の弾性部材の反力により保持器が周方向にぐらつくことがなくなる他、振動や衝撃が加わる状況でもころがスキューしにくくなるなど、一方向クラッチのロック、フリー動作が安定的に行えるようになる。
【0016】
特に、本発明の第1のプーリユニットでは、一方向クラッチのカム面を内輪に設けているので、高速回転域でも遠心力によってころがロック位置から不必要に外れるのを防止できるようになる。
【0018】
さらに、第2のプーリユニットでは、一方向クラッチがその軸方向両側の転がり軸受によって密封されることになり、この一方向クラッチと両側の転がり軸受とを共通の潤滑剤によって潤滑することが可能となる。
【0019】
【発明の実施の形態】
本発明の詳細を図1ないし図5に示す実施形態に基づいて説明する。
【0020】
図1ないし図4は本発明の一実施形態にかかり、図1は、プーリユニットの縦断面図、図2は、図1の(2)−(2)線断面の矢視図、図3は、図1の(3)−(3)線断面の矢視図、図4は、一方向クラッチの一部を示す平面展開図である。
【0021】
図例のプーリユニットAは、同心状に配設される内外2つの環体1,2と、両環体1,2の間の環状空間に介装される一方向クラッチ3と、前記環状空間において一方向クラッチ3の軸方向両側に配設される2つの転がり軸受4,4とを備えている。
【0022】
外側環体1の外周には、波状のベルト巻き掛け用の溝が形成されており、この外側環体1は、例えば自動車エンジンのクランクシャフトによりいわゆるVベルトと呼ばれるベルトBを介して回転駆動されるようになっている。内側環体2は、スリーブ状の部材からなり、図示しないが自動車の補機の入力軸(例えばオルタネータのロータ)に固定される。
【0023】
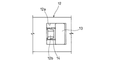
一方向クラッチ3は、外周面の円周数箇所に平坦なキー状のカム面10aが設けられた内輪10と、両端に転がり軸受4,4が内嵌されるように軸方向長尺に形成された外輪11と、カム面10aに対応して径方向内外に貫通形成されるポケット12aを有する保持器12と、保持器12の各ポケット12aに1つずつ収納される複数のころ13と、保持器12の各ポケット12aに1つずつ収納されかつころ13をカム面10aと外輪11内周面との間のくさび状空間の狭い側(ロック側)へ押圧する弾性部材としての断面ほぼ長方形のコイルバネ14とを備えている。保持器12のポケット12aの内壁面には、根元がくびれた形状の突起12bが一体形成されており、この突起12bの根元のくびれ部分にコイルバネ14の軸方向一端が係止嵌合され、突起12bの外周でコイルバネ14の内周を受けることにより、コイルバネ14の圧縮時のゆがみなどを防止するようになっている。なお、突起12bの先端外径面には、コイルバネ14の装着を容易とするためのテーパ面が設けられている。
【0024】
2つの転がり軸受4,4は、いずれも、内輪16、外輪17、複数の玉18、保持器19を有する一般的な深溝型玉軸受からなり、内・外輪16,17間の軸方向外端側にのみ密封部材としてのオイルシール20が装着されている。つまり、2つの転がり軸受4,4で一方向クラッチ3を密封するようになっていて、2つの転がり軸受4,4と一方向クラッチ3とを共通の潤滑剤で潤滑させるようにしている。
【0025】
次に、上述したプーリユニットAの特徴構成について説明する。この特徴構成とは、主として、一方向クラッチ3の保持器12を周方向ならびに軸方向に不動としていることである。具体的には、一方向クラッチ3の内輪10の軸方向一端面には、軸端へ向けて開放するとともに径方向内外に開放するスリット状の凹部10bが、また、保持器12の軸方向一端内周側には、凹部10bに軸方向から圧入嵌合される凸部12cが、それぞれ設けられており、これら凹部10bと凸部12cとの圧入嵌合により保持器12の周方向への動きを封じている。また、凸部12cは、凹部10bの奥壁面と、凹部10bの開口側に配設される片方の転がり軸受4の内輪16の端面とで軸方向から挟まれており、これにより保持器12の軸方向への動きを封じている。
【0026】
なお、凹部10bと凸部12cは、この実施形態において180度対向する2カ所に設けられている。この数は最低1カ所でもあるいは2カ所以上でもよい。但し、数を少なくすれば、加工精度をあまりシビアに管理せずに済む点で有利である。
【0027】
このように、一方向クラッチ3の保持器12の周方向ならびに軸方向の動きを封じているから、一方向クラッチ3のロック、フリー動作が安定的に行えるようになる。つまり、保持器12が周方向に不動であれば、コイルバネ14によるころ13の弾発付勢力の反力をしっかり受け止めることができるので、ころ13のロック動作を効率よくサポートできるようになる。また、保持器12が軸方向に不動であれば、ベルトBなどから振動や衝撃が加わる状況でもころ13がスキューしにくくなる。これらのことから、ころ13のロック、フリー動作が安定的に行われることになる。
【0028】
以上説明したプーリユニットAの動作を説明する。要するに、外側環体1の回転速度が内側環体2よりも相対的に速くなると、一方向クラッチ3のころ13がくさび状空間の狭い側へ転動させられてロック状態となるので、外側環体1と内側環体2とが一体化して同期回転する。しかし、外側環体1の回転速度が内側環体2よりも相対的に遅くなると、一方向クラッチ3のころ13がくさび状空間の広い側へ転動させられてフリー状態となるので、外側環体1から内側環体2へ回転動力の伝達が遮断されることになって内側環体2が回転慣性力のみで回転を継続するようになる。
【0029】
このようなプーリユニットAを仮にオルタネータに利用する場合だと、ベルトBの駆動源となるエンジンのクランクシャフトの回転変動に関係なく、オルタネータのロータの回転を高域に維持して、発電効率を高めるようにすることができる。つまり、クランクシャフトの回転数が上昇するとき、一方向クラッチ3がロック状態となって内側環体2を外側環体1と同期回転させるようにし、一方、クランクシャフトの回転数が低下するとき、一方向クラッチ3がフリー状態となって内側環体2を外側環体1の減速と無関係に自身の回転慣性力により回転継続させるようにすればよい。
【0030】
なお、本発明は上記実施例のみに限定されるものではなく、種々な応用や変形が考えられる。
【0031】
(1) 上記実施形態では、一方向クラッチ3の内輪10の軸方向一端面に径方向内外に連続するスリット状の凹部10bを設けているが、図5に示すように、凹部10bを平坦なキー状とすることができる。図5では、ころ13の使用数を多くするために、一方向クラッチ3の内輪10のカム面10aの周方向幅を狭くするとともに、カム面10aを曲線を含む形状としている。この曲線を含む部分がころ13のフリー回転位置となる。
【0032】
(2) 上記実施形態では、一方向クラッチ3の弾性部材としてコイルバネ14を例に挙げているが、それについても種々な板ばねや弾性片などで代用することができる。
【0033】
(3) 上記実施形態では、一方向クラッチ3のカム面10aを内輪側に形成した例を挙げているが、外輪側に設けたものにも本発明を適用できる。但し、上記実施形態の場合では、高速回転域でも遠心力によってころがロック位置から不必要に外れるのを防止できるなど、高速回転での使用に適している。
【0034】
【発明の効果】
請求項1または2の発明では、一方向クラッチの保持器を周方向ならびに軸方向に不動としているから、一方向クラッチのロック、フリー動作時に、ころ付勢用の弾性部材の反力により保持器が周方向にぐらつくことがなくなる他、振動や衝撃などが加わる状況でもころがスキューしにくくなるなど、一方向クラッチのロック、フリー動作を安定的に行わせることができる。
【0035】
特に、請求項の発明では、一方向クラッチのカム面を内輪に設けているので、高速回転域でも遠心力によってころがロック位置から不必要に外れるのを防止できるようになる。したがって、この効果と上記保持器の動き拘束による効果との相乗により、ころの動作安定化を一層高めることができるようになる。
【0037】
さらに、請求項の発明では、一方向クラッチがその軸方向両側の転がり軸受によって密封されることになり、この一方向クラッチと両側の転がり軸受とを共通の潤滑剤によって潤滑することが可能となる。
【0038】
このように、本発明によれば、一方向クラッチの動作を安定化して、同心状に配設される内外2つの環体間の動力伝達効率を高めることができるなど、信頼性の向上に貢献できる。
【図面の簡単な説明】
【図1】本発明の一実施形態のプーリユニットの縦断面図
【図2】図1の(2)−(2)線断面の矢視図
【図3】図1の(3)−(3)線断面の矢視図
【図4】一方向クラッチの一部を示す平面展開図
【図5】本発明の他の実施形態で、図3に対応する図
【符号の説明】
A プーリユニット
B ベルト
1 外側環体
2 内側環体
3 一方向クラッチ
4 転がり軸受
10 一方向クラッチの内輪
10a 内輪のカム面
10b 内輪の凹部
11 一方向クラッチの外輪
12 一方向クラッチの保持器
12a 保持器のポケット
12c 保持器の凸部
13 ころ
14 コイルバネ

Claims (2)

  1. ベルトにより回転駆動される外側環体と、外側環体の内周に配設される内側環体と、両環体の間の環状空間に介装される一方向クラッチと、前記環状空間において一方向クラッチの両側に設けられる転がり軸受とを含むプーリユニットであって、
    一方向クラッチは、複数のころと、複数のころを収納するポケットを有する保持器と、保持器の外周に配設される外輪と、保持器のポケットに対応する位置にくさび状空間形成用のカム面が設けられている内輪と、ころをくさび状空間の狭い側へ押圧する弾性部材とを含み、
    前記内輪の軸方向一端面に軸端へ向けて開放する凹部が、また、前記保持器の軸方向一端内周側に前記凹部に軸方向から嵌合される凸部が、それぞれ設けられており、前記凹部の開口側に前記両転がり軸受のうち一方の転がり軸受の内輪が配設されて、前記凸部が凹部奥壁面と前記一方の転がり軸受の内輪端面とで挟まれる、ことを特徴とするプーリユニット。
  2. 請求項1に記載のプーリユニットにおいて、前記両転がり軸受のそれぞれ軸方向外端のみに、密封部材が設けられている、ことを特徴とするプーリユニット。
JP17577597A 1997-07-01 1997-07-01 プーリユニット Expired - Fee Related JP3640771B2 (ja)

Priority Applications (6)

Application Number Priority Date Filing Date Title
JP17577597A JP3640771B2 (ja) 1997-07-01 1997-07-01 プーリユニット
US09/102,557 US6170625B1 (en) 1997-07-01 1998-06-23 Pulley unit
GB9814310A GB2328255B (en) 1997-07-01 1998-07-01 Pulley unit
DE19829469A DE19829469B4 (de) 1997-07-01 1998-07-01 Riemenscheibe
US09/733,907 US20010000285A1 (en) 1997-07-01 2000-12-12 Pulley unit
US10/997,877 US7100754B2 (en) 1997-07-01 2004-11-29 Pulley unit

Applications Claiming Priority (1)

Application Number Priority Date Filing Date Title
JP17577597A JP3640771B2 (ja) 1997-07-01 1997-07-01 プーリユニット

Publications (2)

Publication Number Publication Date
JPH1122753A JPH1122753A (ja) 1999-01-26
JP3640771B2 true JP3640771B2 (ja) 2005-04-20

Family

ID=16002056

Family Applications (1)

Application Number Title Priority Date Filing Date
JP17577597A Expired - Fee Related JP3640771B2 (ja) 1997-07-01 1997-07-01 プーリユニット

Country Status (1)

Country Link
JP (1) JP3640771B2 (ja)

Families Citing this family (5)

* Cited by examiner, † Cited by third party
Publication number Priority date Publication date Assignee Title
JP2000297860A (ja) 1999-02-12 2000-10-24 Nsk Ltd オルタネータ用ローラクラッチ内蔵型プーリ装置
US6588560B1 (en) * 1999-11-19 2003-07-08 Koyo Seiko Co., Ltd. Pulley unit
JP3681954B2 (ja) * 2000-05-09 2005-08-10 三菱電機株式会社 一方向クラッチ内蔵型回転伝達装置
JP2003083426A (ja) 2001-09-11 2003-03-19 Nsk Ltd ローラクラッチ内蔵型プーリ装置とその組立方法
JP2003090414A (ja) 2001-09-17 2003-03-28 Nsk Ltd ローラクラッチ内蔵型プーリ装置とその組立方法

Also Published As

Publication number Publication date
JPH1122753A (ja) 1999-01-26

Similar Documents

Publication Publication Date Title
EP1256745B1 (en) Pulley unit
JP3655063B2 (ja) オルタネータ用一方向クラッチ
US6170625B1 (en) Pulley unit
JPH10285873A (ja) オルタネータプーリ
JP3785259B2 (ja) プーリユニット
EP1262686B1 (en) Pulley unit having one-way clutch
JP3996991B2 (ja) 一方向クラッチ
JP3811569B2 (ja) エンジンのクランクシャフト、補機用プーリユニット
JP3640771B2 (ja) プーリユニット
JPH1182688A (ja) プーリユニット
JP4111556B2 (ja) エンジンの補機用高速回転プーリユニット
JP4140143B2 (ja) 一方向クラッチおよびこれを用いたプーリユニット
JP2003074672A (ja) プーリユニット
JP3785248B2 (ja) プーリユニット
JP4287983B2 (ja) プーリユニット
JPH1163026A (ja) 一方向クラッチ
JP2006322597A (ja) 軸受複合一方向クラッチ
JP3740253B2 (ja) 一方向クラッチ
JP2000283187A (ja) 一方向クラッチ
JP3731704B2 (ja) プーリユニット
JP3731703B2 (ja) プーリユニット
JP4893997B2 (ja) 一方向クラッチ
JP2001090810A (ja) プーリユニットおよびこれに用いる一方向クラッチ
JP4389581B2 (ja) クラッチ内蔵型プーリユニット
JPH11230314A (ja) プーリユニット

Legal Events

Date Code Title Description
A977 Report on retrieval

Free format text: JAPANESE INTERMEDIATE CODE: A971007

Effective date: 20040107

A131 Notification of reasons for refusal

Free format text: JAPANESE INTERMEDIATE CODE: A131

Effective date: 20040413

A521 Written amendment

Free format text: JAPANESE INTERMEDIATE CODE: A523

Effective date: 20040611

A131 Notification of reasons for refusal

Free format text: JAPANESE INTERMEDIATE CODE: A131

Effective date: 20040921

A521 Written amendment

Free format text: JAPANESE INTERMEDIATE CODE: A523

Effective date: 20041119

TRDD Decision of grant or rejection written
A01 Written decision to grant a patent or to grant a registration (utility model)

Free format text: JAPANESE INTERMEDIATE CODE: A01

Effective date: 20041221

A61 First payment of annual fees (during grant procedure)

Free format text: JAPANESE INTERMEDIATE CODE: A61

Effective date: 20050119

R150 Certificate of patent (=grant) or registration of utility model

Free format text: JAPANESE INTERMEDIATE CODE: R150

S533 Written request for registration of change of name

Free format text: JAPANESE INTERMEDIATE CODE: R313533

R350 Written notification of registration of transfer

Free format text: JAPANESE INTERMEDIATE CODE: R350

FPAY Renewal fee payment (prs date is renewal date of database)

Free format text: PAYMENT UNTIL: 20080128

Year of fee payment: 3

FPAY Renewal fee payment (prs date is renewal date of database)

Free format text: PAYMENT UNTIL: 20090128

Year of fee payment: 4

FPAY Renewal fee payment (prs date is renewal date of database)

Free format text: PAYMENT UNTIL: 20100128

Year of fee payment: 5

FPAY Renewal fee payment (prs date is renewal date of database)

Free format text: PAYMENT UNTIL: 20110128

Year of fee payment: 6

FPAY Renewal fee payment (prs date is renewal date of database)

Free format text: PAYMENT UNTIL: 20110128

Year of fee payment: 6

FPAY Renewal fee payment (prs date is renewal date of database)

Free format text: PAYMENT UNTIL: 20120128

Year of fee payment: 7

FPAY Renewal fee payment (prs date is renewal date of database)

Free format text: PAYMENT UNTIL: 20130128

Year of fee payment: 8

FPAY Renewal fee payment (prs date is renewal date of database)

Free format text: PAYMENT UNTIL: 20130128

Year of fee payment: 8

LAPS Cancellation because of no payment of annual fees