JP3639552B2 - ラーメン架構用制振構造 - Google Patents

ラーメン架構用制振構造 Download PDF

Info

Publication number
JP3639552B2
JP3639552B2 JP2001323046A JP2001323046A JP3639552B2 JP 3639552 B2 JP3639552 B2 JP 3639552B2 JP 2001323046 A JP2001323046 A JP 2001323046A JP 2001323046 A JP2001323046 A JP 2001323046A JP 3639552 B2 JP3639552 B2 JP 3639552B2
Authority
JP
Japan
Prior art keywords
damping structure
rigid frame
column
reinforcing member
reinforcing material
Prior art date
Legal status (The legal status is an assumption and is not a legal conclusion. Google has not performed a legal analysis and makes no representation as to the accuracy of the status listed.)
Expired - Lifetime
Application number
JP2001323046A
Other languages
English (en)
Other versions
JP2003129565A (ja
Inventor
泰 貫井
治男 横山
等 上山
隆之 青柳
Current Assignee (The listed assignees may be inaccurate. Google has not performed a legal analysis and makes no representation or warranty as to the accuracy of the list.)
Tokyo Electric Power Services Co Ltd
Tokyo Electric Power Co Holdings Inc
Original Assignee
Tokyo Electric Power Co Inc
Tokyo Electric Power Services Co Ltd
Priority date (The priority date is an assumption and is not a legal conclusion. Google has not performed a legal analysis and makes no representation as to the accuracy of the date listed.)
Filing date
Publication date
Application filed by Tokyo Electric Power Co Inc, Tokyo Electric Power Services Co Ltd filed Critical Tokyo Electric Power Co Inc
Priority to JP2001323046A priority Critical patent/JP3639552B2/ja
Publication of JP2003129565A publication Critical patent/JP2003129565A/ja
Application granted granted Critical
Publication of JP3639552B2 publication Critical patent/JP3639552B2/ja
Anticipated expiration legal-status Critical
Expired - Lifetime legal-status Critical Current

Links

Images

Landscapes

  • Building Environments (AREA)
  • Joining Of Building Structures In Genera (AREA)

Description

【0001】
【発明の属する技術分野】
本発明は、鉄骨製柱と梁を備えたラーメン架構のための制振構造に関する。
【0002】
【従来の技術】
アンボンドブレースをはじめ、ブレース、間柱、壁タイプの制振部材が数多く開発されている。これらはバランスを考え配置しなければならないため、平面計画上支障を及ぼすことも少なくない。また将来の模様替え等の自由度を制約することも考えられる。
【0003】
そのような平面計画上の理由から純ラーメン架構が多く採用されているが、純ラーメン架構での制振工法であればこれらの制約を受けることなく構造計画が可能となり、意匠・構造の両者にとって計画上のメリットが得られる。
【0004】
特開平10−37301号公報により、梁よりも降伏点の小さな材料からなるエネルギー吸収部材を梁端部に接合・分離可能に接合することが知られている。この場合、低降伏点のエネルギー吸収部材を正しく機能させるには、エネルギー吸収部材の降伏点を、梁の降伏点よりもかなり低く設定する必要があり、その結果エネルギー吸収が少なく、制震効果が少ないという欠点がある。更に、このエネルギー吸収部材は梁と柱の間の隅部に三角形状に形成配置されているので、柱または梁から出張るため、邪魔になる。
【0005】
【発明が解決しようとする課題】
そこで、本発明の課題は、低降伏点の補強材を用いることなく、梁の補強が可能である、ラーメン架構用制振構造を提供することである。
【0006】
【課題を解決するための手段および発明の効果】
この課題は、柱の近くの梁部分に板状の梁と同一の降伏点を有する補強材を備え、この補強材の一端が柱に固定連結され、他端が柱から離れたところで梁に固定連結されていることと、補強材の両端の間の中間範囲が梁の長手方向において梁によって拘束されないで、梁の水平方向および上下方向において拘束されていることと、補強材が梁の長手方向における所定以上の梁の変形を防止することによって解決される。
【0007】
地震時に梁に曲げ応力が生じると、先ず最初に柱寄りの梁の端部分が降伏してエネルギー吸収を行う。このとき、補強材の中間範囲は梁の長手方向において梁によって拘束されていないので、ほとんど変形しない。よって、補強材はそれ以上の梁の変形を防止し、建物の過大な変形を抑止する。
【0008】
補強材の両端の間の中間範囲を梁の長手方向で拘束されないようにかつ梁の長手方向に対して横方向および垂直方向で拘束されるように梁に保持するために、補強材または梁に多数の長手方向ルーズホールが形成され、このルーズホールに座屈補剛ボルトが挿入されていると有利である。
【0009】
更に、梁がH形鋼であり、補強材がこのH形鋼のフランジの側面または内側に取付けられていると、補強材が梁から出張らず、邪魔になることがない。
【0010】
更に、補強材の端部は溶接によってまたはボルトによって梁または柱に固定連結可能である。
【0011】
【発明の実施の形態】
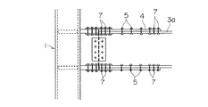
次に、図を参照して本発明の実施の形態を詳しく説明する。図1,2,3は、本発明によるラーメン架構の制振構造の第1の実施の形態を示している。ラーメン架構は柱1と、この柱1に例えばシェアプレート2によって連結された鉄骨製の梁3とからなっている。梁3はH形鋼からなり、水平な2つのフランジ3aと、このフランジの間に位置する垂直なウェブプレート3bとを有する。柱1の近くにおいて梁3は、上下のフランジ3aの外側に板状の補強材4を備えている。この補強材4は一端4aが柱1に溶接され、他端4bが柱1から離れたところで梁3のフランジ3aに溶接されている。
【0012】
補強材4は両端4a,4bの間の中間範囲において、中ボルトからなる多数の座屈補剛ボルト5によって梁3のフランジ3aに保持されている。この座屈補剛ボルト5は補強材4に形成されたルーズホール6と、フランジ3aに形成された図示していない穴に挿通され、ナットで止められている。フランジ3aに接触する補強材4の面は滑らかに形成され、小さな摩擦係数を有する。補強材4の中間範囲は座屈補剛ボルト5によって梁の長手方向に対して横方向(水平方向)および垂直方向(上下方向)では拘束されるがしかし、ルーズホール6と補強材4の滑らかな面により、梁の長手方向では拘束されない。
【0013】
補強材4とフランジ3aの間の摩擦係数を更に小さくするために、フランジ3a側の補強材4の面を、その一部だけがフランジ3aに接触するように形成することができる。これは例えばフランジ3a側の補強材4の面に窪みを形成することによって行われる。更に、補強材の面を滑らかに形成する代わりに、アンボンド材をフランジ3aと補強材4の中間範囲の間に配置してもよい。
【0014】
例えば地震時に梁3に曲げ応力が生じると、先ず最初に柱寄りの梁3の端部分が降伏してエネルギー吸収を行う。このとき、補強材4の中間範囲は梁の長手方向において梁3によって拘束されていないので、ほとんど変形しない。よって、補強材はそれ以上の梁の変形を防止し、建物の過大な変形を抑止する。
【0015】
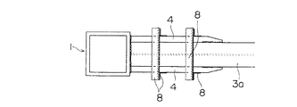
図4,5,6は、本発明によるラーメン架構の制振構造の第2の実施の形態を示している。この実施の形態は、補強材4の端部が溶接されないで、高力ボルト7によって梁3に剛接されている点が前述の第1の実施の形態と異なっている。そのほかは第1の実施の形態と同じである。
【0016】
図7,8,9は、本発明によるラーメン架構の制振構造の第3の実施の形態を示している。この実施の形態では、補強材4が梁3のフランジ3aの側面に取付けられ、座屈補剛ボルトの代わりに座屈補剛用ガセットまたは座屈補剛用アングルが設けられている。
【0017】
図10,11,12は、本発明によるラーメン架構の制振構造の第4の実施の形態を示している。この実施の形態では、補強材4が梁3のフランジ3aの内面に取付けられ、座屈補剛ボルトの代わりに座屈補剛用ガセットまたは座屈補剛用アングルが設けられている。
【図面の簡単な説明】
【図1】 本発明の第1の実施の形態によるラーメン架構用制振構造の正面図である。
【図2】 図1のラーメン架構用制振構造の右側面図である。
【図3】 図1のラーメン架構用制振構造の平面図である。
【図4】 本発明の第2の実施の形態によるラーメン架構用制振構造の正面図である。
【図5】 図4のラーメン架構用制振構造の右側面図である。
【図6】 図4のラーメン架構用制振構造の平面図である。
【図7】 本発明の第3の実施の形態によるラーメン架構用制振構造の正面図である。
【図8】 図7のラーメン架構用制振構造の右側面図である。
【図9】 図7のラーメン架構用制振構造の平面図である。
【図10】 本発明の第4の実施の形態によるラーメン架構用制振構造の正面図である。
【図11】 図10のラーメン架構用制振構造の右側面図である。
【図12】 図10のラーメン架構用制振構造の平面図である。
【符号の説明】
1 柱
2 シェアプレート
3 梁
3a フランジ
3b ウェブプレート
4 補強材
4a,4b 補強材の端部
5 座屈補剛ボルト
6 ルーズホール
7 高力ボルト
8 座屈補剛用ガセット
9 座屈補剛用アングル

Claims (4)

  1. 鉄骨製柱と梁を備えたラーメン架構のための制振構造において、柱の近くの梁部分に板状の補強材を備え、この補強材の一端が柱に固定連結され、他端が柱から離れたところで梁に固定連結されていることと、補強材の両端の間の中間範囲が梁の長手方向において梁によって拘束されないで、梁の水平方向および上下方向において拘束されていることと、補強材が梁の長手方向における所定以上の梁の変形を防止することを特徴とするラーメン架構のための制振構造。
  2. 補強材または梁に多数の長手方向ルーズホールが形成され、このルーズホールに挿入された座屈補剛ボルトによって、補強材が梁に保持されていることを特徴とする、請求項1記載のラーメン架構のための制振構造。
  3. 梁がH形鋼であり、補強材がこのH形鋼のフランジの外側または内側に取付けられている、請求項1または2記載のラーメン架構のための制振構造。
  4. 補強材の端部が溶接またはボルトによって梁または柱に固定連結されていることを特徴とする、請求項1〜3のいずれか一つに記載のラーメン架構のための制振構造。
JP2001323046A 2001-10-22 2001-10-22 ラーメン架構用制振構造 Expired - Lifetime JP3639552B2 (ja)

Priority Applications (1)

Application Number Priority Date Filing Date Title
JP2001323046A JP3639552B2 (ja) 2001-10-22 2001-10-22 ラーメン架構用制振構造

Applications Claiming Priority (1)

Application Number Priority Date Filing Date Title
JP2001323046A JP3639552B2 (ja) 2001-10-22 2001-10-22 ラーメン架構用制振構造

Publications (2)

Publication Number Publication Date
JP2003129565A JP2003129565A (ja) 2003-05-08
JP3639552B2 true JP3639552B2 (ja) 2005-04-20

Family

ID=19139995

Family Applications (1)

Application Number Title Priority Date Filing Date
JP2001323046A Expired - Lifetime JP3639552B2 (ja) 2001-10-22 2001-10-22 ラーメン架構用制振構造

Country Status (1)

Country Link
JP (1) JP3639552B2 (ja)

Cited By (2)

* Cited by examiner, † Cited by third party
Publication number Priority date Publication date Assignee Title
CN103556780A (zh) * 2013-10-29 2014-02-05 刘阳 一种翼缘防屈曲型钢-混凝土组合梁
CN109610666A (zh) * 2018-12-13 2019-04-12 大连理工大学 一种双消能机制体系

Families Citing this family (2)

* Cited by examiner, † Cited by third party
Publication number Priority date Publication date Assignee Title
JP6304074B2 (ja) * 2015-03-03 2018-04-04 Jfeスチール株式会社 鋼製部材の溶接接合方法および溶接接合構造
KR101868677B1 (ko) * 2016-01-29 2018-06-18 최상은 메인 철골보와 보조 철골보를 연결하기 위한 연결 유닛 및, 이를 이용한 연결방법

Family Cites Families (3)

* Cited by examiner, † Cited by third party
Publication number Priority date Publication date Assignee Title
JP2669740B2 (ja) * 1991-12-04 1997-10-29 株式会社フジタ 制振骨組構造
JP3882325B2 (ja) * 1998-03-24 2007-02-14 株式会社大林組 摩擦ダンパー
JP3842484B2 (ja) * 1999-05-19 2006-11-08 積水ハウス株式会社 柱と梁の接合構造及びこれを備えた建築物

Cited By (3)

* Cited by examiner, † Cited by third party
Publication number Priority date Publication date Assignee Title
CN103556780A (zh) * 2013-10-29 2014-02-05 刘阳 一种翼缘防屈曲型钢-混凝土组合梁
CN103556780B (zh) * 2013-10-29 2016-05-18 华侨大学 一种翼缘防屈曲型钢-混凝土组合梁
CN109610666A (zh) * 2018-12-13 2019-04-12 大连理工大学 一种双消能机制体系

Also Published As

Publication number Publication date
JP2003129565A (ja) 2003-05-08

Similar Documents

Publication Publication Date Title
KR101263078B1 (ko) 접합 철물 및 이것을 구비한 건축물
US5349794A (en) Wall for damping vibration
JP6990979B2 (ja) 建築物の架構構造
JP2007277952A (ja) 耐震用接合構造及びその構築方法
JP3639552B2 (ja) ラーメン架構用制振構造
JP7228344B2 (ja) 鉄筋コンクリート造の躯体とブレースとの接合構造及びプレキャスト部材
JP2020041319A (ja) 主構造とブレースの接合構造
JP2020076208A (ja) 柱梁架構の補強構造
JP2018104995A (ja) 建物構造、及び、既存の柱梁架構の補強方法
JP4971701B2 (ja) 制震構造及び制震パネル
JPH05331964A (ja) 鋼梁の開口部補剛構造
JPH11152929A (ja) 鉄骨造の建物に対する耐震補強方法
JP4049120B2 (ja) 建物の制震構造
JP5057570B2 (ja) 粘性壁の接合構造
JPH08246547A (ja) 柱梁接合構造
JP4305230B2 (ja) 柱と梁の接合構造
JP2005042423A (ja) 金属平板のせん断補強構造
JP6240420B2 (ja) 耐震補強構造
JP6979283B2 (ja) 鋼管柱とh形鋼製梁との鋼製柱梁架構
JP4678098B2 (ja) 制振間柱
JP4758683B2 (ja) ユニット建物の補強構造
JP6645770B2 (ja) 耐震補強構造
JP7097589B1 (ja) 補強パネルの取付構造
JP3842587B2 (ja) 鉄筋コンクリート系ラーメン構造体の補強方法及び補強構造
JP3225454B2 (ja) 建築物の躯体構造

Legal Events

Date Code Title Description
A02 Decision of refusal

Free format text: JAPANESE INTERMEDIATE CODE: A02

Effective date: 20040608

A521 Written amendment

Free format text: JAPANESE INTERMEDIATE CODE: A523

Effective date: 20040809

A911 Transfer to examiner for re-examination before appeal (zenchi)

Free format text: JAPANESE INTERMEDIATE CODE: A911

Effective date: 20041102

TRDD Decision of grant or rejection written
A01 Written decision to grant a patent or to grant a registration (utility model)

Free format text: JAPANESE INTERMEDIATE CODE: A01

Effective date: 20041214

A61 First payment of annual fees (during grant procedure)

Free format text: JAPANESE INTERMEDIATE CODE: A61

Effective date: 20050114

R150 Certificate of patent or registration of utility model

Free format text: JAPANESE INTERMEDIATE CODE: R150

Ref document number: 3639552

Country of ref document: JP

Free format text: JAPANESE INTERMEDIATE CODE: R150

FPAY Renewal fee payment (event date is renewal date of database)

Free format text: PAYMENT UNTIL: 20080121

Year of fee payment: 3

FPAY Renewal fee payment (event date is renewal date of database)

Free format text: PAYMENT UNTIL: 20090121

Year of fee payment: 4

R250 Receipt of annual fees

Free format text: JAPANESE INTERMEDIATE CODE: R250

FPAY Renewal fee payment (event date is renewal date of database)

Free format text: PAYMENT UNTIL: 20100121

Year of fee payment: 5

R250 Receipt of annual fees

Free format text: JAPANESE INTERMEDIATE CODE: R250

FPAY Renewal fee payment (event date is renewal date of database)

Free format text: PAYMENT UNTIL: 20110121

Year of fee payment: 6

R250 Receipt of annual fees

Free format text: JAPANESE INTERMEDIATE CODE: R250

FPAY Renewal fee payment (event date is renewal date of database)

Free format text: PAYMENT UNTIL: 20120121

Year of fee payment: 7

R250 Receipt of annual fees

Free format text: JAPANESE INTERMEDIATE CODE: R250

FPAY Renewal fee payment (event date is renewal date of database)

Free format text: PAYMENT UNTIL: 20120121

Year of fee payment: 7

FPAY Renewal fee payment (event date is renewal date of database)

Free format text: PAYMENT UNTIL: 20130121

Year of fee payment: 8

R250 Receipt of annual fees

Free format text: JAPANESE INTERMEDIATE CODE: R250

FPAY Renewal fee payment (event date is renewal date of database)

Free format text: PAYMENT UNTIL: 20130121

Year of fee payment: 8

FPAY Renewal fee payment (event date is renewal date of database)

Free format text: PAYMENT UNTIL: 20140121

Year of fee payment: 9

R250 Receipt of annual fees

Free format text: JAPANESE INTERMEDIATE CODE: R250

R250 Receipt of annual fees

Free format text: JAPANESE INTERMEDIATE CODE: R250

R250 Receipt of annual fees

Free format text: JAPANESE INTERMEDIATE CODE: R250

R250 Receipt of annual fees

Free format text: JAPANESE INTERMEDIATE CODE: R250

R250 Receipt of annual fees

Free format text: JAPANESE INTERMEDIATE CODE: R250

R250 Receipt of annual fees

Free format text: JAPANESE INTERMEDIATE CODE: R250

R250 Receipt of annual fees

Free format text: JAPANESE INTERMEDIATE CODE: R250

R250 Receipt of annual fees

Free format text: JAPANESE INTERMEDIATE CODE: R250

R250 Receipt of annual fees

Free format text: JAPANESE INTERMEDIATE CODE: R250

EXPY Cancellation because of completion of term