JP3633397B2 - トンネル覆工工法 - Google Patents
トンネル覆工工法 Download PDFInfo
- Publication number
- JP3633397B2 JP3633397B2 JP26482699A JP26482699A JP3633397B2 JP 3633397 B2 JP3633397 B2 JP 3633397B2 JP 26482699 A JP26482699 A JP 26482699A JP 26482699 A JP26482699 A JP 26482699A JP 3633397 B2 JP3633397 B2 JP 3633397B2
- Authority
- JP
- Japan
- Prior art keywords
- formwork
- panel
- concrete
- lining method
- tunnel
- Prior art date
- Legal status (The legal status is an assumption and is not a legal conclusion. Google has not performed a legal analysis and makes no representation as to the accuracy of the status listed.)
- Expired - Fee Related
Links
- 238000000034 method Methods 0.000 title claims description 29
- 239000004567 concrete Substances 0.000 claims description 39
- 238000009415 formwork Methods 0.000 claims description 36
- 238000009412 basement excavation Methods 0.000 claims description 17
- 239000011178 precast concrete Substances 0.000 claims description 14
- 239000012779 reinforcing material Substances 0.000 claims description 10
- 230000003014 reinforcing effect Effects 0.000 description 17
- 238000010276 construction Methods 0.000 description 10
- 238000009434 installation Methods 0.000 description 7
- 230000002787 reinforcement Effects 0.000 description 7
- 229910000831 Steel Inorganic materials 0.000 description 6
- 239000010959 steel Substances 0.000 description 6
- 239000003351 stiffener Substances 0.000 description 4
- 230000008878 coupling Effects 0.000 description 3
- 238000010168 coupling process Methods 0.000 description 3
- 238000005859 coupling reaction Methods 0.000 description 3
- 230000000694 effects Effects 0.000 description 3
- 238000004904 shortening Methods 0.000 description 3
- 230000002093 peripheral effect Effects 0.000 description 2
- 230000015556 catabolic process Effects 0.000 description 1
- 239000002184 metal Substances 0.000 description 1
- 230000002035 prolonged effect Effects 0.000 description 1
- 238000005507 spraying Methods 0.000 description 1
Images
Landscapes
- Lining And Supports For Tunnels (AREA)
Description
【発明の属する技術分野】
この発明は、トンネル覆工工法に関し、特に、型枠兼用のパネルを用いるトンネル覆工工法に関するものである。
【0002】
【従来の技術】
山岳トンネルを構築する際には、掘削された断面に覆工コンクリート層を形成することが行われていて、このような覆工コンクリート層は、一般的に、吹付けにより一次覆工を行った後に、二次覆工が行われる。
【0003】
二次覆工では、掘削面の内面側に、型枠板を設置して、掘削面と型枠板との間にコンクリートを打設する型枠を用いる工法が知られている。
【0004】
型枠を用いる二次覆工工法では、セントルと呼ばれる幅が約10m程度の移動式の型枠を用いる方式が知られている。この種の覆工工法に用いられるセントルは、トンネル全断面の大きさをカバーできる型枠板を、移動式の支持架台に組付け支持させた構造になっていて、これを坑外で組み立てた状態で、坑内に引き込み、掘削面と型枠板との間にコンクリートを打設して、覆工コンクリート層を形成した後に、順次トンネル軸方向に沿って移動させて施工を行う。
【0005】
しかしながら、このようなセントル方式の覆工工法には、以下に説明する技術的な課題があった。
【0006】
【発明が解決しようとする課題】
すなわち、トンネルを構築する際には、内部の一部分を拡幅する場合があるが、このような場合に前記セントル方式の覆工工法を採用すると、拡幅部の断面が、他の部分の断面に比べて大きいので、予め坑外でセントルを組立てると、坑内に引き込むことができないので、拡幅部の施工現場でセントルを組むことになる。
【0007】
ところが、坑内でセントルを組む作業は、クレーンの吊り代ろを確保することができないので、人力に頼らざるを得ず、この作業が煩雑で危険を伴なうこともあって、工期が長期化する大きな要因となっていた。
【0008】
本発明は、このような従来の問題点に鑑みてなされたものであって、坑内でセントルを組んで施工する場合よりも、大幅に工期を短縮することができるトンネル覆工工法を提供することにある。
【0009】
【課題を解決するための手段】
上記目的を達成するために、本発明は、掘削面の内周に沿って所定の間隔を隔てて型枠を設置し、前記掘削面と型枠との間にコンクリートを打設して覆工コンクリート層を形成するトンネル覆工工法において、前記型枠は、前記覆工コンクリート層の表面に残置される型枠板兼用のパネルと、このパネルの内面または外面に添設された連結用補強材とを備え、前記型枠を前記掘削面に沿って設置する際に、その連結用補強材の下端側を、周方向に隣接設置する他の型枠の連結用補強材と相互に結合させるとともに、各型枠の上端側を、地山または地山に設置された支保工に一端側を連結したアンカーにより支持するようにした。
このように構成したトンネル覆工工法によれば、掘削面の内周に沿って所定の間隔を隔てて設置される型枠は、覆工コンクリート層の表面に残置される型枠板兼用のパネルと、このパネルの内面または外面に添設された連結用補強材とを備え、型枠を掘削面に沿って設置する際に、その連結用補強材の下端側を、周方向に隣接設置する他の型枠の連結用補強材と相互に結合させるとともに、各型枠の上端側を、地山または地山に設置された支保工に一端側を連結したアンカーにより支持するので、型枠を支持する坑内支保工が不要になり、他の作業との干渉を避けることができる。
また、パネルには、坑外で連結用補強材を取付けることができるとともに、連結用補強材を添設することにより大型化が可能になり、大型のパネルを使用することで、型枠の設置作業を迅速に行える。
さらに、本発明では、前記パネルは、予め製作されるプレキャストコンクリート版で構成することができる。
この構成によれば、プレキャストコンクリート版製のパネルは、型枠板を兼用し、覆工コンクリート層の表面に残置されるので、コンクリート打設後の養生を必要とせず、これにより工期を短縮できる。
また、覆工コンクリート層の表面は、高品質に工場生産することができるプレキャストコンクリート版製のパネルで覆われるため、美観に優れ、耐久性も優れたものとなる。
また、本発明では、前記パネルは、平板状に形成することができる。
この構成によれば、パネルを容易に製作することができる。
【0010】
【発明の実施の形態】
以下、本発明の好適な実施の形態について、添付図面に基づいて詳細に説明する。図1から図3は、本発明にかかるトンネル覆工工法の第1実施例を示している。
【0011】
同図に示したトンネル覆工工法では、図1に施工状態の全体正面図を示すように、掘削面10の内周面に沿って所定の間隔を隔てて型枠12を設置し、掘削面10と型枠12との間にコンクリートを打設して覆工コンクリート層14を形成することを基本構成としている。
【0012】
掘削面10の内周側には、その湾曲に沿うようにしてアーチ状の鋼製支保工11が設けられ、この支保工11を埋設するようにして、一次覆工コンクリート層13が吹付け形成されている。
【0013】
本実施例のトンネル覆工工法では、型枠12は、同一構造の複数枚から構成され、各型枠12は、覆工コンクリート層14の表面側に残置される型枠板兼用のプレキャストコンクリート版製の平板パネル16と、この平板パネル16の内面(覆工コンクリートを打設する側)に添設された連結用補強材18とを備えている。
【0014】
プレキャストコンクリート版製の平板パネル16は、予め、坑外の製造プラントで工場生産されるものであって、製作された平板パネル16には、連結用補強材18が坑外で添設固定される。
【0015】
連結用補強材18は、H型鋼からなる縦および横補強材18a,18bを有していて、この縦および横補強材18a,18bが平板パネル16の裏面側に所定の間隔を隔てて格子状に配置されている。
【0016】
平板パネル16の裏面側に連結用補強材18を添設固定すると、平板パネル16の面積を大きくすることが可能になり、大面積の大型化された平板パネル16を使用すると、掘削面10を覆うパネル16の数が低減され、その分だけ設置および組立て作業が容易かつ迅速に行える。
【0017】
掘削面10の内周に沿って型枠12を設置する際には、図1に示すように、周方向の両端に位置する一対の型枠121の下端側が、まず、トンネルのインバート部20上に、予め立ち上げ形成される側壁コンクリート部22に載置される。
【0018】
この端部側の型枠121の設置が終了すると、その上部側に別の型枠122が隣接するようにして連結設置される。型枠122を設置する際には、その下端側を周方向に隣接する型枠121の上端側と結合させるとともに、上端側をアンカー24により支持する。
【0019】
アンカー24は、型枠12を設置する前に既に設置されていて、一端側が地山26中に定着されている。型枠122の設置終了すると、その上部側に同じ方法により順次他の型枠123以降が、トンネルの中心側を向かうようにして連結設置される。
【0020】
そして、トンネル断面の中心軸上に一端が位置する型枠126を設置する際には、天井部に鋼製枠27を設置して、その上部側が鋼製枠27に係止される。鋼製枠27は、型枠126の設置後に、トンネル軸上の天井部に設置されるものであって、コンクリート注入口28が設けられている。このコンクリート注入口28は、型枠126内にコンクリートを打設する際に用いられる。
【0021】
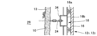
周方向に隣接設置される型枠121と同122のより具体的な連結設置状態の詳細を図2,3に示している。既設の型枠121に別の型枠122を連結設置する際には、まず、型枠122の縦補強材18aの下端側を、既設型枠121の縦補強材18aの上端側と、連結プレート30を両者間にボルトナットで固定して連結する。
【0022】
このとき、型枠121と同122の平板パネル16間に、打設するコンクリートの漏れ防止用のシールガスケット32を介装する。一方、型枠122の上部側は、一端が地山26に定着されたアンカー24の頭部側を、結合ブラケット34を介して、上部側の横補強材18bと結合することにより支持する。アンカー24は、長ナットなどを用いることで、その長さが調整される。
【0023】
以上のようにして型枠12の設置が終了すると、トンネル軸方向の妻側に漏れ止め対策を施した後に、型枠122の平板パネル16の上端側から、例えば、高流動コンクリートを型枠122と掘削面10との間に打設して、表面側にプレキャストコンクリート版製の平板パネル16を残置させた覆工コンクリート層14を形成する。
【0024】
そして、同様な作業を順次トンネル中心軸側まで行うことにより、プレキャストコンクリート版製の平板パネル16の長さに対応した覆工コンクリート層14が形成され、1サイクルの作業を終了する。
【0025】
さて、以上のように構成したトンネル覆工工法によれば、型枠12を掘削面10に沿って設置する際に、その連結用補強材18の下端側を、周方向に隣接設置する他の型枠12の連結用補強材18と相互に結合させるとともに、各型枠12の上端側を、地山に一端側を定着したアンカー24により支持するので、型枠12を支持する坑内支保工が不要になり、他の作業との干渉を避けることができる。
【0026】
また、平板パネル16は、坑外で連結用補強材18を取付けることができるとともに、連結用補強材18を添設することにより大型化が可能になり、大型のパネルを使用することで、型枠12の設置作業を迅速に行える。
【0027】
さらに、プレキャストコンクリート版製の平板パネル16は、型枠板を兼用し、覆工コンクリート層14の表面に残置されるので、コンクリート打設後の養生を必要とせず、これにより工期を短縮できる。
【0028】
このため、本実施例の覆工工法をトンネルの拡幅部に適用すると、セントル方式よりも大幅に工期を低減させることができるとともに、拡幅部以外の一般部分に適用しても、その効果を有効に発揮させることができる。
【0029】
また、覆工コンクリート層14の表面は、高品質に工場生産することができるプレキャストコンクリート版製の平板パネル16で覆われるため、美観に優れ、耐久性も優れたものとなる。
【0030】
さらに、本実施例の場合には、プレキャストコンクリート版製の平板パネル16の背面側には、格子状に配置された連結用補強材18が突設されて、凹凸状になっているので、コンクリートを打設すると、コンクリートと平板パネル16との間の接合面積が大きくなり、両者間の付着強度を増加させる。
【0031】
図4は、本発明にかかるトンネル覆工工法の第2実施例を示しており、上記第1実施例と同一若しくは相当する部分には、同一符号を付してその説明を省略するとともに、異化にその特徴点についてのみ説明する。
【0032】
同図に示した実施例では、各型枠12は、上記実施例と同様に、型枠板兼用のプレキャストコンクリート版製の平板パネル16と、連結用補強材18とを備えているが、本実施例の場合には、連結用補強材18は、平板パネル16の外面(覆工コンクリートを打設する側と反対側の面)に添設されている。
【0033】
また、平板パネル16の内面側には、打設されるコンクリートとの間の付着力を補強する複数のジベル36が突設されている。本実施例の場合にも、既設の型枠121に別の型枠122を連結設置する際には、まず、型枠122の縦補強材18aの下端側を、既設型枠121の縦補強材18aの上端側と連結し、型枠122の上部側は、アンカー24により支持する。
【0034】
このとき、本実施例の場合には、平板パネル16の外面側に連結用補強材18が添設されているので、別の部材を介在させることなく、型枠122の縦補強材18aの下端側を、既設型枠121の縦補強材18aの上端側に、ボルトナットを用いて直接連結することができる。
【0035】
また、本実施例の場合には、アンカー24の一端は、地山26に接触するように設置された支保工11に先付けプレート38を介して定着され、他端側は、平板パネル16および縦補強材18aを貫通して、その外方まで延設され、横補強材18bにナットを装着することにより定着されている。
【0036】
この実施例においても、型枠12の設置が終了すると、掘削面10と型枠12との間にコンクリートが打設され、上記実施例と同様に覆工コンクリート層14が形成される。
【0037】
このような型枠12を用いる第2実施例においても第1実施例と同等の作用効果が得られるとともに、特に、第2実施例の場合には、補強材18同志を直接連結することができ、また、例えば、連結用補強材18を平板パネル16から離脱可能に構成しておくと、打設したコンクリートが硬化した後に、これを取り外して転用することも可能なので、第1実施例の場合よりも、構造が簡単で経済的な面でも有利になる。
【0038】
なお、上記実施例では、パネル16をプレキャストコンクリート版で構成し、かつ、その形状を平板としているが、本発明の実施は、これに限られることはなく、例えば、鋼鈑パネルであっても良いし、また、例えば、トンネルの掘削面に沿った湾曲形状のパネルを用いることもできる。
【0039】
【発明の効果】
以上、詳細に説明したように、本発明にかかるトンネル覆工工法によれば、坑内でセントルを組んで施工する場合よりも、大幅に工期を短縮することができる。
【図面の簡単な説明】
【図1】本発明にかかるトンネル覆工工法の一実施例を示す施工状態の正面図である。
【図2】図1の要部拡大図である。
【図3】図2の上面図である。
【図4】本発明にかかるトンネル覆工工法の他の実施例を示す要部説明図である。
【符号の説明】
10 掘削面
11 支保工
12 型枠
14 覆工コンクリート層
16 プレキャストコンクリート平板パネル
18 連結用補強材
24 アンカー
Claims (3)
- 掘削面の内周に沿って所定の間隔を隔てて型枠を設置し、前記掘削面と型枠との間にコンクリートを打設して覆工コンクリート層を形成するトンネル覆工工法において、
前記型枠は、前記覆工コンクリート層の表面に残置される型枠板兼用のパネルと、このパネルの内面または外面に添設された連結用補強材とを備え、
前記型枠を前記掘削面に沿って設置する際に、その連結用補強材の下端側を、周方向に隣接設置する他の型枠の連結用補強材と相互に結合させるとともに、各型枠の上端側を、地山または地山に設置された支保工に一端側を連結したアンカーにより支持することを特徴とするトンネル覆工工法。 - 前記パネルは、予め製作されるプレキャストコンクリート版からなることを特徴とする請求項1記載のトンネル覆工工法。
- 前記パネルは、平板状に形成されることを特徴とする請求項1または2記載のトンネル覆工工法。
Priority Applications (1)
| Application Number | Priority Date | Filing Date | Title |
|---|---|---|---|
| JP26482699A JP3633397B2 (ja) | 1999-09-20 | 1999-09-20 | トンネル覆工工法 |
Applications Claiming Priority (1)
| Application Number | Priority Date | Filing Date | Title |
|---|---|---|---|
| JP26482699A JP3633397B2 (ja) | 1999-09-20 | 1999-09-20 | トンネル覆工工法 |
Publications (2)
| Publication Number | Publication Date |
|---|---|
| JP2001090487A JP2001090487A (ja) | 2001-04-03 |
| JP3633397B2 true JP3633397B2 (ja) | 2005-03-30 |
Family
ID=17408754
Family Applications (1)
| Application Number | Title | Priority Date | Filing Date |
|---|---|---|---|
| JP26482699A Expired - Fee Related JP3633397B2 (ja) | 1999-09-20 | 1999-09-20 | トンネル覆工工法 |
Country Status (1)
| Country | Link |
|---|---|
| JP (1) | JP3633397B2 (ja) |
Families Citing this family (4)
| Publication number | Priority date | Publication date | Assignee | Title |
|---|---|---|---|---|
| CN102337903B (zh) * | 2011-08-25 | 2013-10-23 | 安徽理工大学 | 深井巷道控制围岩最小变形时空耦合主动支护方法 |
| JP7288301B2 (ja) * | 2018-12-27 | 2023-06-07 | 日鉄建材株式会社 | 地中構造物の構築方法、および地中構造物 |
| JP7409849B2 (ja) * | 2019-12-06 | 2024-01-09 | 株式会社奥村組 | 既設トンネルの補強構造 |
| JP7444763B2 (ja) * | 2020-12-01 | 2024-03-06 | 大成建設株式会社 | トンネル覆工構造およびトンネル施工方法 |
-
1999
- 1999-09-20 JP JP26482699A patent/JP3633397B2/ja not_active Expired - Fee Related
Also Published As
| Publication number | Publication date |
|---|---|
| JP2001090487A (ja) | 2001-04-03 |
Similar Documents
| Publication | Publication Date | Title |
|---|---|---|
| CN106869172B (zh) | 现浇预制拼装组合式地铁地下车站施工方法 | |
| CN111395351B (zh) | 基坑装配式支撑结构以及支撑施工方法 | |
| WO2017045425A1 (zh) | 钢-混凝土复合式隧道衬砌支护结构及其制作与施工方法 | |
| JP3321697B2 (ja) | 複合パネルを用いるトンネル覆工工法 | |
| CN113294171B (zh) | 波形钢板与uhpc组合的装配式隧道衬砌结构及其施工方法 | |
| JP4164857B2 (ja) | 既存地下躯体を用いた改築工法 | |
| CN211900641U (zh) | 一种防屈曲装配式隧道组合结构支护系统 | |
| CN107558483B (zh) | 一种安装墙板的建筑基础的施工方法 | |
| JP2956506B2 (ja) | 地下鉄の駅の構造及びその構築工法 | |
| CN111219200B (zh) | 一种防屈曲装配式隧道组合结构支护系统及其施工方法 | |
| JP3633397B2 (ja) | トンネル覆工工法 | |
| JPH09268583A (ja) | 鉄骨埋め込み型ハーフプレキャストコンクリート部材及びそれを用いた地下構造物の構築方法 | |
| JP3011169B2 (ja) | シールドトンネルおよびその覆工方法 | |
| CN111287764A (zh) | 隧道二次衬砌结构及其施工方法 | |
| CN109610707A (zh) | 一种预制钢梁与楼板平齐装配的设计及快速施工方法 | |
| JPH07103785B2 (ja) | 継手ボルトのいらないセグメント | |
| JPH04306398A (ja) | コンクリート壁面の補修方法 | |
| JP2004011327A (ja) | ケーソン及びケーソン構築方法 | |
| JP2612522B2 (ja) | トンネル覆工工法及びトンネル覆工構造 | |
| CN115217121A (zh) | 装配式钢混围护支撑与主体结构的协同受力体系及方法 | |
| JP2562156Y2 (ja) | 充填用中空断面をもつシールド工事用セグメント | |
| KR20060096706A (ko) | 데크 현수식 지하 구조물 역타설공법 | |
| JP4104777B2 (ja) | シールドトンネルの開口方法 | |
| CN220469099U (zh) | 一种多层交叉钢筋混凝土v形圆柱结构 | |
| CN219412672U (zh) | 预制烟道箱涵、整体装配式烟道结构及盾构隧道 |
Legal Events
| Date | Code | Title | Description |
|---|---|---|---|
| A977 | Report on retrieval |
Free format text: JAPANESE INTERMEDIATE CODE: A971007 Effective date: 20041129 |
|
| TRDD | Decision of grant or rejection written | ||
| A01 | Written decision to grant a patent or to grant a registration (utility model) |
Free format text: JAPANESE INTERMEDIATE CODE: A01 Effective date: 20041207 |
|
| A61 | First payment of annual fees (during grant procedure) |
Free format text: JAPANESE INTERMEDIATE CODE: A61 Effective date: 20041220 |
|
| R150 | Certificate of patent or registration of utility model |
Free format text: JAPANESE INTERMEDIATE CODE: R150 |
|
| FPAY | Renewal fee payment (event date is renewal date of database) |
Free format text: PAYMENT UNTIL: 20080107 Year of fee payment: 3 |
|
| FPAY | Renewal fee payment (event date is renewal date of database) |
Free format text: PAYMENT UNTIL: 20090107 Year of fee payment: 4 |
|
| FPAY | Renewal fee payment (event date is renewal date of database) |
Free format text: PAYMENT UNTIL: 20100107 Year of fee payment: 5 |
|
| FPAY | Renewal fee payment (event date is renewal date of database) |
Free format text: PAYMENT UNTIL: 20100107 Year of fee payment: 5 |
|
| FPAY | Renewal fee payment (event date is renewal date of database) |
Free format text: PAYMENT UNTIL: 20110107 Year of fee payment: 6 |
|
| S531 | Written request for registration of change of domicile |
Free format text: JAPANESE INTERMEDIATE CODE: R313531 |
|
| FPAY | Renewal fee payment (event date is renewal date of database) |
Free format text: PAYMENT UNTIL: 20110107 Year of fee payment: 6 |
|
| R350 | Written notification of registration of transfer |
Free format text: JAPANESE INTERMEDIATE CODE: R350 |
|
| FPAY | Renewal fee payment (event date is renewal date of database) |
Free format text: PAYMENT UNTIL: 20120107 Year of fee payment: 7 |
|
| FPAY | Renewal fee payment (event date is renewal date of database) |
Free format text: PAYMENT UNTIL: 20130107 Year of fee payment: 8 |
|
| FPAY | Renewal fee payment (event date is renewal date of database) |
Free format text: PAYMENT UNTIL: 20130107 Year of fee payment: 8 |
|
| FPAY | Renewal fee payment (event date is renewal date of database) |
Free format text: PAYMENT UNTIL: 20140107 Year of fee payment: 9 |
|
| LAPS | Cancellation because of no payment of annual fees |