JP3622372B2 - レンズ駆動機構 - Google Patents

レンズ駆動機構 Download PDF

Info

Publication number
JP3622372B2
JP3622372B2 JP27365896A JP27365896A JP3622372B2 JP 3622372 B2 JP3622372 B2 JP 3622372B2 JP 27365896 A JP27365896 A JP 27365896A JP 27365896 A JP27365896 A JP 27365896A JP 3622372 B2 JP3622372 B2 JP 3622372B2
Authority
JP
Japan
Prior art keywords
lens
optical axis
lens frame
rotor
direction parallel
Prior art date
Legal status (The legal status is an assumption and is not a legal conclusion. Google has not performed a legal analysis and makes no representation as to the accuracy of the status listed.)
Expired - Lifetime
Application number
JP27365896A
Other languages
English (en)
Other versions
JPH10123399A (ja
Inventor
洋之 黒川
弘剛 野崎
Current Assignee (The listed assignees may be inaccurate. Google has not performed a legal analysis and makes no representation or warranty as to the accuracy of the list.)
Nikon Corp
Original Assignee
Nikon Corp
Priority date (The priority date is an assumption and is not a legal conclusion. Google has not performed a legal analysis and makes no representation as to the accuracy of the date listed.)
Filing date
Publication date
Application filed by Nikon Corp filed Critical Nikon Corp
Priority to JP27365896A priority Critical patent/JP3622372B2/ja
Priority to US08/949,688 priority patent/US5966248A/en
Publication of JPH10123399A publication Critical patent/JPH10123399A/ja
Application granted granted Critical
Publication of JP3622372B2 publication Critical patent/JP3622372B2/ja
Anticipated expiration legal-status Critical
Expired - Lifetime legal-status Critical Current

Links

Images

Landscapes

  • Lens Barrels (AREA)

Description

【0001】
【発明の属する技術分野】
本発明は、レンズをその光軸方向に移動させるレンズ駆動機構に関する。
【0002】
【従来の技術】
従来のレンズ駆動機構としては、例えば、図12に示すようなものがある。
このレンズ駆動機構は、レンズ4を保持するレンズ枠3と、レンズ枠3をレンズ4の光軸方向に移動可能に案内するガイド軸2と、回転する出力軸を有するモータ5と、光軸Cと平行な方向に伸び、外周に雄ネジが形成されている送りネジ59と、この送りネジ59に螺合する雌ネジが形成されているナット部材58と、これらを覆う固定筒1とを備えている。ナット部材58は、レンズ枠3に埋め込まれており、レンズ4及びレンズ枠3と一体的に移動する。モータ5の駆動で送りネジ59が回転すると、ナット部材58が光軸Cと平行な方向に移動し、これに伴ってレンズ枠3及びレンズ4が光軸方向に移動する。
【0003】
【発明が解決しようとする課題】
しかしながら、従来技術では、レンズ4を光軸方向に移動させるためにナット部材58や送りネジ59等が必要で、部品点数が多くなってしまう。さらに、レンズ枠3は、光軸方向にのみ正確に移動できるよう、ガイド軸2でしっかりとガイドされているため、送りネジ59を正確に光軸Cと平行に配さなければ、ナット部材58との関係で送りネジ59の回転がきつくなり、モータ5に多大な負荷がかかってしまう。すなわち、ナット部材58と送りネジ59とモータ5との相対的位置関係を非常に精度良くしなければ、不必要な拘束力が発生して、モータ5に多大な負荷がかかってしまう。このように、従来技術では、部品点数が多くなる上に、高い組立て精度も求められるために、組立て工数が非常に嵩んでしまうという問題点がある。
【0004】
本発明は、このような従来の問題点に着目してなされたもので、部品点数が少なく、しかも高い精度で組み立てなくても、レンズを光軸方向に移動させることができ、その結果として組立て工数を削減することができるレンズ駆動機構を提供することを目的とする。
【0005】
【課題を解決するための手段】
前記目的を達成するためのレンズ駆動機構は、
レンズの光軸と平行な方向に移動する動作部を有するアクチュエータと、
前記レンズを保持し、前記動作部の端部と接触する接触面が形成されたレンズ枠と、
前記レンズ枠を光軸方向に移動可能に案内する案内手段と、を備え、
前記光軸と平行な方向に関し、前記アクチュエータの前記動作部に対して前記レンズ枠が相対移動不能に、該レンズ枠と該動作部とが接続され、
前記レンズ枠は、前記接触面を形成する接触板と、前記レンズを保持すると共に前記接触板が取り付けられるレンズ枠本体とを有し、該接触板は、該レンズ枠本体よりも耐摩耗性の高い材質であることを特徴とするものである。
【0006】
ここで、前記アクチュエータは、
前記光軸と平行な方向に伸び、外周の一部に雄ネジが形成されている、前記動作部としてのロータ軸と、
前記ロータ軸に対して相対回転不能で且つ前記光軸と平行な方向に相対移動可能に、該ロータ軸に取り付けられているロータと、
前記ロータの外周に配され、前記ロータを回転させるステータと、
前記ロータ及び前記ステータを覆うケーシングと、
前記ケーシングに固定され、前記ロータ軸の前記雄ネジが螺合する雌ネジが形成されているナット部材と、
を備えているものであってもよい。
【0007】
また、前記アクチュエータは、出力軸が進退する液体圧シリンダや、動作部が直線運動するリニア電磁モータ等でもよい。
【0009】
さらに、前記レンズ駆動機構は、
前記光軸と平行な方向であって、前記レンズ枠の前記接触面と前記ロータ軸の端部とが接触し合う向きに、該レンズ枠を付勢する付勢手段を備えていているものであってもよい。この場合、前記レンズ枠の前記接触面と接触する前記ロータ軸の端部は、球面であることが望ましい。なお、以上のように、接触板を用いる場合には、この接触板は、弾性を有する防振材を介して前記レンズ枠本体に取り付けられていることが好ましい。
【0010】
前記目的を達成するための他のレンズ駆動機構は、
前記レンズを保持するレンズ枠と、
前記レンズ枠を光軸方向に移動可能に案内する案内手段と、
前記レンズの光軸と平行な方向に移動する動作部を有するアクチュエータと、
前記光軸と平行な方向に伸び、該光軸と平行な方向に相対移動不能に前記レンズ枠に取り付けられているガイド軸と、
前記光軸と平行な方向に相対移動不能に前記ガイド軸に係合し、該光軸と平行な方向に相対移動不能に前記動作部に取り付けられている連結部と、を備えていることを特徴とするものである。
【0011】
前記目的を達成するためのさらに他のレンズ駆動機構は、
レンズを光軸方向に移動させるレンズ駆動機構において、
前記レンズを保持するレンズ枠と、
前記レンズ枠を光軸方向に移動可能に案内する案内手段と、
前記レンズの光軸と平行な方向に移動する動作部を有するアクチュエータと、
前記光軸と平行な方向に伸び、前記動作部と接触する接触面が形成され、該光軸と平行な方向に相対移動不能に前記レンズ枠に取り付けられているガイド軸と、
前記光軸と平行な方向であって、前記ガイド軸の前記接触面と前記動作部とが接触し合う向きに、前記レンズ枠又は該ガイド軸を付勢する付勢手段と、を備えていることを特徴とするものである。
【0012】
【発明の実施の形態】
以下、本発明に係る各種実施形態としてのレンズ駆動機構について、図1〜図11を用いて説明する。
【0013】
まず、本発明に係る第1の実施形態としてのレンズ駆動機構について、図1〜図5を用いて説明する。
図1に示すように、このレンズ駆動機構は、レンズ4を保持するレンズ枠3aと、レンズ枠3aをレンズ4の光軸方向に移動可能に案内する複数のガイド軸2,2,…と、レンズ枠3aを光軸方向に移動させるためのステッピングモータ5aと、ステッピングモータ5aの出力軸であるロータ軸51とレンズ枠3aとを連結するための連結具60と、これらを覆う固定筒1とを備えている。
【0014】
複数のガイド軸2は、光軸Cと平行な方向に伸び、その両端部で固定筒1に固定されている。レンズ枠3aには、図1及び図2に示すように、内周側に凹みガイド軸2が嵌まり込むガイド溝31と、図1及び図3に示すように、ガイド軸2が挿通されるガイド軸挿通孔32と、外周方向に突出しモータ5aからの駆動力が作用する駆動力作用部33とが形成されている。
【0015】
ステッピングモータ5aは、図4に示すように、一方の端部側の外周に雄ネジが形成されているロータ軸51(動作部)と、このロータ軸51に取り付けられているロータ52と、このロータ52の外周に配されているステータ55と、ロータ52及びステータ55を覆う中空円筒状のケーシング56aと、中空円筒状のケーシング56aの一方の端部側の開口を塞ぐフランジ56bと、ロータ軸51を支持する軸受54と、ロータ軸51の雄ネジが螺合する雌ネジが形成されているナット部材53とを有している。ロータ軸51の一方の端部には、連結具60が固定されている。このロータ軸51の他方の端部側には、外周方向に突出し、このロータ軸51が伸びている方向に伸びたキー51aが形成されている。ロータ52は、図5に示すように、円筒状を成し、その軸回り方向にN極とS極とが交互に規則正しく励磁されている。すなわち、このステッピングモータ5aは、永久磁石型(PM型)である。このロータ52には、ロータ軸51が挿通される貫通孔52bが形成されている。この貫通孔52bの内周面には、貫通孔52bが貫通している方向に伸び、ロータ軸51のキー51aが嵌まり込めるキー溝52aが形成されている。このため、ロータ軸51をロータ52の貫通孔52bに通すと共に、ロータ軸51のキー51aをロータ52のキー溝52aに係合させると、ロータ軸51は、ロータ52に対して相対回転不能で且つロータ軸51が伸びている方向に相対移動可能に、ロータ52に取り付けられることになる。ステータ55は、ロータ52の外周面と対向するように、中空円筒状のケーシング56aの内周面に固定されている。このステータ55は、2相コイルで、ロータ52がロータ軸回りに回転するよう、励磁される。ナット部材53は、ケーシング56aの一方の端部側に固定されているフランジ56bに固定されている。軸受54は、ケーシング56aの他方の端部側に固定されている。この軸受54は、ロータ軸51を回転可能に且つロータ軸51が伸びている方向に移動可能に支持するものである。このモータ5aは、ロータ軸51が光軸Cとほぼ平行になるよう、固定筒1に固定されている。
【0016】
連結具60は、図1及び図3に示すように、円筒状の中胴部61と、この中胴部61の両端部にそれぞれ形成されている円板状のフランジ62,62とを有している。両フランジ62,62の相互間隔は、光軸Cと平行な方向におけるレンズ枠3aの駆動力作用部33の厚さとほぼ等しく、この両フランジ62,62間に、レンズ枠3aの駆動力作用部33が嵌まり込んでいる。従って、連結具60は、レンズ枠3aに対して、光軸Cと平行な方向に関しては相対移動不能で、光軸Cに垂直な方向に関しては相対移動可能である。連結具60の一方のフランジ62と、ロータ軸51の一方の端部とは、接合されている。
【0017】
次に、この実施形態におけるレンズ駆動機構の動作について説明する。
モータ5aのステータ55に電流を流すと、ロータ52をロータ軸回りに回転させる電磁力が発生して、ロータ52は回転する。ロータ軸51には、ロータ52が相対回転不能に取り付けられているため、ロータ52が回転すると、これに伴ってロータ軸51も回転する。また、ロータ軸51は、フランジ56bに固定されているナット部材53に螺合しているため、この回転に伴って、ロータ軸51が伸びている方向、言い換えると光軸Cと平行な方向に移動する。
【0018】
連結具60は、ロータ軸51の端部に固定されているため、ロータ軸51と一体的に回転しつつ光軸Cと平行な方向の移動する。また、この連結具60は、連結具60の2つのフランジ62,62により、相対回転可能で且つ光軸Cと平行な方向に相対移動不能にレンズ枠3aに係合しているため、レンズ枠3a、及びこのレンズ枠3aに保持されているレンズ4は、ガイド軸2に案内されつつ、光軸方向に移動する。
【0019】
以上のように、この実施形態では、従来技術における送りネジ59やナット部材58に相当するものがモータ5aに内蔵されているので、これら送りネジ59やナット部材58を別途準備する必要がなく、部品点数を少なくすることができると共に、これらを精度良く組み立てる必要がないため、組立て工数を削減することができる。
【0020】
ところで、レンズ枠3aは、ガイド軸2により正確に光軸Cと平行な方向に移動可能に案内されているため、レンズ枠3aの駆動力が光軸Cと平行な方向の成分を含む方向に作用すれば、レンズ枠3aは正確に光軸方向に移動する。このため、この実施形態では、レンズ枠3aを光軸方向に移動させるロータ軸51は、ほぼ光軸Cと平行であればよく、さらに、光軸Cに対して垂直な方向の位置に関しても、ロータ軸51の端部に固定されている連結具60がレンズ枠3aの駆動力作用部33に係合する範囲内であれば自由であるので、モータ5aを非常に高い位置精度で固定筒1に固定する必要がない。また、ロータ軸51の端部に固定されている連結具60は、レンズ枠3aに対して、光軸Cと平行な方向に関しては相対移動不能である一方で、光軸Cに垂直な方向に関しては相対移動可能であるから、モータ5aを高い位置精度で固定筒1に固定しなくても、従来技術のように、不必要な拘束力が発生することはない。従って、部品点数の減少と相俟って、より組立て工数を削減することができる。
【0021】
次に、本発明に係る第2の実施形態としてのレンズ駆動機構について、図6を用いて説明する。
この実施形態は、レンズ枠3bに対して、ステッピングモータ5aのロータ軸51を光軸Cと平行な方向に相対移動不能に取り付ける機構を変更した以外、第1の実施形態と同様である。
【0022】
レンズ枠3bには、第1の実施形態と同様に、外周側へ突出した駆動力作用部33bが形成されている。この駆動力作用部33bには、カメラ本体側(モータ5a側)に光軸Cに対して垂直なロータ軸接触面34が形成されていると共に、被写体側(カメラ本体側の反対側)に光軸Cに対して垂直なバネ接触面35が形成されている。駆動力作用部33bのロータ軸接触面34には、ロータ軸51の一方の端部が接触している。また、駆動力作用部33bのバネ接触面35と、固定筒1の被写体側内面との間には、レンズ枠3bをカメラ本体側に付勢するためのコイルバネ(付勢手段)65が配されている。
【0023】
このように、コイルバネ65を用いることにより、第1の実施形態のように、連結具60を用いなくとも、レンズ枠3bに対してロータ軸51を光軸Cと平行な方向に相対移動不能にすることができる。なお、この実施形態では、レンズ枠3bをカメラ本体側、言い換えると、ロータ軸51側へ付勢するために、コイルバネ65を用いたが、本発明は、これに限定されるものではなく、その他の弾性部材を用いてもよい。
【0024】
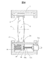
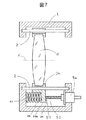
次に、本発明に係る第3の実施形態としてのレンズ駆動機構について、図7を用いて説明する。
この実施形態は、ロータ軸51の一方の端部に、ボール57を回転可能に取り付けた以外、第2の実施形態と同様である。
【0025】
ロータ軸51の一方の端部には、ボール収納凹部が形成され、そこにボール57が自転可能に収められている。つまり、ボールペンのペン先のように、ボール57がロータ軸51の一方の端部に取り付けられている。
【0026】
このように、ロータ軸51(このロータ軸51はボール57を含む概念である。)の一方の端部を球面にしたことで、レンズ枠3bのロータ軸接触面34と、ロータ軸51とは点接触になるため、ロータ軸51を光軸Cと平行にする必要性がさらになくなり、固定筒1に対するモータ5aの取付要求精度をより低くすることができる。また、ロータ軸51が振れ回りし、レンズ枠3のロータ軸接触面34上において、ロータ軸端部の接触位置が変るような場合でも、レンズ枠3bのロータ軸接触面34とロータ軸端部とは転がり接触であるため、モータ5aの負荷を増加させることがない上に、ロータ軸接触面34の摩耗も防ぐことができる。
【0027】
次に、本発明に係る第4の実施形態としてのレンズ駆動機構について、図8を用いて説明する。
この実施形態は、レンズ枠3cを、ロータ軸接触面34aを形成する接触板36と、レンズ4を保持すると共に接触板36が取り付けられるレンズ枠本体37とを有して構成したこと以外、第2の実施形態と同様である。
【0028】
この実施形態において、レンズ枠本体37は、軽量化等のために樹脂又はアルミニウムで形成されている。また、接触板36は、レンズ枠本体37よりも、変形量が小さく且つ耐摩耗性の高い材質であるステンレスで形成されている。このように、レンズ枠3cを形成することにより、レンズ枠3cの耐摩耗性を高めることができると共に軽量化を図ることができる。
【0029】
次に、本発明に係る第5の実施形態としてのレンズ駆動機構について、図9を用いて説明する。
この実施形態は、第4の実施形態における接触板36のマウント部及びモータ5aのマウント部にゴム材38,68を設けた以外、第4の実施形態と同様である。
【0030】
この実施形態におけるレンズ枠3dは、レンズ枠本体37dと、接触板36と、ゴム材38とを有して構成されている。接触板36は、ゴム材38を介してレンズ枠本体37dに固定されている。また、ステッピングモータ5aも、ゴム材68を介して固定筒1に固定されている。
【0031】
ステッピングモータ5aは、通常、断続的な動作をするため、動作過程において振動を伴う。このため、この実施形態では、ステッピングモータ5aの振動が他の部位に伝わるのを極力抑えるために、接触板36やモータ5aのマウント部に、防振材としてのゴム材38,68を設けている。なお、この実施形態では、ロータ軸51の光軸Cとの平行性や光軸Cに垂直な方向におけるモータ5aの位置に関して、高い精度が要求されないので、振動発生源であるモータ5aを弾性変形するゴム材68で支持することが可能になっている。
【0032】
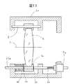
次に、本発明に係る第6の実施形態としてのレンズ駆動機構に付いて、図10を用いて説明する。
この実施形態は、複数のガイド軸2,21のうちの1つのガイド軸21(以下、連動ガイド軸とする)を光軸Cと平行な方向に相対移動不能にレンズ枠3eに取り付けると共に、固定筒1eに相対移動可能に取り付け、この連動ガイド軸21と共にレンズ枠3eをモータ5aで光軸方向に移動させるというものである。
【0033】
ロータ軸51の一方の端部には、連結具60eが固定されている。
【0034】
連動ガイド軸21は、光軸Cと平行で且つロータ軸51と同一直線上に位置するよう配され、レンズ枠3eを貫通している。この連動ガイド軸21には、光軸Cと平行な方向において相対移動不能にレンズ枠3eに取り付けられるために、レンズ枠3eのカメラ本体側の面と被写体側の面とにそれぞれ接触するフランジ22,22が設けられ、この二つのフランジ22,22によってレンズ枠3eを挾み込んでいる。連動ガイド軸21のカメラ本体側の端部には、相対回転可能で且つ光軸Cと平行な方向に相対移動不能に、連結具60eが嵌まり込む係合凹部23が形成されている。
【0035】
この実施形態では、連動ガイド軸21とロータ軸51とを同一直線上に配したので、光軸方向における固定筒1eの長さが長くなるものの、固定筒1eの径を小さくすることができる。また、光軸Cと垂直な方向において、駆動力が作用する位置がレンズ4に近くなるので、レンズ枠3e及びレンズ4にかかるモーメントを小さくすることができ、レンズ枠3e及びレンズ4のよりスムーズな移動が可能になる。さらに、連動ガイド軸21の長さを比較的自由に変えることができるので、モータ5aの配置の自由度を高めることができる。
【0036】
次に、本発明に係る第7の実施形態としてのレンズ駆動機構について、図11を用いて説明する。
この実施形態は、レンズ枠3eに対して、ステッピングモータ5aのロータ軸51を光軸Cと平行な方向に相対移動不能に取り付ける機構を変更した以外、第6の実施形態と同様である。
【0037】
連動ガイド軸21eのカメラ本体側には、ロータ軸51の一方の端部と接触するロータ軸接触面24が形成されている。レンズ枠3eの被写体側の面と固定筒1eの被写体側内面との間には、レンズ枠3eをカメラ本体側に付勢するためのコイルバネ65が配されている。
【0038】
このように、コイルバネ65を用いることにより、第6の実施形態のように、連結具60eを用いなくとも、レンズ枠3eに対してロータ軸51を光軸Cと平行な方向に相対移動不能にすることができる。なお、この実施形態においても、第2の実施形態と同様に、コイルバネ65の換わりに、その他の弾性部材を用いてもよい。
【0039】
なお、以上の各種実施形態において用いたモータは、永久磁石型のステッピングモータ5aであるが、本発明は、これに限定されるものではなく、例えば、可変リアクタンス型(VR型)や複合型(ハイブリッド型)のステッピングモータを用いてもよい。また、ステッピングモータに限定されるものでもなく、ロータ軸に雌ネジを形成し、これに螺合するナット部材を設けることができるものであれば、例えば、DCモータでも、超音波モータでもよい。さらに、出力軸がその軸方向に移動する流体圧シリンダや、動作部が直線移動するリニア電磁モータ等を用いてもよい。
【0040】
【発明の効果】
本発明によれば、レンズ駆動用のアクチュエータとして、レンズの光軸と平行な方向に移動する動作部を有するものを用いたので、回転運動を直線運動に変換するための送りネジやネット部材を別途準備する必要がなく、部品点数を少なくすることができると共に、これらを精度良く組み立てる必要がないため、組立て工数を削減することができる。
【0041】
さらに、レンズ枠は、案内手段により正確に光軸と平行な方向に移動可能に案内されており、レンズ枠の駆動力が光軸と平行な方向の成分を含む方向に作用すれば、レンズ枠は正確に光軸方向に移動するため、レンズ枠を光軸方向に移動させるアクチュエータの動作部は、ほぼ光軸と平行に移動すればよく、さらに、アクチュエータの動作部とレンズ枠とは、光軸と平行な方向においてのみ相対移動不能であればよいので、アクチュエータの取付位置要求精度を低くしても、従来技術のように、不必要な拘束力が発生することはない。従って、部品点数の減少と相俟って、より組立て工数を削減することができる。
【図面の簡単な説明】
【図1】本発明に係る第1の実施形態としてのレンズ駆動機構の断面図である。
【図2】図1におけるA−A線断面図である。
【図3】図1におけるB−B線断面図である。
【図4】本発明に係る第1の実施形態としてのステッピングモータの断面図である。
【図5】本発明に係る第1の実施形態としてのステッピングモータのロータの斜視図である。
【図6】本発明に係る第2の実施形態としてのレンズ駆動機構の断面図である。
【図7】本発明に係る第3の実施形態としてのレンズ駆動機構の断面図である。
【図8】本発明に係る第4の実施形態としてのレンズ駆動機構の断面図である。
【図9】本発明に係る第5の実施形態としてのレンズ駆動機構の断面図である。
【図10】本発明に係る第6の実施形態としてのレンズ駆動機構の断面図である。
【図11】本発明に係る第7の実施形態としてのレンズ駆動機構の断面図である。
【図12】従来のレンズ駆動機構の断面図である。
【符号の説明】
1,1e…固定筒、2…ガイド軸、21,21e…連動ガイド軸、3,3a,3b,3c,3e,3e…レンズ枠、33,33b…駆動力作用部、34,34a…ロータ軸接触面、4…レンズ、5,5a…ステッピングモータ、51…ロータ軸、52…ロータ、53…ナット部材、55…ステータ、57…ボール、60,60e…連結具、65…コイルバネ、36…接触板、37,37d…レンズ枠本体、38,68…ゴム材。

Claims (8)

  1. レンズを光軸方向に移動させるレンズ駆動機構において、
    前記レンズの光軸と平行な方向に移動する動作部を有するアクチュエータと、
    前記レンズを保持し、前記動作部の端部と接触する接触面が形成されたレンズ枠と、
    前記レンズ枠を光軸方向に移動可能に案内する案内手段と、を備え、
    前記光軸と平行な方向に関し、前記アクチュエータの前記動作部に対して前記レンズ枠が相対移動不能に、該レンズ枠と該動作部とが接続され、
    前記レンズ枠は、前記接触面を形成する接触板と、前記レンズを保持すると共に前記接触板が取り付けられるレンズ枠本体とを有し、該接触板は、該レンズ枠本体よりも耐摩耗性の高い材質であることを特徴とするレンズ駆動機構。
  2. 請求項1記載のレンズ駆動機構において、
    前記アクチュエータは、
    前記光軸と平行な方向に伸び、外周の一部に雄ネジが形成されている、前記動作部としてのロータ軸と、
    前記ロータ軸に対して相対回転不能で且つ前記光軸と平行な方向に相対移動可能に、該ロータ軸に取り付けられているロータと、
    前記ロータの外周に配され、前記ロータを回転させるステータと、
    前記ロータ及び前記ステータを覆うケーシングと、
    前記ケーシングに固定され、前記ロータ軸の前記雄ネジが螺合する雌ネジが形成されているナット部材と、
    を備えていることを特徴とするレンズ駆動機構。
  3. 請求項2記載のレンズ駆動機構において、
    前記光軸と平行な方向であって、前記レンズ枠の前記接触面と前記ロータ軸の端部とが接触し合う向きに、該レンズ枠を付勢する付勢手段を備えていることを特徴とするレンズ駆動機構。
  4. 請求項記載のレンズ駆動機構において、
    前記レンズ枠の前記接触面と接触する前記ロータ軸の端部は、球面であることを特徴とするレンズ駆動機構。
  5. 請求項1から4のいずれか一項に記載のレンズ駆動機構において、
    前記レンズ枠は、弾性を有する防振材を有し、前記接触板は、該防振材を介して前記レンズ枠本体に取り付けられていることを特徴とするレンズ駆動機構。
  6. レンズを光軸方向に移動させるレンズ駆動機構において、
    前記レンズを保持するレンズ枠と、
    前記レンズ枠を光軸方向に移動可能に案内する案内手段と、
    前記レンズの光軸と平行な方向に移動する動作部を有するアクチュエータと、
    前記光軸と平行な方向に伸び、該光軸と平行な方向に相対移動不能に前記レンズ枠に取り付けられているガイド軸と、
    前記光軸と平行な方向に相対移動不能に前記ガイド軸に係合し、該光軸と平行な方向に相対移動不能に前記動作部に取り付けられている連結部と、
    を備えていることを特徴とするレンズ駆動機構。
  7. レンズを光軸方向に移動させるレンズ駆動機構において、
    前記レンズを保持するレンズ枠と、
    前記レンズ枠を光軸方向に移動可能に案内する案内手段と、
    前記レンズの光軸と平行な方向に移動する動作部を有するアクチュエータと、
    前記光軸と平行な方向に伸び、前記動作部と接触する接触面が形成され、該光軸と平行な方向に相対移動不能に前記レンズ枠に取り付けられているガイド軸と、
    前記光軸と平行な方向であって、前記ガイド軸の前記接触面と前記動作部とが接触し合う向きに、前記レンズ枠又は該ガイド軸を付勢する付勢手段と、
    を備えていることを特徴とするレンズ駆動機構。
  8. 請求項6及び7のいずれか一項に記載のレンズ駆動機構において、
    前記アクチュエータは、
    前記光軸と平行な方向に伸び、外周の一部に雄ネジが形成され、前記動作部としてのロータ軸と、
    前記ロータ軸に対して相対回転不能で且つ前記光軸と平行な方向に相対移動可能に、該ロータ軸に取り付けられているロータと、
    前記ロータの外周に配され、前記ロータを回転させるステータと、
    前記ロータ及び前記ステータを覆うケーシングと、
    前記ケーシングに固定され、前記ロータ軸の前記雄ネジが螺合する雌ネジが形成されているナット部材と、
    を備えていることを特徴とするレンズ駆動機構。
JP27365896A 1996-10-16 1996-10-16 レンズ駆動機構 Expired - Lifetime JP3622372B2 (ja)

Priority Applications (2)

Application Number Priority Date Filing Date Title
JP27365896A JP3622372B2 (ja) 1996-10-16 1996-10-16 レンズ駆動機構
US08/949,688 US5966248A (en) 1996-10-16 1997-10-14 Lens driving mechanism having an actuator

Applications Claiming Priority (1)

Application Number Priority Date Filing Date Title
JP27365896A JP3622372B2 (ja) 1996-10-16 1996-10-16 レンズ駆動機構

Publications (2)

Publication Number Publication Date
JPH10123399A JPH10123399A (ja) 1998-05-15
JP3622372B2 true JP3622372B2 (ja) 2005-02-23

Family

ID=17530758

Family Applications (1)

Application Number Title Priority Date Filing Date
JP27365896A Expired - Lifetime JP3622372B2 (ja) 1996-10-16 1996-10-16 レンズ駆動機構

Country Status (1)

Country Link
JP (1) JP3622372B2 (ja)

Families Citing this family (6)

* Cited by examiner, † Cited by third party
Publication number Priority date Publication date Assignee Title
KR101026179B1 (ko) * 2009-07-28 2011-04-05 삼성전기주식회사 카메라모듈
KR20120082460A (ko) * 2009-11-24 2012-07-23 코니카 미놀타 어드밴스드 레이어즈 인코포레이티드 구동 장치
JP2012118467A (ja) * 2010-12-03 2012-06-21 Canon Inc レンズ鏡筒、およびカメラ
KR101887588B1 (ko) * 2016-09-19 2018-08-10 엘아이지넥스원 주식회사 평면거울 이동장치
JP7130974B2 (ja) * 2018-02-05 2022-09-06 コニカミノルタ株式会社 レンズ群移動機構及び光学機器
CN116149005A (zh) * 2022-12-08 2023-05-23 中山联合光电研究院有限公司 激光照明镜头的调焦结构、激光照明镜头及激光照明设备

Also Published As

Publication number Publication date
JPH10123399A (ja) 1998-05-15

Similar Documents

Publication Publication Date Title
US6882073B2 (en) Linear type actuator
JP4750796B2 (ja) 回転検出器およびトルクセンサ
US5377048A (en) Lens barrel
US7436094B2 (en) Rotary actuator
US20060071190A1 (en) Linear valve actuator
JP3622372B2 (ja) レンズ駆動機構
US20250135666A1 (en) Joint module and joint robot
US7605507B2 (en) Motor apparatus
US4693580A (en) Motor
US6870364B2 (en) Connection structure of non-contact rotary sensor with rotating shaft
JPH10142472A (ja) レンズ駆動機構
EP1693947A1 (en) Stepping motor
JPH10123405A (ja) レンズ駆動機構
EP1434331A2 (en) Motor with built-in bearing
JP2008167585A (ja) 減速機構付き電動モータ
JP6529673B2 (ja) 車載用アクチュエータ
JP2004343992A (ja) リニアドライブのための電気モータ
JP4366788B2 (ja) リニア駆動機構付きモータ
JP7349160B2 (ja) 磁気式動力伝達構造体
KR101728167B1 (ko) 스텝핑 모터
JP6009919B2 (ja) リニアアクチュエータ
JPH10133090A (ja) レンズ駆動機構
JPH08121560A (ja) 回転阻止機構およびこの機構を用いたアクチュエータ
KR20220005910A (ko) 액압 공급장치
JP7325386B2 (ja) 直動式アクチュエータ

Legal Events

Date Code Title Description
A977 Report on retrieval

Free format text: JAPANESE INTERMEDIATE CODE: A971007

Effective date: 20040723

A131 Notification of reasons for refusal

Free format text: JAPANESE INTERMEDIATE CODE: A131

Effective date: 20040803

A521 Written amendment

Free format text: JAPANESE INTERMEDIATE CODE: A523

Effective date: 20041004

TRDD Decision of grant or rejection written
A01 Written decision to grant a patent or to grant a registration (utility model)

Free format text: JAPANESE INTERMEDIATE CODE: A01

Effective date: 20041102

A61 First payment of annual fees (during grant procedure)

Free format text: JAPANESE INTERMEDIATE CODE: A61

Effective date: 20041115

R150 Certificate of patent or registration of utility model

Free format text: JAPANESE INTERMEDIATE CODE: R150

FPAY Renewal fee payment (event date is renewal date of database)

Free format text: PAYMENT UNTIL: 20071203

Year of fee payment: 3

FPAY Renewal fee payment (event date is renewal date of database)

Free format text: PAYMENT UNTIL: 20101203

Year of fee payment: 6

FPAY Renewal fee payment (event date is renewal date of database)

Free format text: PAYMENT UNTIL: 20101203

Year of fee payment: 6

FPAY Renewal fee payment (event date is renewal date of database)

Free format text: PAYMENT UNTIL: 20131203

Year of fee payment: 9

FPAY Renewal fee payment (event date is renewal date of database)

Free format text: PAYMENT UNTIL: 20131203

Year of fee payment: 9

S531 Written request for registration of change of domicile

Free format text: JAPANESE INTERMEDIATE CODE: R313531

FPAY Renewal fee payment (event date is renewal date of database)

Free format text: PAYMENT UNTIL: 20131203

Year of fee payment: 9

R350 Written notification of registration of transfer

Free format text: JAPANESE INTERMEDIATE CODE: R350

FPAY Renewal fee payment (event date is renewal date of database)

Free format text: PAYMENT UNTIL: 20131203

Year of fee payment: 9

R250 Receipt of annual fees

Free format text: JAPANESE INTERMEDIATE CODE: R250

R250 Receipt of annual fees

Free format text: JAPANESE INTERMEDIATE CODE: R250

EXPY Cancellation because of completion of term