JP3617536B2 - 玉入れゲーム機 - Google Patents

玉入れゲーム機 Download PDF

Info

Publication number
JP3617536B2
JP3617536B2 JP09546594A JP9546594A JP3617536B2 JP 3617536 B2 JP3617536 B2 JP 3617536B2 JP 09546594 A JP09546594 A JP 09546594A JP 9546594 A JP9546594 A JP 9546594A JP 3617536 B2 JP3617536 B2 JP 3617536B2
Authority
JP
Japan
Prior art keywords
ball
game machine
ball game
rotation support
machine according
Prior art date
Legal status (The legal status is an assumption and is not a legal conclusion. Google has not performed a legal analysis and makes no representation as to the accuracy of the status listed.)
Expired - Fee Related
Application number
JP09546594A
Other languages
English (en)
Other versions
JPH07275498A (ja
Inventor
正之 山田
造三 石川
Current Assignee (The listed assignees may be inaccurate. Google has not performed a legal analysis and makes no representation or warranty as to the accuracy of the list.)
Sega Corp
Original Assignee
Sega Corp
Sega Games Co Ltd
Priority date (The priority date is an assumption and is not a legal conclusion. Google has not performed a legal analysis and makes no representation as to the accuracy of the date listed.)
Filing date
Publication date
Application filed by Sega Corp, Sega Games Co Ltd filed Critical Sega Corp
Priority to JP09546594A priority Critical patent/JP3617536B2/ja
Publication of JPH07275498A publication Critical patent/JPH07275498A/ja
Application granted granted Critical
Publication of JP3617536B2 publication Critical patent/JP3617536B2/ja
Anticipated expiration legal-status Critical
Expired - Fee Related legal-status Critical Current

Links

Images

Landscapes

  • Pinball Game Machines (AREA)

Description

【0001】
【産業上の利用分野】
本発明は、バスケットを狙って玉を飛ばしバスケットに入れるようにプレイする玉入れゲーム機に関し、特に玉を打ち出す機構に関する。
【0002】
【従来技術】
かかる玉入れゲーム機は、ゴールとなるバスケットが左右に移動していて、玉を飛ばす方向とタイミングを適当に合わせないとバスケットに玉が入らない。
そこで玉を飛ばす方向が異なる複数の玉打ち出し装置を並べてプレイヤーが選択して作動させる例がある。
【0003】
【解決しようとする課題】
しかし玉を飛ばす方向を任意の方向に選択することはできず、またできるだけ種々の方向に玉を飛ばすことができるようにするためには多数の玉打ち出し装置を配置しなければならず配置スペースの確保が問題となるとともにコストアップとなる。
また玉打ち出し装置を選択して操作するのに時間がかかり、左右に移動するバスケットを狙って玉を打ち出すタイミングが合わせ難い。
【0004】
本発明はかかる点に鑑みなされたもので、その目的とする処は多数の玉打ち出し装置を配置することなく玉を打ち出す方向を任意に選択できる玉入れゲーム機を安価に供する点にある。
【0005】
【課題を解決するための手段および作用】
上記目的を達成するために、本発明は、玉を飛ばしてバスケットに入れる玉入れゲーム機において、プレイヤーが操作する回転ハンドルと発射ボタンを備える操作卓と、前記回転ハンドルの回転操作が運動伝達機構を介して伝達され鉛直軸を中心に回転される回転支持台と、前記回転支持台に設けられ前記発射ボタンの操作により作動し玉を斜め上方に飛ばす玉発射手段とを備えた玉入れゲーム機とした。
【0006】
回転ハンドルを回転すると運動伝達機構を介して回転支持台を回転し回転支持台が支持する玉発射手段が玉を飛ばす方向を任意に変えることができる。
すなわち玉を飛ばす方向をハンドル操作で任意に変えることができるため、多数の玉打ち出し装置を必要とせず配置スペースが小さくてよくコストも抑制することができる。
【0007】
またネジ棒の回動で棒突出器を摺動して玉の飛距離を調整でき、微調整も可能である。
さらに飛んできた玉を発射手段に導き回収する玉回収手段を備えることで、玉の回収および発射手段へのセットが自動的に行える。
【0008】
【実施例】
以下図1ないし図7に図示した本発明の一実施例について説明する。
図1は本実施例の玉入れゲーム機1の外観図である。
ほぼ直方体状の筐体2の背面に沿って上方にバックボード3が延出しており、筐体2の上面とバックボード3の前面で形成されたコーナー部分が透明板部材4で覆われてゲーム空間5を構成している。
【0009】
バックボード3の透明板部材4より上方へはみ出した部分3aにはアドバタイズ画面が描かれるとともに左右にランプ表示部11が2つずつ配置され、筐体2は透明板部材4より前方に操作卓6が延出しており、同操作卓6には玉発射方向調整ハンドル7と2つの玉発射ボタン8とが左右に一対配設されて一人または二人のプレイヤーがプレイすることができる。
筐体2の前面には右上方にコイン投入口9があり、中央下方には払い出された景品を取り出す景品取出口10がある。
【0010】
ゲーム空間5には、バックボード3の前面に沿って猫のキャラクター15が円錐筒状のバスケット16を持って揺動しながら左右に移動自在に設けられ、その手前側平面上に一対の玉発射孔17が左右に設置されている。
発射される玉18はピンポン玉程度の大きさの軽い玉で、玉発射孔17に嵌まると前記玉発射方向調整ハンドル7の回動操作で発射方向を変えることができ、玉発射ボタン8を押すことで玉発射ソレノイド37が作動して玉がバックボード3に向けて発射され、うまくいけば玉がバスケット16に入る。
【0011】
バスケット16は底がなく玉18は下方へ抜け落ちるが、内部にマイクロスイッチからなるゴールスイッチ19があり、玉18の入ったことは検知することができ、バックボード3のゲーム空間5内で前面右上の得点表示部12に得点が加算されて表示される。
発射された玉18は外れた玉もバスケット16に入った玉も若干手前側が低く傾斜した平面を転がってきて順次玉発射孔17に嵌まるようになっている。
【0012】
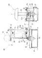
この玉発射孔17に嵌まった玉18を打ち出す玉打ち出し機構を以下図2ないし図5に示し説明する。
図2は同玉打ち出し機構の平面図であり、図3は同正面図、図4は玉発射方向調整装置の左側面図、図5は玉発射装置の右側面図である。
図2の平面図および図3の正面図において右側の構造体が操作卓6に配置される玉発射方向を調整操作する玉発射方向調整装置20であり、左側の構造体が前記ゲーム空間5の下方に配置される玉を発射する玉発射装置30である。
【0013】
まず玉発射方向調整装置20は、図2ないし図4を参照して、基台21が下方を開口した矩形の箱形状をしており、その側壁に下端を固着された支持ブラケット22が所定高さで側方に折曲されて水平板部22aを基台21の上方に平行に形成していおり、この水平板部22aの前端部分を2本の支柱23によって基台21に支持されている。
【0014】
この支持ブラケット22の水平板部22aをハンドル軸24が垂直に貫き下方の基台21に回動自在に支持されており、このハンドル軸24の上端に前記玉発射方向調整ハンドル7が嵌着されている。
そして水平板部22aと基台21との間におけるハンドル軸24に基端を嵌着された揺動板部材25が側方に延出しており、同揺動板部材25は玉発射方向調整ハンドル7を回せばハンドル軸24を介して一体に揺動する。
この揺動板部材25の先端部に他方の玉発射装置30側と連結するリンク棒27の一端が枢軸26により枢着されている。
【0015】
玉発射装置30側では、箱状の基台31の上に矩形板の3辺を下方へ折り曲げ他の1辺の両端を斜めに折曲して偏平の箱状とした回転支持台32が中央の垂直回転軸33に回転自在に支持されて設けられている。
回転支持台32は基台31の上面に近接して回転し、両端部を斜めに折曲して中間部の側方に突出した部分32aに前記リンク棒27の一端が枢軸34により枢着されている。
【0016】
前記揺動板部材25の揺動中心であるハンドル軸24と回転支持台32の回転中心である垂直回転軸33およびリンク棒27の両端の枢軸26,34の以上4軸は平行四辺形の頂点にあり、揺動板部材25と回転支持台32とはリンク棒27を介して平行リンクを構成している。
したがって玉発射方向調整ハンドル7をある角度回して揺動板部材25を揺動するとリンク棒27を介して回転支持台32を同じ方向に同じ角度回転することができる。
【0017】
この回転支持台32の上に縦長の枠体35が一体に立設されており、同枠体35は直方体形状の箱の1側壁と前壁を欠き上下壁と1側壁35aと後壁35bとから構成されていて、同枠体35内にソレノイド37を掴持するホルダー36が前後に摺動自在に嵌合されている。
ソレノイド37は上側が垂直より前方へ若干傾き伸縮自在のプランジャー38が斜め上方に向いた姿勢でホルダー36に固定されていて、通電によりプランジャー38は斜め上方に突出する。
【0018】
枠体35の上壁35cの前端寄りに前記玉発射孔17を備える玉発射板39が設けられ、玉発射孔17は前記プランジャー38の突出方向に位置し、かつ玉発射孔17の中心は回転支持台32の垂直回転軸33の延長上にある。
したがって回転支持台32上に固定された枠体35が垂直回転軸33を中心に回転しても玉発射孔17の位置は変わらない。
【0019】
ホルダー36の下部前寄りに左右の側壁間に連結板部材40が架設されており、同連結板部材40の中央には雌ネジが刻設されている。
一方枠体35の後壁35bの下部には蝶ネジ41が貫通して回動自在に支持されて棒状の先端ネジ部が連結部材40の雌ネジに螺入している。
したがって蝶ネジ41の後方に露出した基端把持部を持って回動するとネジ部が螺入した連結部材40をホルダー36とともに前後に摺動させることができる。
【0020】
ホルダー36の側壁の上下にそれぞれ突設されたネジ棒42が枠体35の側壁35aに穿設された前後に長い長孔43にそれぞれ貫通されて端部に把持部付きのナット44が螺合され緊締することでホルダー36を枠体35に固定することができる。
ホルダー36に掴持されたソレノイド37を前後に移動調整するときにはナット44を緩めてから蝶ネジ41を回動してソレノイド37を移動させ、調整がすめばナット44を緊締する。
【0021】
蝶ネジ41の回動によりソレノイド37の位置調整が行われるので、微妙な位置の調整も可能であり、かつドライバー等の道具を全く必要とせずに位置調整を行うことができる。
こうしてソレノイド37の前後方向位置が調整されることで、玉発射板39の玉発射孔17に嵌まった玉18に対するソレノイド37のプランジャー38の相対位置が変化し、プランジャー38の突出により打ち出される玉18の飛距離が異なってくる。
【0022】
すなわち玉18に対するプランジャー37の位置が異なることでプランジャー37が突出して玉18に当たるときの勢いに違いが生じ、この勢いの違いによって玉の飛距離に差が出てくる。
したがって予め蝶ネジ41を回動して適当な飛距離に調整しておく。
【0023】
このように飛距離を調整されたソレノイドはプレイヤーが玉発射方向調整ハンドル7を回転操作することで玉を打ち出す方向を任意に変えることができる。
【0024】
本実施例の玉入れゲーム機1の制御はコンピュータが行っており、同制御系の概略ブロック図を図6に示す。
コンピュータを搭載するメインボード50には前記コイン投入口9に投入されたコインを検知するコイン投入センサー51からの検知信号、前記玉発射ボタン8のオン信号および前記リミットスイッチ26,ゴールスイッチ19の検知信号が入力され、メインボード50はこれらの信号を処理してゲームを進行させ、制御出力側ではキャラクター15およびバスケット16を動かすステッピングモータ40、玉を飛ばす玉発射ソレノイド37、景品の払出しを行う景品払出モータ53等の駆動制御を行うとともに、前記ランプ表示部11と得点表示部12の表示制御さらにスピーカ54の音声制御を行う。
【0025】
以上のような制御系の下でゲームが展開され、そのゲーム進行の制御手順の概略を図7に示し簡単に説明する。
まず電源が入れられると初期設定がなされ(ステップ1)、次いでコインが投入されるまで(ステップ3)アドバタイズ状態とされ(ステップ2)、コインが投入されるとプレイヤーの人数が選択され(ステップ4)、1プレイヤーのときはステップ5に進みゲームレベルを低くするが、2プレイヤーであればステップ6に進んでゲームレベルを高くする。
【0026】
プレイヤーの人数はコインの投入枚数により決まり、ゲームレベルはステッピングモータ40の回転速度を変えてゴールであるバスケット16の動きを速くしたり遅くしたりすることで行い、当然速い方がレベルが高い。
また得点が設定値に達すると景品の払出しを行うがその設定値を高くすることでレベルを上げることができる。
【0027】
ゲームレベルが設定されるとゲーム開始処理がなされ(ステップ7)、ゲームがスタートし、ゲーム時間が限られており、ステップ8ではタイムオーバーしたか否かを判別し、タイムオーバーするまではステップ9に進んでゴールしたか否かを判別し、ゴールしていなければステップ8に戻り、ゴールすればステップ10に進んで点数を加算し、得点が設定値に達したか否かを判別し設定値未満であればステップ8に戻る。
【0028】
すなわちタイムオーバーするまでは得点が設定値に達するまでプレイが続けられ、玉18がバスケット16に入りゴールする度に得点が加算されていく。
そして得点が設定値に達するとステップ11からステップ12に進み景品の払出しが行われ、次いでゲームオーバー処理がなされ(ステップ13)、ステップ2に戻る。
また得点が設定値に達する前にタイムオーバーとなるとステップ8からステップ13に飛びゲームオーバー処理に入る。
【0029】
以上のようにゲームが進行制御される。
したがってプレイヤーはコインを投入してゲームがスタートすると前記したようにゴールとなるバスケット16がキャラクター15とともに揺動しながら左右に移動するので、この動くバスケット16を狙って玉発射方向調整ハンドル7を操作し適当なタイミングで玉発射ボタン8を押すとソレノイド37が作動して玉を飛ばし、うまくいけばバスケット8に玉18が入り得点が加算される。
なお得点が設定値に近づくとランプ表示部11の所定部分が点灯してもう少しで得点が設定値に達して景品がもらえることを知らせるようになっている。
【0030】
本実施例では、玉打ち出し装置を左右2つ設置し各玉打ち出し装置は玉発射方向調整ハンドル7の操作で左右に移動するバスケット16を狙って玉を飛ばす方向を任意に変えることができ、プレイヤーが操作し易い。
玉を飛ばす方向を任意に調整できるので、玉の飛びだす方向を変えた多数の玉打ち出し装置を設置する必要がなく、設置スペースも小さくてよい。
また少ない玉打ち出し装置によりコストも抑制することができる。
【0031】
玉の飛距離も道具を使わず簡単に調整することができ、蝶ネジによる調整なので、微調整も可能である。
本実施例では手動により予め飛距離を調整しておくものであったが、蝶ネジに相当するネジ棒をモータにより回動するようにしプレイヤーがスイッチ操作で作動できるようにすることで、ゲーム中に随時プレイヤーが飛距離を調整することも可能である。
【0032】
玉を打ち出すのにソレノイド37のプランジャー38の突出によっていたが、ソレノイドに限らずエアシリンダーやオイルシリンダー等を用いることもできる。
また玉発射方向調整ハンドルの回動を回転支持台32に伝達するのにリンク棒27を介して行っていたが、ベルト伝達機構を用いることもできる。
【0033】
【発明の効果】
本発明は、ハンドルを回転すると運動伝達機構を介して回転支持台を回転し回転支持台が支持する棒突出器の棒の突出方向を任意に変えることができる。
すなわち玉を飛ばす方向をハンドル操作で任意に変えることができるため、多数の玉打ち出し装置を必要とせず配置スペースが小さくてよくコストも抑制することができる。
【0034】
ネジ棒の回動で棒突出器を摺動して玉の飛距離を調整でき、微調整も可能である。
【図面の簡単な説明】
【図1】本発明に係る一実施例の玉入れゲーム機の外観図である。
【図2】本実施例の玉打ち出し機構の平面図である。
【図3】同正面図である。
【図4】玉発射方向調整装置の左側面図である。
【図5】玉発射装置の右側面図である。
【図6】同実施例の制御系の概略ブロック図である。
【図7】同制御系による制御手順を示すフローチャートである。
【符号の説明】
1…玉入れゲーム機、2…筐体、3…バックボード、4…透明板部材、5…ゲーム空間、6…操作卓、7…玉発射方向調整ハンドル、8…玉発射ボタン、9…コイン投入口、10…景品取出口、11…ランプ表示部、12…得点表示部、
15…キャラクター、16…バスケット、17…玉発射孔、18…玉、19…ゴールスイッチ、
20…玉発射方向調整装置、21…基台、22…支持ブラケット、23…支柱、24…ハンドル軸、25…揺動板部材、26…枢軸、27…リンク棒、
30…玉発射装置、31…基台、32…回転支持台、33…垂直回転軸、34…枢軸、35…枠体、36…ホルダー、37…ソレノイド、38…プランジャー、39…玉発射板、40…連結部材、41…蝶ネジ、42…ネジ棒、43…長孔、44…ナット、
50…メインボード、51…コイン投入センサー、53…景品払出装置、54…スピーカ。

Claims (5)

  1. 玉を飛ばしてバスケットに入れる玉入れゲーム機において、
    プレイヤーが操作する回転ハンドルと発射ボタンを備える操作卓と、
    前記回転ハンドルの回転操作が運動伝達機構を介して伝達され鉛直軸を中心に回転される回転支持台と、
    前記回転支持台に設けられ前記発射ボタンの操作により作動し玉を斜め上方に飛ばす玉発射手段と、
    を備えたことを特徴とする玉入れゲーム機。
  2. 前記玉発射手段は、
    前記回転支持台に立設された枠体の上部に設けられ玉を支持する玉発射孔と、
    前記玉発射孔の下方で前記枠体に対して水平直線方向に摺動自在に支持され、棒を斜め上方に突出させて前記玉発射孔に支持された玉を突き飛ばす棒突出器と、
    前記枠体に対して前記棒突出器をその摺動方向に移動させるネジ棒とを備えたことを特徴とする請求項1記載の玉入れゲーム機。
  3. 前記玉発射手段により飛ばされた玉を前記発射孔に導く傾斜面が設けられたことを特徴とする請求項2記載の玉入れゲーム機。
  4. 前記棒突出器は電磁ソレノイドであることを特徴とする請求項2または請求項3記載の玉入れゲーム機。
  5. 前記棒突出器はエアシリンダーであることを特徴とする請求項2または請求項3記載の玉入れゲーム機。
JP09546594A 1994-04-11 1994-04-11 玉入れゲーム機 Expired - Fee Related JP3617536B2 (ja)

Priority Applications (1)

Application Number Priority Date Filing Date Title
JP09546594A JP3617536B2 (ja) 1994-04-11 1994-04-11 玉入れゲーム機

Applications Claiming Priority (1)

Application Number Priority Date Filing Date Title
JP09546594A JP3617536B2 (ja) 1994-04-11 1994-04-11 玉入れゲーム機

Publications (2)

Publication Number Publication Date
JPH07275498A JPH07275498A (ja) 1995-10-24
JP3617536B2 true JP3617536B2 (ja) 2005-02-09

Family

ID=14138413

Family Applications (1)

Application Number Title Priority Date Filing Date
JP09546594A Expired - Fee Related JP3617536B2 (ja) 1994-04-11 1994-04-11 玉入れゲーム機

Country Status (1)

Country Link
JP (1) JP3617536B2 (ja)

Families Citing this family (6)

* Cited by examiner, † Cited by third party
Publication number Priority date Publication date Assignee Title
JP3856877B2 (ja) * 1996-09-11 2006-12-13 グローリー機器株式会社 ゲーム装置
JPH11188174A (ja) * 1997-12-25 1999-07-13 Sega Enterp Ltd 浮遊遊技装置
JP2007185205A (ja) * 2006-01-11 2007-07-26 Konami Digital Entertainment:Kk ゲーム装置
KR101586685B1 (ko) * 2014-03-05 2016-01-19 김문기 컬링 게임기
JP2018111010A (ja) * 2018-04-25 2018-07-19 株式会社コナミデジタルエンタテインメント ゲーム装置
CN115193019B (zh) * 2022-07-14 2025-09-19 广州城市理工学院 一种取料方法

Also Published As

Publication number Publication date
JPH07275498A (ja) 1995-10-24

Similar Documents

Publication Publication Date Title
US5733193A (en) Boxing arcade game
JP5373158B1 (ja) 遊技機
US5326108A (en) Coin game
JP3617536B2 (ja) 玉入れゲーム機
KR200383671Y1 (ko) 게임용 표적 장치
JPH07313678A (ja) パチンコ装置
US10926166B1 (en) Rotatable ball momentum transfer assembly for an amusement game
JP3485875B2 (ja) メダル飛ばしゲーム装置およびメダル飛ばしゲーム方法
KR200171102Y1 (ko) 우측에서 볼을 발사하는 핀볼 오락기(ⅱ)
TWI911772B (zh) 獎品獲取遊戲機
JP3357204B2 (ja) マルチプレイゲーム機
KR20180130813A (ko) 경품뽑기 사격장치를 이용한 경품 제공방법
KR200171101Y1 (ko) 우측에서 볼을 발사하는 핀볼 오락기(ⅰ)
JPH0126713B2 (ja)
JPH0522226Y2 (ja)
KR200240883Y1 (ko) 낙하물 골인 게임기
JP2686048B2 (ja) ホッケーゲーム機
KR200194499Y1 (ko) 경품 교환용 오락기
JP2908851B2 (ja) 弾球遊技機
TW202600213A (zh) 獎品獲取遊戲機
JP3372319B2 (ja) ゲーム装置およびゲーム装置の制御方法
KR200228431Y1 (ko) 축구 게임기
JPH07275499A (ja) 玉入れゲーム機
JPH0417186Y2 (ja)
JP2003038817A (ja) 遊技機

Legal Events

Date Code Title Description
A977 Report on retrieval

Free format text: JAPANESE INTERMEDIATE CODE: A971007

Effective date: 20040702

A131 Notification of reasons for refusal

Free format text: JAPANESE INTERMEDIATE CODE: A131

Effective date: 20040707

A521 Written amendment

Free format text: JAPANESE INTERMEDIATE CODE: A523

Effective date: 20040906

TRDD Decision of grant or rejection written
A01 Written decision to grant a patent or to grant a registration (utility model)

Free format text: JAPANESE INTERMEDIATE CODE: A01

Effective date: 20041020

A61 First payment of annual fees (during grant procedure)

Free format text: JAPANESE INTERMEDIATE CODE: A61

Effective date: 20041102

R150 Certificate of patent or registration of utility model

Free format text: JAPANESE INTERMEDIATE CODE: R150

FPAY Renewal fee payment (event date is renewal date of database)

Free format text: PAYMENT UNTIL: 20081119

Year of fee payment: 4

FPAY Renewal fee payment (event date is renewal date of database)

Free format text: PAYMENT UNTIL: 20091119

Year of fee payment: 5

LAPS Cancellation because of no payment of annual fees