JP3575615B2 - 三次元的に位置決め可能なマスクホルダを有するリソグラフ装置 - Google Patents

三次元的に位置決め可能なマスクホルダを有するリソグラフ装置 Download PDF

Info

Publication number
JP3575615B2
JP3575615B2 JP53632296A JP53632296A JP3575615B2 JP 3575615 B2 JP3575615 B2 JP 3575615B2 JP 53632296 A JP53632296 A JP 53632296A JP 53632296 A JP53632296 A JP 53632296A JP 3575615 B2 JP3575615 B2 JP 3575615B2
Authority
JP
Japan
Prior art keywords
force
axis direction
linear motor
lithographic apparatus
mask holder
Prior art date
Legal status (The legal status is an assumption and is not a legal conclusion. Google has not performed a legal analysis and makes no representation as to the accuracy of the status listed.)
Expired - Fee Related
Application number
JP53632296A
Other languages
English (en)
Other versions
JPH10506239A (ja
Inventor
エリク ルロフ ロープストラ
フランク ベルンハルト スペーリング
ヘンドリクス ヨハネス マリア メイエル
エイク イアン ファン
Original Assignee
アーエスエム リソグラフィ ベスローテン フェンノートシャップ
Priority date (The priority date is an assumption and is not a legal conclusion. Google has not performed a legal analysis and makes no representation as to the accuracy of the date listed.)
Filing date
Publication date
Family has litigation
First worldwide family litigation filed litigation Critical https://patents.darts-ip.com/?family=8220330&utm_source=google_patent&utm_medium=platform_link&utm_campaign=public_patent_search&patent=JP3575615(B2) "Global patent litigation dataset” by Darts-ip is licensed under a Creative Commons Attribution 4.0 International License.
Application filed by アーエスエム リソグラフィ ベスローテン フェンノートシャップ filed Critical アーエスエム リソグラフィ ベスローテン フェンノートシャップ
Publication of JPH10506239A publication Critical patent/JPH10506239A/ja
Application granted granted Critical
Publication of JP3575615B2 publication Critical patent/JP3575615B2/ja
Anticipated expiration legal-status Critical
Expired - Fee Related legal-status Critical Current

Links

Images

Classifications

    • GPHYSICS
    • G03PHOTOGRAPHY; CINEMATOGRAPHY; ANALOGOUS TECHNIQUES USING WAVES OTHER THAN OPTICAL WAVES; ELECTROGRAPHY; HOLOGRAPHY
    • G03FPHOTOMECHANICAL PRODUCTION OF TEXTURED OR PATTERNED SURFACES, e.g. FOR PRINTING, FOR PROCESSING OF SEMICONDUCTOR DEVICES; MATERIALS THEREFOR; ORIGINALS THEREFOR; APPARATUS SPECIALLY ADAPTED THEREFOR
    • G03F7/00Photomechanical, e.g. photolithographic, production of textured or patterned surfaces, e.g. printing surfaces; Materials therefor, e.g. comprising photoresists; Apparatus specially adapted therefor
    • G03F7/70Microphotolithographic exposure; Apparatus therefor
    • G03F7/70691Handling of masks or workpieces
    • G03F7/707Chucks, e.g. chucking or un-chucking operations or structural details
    • GPHYSICS
    • G03PHOTOGRAPHY; CINEMATOGRAPHY; ANALOGOUS TECHNIQUES USING WAVES OTHER THAN OPTICAL WAVES; ELECTROGRAPHY; HOLOGRAPHY
    • G03FPHOTOMECHANICAL PRODUCTION OF TEXTURED OR PATTERNED SURFACES, e.g. FOR PRINTING, FOR PROCESSING OF SEMICONDUCTOR DEVICES; MATERIALS THEREFOR; ORIGINALS THEREFOR; APPARATUS SPECIALLY ADAPTED THEREFOR
    • G03F7/00Photomechanical, e.g. photolithographic, production of textured or patterned surfaces, e.g. printing surfaces; Materials therefor, e.g. comprising photoresists; Apparatus specially adapted therefor
    • G03F7/70Microphotolithographic exposure; Apparatus therefor
    • G03F7/70691Handling of masks or workpieces
    • G03F7/70716Stages
    • GPHYSICS
    • G03PHOTOGRAPHY; CINEMATOGRAPHY; ANALOGOUS TECHNIQUES USING WAVES OTHER THAN OPTICAL WAVES; ELECTROGRAPHY; HOLOGRAPHY
    • G03FPHOTOMECHANICAL PRODUCTION OF TEXTURED OR PATTERNED SURFACES, e.g. FOR PRINTING, FOR PROCESSING OF SEMICONDUCTOR DEVICES; MATERIALS THEREFOR; ORIGINALS THEREFOR; APPARATUS SPECIALLY ADAPTED THEREFOR
    • G03F7/00Photomechanical, e.g. photolithographic, production of textured or patterned surfaces, e.g. printing surfaces; Materials therefor, e.g. comprising photoresists; Apparatus specially adapted therefor
    • G03F7/70Microphotolithographic exposure; Apparatus therefor
    • G03F7/708Construction of apparatus, e.g. environment aspects, hygiene aspects or materials
    • G03F7/70808Construction details, e.g. housing, load-lock, seals or windows for passing light in or out of apparatus
    • G03F7/70833Mounting of optical systems, e.g. mounting of illumination system, projection system or stage systems on base-plate or ground

Landscapes

  • Physics & Mathematics (AREA)
  • General Physics & Mathematics (AREA)
  • Health & Medical Sciences (AREA)
  • Engineering & Computer Science (AREA)
  • Environmental & Geological Engineering (AREA)
  • Epidemiology (AREA)
  • Public Health (AREA)
  • Exposure And Positioning Against Photoresist Photosensitive Materials (AREA)
  • Exposure Of Semiconductors, Excluding Electron Or Ion Beam Exposure (AREA)

Description

本発明は、Z軸方向に見て、Z軸方向に直交するX軸方向及びこのX軸方向とZ軸方向の双方に直交するY軸方向に平行に第1位置決め装置によって位置決めされるサブストレートホルダと、Z軸方向に平行な主軸線を有する合焦装置と、第2位置決め装置によってX軸方向に平行に位置決めされるマスクホルダと、放射源とをこの順序で支持するマシンフレームを有するリソグラフ装置に関するものである。
冒頭の段落に記載の種類のリソグラフ装置は、米国特許第5,194,893号に記載されている。この既知のリソグラフ装置は、光学的リソグラフィックプロセスによって集積半導体回路の製造に使用される。既知のリソグラフ装置の放射源を光源とし、合焦装置を光学的レンズ系とし、このレンズ系によって、マスクホルダに載置したマスクに設けた集積半導体回路の部分パターンを、サブストレートホルダ上に載置した半導体サブストレートに縮小スケールで結像させる。このような半導体サブストレートは、個別の半導体回路を設けた多数のフィールドを設ける。半導体サブストレートの個別のフィールドを、リソグラフ装置によってマスクを介してこの目的のために順次露光する。このプロセスは、各回毎に異なる部分パターンを有する異なるマスクを使用するプロセスを多数回繰り返して、複雑な製造の集積半導体回路を製造することができる。半導体サブストレートの単独のフィールドの露光中は、半導体サブストレート及びマスクを腰装置に対してX軸方向に平行に第1位置決め装置及び第2位置決め装置によってそれぞれ同期移動させる。このようにして、マスク上のパターンをX軸方向に平行に走査して半導体サブストレート上に同期結像させる。このようにして、合焦装置によって半導体サブストレート上に結像することができる最大表面積が合焦装置の開孔(アパーチャ)の寸法により制限される度合いを少なくすることができる。半導体サブストレートの次のフィールドは、2個の順次の露光ステップ間で、X軸又はY軸方向に平行に第1位置決め装置によって生ずるサブストレートホルダの適当な移動によって合焦装置に対する所定位置に送られる。集積半導体回路はサブミクロンレンジの微細寸法の構造を有する。従って、順次のマスクに存在する部分パターンは、サブミクロンの精度で互いに半導体サブストレートのフィールド上に結像される。従って、半導体サブストレート及びマスクは、やはり単独のフィールドの露光中合焦装置に対してサブミクロンレンジの精度で移動させなければならない。マスク上のパターンは縮小スケールで半導体サブストレート上に結像するため、半導体サブストレートの単独のフィールドの露光中、マスクを合焦装置に対して移動させる速度及び距離を、サブストレートを合焦装置に対して移動させる速度及び距離よりも大きくし、上記速度及び上記距離間の比を、双方とも合焦装置の縮小率に等しくする。
既知のリソグラフ装置のマスクホルダはX軸方向に平行に移動自在であり、かつ詳述しない位置決め装置によって厳密には規定されない回転軸線の周りに比較的僅かな角度にわたり回転可能にする。位置決め装置は、普通、制限された位置決め精度を有するため、マスクホルダは位置決め装置によってX方向に正確に平行には移動できない。例えば、位置決め装置にマスクホルダが移動できる直線的案内を設ける場合、案内によってマスクホルダを案内する案内方向は僅かな角度X軸から変位する。マスクホルダは合焦装置に対して比較的長い距離にわたり移動するので、マスクホルダがX軸方向に直交する方向に受ける移動は、案内方向の変位に起因して無視できるほどの小さいものではなくなる。X軸方向に直交する方向のマスクホルダの移動は好ましいものではない。即ち、マスクにおけるパターンの半導体サブストレートへの結像エラーを生ずるためである。このような結像エラーは、主にY軸方向へのマスクホルダの好ましくない移動によって生ずる。このような移動は数マイクロメーターもの大きさとなり、サブストレートホルダをY軸方向に平行に移動することによって補償しなければならない。このような案内における不均一性は、マスクホルダの移動中X軸方向に直交する方向への振動を生じ、この振動はX軸方向に直交する方向に無視できないマスクホルダの移動を生ずることになる。マスクホルダを静的ガス軸受によって案内に沿って案内したとしても、このような無視できない移動は静的ガス軸受のガス圧の不均一さを生起する結果となる。
本発明の目的は、上述の欠点をてきるだけ防止する冒頭の段落に述べた種類のリソグラフ装置を得るにある。
この目的を達成するため、本発明リソグラフ装置は、前記マスクホルダを第2位置決め装置によってY軸方向に平行に位置決めするとともに、Z軸方向に平行な回転軸線の周りに回転自在にしたことを特徴とする。マスクホルダはY軸方向に平行に第2位置決め装置によって位置決めされるため、第2位置決め装置によるマスクホルダの移動は、この平行関係は第2位置決め装置の位置決め精度によって決定されるX軸に対する平行関係を有する。第2位置決め装置を適正に設計することによって、サブミクロンレンジの位置決め精度が得られ、この第2位置決め装置によるマスクホルダの移動はX軸方向に対してサブミクロンレンジの平行関係を得ることができる。更に、マスクホルダはX軸方向に平行な案内に沿って案内する必要がなく、このような案内によって生ずるY軸方向に平行な振動は回避される。このようにして、上述の結像エラーを最小限に抑えることができる。結像エラーの値は、X軸及びY軸方向に見て、マスクにおけるパターンをサブストレート上に結像する精度によって決定される。パターンは縮小スケールでサブストレート上に結像されるため、この精度は、2個の位置決め装置の位置決め精度と合焦装置の縮小率との商によって決定される。マスクホルダはX軸方向及びY軸方向に平行に移動可能であり、かつZ軸方向に平行な軸線の周りに回転自在であるため、結像エラーも、やはり、合焦装置の縮小率にほぼ等しい縮小率で縮小される。
本発明によるリソグラフ装置の好適な実施例においては、第2位置決め装置には、前記マスクホルダをX軸方向及びY軸方向に平行に比較的僅かな距離わたり位置決めすることができ、かつ前記マスクホルダの回転軸線の周りに回転することができる第1リニアモータと、前記マスクホルダをX軸方向に平行に比較的大きな距離にわたり位置決めすることができる第2リニアモータとを設ける。この実施例においては、第2リニアモータとしては、マスクホルダをX軸方向に平行に比較的低い精度で比較的大きな距離にわたり移動することができる比較的簡単な構造のリニアモータを使用することができ、一方、マスクホルダの所要の位置決め精度を得ることができるリニアモータは第1リニアモータに使用しなければならない。このようにして、第2位置決め装置の効率のよい構造が得られる。
本発明によるリソグラフ装置の他の実施例においては、リソグラフ装置に設けたフォースフレームであって、このフォースフレームは、前記マシンフレームから動力学的に分離し、かつ露光中にマスクホルダによって第2位置決め装置に加わりまた第2位置決め装置によってマスクホルダに加わる駆動力から生ずる反作用力が前記フォースフレームにのみ伝達されるように前記第2位置決め装置の固定部分を支持するフォースフレームを設ける。半導体サブストレートの露光中、マスクホルダの比較的高速の速度及び加速度の結果、マスクホルダによって第2位置決め装置に加わる比較的大きな反作用力はリソグラフ装置のフォースフレームに伝達される。このようにして、マスクホルダ、合焦装置、及びサブストレートホルダを支持するマシンフレームには、反作用によってフォースフレームに生ずる機械的振動がない状態にすることができる。従って、半導体サブストレートの露光中に、サブストレートホルダ及びマスクホルダを合焦装置に対して移動させる精度は、この機械的振動によって悪影響を受けないでいられる。
本発明によるリソグラフ装置の他の好適な実施例においては、動作中第2位置決め装置の磁石装置及び電気コイル装置のローレンツ力によってのみ前記マスクホルダを前記第2位置決め装置の固定部分に連結する。マスクホルダはローレンツ力によってのみ第2位置決め装置の固定部分に連結されるため、マスクホルダは第2位置決め装置の固定部分とは物理的に分離しておく、即ち、マスクホルダと第2位置決め装置の固定部分との間には物理的接触又は物理的連結のない状態にすることができる。この実施例においては、ローレンツ力は、第2位置決め装置によってマスクホルダに加わる駆動力を有する。マスクホルダは第2位置決め装置の固定部分から物理的に分離しているため、ローレンツ力により生ずる反作用力によって第2位置決め装置の固定部分に生ずる機械的振動は第2位置決め装置を介してマスクホルダ及びマシンフレームに伝達される。
本発明によるリソグラフ装置の好適な実施例においては、前記磁石装置及び前記電気コイル装置を第1リニアモータに属するものとし、第2リニアモータは、前記フォースフレームに固定した固定部分と、前記固定部分の案内上でX軸方向に平行に移動自在の可動部分とを有し、前記第1リニアモータの磁石装置を前記マスクホルダに固定し、また前記第1リニアモータの前記電気コイル装置を前記第2リニアモータの前記可動部分に固定する。マスクホルダが、第2リニアモータによってX軸方向に平行に比較的僅かな距離にわたり移動するとき、マスクホルダは第1リニアモータの適当なローレンツ力によって第2リニアモータの可動部分に対して搬送される。第2リニアモータの可動部分の移動は、合焦装置に対するマスクホルダの所要の移動にほぼ等しく、合焦装置に対するマスクホルダの所要の移動は第1リニアモータのローレンツ力の制御によって得られる。マスクホルダは第2リニアモータの可動部分に対してのみ比較的僅かな距離にわたり移動すべきであるため、第1リニアモータの磁石装置及び電気コイル装置は比較的小さい寸法でよい。第2リニアモータにより加わる駆動力によって生ずる第2リニアモータの固定部分における反作用は直接フォースフレームに伝達される。第1リニアモータにより発生するローレンツ力から生ずる第1リニアモータの電気コイル装置の反作用力は、第2リニアモータの可動部分、案内、及び固定部分を介してフォースフレームに伝達される。
本発明によるリソグラフ装置の他の実施例においては、動作中電気コントローラによって制御し、マシンフレームに補償力を発生するフォースアクチュエータ装置を設け、この補償力は、前記マシンフレームの基準点の周りの機械的モーメントが、前記マスクホルダに作用する重力の前記基準点の周りの機械的モーメントの値に等しい値を有し、前記重力の機械的モーメントの方向とは逆の向きを有するものとする。マスクホルダは、このマスクホルダに作用する重力により決定される支持力でマシンフレームに休止する。マスクホルダが移動するとき、支持力の作用点はマシンフレームに対して移動する。フォースアクチュエータ装置の使用により、半導体サブストレートの露光中、マスクホルダの比較的大きく迅速な移動の結果生ずる振動及び震動を防止する。コントローラは、マシンフレームに対するマスクホルダの位置の関数としてフォースアクチュエータ装置の補償力を制御する。この補償力によって、移動可能なマスクホルダは、マシンフレームに対してほぼ一定の位置をとるいわゆる仮想重心を有し、これによりマシンフレームは、マスクホルダの移動を感知せず、マシンフレームに対するマスクホルダの実際の重心移動によって生ずる機械的振動がない状態にすることができる。半導体サブストレートの露光中、合焦装置に対してサブストレートホルダ及びマスクホルダが移動できる精度が、この機械的振動によって悪影響を受けないようになる。
本発明によるリソグラフ装置の他の好適な実施例においては、動作中電気コントローラによって制御し、マシンフレームに補償力を発生するフォースアクチュエータ装置を設け、この補償力は、前記マシンフレームの基準点の周りの機械的モーメントが、前記サブストレートホルダに作用する重力の前記基準点の周りの機械的モーメントと、前記マスクホルダに作用する重力の前記基準点の周りの機械的モーメントとの和の値に等しく、前記補償力の機械的モーメントの方向が前記和の機械的モーメントの方向とは逆向きとなるようにする。この実施例におけるフォースアクチュエータ装置は、マスクホルダ及びサブストレートホルダのジョイントフォースアクチュエータ装置を構成する。このフォースアクチュエータ装置の使用により、半導体サブストレートの露光中、マシンフレームに対するマスクホルダ及びサブストレートホルダの双方の移動の結果生ずるマシンフレームの振動及び震動を防止することができる。コントローラは、マシンフレームに対するマスクホルダの位置及びサブストレートホルダの位置の関数としてフォースアクチュエータ装置の補償力を制御する。これにより、半導体サブストレートの露光中、マスクホルダ及びサブストレートホルダを合焦装置に対して位置決めできる精度が、マスクホルダ及びサブストレートホルダの重心のマシンフレームに対する移動によって生ずる機械的振動によって悪影響を受けないようにすることができる。
本発明によるリソグラフ装置の他の実施例においては、互いに三角形の形態をなすよう配列した3個の動力学的アイソレータによってリソグラフ装置のベース(基礎)に前記マシンフレームを配置し、前記フォースアクチュエータ装置を3個の個別のフォースアクチュエータにより構成し、各フォースアクチュエータをそれぞれ個々の動力学的アイソレータに一体にする。例えば、動力学的アイソレータは、比較的低い機械的剛性を有するダンパとし、これによりフレームはベースから動力学的に分離または遮断される。ダンパの比較的低い機械的剛性のため、ベースに存在する機械的振動例えば、床の振動はフレームに伝達されない。フォースアクチュエータ装置を動力学的アイソレータの装置又は系に一体にすることによりリソグラフ装置の構造をコンパクトかつ簡単にすることができる。更に、アイソレータの三角形の形態に配列することによりマシンフレームのための安定した支持体を構成する。
次に、図面につき本発明をより詳細に説明する。
図1は、本発明によるリソグラフ装置の斜視図であり、
図2は、図1のリソグラフ装置の線図的説明図であり、
図3は、図1のリソグラフ装置のベース及びサブストレートホルダの斜視図であり、
図4は、図3のリソグラフ装置のベース及びサブストレートホルダの平面図であり、
図5は、図1のリソグラフ装置のマスクホルダの平面図であり、
図6は、図5のVI−VI線上の断面図であり、
図7は、図1のリソグラフ装置の動力学的アイソレータの断面図であり、
図8は、図7のVIII−VIII線上を断面図であり、
図9は、図1のリソグラフ装置のフォースアクチュエータ装置の線図的説明図である。
図1及び図2に示す本発明によるリソグラフ装置は、光学的リソグラフィックプロセスによって集積半導体回路を製造するのに使用する。図2に線図的に示すように、リソグラフ装置は、垂直のZ軸方向に平行に見て順次に、サブストレートホルダ1、合焦装置3、マスクホルダ5、及び放射源7を設ける。図1及び図2に示すリソグラフ装置は、光学的リソグラフ装置であり、放射源7は、光源9と、ダイヤフラム11と、ミラー13,15を有する。サブストレートホルダ1は支持面17を有し、この支持面17はZ軸方向に直交する方向に延在し、この支持面17上に半導体サブストレート19を配置しかつとができ、Z軸方向に直交するX軸方向に平行に、またX軸方向及びZ軸方向に直交するY軸方向に平行に合焦装置3に対して移動できるようにする。合焦装置3は、結像(イメージング)装置又は投射(プロジェクション)装置とし、Z軸方向に平行な主光軸25と、例えば、4又は5の光学的縮小率を有する光学的レンズ系を有する。マスクホルダ5は、Z軸方向に直交しかつマスク29を配置できるとともに、リソグラフ装置の第2位置決め装置31によって合焦装置3に対してX軸方向に方向に移動自在の支持面27を有する。マスク29は、集積半導体回路のパターン又は部分的パターンを有する。動作にあたり、光源9から出射する光ビーム33はダイヤフラム11及びミラー13,15を経てマスク29を通過し、レンズ系23により半導体サブストレート19上に合焦され、マスク29におけるパターンが半導体サブストレート19上に縮小スケールで結像する。半導体サブストレート19は、個別の半導体回路を設ける多数の個別フィールド35を有する。この目的のため、半導体サブストレート19のフィールド35は順次マスクを経て露光され、個別のフィールド35を露光した度毎に次のフィールド35を合焦装置3に対して移動し、このとき、第1位置決め装置21によってサブストレートホルダ1をX軸方向又はY軸方向に平行に移動する。このプロセスは、異なるマスクの度毎に多数回繰り返し、従って、層状の相当複雑な集積半導体回路を製造することができる。
図2に示すように、半導体サブストレート19及びマスク29は、個別のフィールド35の露光中は第1位置決め装置21及び第2位置決め装置31によってX軸方向に平行に合焦装置3に対して同期して移動する。マスク29におけるパターンはX軸方向に平行に走査し、これに同期して半導体サブストレート10上に結像する。このようにして、図2に示すように、合焦装置3によって半導体サブストレート19上に結像することができるY軸方向に平行な方向のマスク29の最大幅Bは、図2に線図的に示す合焦装置3の開孔(アパーチャ)37の直径Dによって制限される。合焦装置3によって半導体サブストレート19上に結像することができるマスク29の許容長さLは直径Dよりも大きい。いわゆる「ステップアンドスキャン」原理に従うこの結像方法においては、合焦装置3によって半導体サブストレート19上に結像することができるマスク29の最大表面積は、合焦装置3の開孔37の直径Dによって制限されるが、いわゆる「ステップアンドリピート」原理に従う従来の結像方法におけるよりも制限される程度が少ない。この「ステップアンドリピート」原理に従う従来の結像方法は、例えば、半導体サブストレートの露光中マスク及び半導体サブストレートが合焦装置に対して固定した位置をとるヨーロッパ特許公開第0498496号から既知のリソグラフ装置において使用される。マスク29におけるパターンは縮小スケールで半導体サブストレート19上に結像するため、マスク29の長さL及び幅Bは半導体サブストレート19上の対応のフィールド35の長さL´及び幅B´よりも大きく、長さL,L´間の比及び幅B,B´間の比は合焦装置3の光学的縮小率に等しい。この結果、露光中にマスク29が移動する距離と露光中半導体サブストレート19が移動する距離との比、及び露光中マスク29が移動する速度と露光中半導体サブストレート19が移動する速度の比は、双方とも合焦装置3の光学的縮小率に等しい。図2に示すリソグラフ装置においては、露光中に半導体サブストレート19及びマスク29を移動する方向は互いに逆向きである。マスクパターンが逆転結像しない異なる合焦装置をリソグラフ装置が有する場合、この方向は同一にする。
このリソグラフ装置で製造すべき集積半導体回路は、サブミクロンのレンジの微細寸法を有する構体を有する。半導体サブストレート19を順次異なる多数のマスクで露光するため、マスクにおけるパターンは半導体サブストレート19上に相対的にサブミクロン又はナノメーターのレンジの精度で結像しなければならない。半導体サブストレート19の露光中、半導体サブストレート19及びマスク29はこのような精度で合焦装置3に対して移動しなければならず、従って、第1位置決め装置21及び第2移動装置31の位置決め精度には相当高い要求が課せられる。
図1に示すように、リソグラフ装置は水平床面上で配置できるベース39をユニット。このベース39はフォースフレーム41の一部をなし、このフォースフレーム41にはベース39に固定した他の垂直の比較的堅固な金属支柱43が含まれる。リソグラフ装置には更に、三角形の相当堅固な金属製の主プレート47を有するマシンフレーム45を設け、この主プレート47は合焦装置3の主光軸25を横切り、図1には見えない中心光透過開口を設ける。主プレート47は3個の角部49を有し、これらの角部49を3個の動力学的アイソレータ51上に載置し、これらの動力学的アイソレータ51はベース49上に固定する。これらの動力学的アイソレータ51については後述する。主プレート47の2個の角部49及び2個の動力学的アイソレータのみが図1に見えており、3個のすべての動力学的アイソレータ51は図3及び図4において見える。合焦装置3の下側の近傍に取付リング53を設け、この取付リング53によって合焦装置3を主プレート47に固定する。マシンフレーム45には主プレート47に固定した垂直の相当堅固な金属製の支柱55を設ける。合焦装置3の上側の近傍にマスクホルダのための支持部材57を設け、マシンフレーム45に属するこの支持部材をマシンフレーム45の支柱55に固定する。この支持部材については後述する。3個の角部49に隣接して主プレート47の下側に固着した3個の懸垂プレート59はマシンフレーム45に属する。図1においては、2個の懸垂プレート59のみが見えており、3個のすべての懸垂プレート59は図3及び図4において見える。図4に示すように、マシンフレーム45に属するサブストレートホルダ1のための水平支持プレート61を3個の懸垂プレート59に固定する。支持プレート61は図においては見えないが、図3において一部のみが見える。
マシンフレーム45は、リソグラフ装置の主要コンポーネント即ち、サブストレートホルダ1、合焦装置3及びマスクホルダ5を垂直Z軸方向に平行に支持する。以下に詳細に説明するように、動力学的アイソレータ51は機械的剛性が比較的低い。例えば、床の振動のようなベース39における機械的振動はこの動力学的アイソレータ51を介してマシンフレーム45には伝達されない。これにより、ベース39における機械的振動によって影響されてい位置決め精度が得られる。フォースフレーム41の機能については以下に詳細に説明する。
図1及び図5に示すように、マスクホルダ5は、ブロック63を有し、このブロック63上に支持面27を配置する。マシンフレーム45に属するマスクホルダ5のための支持部材57は、図5で見える中心光透過開口64と、X軸方向に延びてZ軸方向に直交する共通平面上にある2個の平面案内65とを有する。マスクホルダ5のブロック63は、空気静力学的軸受(図面には見えていない)によって支持部材57の平面案内65上を、X軸方向に平行なまたY軸方向に平行な自由度の運動と、Z軸方向に平行なマスクホルダ5の回転軸線67の周りの回転自由度で案内される。
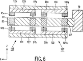
更に、図1及び図5に示すように、マスクホルダ5を移動する第2位置決め装置31は、第1リニアモータ69と第2リニアモータ71とを有する。それ自体既知の通常の種類の第2リニアモータ71はフォースフレーム41の支柱43に固定した固定部分73を有する。固定部分73は、X軸方向に平行に延びる案内75を有し、この案内75に沿って第2リニアモータ71の可動部分77を移動自在にする。可動部分77は、Y軸方向に平行に延びる連結アーム79を有し、この連結アーム79に第1リニアモータ69の電気コイルホルダ81を固定する。第1リニアモータ69の永久磁石ホルダ83をマスクホルダ5のブロック63に固定する。第1リニアモータ69はヨーロッパ特許第0421527号に記載の種類とする。図5に示すように、第1リニアモータ69のコイルホルダ81は、Y軸方向に平行に延びる4個の電気コイル85,87,89,91と、X軸方向に平行に延びる電気コイル93とを設ける。コイル85,87,89,91は図5で破線で線図的に示す。磁石ホルダ83は図5で一点鎖線で示した10個の対の永久磁石対(95a,95b),(97a,97b),(99a,99b),(101a,101b),(103a,103b),(105a,105b),(107a,107b),(109a,109b),(111a,111b),(113a,113b)を有する。電気コイル85及び永久磁石95a,95b,97a,及び97bは、第1リニアモータ69の第1X軸モータ115に属し、コイル87及び永久磁石99a,99b,101a,及び101bは第1リニアモータ69の第2X軸モータ117に属し、コイル87及び永久磁石103a,103b,105a,及び105bは第1リニアモータ69の第3X軸モータ119に属し、コイル91及び永久磁石107a,107b,109a,及び109bは第1リニアモータ69の第4X軸モータ121に属し、コイル93及び永久磁石111a,111b,113a,及び113bは第1リニアモータ69のY軸モータ123に属する。図6は、第1X軸モータ115及び第2X軸モータ117の断面図である。図6に示すように、コイルホルダ81は、磁石95a,97a,99a,101a,103a,105a,107a,109a,111a,及び113aを有する磁石ホルダ83の第1部分125と、磁石95b,97b,99b,101b,103b,105b,107b,109b,111b,及び113bを有する磁石ホルダ83の第2部分127との間に配置する。図6に示すように、第1X軸モータ115の磁石対95a,95b及び第2X軸モータ117の磁石対99a,99bは、Z軸方向の正方向に平行に磁化するとともに、第1X軸モータ115の磁石対97a,97b及び第2X軸モータ117の磁石対101a,101bは、Z軸方向の負方向に平行に磁化する。これと同様に、第3X軸モータ119の磁石対103a,103b及び第4X軸モータ121の磁石対107a,107b並びにY軸モータ123の磁石対111a,111bは、Z軸方向の正方向に平行に磁化するとともに、第3X軸モータ119の磁石対105a,105b及び第4X軸モータ121の磁石対109a,109b並びにY軸モータ123の磁石対113a,113bは、Z軸方向の負方向に平行に磁化する。更に、図6に示すように、第1X軸モータ115の磁石95a,97aを磁気的閉回路形成ヨーク129によって相互連結するとともに、磁石95b,97b、磁石99a,101a、磁石99b,101bを、それぞれ磁気的閉回路形成ヨーク131、133、135で相互連結する。第3X軸モータ119、第4X軸モータ121、Y軸モータ123にも同様の磁気的閉回路形成ヨークを設ける。動作中、電流がX軸モータ115,117,119,121のコイル85,87,89,91を流れるとき、X軸モータ115,117,119,121の磁石及びコイルは互いにX軸方向に平行なローレンツ力を発生する。コイル85,87,89,91を流れる電流が大きさと方向が同一である場合には、マスクホルダ5はローレンツ力によりX軸方向に平行移動するとともに、コイル85,87を流れる電流の大きさが同一でコイル89,91を流れる電流とは向きが逆である場合には、マスクホルダ5は回転軸線67の周りに回転する。Y軸モータ123のコイル93に電流が流れるとY軸モータ123の磁石及びコイルは互いにY軸方向に平行なローレンツ力を発生し、これによりマスクホルダ5はY軸方向に平行に移動する。
半導体サブストレート19の露光中、マスクホルダ5は合焦装置3に対してX軸方向に平行に比較的大きな距離にわたり、かつ高い位置決め精度で移動しなければならない。このことを達成するため、第1リニアモータ69のコイルホルダ81をX軸方向に平行に第2リニアモータ71によって移動させ、マスクホルダ5の所要の移動は第2リニアモータ71によって得られ、またマスクホルダ5は第1リニアモータ69のX軸モータ115,117,119,121の適当なローレンツ力によって第2リニアモータ71の可動部分77に沿って搬送される。合焦装置3に対するマスクホルダ5のこの所要の移動は、マスクホルダ5の移動中にX軸モータ115,117,119,121のローレンツの力を適当な位置制御装置により制御することによって得られる。図面には詳細に示さない位置制御装置は、例えば、合焦装置3に対するマスクホルダ5の位置を測定するためのそれ自体既知の普通のレーザ干渉計(インターフェロメータ)を有し、これによりサブミクロン又はナノメータのレンジの所要の位置決め精度が得られる。半導体サブストレート19の露光中第1リニアモータ69はマスクホルダ5をX軸方向に平行な移動を制御するばかりでなく、Y軸方向に平行な位置及び回転軸線67の周りのマスクホルダ5の回転角度も制御する。マスクホルダ5は、第1リニアモータ69によりY軸方向に平行に位置決めされまた回転軸線67の周りに回転させられるため、マスクホルダ5の移動はX軸方向に対する平行関係を有し、この平行関係は第1リニアモータ69の位置決め精度によって決定される。X軸方向に対する第2リニアモータ71の案内75の平行関係からのずれは、Y軸方向に平行にマスクホルダ5を移動することによって補償される。マスクホルダ5の所要の移動は第2リニアモータ71によってのみ得られ、またX軸方向に対する案内75の平行関係には特別に高い要求は課せられないため、比較的簡単な普通の一次元リニアモータを第2リニアモータ71として使用することができ、これによりマスクホルダ5を比較的大きな距離にわたり比較的低い精度で移動することができる。マスクホルダ5の移動の所要の精度は、マスクホルダ5を第2リニアモータ71の可動部分77に対して第1リニアモータ69によって比較的小さい距離にわたり移動することによって得られる。第1リニアモータ69は比較的小さい寸法とする。即ち、マスクホルダ5が第2リニアモータ71の可動部分77に対して移動する距離は小さいためである。これにより第1リニアモータ69の電気コイルにおける電気的抵抗損失は小さくて済む。
上述したように、第2リニアモータ71の固定部分73はリソグラフ装置のフォースフレーム41に固定する。第2リニアモータ71の駆動力によって固定部分73に加わりまた可動部分77に加わる第2リニアモータ71の駆動力から生ずる反作用力はフォースフレーム41に伝達される。第1リニアモータ69のコイルホルダ81は第2リニアモータ71の可動部分77に固定するため、マスクホルダ5により可動部分77に加わりまたマスクホルダ5に加わる第1リニアモータ69のローレンツ力から反作用力も、第2リニアモータ71の可動部分77及び固定部分73を介してフォースフレーム41に伝達される。従って、動作中マスクホルダ5により第2位置決め装置31に加わりまたこの第2位置決め装置31によってマスクホルダ5に加わる力から生ずる反作用力はフォースフレーム41にのみ伝達される。この反作用力は、第2リニアモータ71の比較的大きい移動から生ずる低周波成分と、所要の位置決め精度を得るため第1リニアモータ69により行われる比較的小さい移動から生ずる高周波成分とを有する。フォースフレーム41は相当堅固であり、密実なベースに載置するため、反作用力の低周波成分によってフォースフレーム41に生ずる機械的振動は無視できる程小さいものとなる。反作用力の高周波成分は小さい値であるが、使用されるフォースフレーム41のようなフレームのタイプの共振周波数特性に相当する周波数を有するのが普通である。この結果、反作用力の高周波成分はフォースフレーム41に無視できない高周波の機械的振動を生ずる。しかし、フォースフレーム41はマシンフレーム45から動力学的に遮断されている即ち、フォースフレーム41に存在する或る閾値例えば10Hz以上の周波数を有する機械的振動はマシンフレーム45には伝達されない。即ち、このマシンフレーム45は低周波の動力学的アイソレータ51を介してのみフォースフレーム41に連結されているためである。従って、第2位置決め装置31の反作用力によってフォースフレーム41に生ずる高周波の機械的振動は、上述の床振動と同様にマシンフレーム45に伝達されない。支持部材57の平面案内65はZ軸方向に直交し、また第2位置決め装置31によってマスクホルダ5に加わる駆動力もZ軸方向に直交するため、駆動力自体はマシンフレーム45に機械的振動を発生しない。更に、フォースフレーム41に存在する機械的振動は第2リニアモータ71の固定部分73及び可動部分77からマシンフレーム45に伝達されることはない。即ち、上述の説明から明らかなように、マスクホルダ5は第2リニアモータ71の可動部分77に対して、第1リニアモータ69の磁石装置及び電気コイル装置のローレンツ力によってのみ結合されており、またマスクホルダ5はローレンツ力とは別に物理的に第2リニアモータ71の可動部分77から分離されているためである。上述の説明のように、マシンフレーム45は、第2位置決め装置31の駆動力及び反作用力により生ずる機械的振動及び変形がない。このことの利点を以下に更に説明する。
図3及び図4に示すように、サブストレートホルダ1は支持面17を配置するブロック137と、空気静力学的に支持したフット139とを有し、このふっと139には空気静力学的軸受を設ける。サブストレートホルダ1は、空気静力学的に支持したフット139によってマシンフレーム45の支持プレート61上に設けたZ軸方向に直交する花崗岩支持体143の上面141で案内し、X軸方向及びY軸方向に平行な移動の自由度と、Z軸方向に平行な方向のサブストレートホルダ1の回転軸線145の周りにの回転の自由度を有する。
図1、図3及び図4に示すように、サブストレートホルダ1の位置決め装置21は、第1リニアモータ147、第2リニアモータ149、及び第3リニアモータ151とを有する。位置決め装置121の第2リニアモータ149及び第3リニアモータ151は位置決め装置31の第2リニアモータ71と同一の種類とする。第2リニアモータ149は、フォースフレーム41に属するベース39に固定したアーム155に固定した固定部分153を有する。この固定部分153はY軸方向に平行に延びて第2リニアモータ149の可動部分159が移動する案内157を設ける。第3リニアモータ151の固定部分161は第2リニアモータ149の可動部分159上に配置し、X軸方向に平行に延びて第3リニアモータ151の可動部分165が移動する案内163を設ける。図4で見えるように、第3リニアモータ151の可動部分165は連結ピース167を有し、この連結ピース167に第1リニアモータ147の電気コイルホルダ169を固定する。第1位置決め装置21の第1リニアモータ147は第2位置決め装置31の第1リニアモータ69と同様にヨーロッパ特許第0421527号に記載の種類のものとすることができる。第2位置決め装置31の第リニアモータ69は先に詳述したので、第1位置決め装置21の第1リニアモータ147の詳細な説明は省略する。ただし、サブストレートホルダ1は第3リニアモータ151の可動部分165に対して動作中Z軸方向に直交するローレンツ力によってのみ連結することを述べておくだけで十分であろう。しかし、第1位置決め装置21の第1リニアモータ147と第2位置決め装置31の第1リニアモータ69と違いは、第1位置決め装置21の第1リニアモータ147が比較的高い定格電力のX軸モータ及びY軸モータを有するが、第2位置決め装置31の第1リニアモータ69の単独のY軸モータ123はX軸モータ115,117,119,121の定格電力よりも低い定格電力を有する点である。このことは、サブストレートホルダ1は第1リニアモータ147によってX軸方向に平行に比較的大きい距離にわたって移動するだけでなく、Y軸方向にも大きな距離にわたって平行に移動することを意味する。更に、サブストレートホルダ1は第1リニアモータ147によって回転軸線145の周りに回転することができる。
半導体サブストレート19の露光中、サブストレートホルダ1は合焦装置3に対してX軸方向に平行に高い精度で移動させるべきであり、一方半導体サブストレート19の次のフィールド35を合焦装置3に対して露光のための所定位置入送るときX軸方向又はY軸方向に平行に移動させねばならない。サブストレートホルダ1をX軸方向に平行に移動するため、第1リニアモータ147のコイルホルダ169を第3リニアモータ151によってX軸方向に平行に移動し、サブストレートホルダ1の所要の移動は第3リニアモータ151によって行い、またサブストレートホルダ1は第1リニアモータ147の適当なローレンツ力によって第3リニアモータ151の可動部分165に対して移動する。X軸方向又はY軸方向に平行なサブストレートホルダ1の所要の移動は第1リニアモータ147のローレンツ力によって生じ、この第1リニアモータ147はサブストレートホルダ1の移動中上述のリソグラフ装置の位置制御装置によって制御し、これによりサブミクロン又はナノメータのレンジの位置決め精度が得られる。サブストレートホルダ1の所要の移動は第2リニアモータ149及び第3リニアモータ151によってのみ得られ、第2リニアモータ149,第3リニアモータ151の位置決め精度にはそれほど高い必要条件は課せられないため、第2リニアモータ149及び第3リニアモータ151は第2位置決め装置31の第2リニアモータ71のように比較的簡単な普通の一次元リニアモータとすることができ、これによりサブストレートホルダ1は低い精度で比較的大きい距離にわたり、Y軸方向及びX軸方向に平行にそれぞれ移動することができる。サブストレートホルダ1の移動の所要の精度は、サブストレートホルダ1を第1リニアモータ147により比較的僅かな距離にわたり第3リニアモータ151の可動部分165に対して移動することによって得られる。
サブストレートホルダ1の位置決め装置21はマスクホルダ5の位置決め装置31と同様の種類とすることができ、第1位置決め装置21の第2リニアモータ149の固定部分153を、第2位置決め装置31の第2リニアモータ71の固定部分73と同様にリソグラフ装置のフォースフレーム41に固定するため、動作中サブストレートホルダ1によって第1位置決め装置21に加わりまた第1位置決め装置21によってサブストレートホルダ1に加わる駆動力から生ずる反作用力はフォースフレーム41に伝達されることになる。このことは、第1位置決め装置21の反作用力並びに第2位置決め装置31の反作用力はフォースフレーム41に機械的振動を発生させ、この機械的振動はマシンフレーム45には伝達されない。サブストレートホルダ1が案内される花崗岩支持体143の上面141はZ軸方向に直交するため、やはりZ軸方向に直交する第1位置決め装置21の駆動力自体もマシンフレーム45に機械的振動を発生しない。
マスク29におけるパターンは半導体サブストレート19に上記の精度で結像する。即ち、マスク29及び半導体サブストレート19は双方ともに、半導体サブストレート19の露光中にそれぞれ第2位置決め装置31及び第1位置決め装置21によって、上記精度で合焦装置3に対してX軸方向に平行に移動できるためであり、またマスク29及び半導体サブストレート19は上記精度でY軸に平行に位置決めされまた回転軸線67,145の周りに回転するためである。パターンを半導体サブストレート19上に結像する精度は位置決め装置21,31の位置決め精度よりも良好である。即ち、マスクホルダ5はX軸方向に平行に移動するばかりでなく、Y軸方向に平行に移動できかつ回転軸線67の周りに回転できるためである。合焦装置3に対するマスク29の移動は、半導体サブストレート19におけるパターンイメージのシフトを生じ、このシフトはマスク29の移動量に対する合焦装置3の光学的縮小率の商に等しい。このようにして、マスク29のパターンは半導体サブストレート19上に、第2位置決め装置31の位置決め精度に対する合焦装置3の縮小率の商に等しい精度で結合することができる。
図7及び図8は3個の動力学的アイソレータ51のうちの1個の断面を示す。この図示の動力学的アイソレータ51は取付プレート171を有し、動力学的アイソレータ51上に載置するマシンフレーム45の主プレート47の角部49をこの取付プレート171に固定する。動力学的アイソレータ51は、更に、ハウジング173を有し、このハウジング173をフォースフレーム41のベース39に固定する。取付プレート171は、Z軸方向に平行に延びる連結ロッド175を介して中間プレート177に連結し、この中間プレート177は円筒形のタブ又は槽体181内に3個の互いに平行なテンションロッド179によって懸垂する。図7では1個のテンションロッド179のみが見えており、3個のすべてのテンションロッド179は図8において見える。円筒形のタブ181はハウジング173の円筒形室183内に同心状に配置する。円筒形タブ181と円筒形室183との間の空間185は空気ばね187の一部をなし、供給バルブ189を介して圧縮空気を充填する。。この空間187は環状の可撓性ゴム薄膜191によりシールし、このゴム薄膜191は円筒形タブ181の第1部分193と第2部分195との間及び、ハウジング173の第1部分197と第2部分199との間に固定する。このようにして、マシンフレーム45とこのマシンフレーム45に支持したリソグラフ装置のコンポーネントは、Z軸方向に平行な方向に3個の動力学的アイソレータ51の空間185内の圧縮空気によって支持され、円筒形タブ181(したがって、マシンフレーム45)は薄膜191の可撓性のため円筒形室183に対して或る程度の移動の自由度がある。空気ばね187は、3個の動力学的アイソレータ51の空気ばね187、マシンフレーム45及びこのマシンフレーム45によって支持されるリソグラフ装置のコンポーネントにより形成される質量ばね装置が比較的小さい共振周波数例えば、3Hzを有する剛性にする。マシンフレーム45は動力学的にフォースフレーム41から、所定閾値以上の周波数例えば、上述した10Hzの機械的振動に対して遮断される。図7に示すように、空間185は空気ばね187の側方室203に狭い通路201を介して接続する。この狭い通路201はダンパとして作用し、これにより円筒形室183に対する円筒形タブ181の周期的運動は緩衝される。
図7及び図8に示すように、各動力学的アイソレータ51は、この動力学的アイソレータ51に一体にしたフォースアクチュエータ205を有する。フォースアクチュエータ205は、ハウジング173の内壁209に固定した電気コイルホルダ207を有する。図7に示すように、コイルホルダ207は、Z軸方向に直交する方向に延びており、図面で破線で示す電気コイル211を有する。このコイルホルダ207は取付プレート171に固定した2個の磁気ヨーク213,215間に配置する。更に、1対の永久磁石(217,219),(221,223)を各ヨーク213,215に固定し、磁石(217,219),(221,223)の対は電気コイル211の平面に直交するそれぞれ互いに反対向きに磁化する。電流がコイル211を通過するとき、コイル211及び磁石(217,219,221,223)は互いにZ軸方向に平行なローレンツ力を発生する。ローレンツ力の値はリソグラフ装置の電気コントローラによって以下に詳細に説明するように制御する。
動力学的アイソレータ51に一体にしたフォースアクチュエータ205は、図9に線図的に示したフォースアクチュエータ装置を形成する。図9は更に、線図的にマシンフレーム45、サブストレートホルダ1、マシンフレーム45に対して移動自在のマスクホルダ5、並びにベース39及び3個の動力学的アイソレータ51を示す。図9には更に、マシンフレーム45の基準点Pを示し、この基準点Pに対してサブストレートフレーム1の重心GSはX位置XS及びY位置YSを有し、またマスクホルダ5の重心GMはX位置XM及びY位置YMを有する。これらの重心GS及びGMは、それぞれ半導体サブストレート19を有するサブストレートホルダ1の移動可能質量の全体及びマスク29を有するマスクホルダ5の移動可能質量の全体の重心を示す。図9には、更に、3個のフォースアクチュエータ205のローレンツ力FL1,FL2及びFL3が、それぞれ基準点Pに対してX位置XF1,XF2,XF3及びY位置YF1,YF2,YF3のポイントでマシンフレーム45に対して作用することを示す。マシンフレーム45はサブストレートホルダ1及びマスクホルダ5をZ軸方向に平行に支持するため、サブストレートホルダ1及びマスクホルダ5はそれぞれ支持力FS,FMをマシンフレーム45に加え、これらの支持力はサブストレートホルダ1及びマスクホルダ5に作用する重力の値に対応する値を有する。支持力FS,FMは、それぞれサブストレートホルダ1及びマスクホルダ5の重心GS及びGMのX位置及びY位置に対応するX位置及びY位置のポイントでマシンフレーム45に作用する。半導体サブストレート19の露光中マシンフレーム45に対してサブストレートホルダ1及びマスクホルダ5が移動する場合、サブストレートホルダ1及びマスクホルダ5の支持力FS,FMの作用点もマシンフレーム45に対して移動する。リソグラフ装置の電気コントローラはローレンツ力FL1,FL2及びFL3の値を制御し、マシンフレーム45のローレンツ力FL1,FL2及びFL3の基準点Pの周りの機械的モーメントの和が、サブストレートホルダ1及びマスクホルダ5の支持力FS,及びFMの基準点Pの周りの機械的モーメントの和の値の絶対値が等しくかつ値及び方向にそれぞれ正負が逆の値及び方向を有する。即ち、
FL1+FL2+FL3=FS+FM
FL1*XF1+FL2*XF2+FL3*XF3=FS*XS+FM*XM
FL1*YF1+FL2*YF2+FL3*YF3=FS*YS+FM*YM
ローレンツ力FL1,FL2及びFL3を制御するコントローラは、例えば、それ自体既知であり普通のフィードフォワード制御ループを有するものとして構成することができ、これにより、コントローラはサブストレートホルダ1の位置XS,YS及びマスクホルダ5の位置XM,YMに関する情報を、サブストレートホルダ1及びマスクホルダ5を制御するリソグラフ装置の電気制御ユニット(図示せず)から受ける。この受け取った情報はサブストレートホルダ1及びマスクホルダ5の所要の位置に関連する。代案として、コントローラはそれ自体既知であり普通のフィードバック制御ループを有するものとして構成することができ、これにより、コントローラはサブストレートホルダ1の位置XS,YS及びマスクホルダ5の位置XM,YMに関する情報を、サブストレートホルダ1及びマスクホルダ5を制御するリソグラフ装置の位置制御装置(図示せず)から受ける。この受け取った情報はサブストレートホルダ1及びマスクホルダ5の測定位置に関連する。更に、代案として、コントローラは上述のフィードフォワード制御ループとフィードバック制御ループの組み合わせとして構成することもできる。このようにして、フォースアクチュエータ装置のローレンツ力FL1,FL2及びFL3は、サブストレートホルダ1及びマスクホルダ5の重心GS及びGMのマシンフレーム45に対する移動を補償する補償力を生ずる。ローレンツ力FL1,FL2及びFL3及び支持力FS,FMのマシンフレーム45の基準点Pの周りの機械的モーメントの和は一定の値及び方向を有するため、サブストレートホルダ1及びマスクホルダ5は、それぞれマシンフレーム45に対するホボ一定の位置を有するいわゆる仮想重心を有する。これにより、マシンフレーム45は半導体サブストレート19の露光中サブストレートホルダ1及びマスクホルダ5の実際の重心GS及びGMの移動を感知しない。上述のフォースアクチュエータ装置がないと、サブストレートホルダ1及びマスクホルダ5の移動は支持力FS,FMのマシンフレーム45の基準点Pの周りの機械的モーメントの補償されない変化となって現れ、この結果、マシンフレーム45は動力学的アイソレータ51の低周波の振動を生じたり又はマシンフレーム45に弾性変形又は機械的振動を生ずることになる。
3個の動力学的アイソレータ51に3個のフォースアクチュエータ205を組み込んだことによりフォースアクチュエータ装置及びリソグラフ装置の構造がコンパクトかつ簡単になる。更に、動力学的アイソレータ51の三角形状の配列によりフォースアクチュエータ装置の動作が特別に安定する。フォースアクチュエータ装置の補償力はローレンツ力を有するため、ベース39及びフォースフレーム41に存在する機械的振動はフォースアクチュエータ205を経てマシンフレーム45に伝達されない。
上述の方法即ち、位置決め装置21,31の反作用力のフォースフレーム41への直接導入、サブストレートホルダ1及びマスクホルダ5のローレンツ力によるフォースフレーム41との連結、及びフォースアクチュエータ205の補償力はマシンフレーム45が支持機能のみを有する結果となる。マシンフレーム45には値及び方向が変化する力は実質的には作用しない。例えば、サブストレートホルダ1及びマスクホルダ5の移動中、サブストレートホルダ1及びマスクホルダ5の空気静力学的軸受によって花崗岩支持体143の上面141及び支持部材57の平面案内65に加わる水平方向の粘性摩擦力によってのみ例外を生ずる。しかし、このような摩擦力は比較的小さく、マシンフレーム45に知覚できる振動や変形を生ずることはない。マシンフレーム45は機械的振動及び弾性変形がないため、マシンフレーム45によって支持されるリソグラフ装置のコンポーネントハ互いに特に正確に規定された位置をとる。特に、合焦装置3に対するサブストレートホルダ1の位置及び合焦装置3に対するマスクホルダ5の位置は極めて正確に規定され、またサブストレートホルダ1及びマスクホルダ5が合焦装置3に対して位置決め装置21,31によって極めて正確に位置決めされることにより、マスク29における半導体回路のパターンを、サブミクロン又はナノメータのレンジの精度で半導体サブストレート19上に結像することができるようになる。マシンフレーム45及び合焦装置3は機械的振動及び弾性変形がないため、マシンフレーム45はサブストレートホルダ1及びマスクホルダ5の上述の位置決め制御装置の基準フレームとして作用することができ、例えば、光学素子及びレーザ干渉装置のような位置制御装置の位置センサを直接マシンフレーム45に取り付けることができるという利点も得られる。マシンフレーム45に直接センサを取り付けることは、サブストレートホルダ1、合焦装置3、及びマスクホルダ5に対する位置センサのとる位置が機械的振動及び変形に影響を受けないという結果となり、合焦装置3に対するサブストレートホルダ1及びマスクホルダ5の位置の特に信頼性の高い正確な測定が得られる。マスクホルダ5はX軸方向に平行に位置決めされるだけでなく、Y軸方向にも平行に位置決めされまた回転軸線67の周りにも回転させられ、これにより半導体サブストレート19上へのマスク29の極めて高い精度での結像が得られ、上述したように、サブミクロンのレンジの精密な寸法の半導体サブストレートを本発明によるリソグラフ装置によって製造することができる。
上述の本発明によるリソグラフ装置は、集積電子半導体回路の製造における半導体サブストレートの露光に使用される。更に、代案として、このようなリソグラフ装置はサブミクロンレンジの微細寸法の構造を有する他の製品の製造もマスクパターンをリソグラフ装置によってサブストレート上に結像して行うことができる。集積した光学装置の構造又は磁気ドメインメモリの導入及び検出パターン並びに液晶ディスプレイパターンの構造にも適用できる。
上述のリソグラフ装置の第1位置決め装置21はローレンツリング力のみを発生する第1リニアモータと、普通の第2及び第3のリニアモータとを設けた駆動ユニットを有するとともに、上述のリソグラフ装置の第2位置決め装置31はローレンツ力のみを発生する第1リニアモータと、単独の普通の第2リニアモータとを設けた駆動ユニットを有する。更に、本発明は異なるタイプの駆動ユニットを設けたサブストレートホルダ及びマスクホルダのための位置決め装置にも関するものである。この例としては、ヨーロッパ特許公開第0498496号に記載のリソグラフ装置におけるサブストレートホルダの駆動装置に使用される駆動ユニットがある。
上述のリソグラフ装置は、サブストレートホルダ1を支持するマシンフレーム45と、合焦装置3と、マスクホルダ5と、位置決め装置21,31の反作用力が伝達されるフォースフレーム41とを有する。このマシンフレーム45はフォースフレーム41に属するベース39から動力学的に遮断される。更に、本発明は、このようなマシンフレーム及びベースのみを有し、サブストレートホルダ及びマスクホルダの位置決め装置の反作用力をマシンフレームに伝達するリソグラフ装置に関するものである。このようなマシンフレームは、例えば、ヨーロッパ特許公開第0498496号に記載のリソグラフ装置に使用される。
最後に、本発明は、上述のフォースアクチュエータ装置を設けない、又はマスクホルダの重心移動のみを補償することができる補償力を供給するフォースアクチュエータ装置を設けたリソグラフ装置もカバーすることに注意されたい。このようなフォースアクチュエータ装置は、例えば、リソグラフ装置の合焦装置が比較的大きな縮小率を有し、従って、マスクホルダの重心移動よりもサブストレートホルダの重心移動が比較的小さい、またサブストレートホルダの重心移動によりマシンフレームに比較的小さい機械的振動を生ずる場合に設けることが考えられる。

Claims (25)

  1. Z軸方向に見て、該Z軸方向に対して直角であるX軸方向およびこのX軸方向とZ軸方向の双方に直交するY軸方向に平行に第1位置決め装置によって位置決めされるサブストレートホルダと、Z軸方向に平行な主軸線を有する合焦装置と、第2位置決め装置によってX軸方向に平行に位置決めされるマスクホルダと、放射源とをこの順序で支持するマシンフレームを有し、
    第2位置決め装置によって、前記マスクホルダが、Y軸方向に平行に位置決めされ、かつZ軸方向に平行な回転軸線の周りで回転され得るようになっているリソグラフ装置において、
    前記第2位置決め装置に、第1リニアモータと、第2リニアモータとを設けて成り、
    前記第1リニアモータは、前記マスクホルダを、X軸方向およびY軸方向に平行に比較的僅かな距離に亘って位置決めすることができ、かつ、前記マスクホルダを、該マスクホルダの回転軸線の周りで回転させることができるようになっており、
    前記第2リニアモータは、X軸方向に平行に比較的大きな距離に亘って前記マスクホルダを位置決めすることができるようになっており、
    動作中、前記第2位置決め装置における磁石装置と電気 コイル装置によるローレンツ力によってのみ、前記マス クホルダが、前記第2位置決め装置の固定部分に連結さ れることを特徴とするリソグラフ装置。
  2. リソグラフ装置がフォースフレームを有し、このフォースフレームは、前記マシンフレームから動力学的に分離され、かつ、前記第2位置決め装置の 固定部分を支持し、もって、露光中に、前記マスクホルダによって前記第2位置決め装置に加わり且つ前記第2位置決め装置によって前記マスクホルダに加わる駆動力から生ずる反作用力が、前記フォースフレームにのみ伝達されるようになっていることを特徴とする請求項1に記載されたリソグラフ装置。
  3. 前記磁石装置および前記電気コイル装置を前記第1リニアモータに属するものとし、前記第2リニアモータが、前記フォースフレームに固定された固定部分と、前記固定部分の案内上でX軸方向に平行に移動自在の可能部分とを有し、
    前記第1リニアモータの磁石装置が前記マスクホルダに固定され、
    また、前記第1リニアモータの前記電気コイル装置が、前記第2リニアモータの前記可動部分に固定されていることを特徴とする請求項1および請求項2に記載されたリソグラフ装置。
  4. 動作中、電気コントローラによって制御され、かつ前記マシンフレームに補償力を加えるフォースアクチュエータ装置を、リソグラフ装置が有し、
    前記補償力が、前記マシンフレームの基準点の周りの機械的モーメントを有し、この機械的モーメントの値が、前記マスクホルダに作用する重力の前記基準点の周りの機械的モーメントの値に等しく、かつ前記補償力の方向が、前記重力の機械的モーメントの方向とは逆向きであることを特徴とする請求項1から請求項までのいずれか一項に記載されたリソグラフ装置。
  5. 動作中、電気コントローラによって制御され、かつ前記マシンフレームに補償力を加えるフォースアクチュエータ装置を、リソグラフ装置が有し、
    前記補償力が、前記マシンフレームの基準点の周りの機械的モーメントを有し、この機械的モーメントの値が、前記サブストレートホルダに作用する重力の前記基準点の周りの機械的モーメントと、前記マスクホルダに作用する重力の前記基準点の周りの機械的モーメントとの和の値に等しく、
    また、前記補償力の方向が、前記サブストレートホルダに作用する重力の前記基準点の周りの機械的モーメントと、前記マスクホルダに作用する重力の前記基準点の周りの機械的モーメントとを合わせた機械的モーメントの方向に対して逆向きであることを特徴とする請求項1から請求項までのいずれか一項に記載されたリソグラフ装置。
  6. 互いに三角形の形態をなすように配置された3つの動力学的アイソレータによって、リソグラフ装置の基礎に前記マシンフレームが配置され、
    また、前記フォースアクチュエータ装置が3つの独立したフォースアクチュエータを有し、該フォースアクチュエータの各々が、それに対応する前記動力学的アイソレータの一つと一体化されていることを特徴とする請求項または請求項に記載されたリソグラフ装置。
  7. 前記補償力が、前記マスクホルダおよび前記サブストレートホルダの少なくとも一方の位置に関する情報の関数として前記電気コントローラによって制御されるようになっていることを特徴とする請求項から請求項までのいずれか一項に記載されたリソグラフ装置。
  8. 前記フォースアクチュエータ装置が、少なくとも二つのフォースアクチュエータを有し、この各フォースアクチュエータが、前記マシンフレームに対して、垂直方向と平行に補償力を加えることができるようになっていることを特徴とする請求項、請求項および請求項のうちのいずれか一項に記載されたリソグラフ装置。
  9. 前記フォースアクチュエータ装置が、複数の動力学的アイソレータと一体化されており、該動力学的アイソレータによって、前記マシンフレームが、リソグラフ装置のフォースフレームに支えられていることを特徴とする請求項、請求項、請求項および請求項のうちのいずれか一項に記載されたリソグラフ装置。
  10. 前記補償力が、前記フォースアクチュエータ装置における磁石装置と電気コイル装置によるローレンツ力を含むことを特徴とする請求項から請求項までのいずれか一項に記載されたリソグラフ装置。
  11. 前記第2リニアモータが、前記フォースフレームに固定された固定部分と、前記固定部分の案内上でX軸方向に平行に移動可能な可動部分とを有し、
    前記第1リニアモータが、磁石装置および電気コイル装置を有し、該磁石装置および該電気コイル装置の一方が前記マスクホルダに結合され、該磁石装置および該電気コイル装置の他方が前記第2リニアモータの前記可動部分に結合されていることを特徴とする請求項または請求項に記載されたリソグラフ装置。
  12. 前記マスクホルダが、前記第1リニアモータにおける前記磁石装置および前記電気コイル装置のローレンツ力によってのみ、前記第2リニアモータの前記可動部分に連結され、
    前記第1リニアモータの前記磁石装置が前記マスクホルダに連結され、
    前記第1リニアモータの前記電気コイル装置が前記第2リニアモータの前記可動部分に連結され、かつ
    前記第1リニアモータが、少なくとも三つのモータを含むことを特徴とする請求項11に記載されたリソグラフ装置。
  13. 前記マシンフレームが、複数の動力学的アイソレータによって前記フォースフレームに支持されていることを特徴とする請求項、請求項、請求項11および請求項12のうちのいずれか一項に記載されたリソグラフ装置。
  14. 前記マスクホルダおよび前記サブストレートホルダのうちの少なくとも一つが、前記マシンフレームに固定された案内に沿って、水平なX軸方向、および、該X軸方向に対して直角である水平なY軸方向に対して平行に移動可能であることを特徴とする請求項1から請求項13までのいずれか一項に記載されたリソグラフ装置。
  15. Z軸方向および該Z軸方向に対して直角であるY軸方向の両者に対して直角であるX軸方向に平行に第1位置決め装置によって位置決めされるサブストレートホルダと、
    主軸線を有する合焦装置と、
    X軸方向に平行に第2位置決め装置によって位置決めされるマスクホルダとを有し、
    前記マスクホルダが、前記第2位置決め装置によって、Y軸方向に平行に位置決めされ、かつ、Z軸方向に対して平行である回転軸線の周りで回転可能になされているリソグラフ装置において、
    前記第2位置決め装置が第1リニアモータと第2リニアモータを有し、
    前記マスクホルダが、前記第1リニアモータによって、X軸方向およびY軸方向に対して平行に比較的僅かな距離に亘って位置決めされるとともに、前記マスクホルダの前記回転軸線の周りで回転され、
    さらに、前記マスクホルダが、前記第2リニアモータによって、X軸方向に対して平行に比較的大きな距離に亘って位置決めされるようになっており、
    リソグラフ装置が更にマシンフレームを有し、
    該マシンフレームが、Z軸方向に対して平行に合焦装置 を支持するとともに、前記マスクホルダおよび前記サブ ストレートホルダの少なくとも一方を支持しており、
    リソグラフ装置が、制御装置によって制御され、かつ動 作中に、前記マシンフレームに補償力を加えるフォース アクチュエータ装置を更に有し、
    前記補償力が、前記マシンフレームの基準点の周りの機 械的モーメントを有し、この機械的モーメントの値が、 前記マスクホルダおよび前記サブストレートホルダの少 なくとも一方に作用する重力の前記基準点の周りの機械 的モーメントの値に等しく、かつ前記補償力の方向が、 前記重力の機械的モーメントの方向とは逆向きであるこ とを特徴とするリソグラフ装置。
  16. 前記マスクホルダおよび前記サブストレートホルダの少なくとも一方が、水平であるX軸方向、および該X軸方向に対して直角であって水平であるY軸方向に対して平行に、前記マシンフレームに固定された案内に沿って移動可能になされていることを特徴とする請求項15に記載されたリソグラフ装置。
  17. リソグラフ装置がフォースフレームを有し、
    該フォースフレームが、前記マシンフレームから分離されるとともに、前記第2位置決め装置の固定部分を支持し、もって、露光中に、前記マスクホルダによって前記第2位置決め装置に加わり且つ前記第2位置決め装置によって前記マスクホルダに加わる駆動力から生ずる反作用力が、前記フォースフレームにのみ伝達されるようになっていることを特徴とする請求項15または請求項16に記載されたリソグラフ装置。
  18. 前記マシンフレームが、複数の動力学的アイソレータによって、前記フォースフレームに支持されていることを特徴とする請求項17に記載されたリソグラフ装置。
  19. 前記第2リニアモータが、前記フォースフレームに固定された固定部分と、前記固定部分の案内に沿ってX軸方向に対して平行に移動可能である可動部分とを有し、
    前記第1リニアモータが、前記マスクホルダに結合された、磁石装置および電気コイル装置の一方と、前記第2リニアモータの前記可動部分に結合された、前記磁石装置および前記電気コイル装置の他方とを有することを特徴とする請求項17または請求項18に記載されたリソグラフ装置。
  20. リソグラフ装置が、前記第1リニアモータの前記磁石装置および前記電気コイル装置のローレンツ力によってのみ、前記第2リニアモータの前記可動部分に連結され、
    前記第1リニアモータの前記磁石装置が前記マスクホルダに結合され、
    前記第1リニアモータの前記電気コイル装置が前記第2リニアモータの前記可動部分に結合され、かつ
    前記第1リニアモータが少なくとも三つのモータを有することを特徴とする請求項19に記載されたリソグラフ装置。
  21. 前記補償力が、前記マスクホルダおよび前記サブストレートホルダの少なくとも一方の位置に関する情報の関数として前記電気コントローラによって制御されるようになっていることを特徴とする請求項20に記載されたリソグラフ装置。
  22. 前記制御装置がフィードフォワード制御ループを含むことを特徴とする請求項20または請求項21に記載されたリソグラフ装置。
  23. 前記フォースアクチュエータ装置が、少なくとも二つのフォースアクチュエータを有し、この各フォースアクチュエータが、前記マシンフレームに対して、垂直方向に平行に補償力を加え得るようになっていることを特徴とする請求項20から請求項22までのいずれか一項に記載されたリソグラフ装置。
  24. 前記フォースアクチュエータ装置が、複数の動力学的アイソレータと一体化されており、該動力学的アイソレータによって、前記マシンフレームが、リソグラフ装置のフォースフレームに支持されていることを特徴とする請求項20から請求項23までのいずれか一項に記載されたリソグラフ装置。
  25. 前記補償力が、前記フォースアクチュエータ装置の磁石装置および電気コイル装置のローレンツ力を含むことを特徴とする請求項20から請求項24までのいずれか一項に記載されたリソグラフ装置。
JP53632296A 1995-05-30 1996-03-11 三次元的に位置決め可能なマスクホルダを有するリソグラフ装置 Expired - Fee Related JP3575615B2 (ja)

Applications Claiming Priority (3)

Application Number Priority Date Filing Date Title
EP95201400 1995-05-30
AT95201400.9 1995-05-30
PCT/IB1996/000196 WO1996038764A1 (en) 1995-05-30 1996-03-11 Lithographic device with a three-dimensionally positionable mask holder

Publications (2)

Publication Number Publication Date
JPH10506239A JPH10506239A (ja) 1998-06-16
JP3575615B2 true JP3575615B2 (ja) 2004-10-13

Family

ID=8220330

Family Applications (1)

Application Number Title Priority Date Filing Date
JP53632296A Expired - Fee Related JP3575615B2 (ja) 1995-05-30 1996-03-11 三次元的に位置決め可能なマスクホルダを有するリソグラフ装置

Country Status (6)

Country Link
US (1) US5767948A (ja)
EP (1) EP0772800B1 (ja)
JP (1) JP3575615B2 (ja)
DE (1) DE69608204T2 (ja)
TW (1) TW346553B (ja)
WO (1) WO1996038764A1 (ja)

Families Citing this family (25)

* Cited by examiner, † Cited by third party
Publication number Priority date Publication date Assignee Title
US5477304A (en) 1992-10-22 1995-12-19 Nikon Corporation Projection exposure apparatus
US5854671A (en) * 1993-05-28 1998-12-29 Nikon Corporation Scanning exposure method and apparatus therefor and a projection exposure apparatus and method which selectively chooses between static exposure and scanning exposure
US6721034B1 (en) 1994-06-16 2004-04-13 Nikon Corporation Stage unit, drive table, and scanning exposure apparatus using the same
US5850280A (en) * 1994-06-16 1998-12-15 Nikon Corporation Stage unit, drive table, and scanning exposure and apparatus using same
JP3484684B2 (ja) * 1994-11-01 2004-01-06 株式会社ニコン ステージ装置及び走査型露光装置
US6392741B1 (en) 1995-09-05 2002-05-21 Nikon Corporation Projection exposure apparatus having active vibration isolator and method of controlling vibration by the active vibration isolator
JP3564833B2 (ja) 1995-11-10 2004-09-15 株式会社ニコン 露光方法
JP3659529B2 (ja) * 1996-06-06 2005-06-15 キヤノン株式会社 露光装置およびデバイス製造方法
JP3266515B2 (ja) * 1996-08-02 2002-03-18 キヤノン株式会社 露光装置、デバイス製造方法およびステージ装置
JPH10112433A (ja) * 1996-10-04 1998-04-28 Nikon Corp 除振装置及び露光装置
JPH10209035A (ja) * 1997-01-23 1998-08-07 Nikon Corp 露光装置
JP3155936B2 (ja) 1997-06-26 2001-04-16 キヤノン株式会社 リニアモータとステージ装置及びこれを用いた走査型露光装置やデバイス製造方法
WO1999016113A1 (en) * 1997-09-19 1999-04-01 Nikon Corporation Stage device, a scanning aligner and a scanning exposure method, and a device manufactured thereby
KR20010030903A (ko) * 1997-11-12 2001-04-16 오노 시게오 투영노광장치
US6054784A (en) * 1997-12-29 2000-04-25 Asm Lithography B.V. Positioning device having three coil systems mutually enclosing angles of 120° and lithographic device comprising such a positioning device
TWI242113B (en) * 1998-07-17 2005-10-21 Asml Netherlands Bv Positioning device and lithographic projection apparatus comprising such a device
AU1554901A (en) * 1999-12-16 2001-06-25 Nikon Corporation Exposure method and exposure apparatus
US6327023B1 (en) 1999-12-23 2001-12-04 International Business Machines Corporation Optimization of reticle rotation for critical dimension and overlay improvement
US6621556B2 (en) * 2000-02-28 2003-09-16 Nikon Corporation Projection exposure apparatus and manufacturing and adjusting methods thereof
JP2002305140A (ja) * 2001-04-06 2002-10-18 Nikon Corp 露光装置及び基板処理システム
JP3963426B2 (ja) * 2001-11-28 2007-08-22 キヤノン株式会社 ステージ装置および露光装置
JP2004356222A (ja) * 2003-05-27 2004-12-16 Canon Inc ステージ装置及びその制御方法、露光装置、並びにデバイス製造方法
US7006199B2 (en) * 2004-03-10 2006-02-28 Asml Netherlands B.V. Lithographic positioning device and device manufacturing method
US20060086321A1 (en) * 2004-10-22 2006-04-27 Advantech Global, Ltd Substrate-to-mask alignment and securing system with temperature control for use in an automated shadow mask vacuum deposition process
US20060269687A1 (en) * 2005-05-31 2006-11-30 Federal-Mogul World Wide, Inc. Selective area fusing of a slurry coating using a laser

Family Cites Families (8)

* Cited by examiner, † Cited by third party
Publication number Priority date Publication date Assignee Title
JPH0650714B2 (ja) * 1986-07-17 1994-06-29 キヤノン株式会社 露光方法
US4803712A (en) * 1987-01-20 1989-02-07 Hitachi, Ltd. X-ray exposure system
NL8902471A (nl) * 1989-10-05 1991-05-01 Philips Nv Tweetraps positioneerinrichting.
DE4035306C2 (de) * 1989-11-10 1995-01-05 Krause Biagosch Gmbh Vorrichtung zur Herstellung von Druckplatten
NL9100202A (nl) * 1991-02-05 1992-09-01 Asm Lithography Bv Lithografische inrichting met een hangende objecttafel.
JP2830492B2 (ja) * 1991-03-06 1998-12-02 株式会社ニコン 投影露光装置及び投影露光方法
JP2862385B2 (ja) * 1991-03-13 1999-03-03 キヤノン株式会社 露光装置
DE4333620A1 (de) * 1993-10-15 1995-04-20 Jenoptik Technologie Gmbh Anordnung und Verfahren zur Erzeugung von Dosisprofilen für die Herstellung von Oberflächenprofilen

Also Published As

Publication number Publication date
EP0772800B1 (en) 2000-05-10
EP0772800A1 (en) 1997-05-14
DE69608204T2 (de) 2001-01-04
TW346553B (en) 1998-12-01
WO1996038764A1 (en) 1996-12-05
US5767948A (en) 1998-06-16
DE69608204D1 (de) 2000-06-15
JPH10506239A (ja) 1998-06-16

Similar Documents

Publication Publication Date Title
JP3575615B2 (ja) 三次元的に位置決め可能なマスクホルダを有するリソグラフ装置
JP3640971B2 (ja) 重心移動を補償するフォースアクチュエータ装置を有する位置決め装置
JP3976783B2 (ja) 振動を受けない物品テーブルを有する位置決め装置
EP0772801B1 (en) A positioning device with a reference frame for a measuring system
US6894449B2 (en) Vibration control device, stage device and exposure apparatus
KR100625625B1 (ko) 기판, 스테이지 장치, 스테이지 구동 방법, 노광 장치 및노광 방법
US6750625B2 (en) Wafer stage with magnetic bearings
US6885430B2 (en) System and method for resetting a reaction mass assembly of a stage assembly
US6879375B1 (en) Exposure apparatus and method that exposes a pattern onto a substrate
JP2000505957A (ja) 二次元的にバランスをとった位置決め装置及びこのような位置決め装置を設けたリソグラフ装置
KR20070039926A (ko) 지지 장치, 스테이지 장치, 노광 장치, 및 디바이스의 제조방법
US20030184724A1 (en) Stage assembly including a damping assembly
US6774981B1 (en) Modular exposure apparatus with removable optical device and improved isolation of the optical device
US7061577B2 (en) Image adjustor including damping assembly
JPWO2004105105A1 (ja) ステージ装置及び露光装置、並びにデバイス製造方法
US20040004703A1 (en) Method and apparatus for reducing rotary stiffness in a support mechanism
JP4287781B2 (ja) 測定システム用基準フレームを有する位置決め装置
KR100430493B1 (ko) 3차원으로위치설정가능한마스크홀더를가진리소그래피장치
KR100430494B1 (ko) 진동의영향이없는오브젝트테이블을갖는위치설정장치및상기위치설정장치가제공된리소그래피장치
KR100434618B1 (ko) 측정시스템용기준프레임을가진위치설정장치
KR100427428B1 (ko) 중력중심변위보정용힘작동기시스템을가진위치설정장치
JP2001345256A (ja) ステージ装置および露光装置
JP2023179277A (ja) 位置決め装置、リソグラフィ装置及び物品の製造方法
JPH11511905A (ja) 測定システム用基準フレームを有する位置決め装置

Legal Events

Date Code Title Description
A521 Request for written amendment filed

Free format text: JAPANESE INTERMEDIATE CODE: A523

Effective date: 20040324

TRDD Decision of grant or rejection written
A01 Written decision to grant a patent or to grant a registration (utility model)

Free format text: JAPANESE INTERMEDIATE CODE: A01

Effective date: 20040608

A61 First payment of annual fees (during grant procedure)

Free format text: JAPANESE INTERMEDIATE CODE: A61

Effective date: 20040701

R150 Certificate of patent or registration of utility model

Free format text: JAPANESE INTERMEDIATE CODE: R150

S531 Written request for registration of change of domicile

Free format text: JAPANESE INTERMEDIATE CODE: R313531

S533 Written request for registration of change of name

Free format text: JAPANESE INTERMEDIATE CODE: R313533

R350 Written notification of registration of transfer

Free format text: JAPANESE INTERMEDIATE CODE: R350

FPAY Renewal fee payment (event date is renewal date of database)

Free format text: PAYMENT UNTIL: 20080716

Year of fee payment: 4

FPAY Renewal fee payment (event date is renewal date of database)

Free format text: PAYMENT UNTIL: 20090716

Year of fee payment: 5

LAPS Cancellation because of no payment of annual fees