JP3565074B2 - 切削工具 - Google Patents

切削工具 Download PDF

Info

Publication number
JP3565074B2
JP3565074B2 JP01248799A JP1248799A JP3565074B2 JP 3565074 B2 JP3565074 B2 JP 3565074B2 JP 01248799 A JP01248799 A JP 01248799A JP 1248799 A JP1248799 A JP 1248799A JP 3565074 B2 JP3565074 B2 JP 3565074B2
Authority
JP
Japan
Prior art keywords
slider
cartridge
tool
tip
cutting
Prior art date
Legal status (The legal status is an assumption and is not a legal conclusion. Google has not performed a legal analysis and makes no representation as to the accuracy of the status listed.)
Expired - Fee Related
Application number
JP01248799A
Other languages
English (en)
Other versions
JP2000210802A (ja
Inventor
正治 滝口
俊賀 渡部
Current Assignee (The listed assignees may be inaccurate. Google has not performed a legal analysis and makes no representation or warranty as to the accuracy of the list.)
Mitsubishi Materials Corp
Original Assignee
Mitsubishi Materials Corp
Priority date (The priority date is an assumption and is not a legal conclusion. Google has not performed a legal analysis and makes no representation as to the accuracy of the date listed.)
Filing date
Publication date
Application filed by Mitsubishi Materials Corp filed Critical Mitsubishi Materials Corp
Priority to JP01248799A priority Critical patent/JP3565074B2/ja
Publication of JP2000210802A publication Critical patent/JP2000210802A/ja
Application granted granted Critical
Publication of JP3565074B2 publication Critical patent/JP3565074B2/ja
Anticipated expiration legal-status Critical
Expired - Fee Related legal-status Critical Current

Links

Images

Landscapes

  • Cutting Tools, Boring Holders, And Turrets (AREA)

Description

【0001】
【発明の属する技術分野】
本発明は、特にエンジンのシリンダーヘッドにおけるバルブ穴の加工等に用いて最適な切削工具に関するものである。
【0002】
【従来の技術】
この種の切削工具として、本発明の発明者等は、例えば特開平6−304804号公報において、図4ないし図8に示すようなものを提案している。これらの図において工具本体1は略円錐状をなし、アダプタ2を介して図示しない工作機械の主軸端等に装着され、その軸線O回りに回転されて切削加工に供される。また、この工具本体1の先端には上記軸線Oに沿ってブッシュ3が装着されており、このブッシュ3には、ガンリーマ等の穴加工工具(図示略)が嵌挿されて、軸4により工具本体1に対して進退可能とされる。さらに、上記工具本体1の先端部外周には3つの切刃チップ5A,5B,5Cが設けられており、これらの切刃チップ5A,5B,5Cのうち、二つの切刃チップ5B,5Cは図7に示すように工具本体1に直接的に固定される一方、残りの一の切刃チップ5Aは、工具本体1がなす円錐の母線方向に沿ってスライド可能に取り付けられている。
【0003】
すなわち、工具本体1にはその円錐形状の母線の方向に沿って、つまり軸線Oに斜交する方向に、図4および図5に示すように凹溝6が形成されており、この凹溝6にはスライダー7が該凹溝6に沿って摺動可能に装着されていて、上記切刃チップ5Aは図6に示すようにこのスライダー7に着脱可能に取り付けられているのである。ここで、スライダー7の先端部には上記軸線Oに平行に取付孔7aが形成されるとともに、この取付孔7aには、先端部にチップ取付座8aを有するヘッド部8bが形成されたカートリッジ8の後端側の軸状のシャンク部8cが嵌挿されており、切刃チップ5Aは、上記チップ取付座8aにクランプ駒8dによって装着された上で、カートリッジ8の上記シャンク部8cをクランプネジ9によってクランプすることにより、該カートリッジ8を介してスライダー7に装着されている。なお、図中に符号10で示すのは、切刃5aの軸線O方向の突き出し量を調整する調整ネジである。また、凹溝6の壁面6a,6b側には、スライダー7との間に、スペーサー11とクサビ部材12とがそれぞれクランプボルト13…によって着脱自在に取り付けられており、このうちスペーサ11とスライダー7とは、図示されないセレーション溝によって互いに係合可能とされている。
【0004】
さらに、工具本体1およびアダプタ2の内部には、それぞれ軸線Oに沿って取付穴1a,2aが形成されていて、これらの穴1a,2aにはスライド軸14およびカップリング部材15が挿通されており、このカップリング部材15は、キー15aを介して上記取付穴1aに嵌着されて工具本体1と上記軸線O回りに一体回転可能、かつスライド軸14を進退させることによって上記取付穴1a内を軸線O方向に進退可能とされている。また、工具本体1の上記凹溝6と取付穴1aとは貫通穴6cを介して連通している一方、スライダー7にはこの貫通穴6cを通って取付穴1aに突出する連結ピン16が取り付けられており、この連結ピン16の先端がカップリング部材15の斜孔15bに嵌挿されることによってスライダー7はカップリング部材15に連結されていて、スライド軸14によってカップリング部材15を進退させることにより、スライダー7が凹溝6内を摺動して切刃チップ5Aを軸線Oに斜交する方向にスライドさせるようになされている。
【0005】
このような構成の切削工具によって上述したようなバルブ穴の加工を行うには、上記ブッシュ3に穴加工工具を装着して軸4により工具本体1の基端側に引き込んだ上で、工具本体1を軸線O回りに回転しつつ該軸線O方向に送りを与え、まず固定された上記二つの切刃チップ5B,5Cによって図8に示すように穴の開口部に面取りC,Cを形成する。なお、この図8は、切刃チップ5A,5B,5Cの軸線O回りの回転軌跡を示すものであり、図中符号Sで示すのは、バルブ穴等の開口部周縁に嵌装される焼結合金等の硬質部材である。そして、このように面取りC,Cが形成されたなら、工具本体1を回転させたまま一旦工具本体1を僅かに後退させ、次いで上記スライド軸14を突き出してカップリング部材15を前進させることにより、上述のように連結ピン16を介してスライダー7をスライドさせ、切刃チップ5Aを上記移動軌跡Rに沿って移動させて穴の開口部にテーパ面Pを形成する。しかる後、なお工具本体1を回転させたまま、軸4により上記穴加工工具を前進させてバルブ穴の内部に挿入し、このバルブ穴自体の仕上げ加工を行う。
【0006】
【発明が解決しようとする課題】
ところで、このように構成された切削工具において上記カートリッジ8は、上記調整ネジ10の円錐状の先端部がシャンク部8c後端の傾斜面に当接することにより、この調整ネジ10のねじ込み量に応じて切刃5aの突き出し量が調整された上で、クランプネジ9によりクランプされてスライダー7に固定されている。従って、この切刃5aの突き出し量が最小となるように設定されている場合以外、すなわちカートリッジ8のヘッド部8bがスライダー7の先端面7bに密着している場合以外は、カートリッジ8は図6に示すようにそのヘッド部8bの後端側を向く面8eをスライダー7の先端面7bから離間させて、このスライダー7の先端面7bからシャンク部8cを僅かに突き出した状態でスライダー7に取り付けられる。
【0007】
しかしながら、このようにカートリッジ8のシャンク部8cがスライダー7の先端面7bから突き出されて、ヘッド部8bがいわゆるオーバーハングとなっている状態において、上記切刃5aにより切削が行われると、この切刃5aに作用する切削時の負荷により、くびれたシャンク部8cが切刃5aに切削負荷の作用する方向、すなわち工具回転方向Tの後方側に撓んでしまってカートリッジ8にビビリ振動が発生し、このため切削精度が著しく損なわれたり、切刃5aの寿命の短縮を招いたりするという問題があった。その一方で、このようなビビリ振動の発生を防ぐため、例えば上述のように切刃5aの突き出し量が最小となるようにカートリッジ8のヘッド部8bの上記後端側を向く面8eをスライダー7の先端面7bに常に密着させた状態としたり、あるいは図9に示すようにカートリッジ8を備えることなく、スライダー7の先端に切刃チップ5Aを直接装着したりした場合には、切刃5aの突き出し量の調整を行うことができなくなるとともに、特に後者の場合には、スライダー7のチップ取付座が損傷したりするとスライダー7ごと交換しなければならない。
【0008】
本発明は、このような背景の下になされたものであって、上述のような構成の切削工具において、スライダーに取り付けられる切刃の突き出し量を調整可能としつつも、この切刃に切削時に作用する負荷によってビビリ振動などが生じるのを防ぐことが可能な切削工具を提供することを目的としている。
【0009】
【課題を解決するための手段】
上記課題を解決して、このような目的を達成するために、本発明は、軸線回りに回転される略円錐状の工具本体に、この円錐の母線に沿って凹溝が形成され、この凹溝内に、切刃チップを備えたスライダーが該凹溝に沿って摺動可能に装着されて成る切削工具であって、上記切刃チップを、後端側にシャンク部が形成されたカートリッジの先端のヘッド部に装着して、このカートリッジを、その上記シャンク部を上記スライダーに形成された取付孔に挿入することにより上記軸線方向に出没可能に該スライダーに取り付けるとともに、上記ヘッド部の後端側を向く面とこの面に対向する上記スライダーの先端面との間には、上記取付孔に対する上記工具本体の回転方向後方側に、該ヘッド部を支持する支持部材を介装したことを特徴とする。
【0010】
従って、このように構成された切削工具においては、従来の切削工具と同様に切刃チップが装着されたカートリッジのシャンク部がスライダーの取付孔に挿入されてカートリッジが工具本体の軸線方向に出没可能にスライダーに取り付けられているため、切刃の突き出し量の調整を行うことが可能である。そして、その一方で、この切刃チップが装着されるカートリッジ先端のヘッド部の後端側を向く面とスライダー先端面との間に介装された支持部材により、該ヘッド部が切削負荷の作用する工具回転方向後方側に向けて支持されるので、ヘッド部がオーバーハング状態となってもシャンク部の撓みによる切削時のビビリ振動の発生などを防ぐことができる。
【0011】
なお、ここで、上記支持部材としては、例えば切刃の突き出し量に応じた厚さのスペーサなどをカートリッジのヘッド部の後端側を向く面とスライダー先端面との間に介装したりすることも可能であるが、より精密な突き出し量の調整および確実なヘッド部の支持を図るには、上記支持部材としては、上記ヘッド部の後端側を向く面と上記スライダーの先端面とのうち一方の面にねじ込まれてこの一方の面から突出し、他方の面に当接することにより上記ヘッド部を支持するネジ部材を採用するのが望ましい。また、特にこのような構成を採用した場合にあっては、上記ネジ部材を、上記カートリッジの先端側からの操作によって回動させられて上記一方の面からの突出量を調整可能とすることにより、切刃の突き出し量の調整を容易に行うことが可能となる。
【0012】
【発明の実施の形態】
図1ないし図3は、本発明の一実施形態を示すものである。ただし、本実施形態は、スライダー7の先端部におけるカートリッジ8の取付構造以外は図4ないし図8に示した従来の切削工具と変わることがないので、この従来の切削工具と共通する構成要素については同一の符号を配し、また図示されない部分については説明を省略する。
【0013】
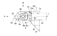
すなわち、本実施形態においてカートリッジ8のヘッド部8bには、その先端面から後端側を向く面8eにかけて工具本体1の軸線Oと平行となるように貫通孔21が形成されており、この貫通孔21の後端側内周部には雌ねじ部21aが形成されていて、この雌ねじ部21aに本実施形態における支持部材(ネジ部材)としての調整ネジ22がねじ込まれ、その後端部22aがヘッド部8bの後端側を向く面8eから突出してスライダー7の先端面7bに当接させられている。ここで、上記貫通孔21は、カートリッジ8のシャンク部8cに対して、ヘッド部8bに装着される切刃チップ5Aのすくい面23が向く側とは反対側、すなわち工具本体1の回転方向Tの後方側に位置するように配置されている。また、調整ネジ22の先端には六角レンチ等の作業用工具に係合する六角レンチ孔等の係合部22bが形成されており、この六角レンチ等の作業用工具をカートリッジ8の先端側から上記貫通孔21に挿入して上記係合部22bに係合させることにより、この先端側からの操作によって調整ネジ22が回動可能とされて、ヘッド部8bの後端側を向く面8eからの調整ネジ22の後端部22aの突出量が調整可能とされている。
【0014】
なお、本実施形態においてこの切刃チップ5Aは、図示されない他の切刃チップ5B,5Cと同様に超硬合金等の硬質材料から略正三角形平板状に形成されたポジティブチップであって、その一方の正三角形面を上記すくい面23として工具回転方向T側に向け、かつこのすくい面23のコーナ部に形成された切刃5aを工具先端側に突き出して、ヘッド部8bに形成されたチップ取付座8aに着座させられ、さらにクランプ駒8dにより上記すくい面23が押圧されることによって固定されている。ただし、このようなクランプ駒8dによるクランプオン式の取付手段に代えて、例えば切刃チップ5Aにそのすくい面23から貫通する取付孔を形成し、この取付孔に挿通したクランプネジをチップ取付座8aに形成されたネジ孔にねじ込んで該切刃チップ5Aを固定する、いわゆるスクリューオン式の取付手段を採るようにしてもよい。
【0015】
また、本実施形態においてカートリッジ8のシャンク部8cは略円柱状に形成されており、その工具外周側を向く側部には平坦面24が形成される一方、スライダー7に形成される取付孔7aは、このシャンク部8cが嵌挿可能な面円形とされて、その中心線Lが工具本体1の軸線Oに平行となるように配置されている。さらに、スライダー7の先端部には、この取付孔7aに直交するように工具外周側からネジ孔25が形成されていて、このネジ孔25にはクランプネジ26がねじ込まれており、このクランプネジ26の平坦な先端部がシャンク部8cの上記平坦面24に当接して該シャンク部8cを工具内周側に押圧することにより、カートリッジ8がスライダー7の先端部に固定されるようになされている。さらにまた、カートリッジ8のヘッド部8bの後端側を向く面8eとスライダー7の先端面7b、およびこの先端面7bに当接する上記調整ネジ22の後端面22cとは、いずれも上記中心線Lに垂直な平坦面に形成されている。
【0016】
このように構成された切削工具においては、切刃チップ5Aの切刃5aから調整ネジ22の上記後端面22cまでの中心線L方向の距離が、スライダー7の先端面7bからの切刃5aの突き出し量に相当するように、上述のように調整ネジ22を回動してそのヘッド部8bの後端側を向く面8eからの突出量を調整し、しかる後この調整ネジ22の後端面22cをスライダー7の先端面7bに当接させた上で、クランプネジ26によりカートリッジ8を固定する。従って、このようにカートリッジ8が固定された切削工具では、切削時に切刃5aに作用する負荷によって、スライダー7の先端面7bから突き出したカートリッジ8のシャンク部8cが工具回転方向Tの後方側に撓もうとしても、このシャンク部8cの工具回転方向Tの後方側には、ヘッド部8bの後端側を向く面8eとスライダー7の先端面7bとの間に、ヘッド部8bから突き出した支持部材としての調整ネジ22の後端部22aが介在しており、この調整ネジ22の後端面22cがスライダー7の先端面7bに当接することによってヘッド部8bが支持されるので、カートリッジ8の取付剛性の向上を図ってシャンク部8cに撓みが生じるのを防ぐことができる。
【0017】
このため、上記構成の切削工具によれば、切刃5aの突き出し量を調整するためにカートリッジ8のシャンク部8cがスライダー7の先端面7bから突き出された状態とされて、ヘッド部8bがオーバーハングとなった状態であっても、上述したような切削時のシャンク部8cの撓みによって切刃チップ5Aにビビリ振動が生じたりするのを防止することができる。従って、かかるビビリ振動によって当該切削工具による加工精度が損なわれてしまったり、あるいは切刃5aの摩耗が促進されてその寿命が短縮されてしまったりするのを防いで、長期に渡って高精度の加工を促すことが可能となるとともに、万一ヘッド部8bのチップ取付座8aが損傷したりした場合でも、カートリッジ8だけを交換すればよく、経済的である。
【0018】
ところで、本実施形態では、カートリッジ8のヘッド部8bの後端側を向く面8eとスライダー7の先端面7bとの間に介装される支持部材が、上記面8eに開口するようにヘッド部8bに形成された貫通孔21の雌ねじ部21aにねじ込まれたネジ部材である調整ネジ22であって、上述のようにこの調整ネジ22の後端部22aの上記面8eからの突出量を調整することにより切刃5aの突き出し量が調整可能とされているが、このような構成を採らず、例えばヘッド部8bの後端側を向く面8eとスライダー7の先端面7bとの間に、切刃5aの突き出し量に応じた厚さのスペーサーなどを支持部材として介装することにより、ヘッド部8bを支持するとともに切刃5aの突き出し量の調整を行うようにすることも可能である。
【0019】
ところが、このような構成を採った場合には、予め切刃5aの突き出し量に合わせた複数種の厚さのスペーサを用意しておかなければならず、調整作業が煩雑となるとともに、切削中でもスペーサが脱落することなくヘッド部8bの後端側を向く面8eとスライダー7の先端面7bとの間に保持されるようにしておかなければ、確実にヘッド部8bを支持してビビリ振動の発生を防止することはできない。従って、この支持部材としては、本実施形態の調整ネジ22のように、ヘッド部8bの後端側を向く面8eとスライダー7の先端面7bとのうちの一方の面(本実施形態ではヘッド部8bの後端側を向く面8e)にねじ込まれてこの一方の面8eから突出し、他方の面(本実施形態ではスライダー7の先端面7b)に当接することにより上記ヘッド部8bを支持するネジ部材であることが望ましく、かかる構成を採ることにより、調整ネジ22のねじ込み量を調節することによって容易に無段階の切刃5aの突き出し量の調整が可能であるとともに、カートリッジ8のヘッド部8bを確実に支持することができる。
【0020】
また、本実施形態では、上述のように支持部材がヘッド部8bの後端側を向く面8eにねじ込まれたネジ部材としての調整ネジ22であって、その後端部22aが上記ヘッド部8bの後端側を向く面8eから突出して後端面22cがスライダー7の先端面7bに当接するようになされているが、これとは逆に、調整ネジをスライダー7の先端面7bにねじ込んで該先端面7bから突出させ、この突出した調整ネジの先端部をヘッド部8bの後端側を向く面8eに当接させて該ヘッド部8bを支持するように構成することも可能ではある。ただし、そのような構成を採った場合には、調整ネジを回動させてそのねじ込み量を調節する操作は、工具外周側からカートリッジ8のヘッド部8bの後端側を向く面8eとスライダー7の先端面7bとの間を通して行うか、あるいはいちいちカートリッジ8を取り外してねじ込み量を調節した後にカートリッジ8を取り付け直すといったものにならざるを得ず、上記面7b,8e間の間隔が小さい場合には操作ができなかったり、切刃5aの突き出し量を微調整することが困難となったりするおそれがある。
【0021】
従って、このような不都合が生じるのを避けるために、上記調整ネジ22は、これを本実施形態のようにカートリッジ8のヘッド部8bに形成された貫通孔21の雄ねじ部21aにねじ込み、該貫通孔21を通して挿入した作業用工具によって回動可能とするなどして、カートリッジ8の先端側からの操作によって回動可能とするように構成するのが望ましい。なお、本実施形態では、上述のようにこの調整ネジ22によってカートリッジ8のヘッド部8bの支持と切刃5aの突き出し量の調整とを同時に行うようにしているが、例えば図6に示した従来の切削工具と同様に、スライダー7の取付孔7aの内周に円錐状の先端部が突出するようにスライダー7に調整ネジ10をねじ込んで、この調整ネジ10の先端部にカートリッジ8のシャンク部8c後端の傾斜面を当接させることにより切刃5aの突き出し量を調整するようにし、上記調整ネジ22はヘッド部8bの支持のみを行うように構成することも可能である。
【0022】
【発明の効果】
以上説明したように、本発明によれば、後端側のシャンク部をスライダーの取付孔に挿入して取り付けられたカートリッジのヘッド部の後端側を向く面と、この面に対向するスライダーの先端面との間に、ヘッド部を支持する支持部材が上記取付孔に対する工具本体の回転方向後方側に介装されており、これによりカートリッジの取付剛性を向上させて切削時にシャンク部に撓みが生じるのを防ぐことができる。従って、カートリッジをスライダーから出没可能として切刃の突き出し量の調整を可能としつつも、切削時に作用する負荷によってビビリ振動などが発生するのを防止して、切削精度の向上を図るとともに切刃寿命の延長を促すことが可能となる。
【図面の簡単な説明】
【図1】本発明の一実施形態におけるカートリッジ8の周辺を示す拡大平面図である。
【図2】図1における矢線W方向視の拡大側面図である。(ただし、クランプ駒8dは図示が略されている。)
【図3】図1に示すカートリッジ8の矢線X方向視の拡大正面図である。(ただし、クランプ駒8dは図示が略されている。)
【図4】従来の切削工具を示す側面図である。
【図5】図4に示す従来の切削工具を工具先端側から見た正面図である。
【図6】図5におけるYOY拡大断面図である。
【図7】図5におけるZOZ拡大断面図である。
【図8】図4に示す従来の切削工具における切刃チップ5A,5B,5Cの軸線O回りの回転軌跡を示す図である。
【図9】従来の他の切削工具において図5におけるYOY断面図に相当する拡大断面図である。
【符号の説明】
1 工具本体
5A,5B,5C 切刃チップ
5a 切刃チップ5Aの切刃
6 凹溝
7 スライダー
7a スライダー7の取付孔
7b スライダー7の先端面
8 カートリッジ
8b ヘッド部
8c シャンク部
8e ヘッド部8bの後端側を向く面
22 調整ネジ(支持部材、ネジ部材)
O 工具本体1の回転軸線
T 工具本体1の回転方向

Claims (3)

  1. 軸線回りに回転される略円錐状の工具本体に、この円錐の母線に沿って凹溝が形成され、この凹溝内に、切刃チップを備えたスライダーが該凹溝に沿って摺動可能に装着されて成る切削工具であって、上記切刃チップは、後端側に略円柱状のシャンク部が形成されたカートリッジの先端のヘッド部に装着されていて、このカートリッジは、その上記シャンク部が上記スライダーに形成された取付孔に挿入されて上記軸線方向に出没可能に該スライダーに取り付けられているとともに、上記シャンク部には工具外周側を向く側部に平坦面が形成され、かつ上記スライダーの先端部に上記取付孔に直交するように工具外周側から形成されたネジ孔にクランプネジがねじ込まれて、このクランプネジの先端部が上記平坦面に当接され、上記ヘッド部の後端側を向く面とこの面に対向する上記スライダーの先端面との間には、上記取付孔に対する上記工具本体の回転方向後方側に、該ヘッド部を支持する支持部材が介装され、上記取付孔はその中心線が工具本体の軸線に平行となるように形成されるとともに、上記シャンク部が嵌挿可能となるように断面円形に形成され、かつこれらヘッド部の後端側を向く面とこの面に対向する上記スライダーの先端面および該先端面に当接する上記支持部材の後端面とは、いずれも上記軸線に垂直な平坦面に形成されていることを特徴とする切削工具。
  2. 上記支持部材は、上記ヘッド部の後端側を向く面と上記スライダーの先端面とのうち一方の面にねじ込まれてこの一方の面から突出し、他方の面に当接することにより上記ヘッド部を支持するネジ部材であることを特徴とする請求項1に記載の切削工具。
  3. 上記ネジ部材は、上記カートリッジの先端側からの操作によって回動されることにより、上記一方の面からの突出量が調整可能とされていることを特徴とする請求項2に記載の切削工具。
JP01248799A 1999-01-20 1999-01-20 切削工具 Expired - Fee Related JP3565074B2 (ja)

Priority Applications (1)

Application Number Priority Date Filing Date Title
JP01248799A JP3565074B2 (ja) 1999-01-20 1999-01-20 切削工具

Applications Claiming Priority (1)

Application Number Priority Date Filing Date Title
JP01248799A JP3565074B2 (ja) 1999-01-20 1999-01-20 切削工具

Publications (2)

Publication Number Publication Date
JP2000210802A JP2000210802A (ja) 2000-08-02
JP3565074B2 true JP3565074B2 (ja) 2004-09-15

Family

ID=11806769

Family Applications (1)

Application Number Title Priority Date Filing Date
JP01248799A Expired - Fee Related JP3565074B2 (ja) 1999-01-20 1999-01-20 切削工具

Country Status (1)

Country Link
JP (1) JP3565074B2 (ja)

Also Published As

Publication number Publication date
JP2000210802A (ja) 2000-08-02

Similar Documents

Publication Publication Date Title
JP5038333B2 (ja) 切削工具
JP2008512260A (ja) 切削インサートおよび切削工具
JP2005519776A (ja) 回転切削工具
JP2014213404A (ja) 切れ刃位置の調整機構及び刃先交換式切削工具
JP3565074B2 (ja) 切削工具
JPH10249627A (ja) エンドミル
JPH01188203A (ja) 精密加工工具
US5791661A (en) Compliant chuck jaws
JP2804696B2 (ja) 切削工具
JP3968988B2 (ja) スローアウェイ式リーマ
JP4280262B2 (ja) 切削工具及び加工方法
JP2001150218A (ja) 回転切削工具
JPH1110434A (ja) スローアウェイ式転削工具
JPH10309616A (ja) 刃部交換式エンドミル
JPH06304804A (ja) 切削工具
JP3291688B2 (ja) 切削工具
JPH10296516A (ja) スローアウェイチップ
JP3740915B2 (ja) 切削工具
JPH10249624A (ja) 刃部交換式エンドミル
JP4097732B2 (ja) 切削工具
JP2748847B2 (ja) 切削工具
JP2826039B2 (ja) 切削工具
JP2748846B2 (ja) 切削工具
JPH018242Y2 (ja)
JP2003225811A (ja) 切削工具

Legal Events

Date Code Title Description
A131 Notification of reasons for refusal

Free format text: JAPANESE INTERMEDIATE CODE: A131

Effective date: 20040309

A521 Written amendment

Free format text: JAPANESE INTERMEDIATE CODE: A523

Effective date: 20040422

TRDD Decision of grant or rejection written
A01 Written decision to grant a patent or to grant a registration (utility model)

Free format text: JAPANESE INTERMEDIATE CODE: A01

Effective date: 20040518

A61 First payment of annual fees (during grant procedure)

Free format text: JAPANESE INTERMEDIATE CODE: A61

Effective date: 20040531

R150 Certificate of patent or registration of utility model

Free format text: JAPANESE INTERMEDIATE CODE: R150

FPAY Renewal fee payment (event date is renewal date of database)

Free format text: PAYMENT UNTIL: 20080618

Year of fee payment: 4

FPAY Renewal fee payment (event date is renewal date of database)

Free format text: PAYMENT UNTIL: 20090618

Year of fee payment: 5

LAPS Cancellation because of no payment of annual fees