JP3552016B2 - 本原稿の原稿台 - Google Patents

本原稿の原稿台 Download PDF

Info

Publication number
JP3552016B2
JP3552016B2 JP23593397A JP23593397A JP3552016B2 JP 3552016 B2 JP3552016 B2 JP 3552016B2 JP 23593397 A JP23593397 A JP 23593397A JP 23593397 A JP23593397 A JP 23593397A JP 3552016 B2 JP3552016 B2 JP 3552016B2
Authority
JP
Japan
Prior art keywords
elastic friction
friction member
platen
book
cover
Prior art date
Legal status (The legal status is an assumption and is not a legal conclusion. Google has not performed a legal analysis and makes no representation as to the accuracy of the status listed.)
Expired - Fee Related
Application number
JP23593397A
Other languages
English (en)
Other versions
JPH1175033A (ja
Inventor
哲弥 藤岡
Current Assignee (The listed assignees may be inaccurate. Google has not performed a legal analysis and makes no representation or warranty as to the accuracy of the list.)
Ricoh Co Ltd
Original Assignee
Ricoh Co Ltd
Priority date (The priority date is an assumption and is not a legal conclusion. Google has not performed a legal analysis and makes no representation as to the accuracy of the date listed.)
Filing date
Publication date
Application filed by Ricoh Co Ltd filed Critical Ricoh Co Ltd
Priority to JP23593397A priority Critical patent/JP3552016B2/ja
Publication of JPH1175033A publication Critical patent/JPH1175033A/ja
Application granted granted Critical
Publication of JP3552016B2 publication Critical patent/JP3552016B2/ja
Anticipated expiration legal-status Critical
Expired - Fee Related legal-status Critical Current

Links

Images

Landscapes

  • Holders For Sensitive Materials And Originals (AREA)
  • Facsimile Scanning Arrangements (AREA)

Description

【0001】
【発明の属する技術分野】
本発明は、本原稿の画像読み取り機能もしくはページめくり機能を備えた複写機やファクシミリ等の本原稿取扱い装置における本原稿の原稿台に関し、詳しくは、本原稿をその見開き面を上にして載置するタイプの本原稿の原稿台に関する。
【0002】
【従来の技術】
本原稿の原稿面に対して走査ユニットを相対移動させることによって本原稿の画像読み取りやページめくりを行う装置では、走査ユニットの画像読み取り動作やページめくり動作を安定させるために、原稿台に見開かれて載置された本原稿をその左右のページが共にフラットな同一平面上に位置するように固定することが望ましい。
【0003】
このような本原稿の固定手段として、特開平9−034031号公報記載の原稿台が知られている。
この原稿台は、本原稿の見開きページの各側の厚みに対応して互いにバランスをとって上下動する左右2つに分割された原稿台本体と、これらの原稿台本体に各々開閉可能に設けられた表紙押え板とから構成されている。
表紙押え板は回動軸と反対側の自由端の両側を原稿台本体に係止して止める構造になっているが、この止め構造に起因して、表紙押え板はその中央部が山なりに撓み易い。表紙押え板がこのように撓んだ場合、中央部と端部での挟持力に差ができる。一方、左右の原稿台本体の上下移動又は本原稿の見開きページ面を押圧しながらの走査ユニットの左右方向の移動によって、本原稿の表紙と裏表紙には常に本原稿の綴じ部方向への引き抜き力が作用する。
従って、表紙の一端部が表紙押え板の中央部に位置するサイズの小さい本原稿の場合には、上記引き抜き力によって表紙又は裏表紙が抜けることがある。
【0004】
かかる観点から、上記特開平9−034031号公報記載の原稿台では、原稿台本体と表紙押え板の相対する面のいずれか一方に、本原稿の綴じ目方向に沿って、複数の弾性摩擦部材が貼り付けられている。弾性摩擦部材の厚みは、原稿台本体又は表紙押え板の中央部が最も高く、端部に近くなるほど低くなるように設定されており、表紙押え板が撓んでもその分を弾性摩擦部材の高低差で補完して全体的にほぼ均一な挟持力が得られるようになっている。
【0005】
【発明が解決しようとする課題】
しかしながら、上記従来のものでは、弾性摩擦部材が原稿台本体と表紙押え板の相対する面のいずれか一方に単に接着して固定されているため、繰り返し使用された場合、表紙又は裏表紙への綴じ部側への引き抜き力の作用や接着剤自体の経時的劣化によって、弾性摩擦部材がずれたり、剥がれて外れたりすることがあった。この場合、本原稿の安定した画像読み取りやページめくり走査を行うことが困難となる。
【0006】
そこで、本発明は、弾性摩擦部材の位置ずれや外れを防止でき、常に本原稿の安定した画像読み取りやページめくり走査を行うことができる本原稿の原稿台の提供を、その目的とする。
【0007】
【課題を解決するための手段】
本発明は、上記目的を達成すべく、従来のように接着力による固定を基本とせずに、弾性摩擦部材とこれが固定される面との間の形状的係合のつながりによる固定を基本とすることとした。
具体的には、請求項1記載の発明では、本原稿がその見開き面を上にして載置され少なくとも左右二つに分割された原稿台本体と、これらの原稿台本体に各々開閉可能に設けられ本原稿の表紙を挟持固定するための表紙押え板とが備えられた本原稿の原稿台において、上記原稿台本体と表紙押え板の相対する面のうちいずれか一方には弾性摩擦部材が本原稿の綴じ目方向に沿って且つ中央部が高く、端部に近くなるほど低くなるように複数個設けられ、これらの弾性摩擦部材は本原稿の綴じ部側へのずれを上記一方の面との係合構成によって阻止されている、という構成を採っている。
【0008】
請求項2記載の発明では、請求項1記載の構成において、上記係合構成が、上記一方の面と上記弾性摩擦部材のいずれか一方に形成された凹部と他方に形成された凸部との嵌合によってなる、という構成を採っている。
【0009】
請求項3記載の発明では、請求項1記載の構成において、上記係合構成が、上記一方の面に形成された凹部に上記弾性摩擦部材を嵌合してなる、という構成を採っている。
【0010】
請求項4記載の発明では、請求項3記載の構成において、上記一方の面に形成された凹部の底面に凸部が形成されているとともに、上記弾性摩擦部材には該凸部が入り込む凹部が形成され、該凸部の高さは該弾性摩擦部材の圧縮時高さ以下である、という構成を採っている。
【0011】
請求項5記載の発明では、請求項1記載の構成において、上記係合構成が、上記一方の面に形成された略水平方向に突出する突縁に上記弾性摩擦部材を本原稿の綴じ部側と反対側から差し込んでなる、という構成を採っている。
【0012】
請求項6記載の発明では、請求項1記載の構成において、上記係合構成が、上記一方の面に形成された凹部に上記弾性摩擦部材を装着し該凹部に該弾性摩擦部材に形成された凸部を引っ掛けてなる、という構成を採っている。
【0013】
【実施例】
以下、本発明の実施例を図に基づいて説明する。
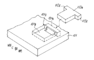
図1は、本発明を適用したページめくり装置における本原稿の原稿台の正面図である。原稿台10には、本原稿100がその綴じ部100cを中央にして見開かれ且つその見開き面を上にして載置されている。原稿台10は、本原稿100の表表紙100a側に対応する原稿台本体101と、裏表紙100b側に対応する原稿台本体102とからなる分割構造となっている。
原稿台本体101には表紙押え板108aが開閉可能に設けられており、この表紙押え板108aによって表表紙100aが挟持固定されている。同様に、原稿台本体102には表紙押え板108bが開閉可能に設けられており、この表紙押え板108bによって裏表紙100bが挟持固定されている。
【0014】
左右の原稿台本体101,102は、それぞれ2組ずつのリンク機構103a,103b、103c,103dによって支持され、各原稿台本体101,102の上下動は、各リンク機構103a,103b、103c,103dと同期して回転する駆動軸を介して、各ギヤ105a,105b,105c,105d,106e,105f,105gにそれぞれ伝達される。これにより各原稿台本体101,102の上下動作が、各ギヤ105a,105b,105c,105d,106e,105f,105gの回転動作に変換される。
ここで、各リンク機構103a,103b及び103c,103dに直結したギヤ105a,105bと105f,105gは、互いに噛み合い、それらの間には、アイドラギヤとしての奇数個(本実施例では3個)のギヤ105c,105d,106eがギヤ列をなすように配設されている。
かかるギヤ構成により、例えば左側の原稿台本体101が押圧されて上方に変位すると、すなわち、ギヤ105aが矢印U方向に回転すると、右側の原稿台本体102におけるギヤ105fは逆向きの矢印D方向に回転し、左側の原稿台本体101の変位量と同じ分だけ下降する。すなわち左右の原稿台本体101,102は上下方向に相対移動できるようになっている。
【0015】
この原稿台本体101、102の上下動作は、外部からの圧力、例えばオペレータの操作、または図示しない走査ユニットが本原稿100を押圧する動作などで行われる。
また、上記駆動軸には、ギヤ列を介して図示しない電磁クラッチが連結されている。この電磁クラッチがオンされると、ギヤ列を介して駆動軸が固定状態となり、これによって、各ギヤ105a,105b,105c,105d,106e,105f,105gと共に、各リンク機構103a,103b,103c,103dも固定され、左右の原稿台本体101,102は電磁クラッチのオン時点の位置に保持される。
【0016】
表紙押え板108aは、図2に示すように、原稿台本体101の外側において回転軸109を中心軸として回転自在に軸支されている。表紙押え板108aの自由端には開閉操作用の取手111が設けられているとともに、両側面にはピン112が設けられている。ピン112に対応して原稿台本体101の両側には爪110が設けられている。原稿台本体101の上面と表紙押え板108aの下面との間に本原稿100の表表紙100aを挟み込み、爪110にピン112を係合することによって表表紙100aが挟持固定される。原稿台本体102側においても同様の構成であるので、その説明は省略する。
表紙押え板108a、108bによる挟持固定がなされた場合、本原稿100の表表紙100a及び裏表紙100bの綴じ部側が原稿台本体101、102と表紙押え板108a、108bの端部に一致し、これにより本原稿100が原稿台10に確実に固定される。
この本原稿100のセット及び取り外し操作は、上記取手111を持って行うことによって簡単に行える。
【0017】
ところで、上述のような構成の表紙押え板108a、108bでは、本原稿100の表表紙100a及び裏表紙100bを原稿台本体101、102と表紙押え板108a、108bとの間に挟み込み、爪11にピン112を係合させてロックさせた場合に、ピン112が位置する両端部が下方に引っ張られるため、図3に示すように、本原稿100の端部を支点として、表紙押え板108a、108bの中央部が山なりに撓むことになる。この結果、このような構成の表紙押え板108a、108bは、その中央部での挟持力の低下を避けられない。
このため、不特定の大きさの本原稿、特に、サイズの小さい本原稿の表紙を挟持する場合、図2に二点鎖線のハッチングで示すように、表紙の上下何れか一方の端部を原稿台本体101、102の一方の端部に揃えると、表紙の他方の端部が原稿台本体101、102の中央部寄りに位置するため、そのままでは、上記の理由により、この表紙の他方の端部に対する表紙押え板108a、108bの挟持力が低下し、本原稿の読み取り動作中あるいはページめくり動作中に、綴じ部100c方向への引き抜き力Fによって原稿台本体101、102から表紙が抜ける等の不具合が生じていた。
【0018】
これを防止するために、図2に示すように、原稿台本体101、102の表紙押え板108a、108bに相対する面に、本原稿100の綴じ目方向に沿って、且つ、中央部が最も高く、端部に近くなるほど低くなるように、複数個(ここでは5個)の弾性摩擦部材113(a,b,c)が一部埋設状態に設けられている。各弾性摩擦部材113の高さの関係は、113a<113b<113cである。弾性摩擦部材113の材料としては、ウレタンゴムやEPゴム等のゴム系材料、あるいは樹脂系材料を採用することができる。
中央部が最も高くなるように各弾性摩擦部材113の高さを設定しているので、表紙押え板108a、108bの中央部が山なりに撓んでも、図3に示すように、高さの異なる各弾性摩擦部材113がこの撓み曲線に沿うため中央部の撓み量が均され、全体に亘ってほぼ均一な挟持力が得られる。
【0019】
弾性摩擦部材113の配設位置は、規格の最も小さい表紙を押さえることができ、また、表紙に対して高い挟持力を得られる位置が望ましい。そこで、本実施例における弾性摩擦部材113の本原稿100の開き方向の配設位置は、図3に示すように、弾性摩擦部材113の挟むべき最小の大きさの表紙を挟持可能な、本原稿100の綴じ部からより離間した位置に設定されている。このように、弾性摩擦部材113の設置位置が規格の最も小さい表紙に合わせて設定されているので、規格の最も小さい表紙を押さえることができるとともに、弾性摩擦部材113の設置位置が回転軸109にできるだけ近くなるように設定されているので、テコの原理により、表紙に対する高い挟持力を得ることができる。
【0020】
既述のように、原稿台本体101、102と表紙押え板108a、108bによって挟持された表表紙100a及び裏表紙100bには、原稿台本体101、102の上下移動、図示しない走査ユニットが本原稿100を押圧しながら左右方向に移動するなどの動作によって、常に綴じ部100c方向に引き抜こうとする力が作用する。すなわち、図4に示すように、図示しない走査ユニットが本原稿100を押圧しながら右方向(矢印R方向)に移動する場合には、その押圧摩擦によって表表紙100aに引き抜き力F が作用し、走査ユニットが本原稿100を押圧しながら左方向(矢印L方向)に移動する場合には、同様に押圧摩擦によって裏表紙100bに引き抜き力F が作用する。
従って、たとえ弾性摩擦部材113によって表表紙100a又は裏表紙100bに対する高い挟持力が得られていても、弾性摩擦部材113を単に原稿台本体101、102の上面に接着して貼り付けた場合には、繰り返し掛かる引き抜き力により接着力が弱まって、あるいは接着剤の経時的劣化によって、弾性摩擦部材113が剥がれてきたり、外れてしまうという不具合があった。弾性摩擦部材113の固定が不安定な場合には表紙が抜けることがあり、従来のこの種の原稿台では本原稿100の安定した画像読み取りやページめくり走査を行うことが困難であった。
【0021】
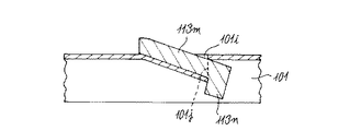
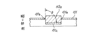
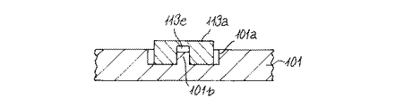
このため、本実施例では、図5及び図6に示すように、原稿台本体101に凹部101aを設け、この凹部101aに弾性摩擦部材113aを嵌合し、さらに凹部101aの底面に接着剤によって貼り付けている。他の弾性摩擦部材113においても、また、原稿台本体102側においても同様である(請求項3)。
すなわち、固定面である原稿台本体101との間に機械的係合関係を確保した上で、接着による貼り付けを行う構成としている。従って、綴じ部方向ヘ作用する引き抜き力に対しては、接着力に加えて、弾性摩擦部材113aに対する剪断応力で対抗することになり、強固な固定によってずれや外れが防止される。
また、図6に示すように、凹部101aの綴じ部側の切り立ち面角度θは、90°以下に設定されている。90°以下にすることによって、原稿台本体101に対する弾性摩擦部材113aのいわゆる食い付きがよくなり、ずれや外れ防止の観点からさらなる強度アップを図ることができる。なお、製作上の容易性の観点から、切り立ち面角度θは90°が望ましい。
【0022】
本実施例では凹部101aの深さは一定であり、このため各弾性摩擦部材113の高さを異ならせて上記表紙押え板108a、108bの湾曲問題に対応している。各凹部101aの深さを異ならせて対応することもでき、この場合には各弾性摩擦部材113を1つの種類にできるメリット、すなわち、部品管理の容易さ等がある。
【0023】
図7は、原稿台本体101、102を金属板で形成した例である。凹部101aは、綴じ部側に沿う切り込み101b,101bを形成したあとプレス加工によって形成されている。この場合にも、図8に示すように、綴じ部側の切り立ち面(実質的には切り込み端面101b)の角度θは、上記と同様の観点から90°以下に設定されている。他の弾性摩擦部材113においても、また、原稿台本体102側においても同様である。
【0024】
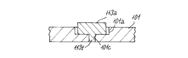
次に、図9乃至図11に基づいて請求項2,4に対応する実施例を説明する。図9に示すように、原稿台本体101に形成された凹部101aの底面に円柱状の凸部101bが形成されており、これに対応して、弾性摩擦部材113aには凸部101bが入り込む凹部としての円筒形状の穴113dが形成されている。図10に示すように、凸部101bに穴113dを嵌めて係合し、弾性摩擦部材113aの底面を接着している。
凹部101aは弾性摩擦部材113aより大きく形成されており、本実施例の場合には原稿台本体101の凸部101bと弾性摩擦部材113aの穴113dとの係合構成によって引き抜き力に対する強度が得られ、接着力と相まってずれや外れを防止できる。
【0025】
また、図11に示すように、原稿台本体101側の凸部101bの高さhは、弾性摩擦部材113aの圧縮時の高さ、すなわち、表紙押え板108aで挟持された時の高さHよりも小さく設定されている。従って、表表紙100aに凸部101bの上面が突き当たって弾性摩擦部材113aの圧縮応力を阻害することがなく、よって挟持力低下を防止することができる。他の弾性摩擦部材113においても、また、原稿台本体102側においても同様である。
【0026】
弾性摩擦部材113a側に形成する凹部としては、上記の貫通形状の穴113dの他に、例えば図12に示すように、非貫通形状の穴113eとしてもよい。
なお、凸部101bや穴113dの形状は、製作上の容易性の観点からそれぞれ円柱状、円筒状とすることが望ましい。
【0027】
次に、図13及び図14に基づいて請求項2に対応する実施例の変形例を説明する。
図13に示すように、原稿台本体101の凹部101aの底面には円筒形状の凹部101cが形成されており、これに対応して、弾性摩擦部材113aの底面には下方に突出する円柱状の凸部113fが形成されている。弾性摩擦部材113aは凸部113fを原稿台本体101側の凹部101cに嵌めて係合され、その底面を接着される。この場合にも凸部113fと凹部101cの係合構成によって引き抜き力に対する強度が得られ、接着力と相まってずれや外れを防止できる。他の弾性摩擦部材113においても、また、原稿台本体102側においても同様である。
【0028】
次に、図15及び図16に基づいて請求項5に対応する実施例を説明する。
金属板で形成された原稿台本体101には収容凹部101dが形成されているとともに、切り起こしによって綴じ部側と反対側に略水平方向に突出する突縁101eが形成され、これに対応して、弾性摩擦部材113gには突縁101eが入り込む凹部113iが形成されている。凹部113iの開口寸法は突縁101eの断面寸法より小さく設定されている。
弾性摩擦部材113gが綴じ部側と反対側から凹部113iを介して突縁101eに圧入状態に差し込まれることによって、原稿台本体101に対する係合構成が得られる。差し込み操作のみによっての取付であり、接着は行っていない。このため、上記実施例に比べて弾性摩擦部材113の取付が容易となる。勿論、差し込みに加えて接着を行ってもよい。他の弾性摩擦部材113においても、また、原稿台本体102側においても同様である。
本実施例においても上記各実施例と同様に、係合構成によって引き抜き力に対する対抗力が得られるので、弾性摩擦部材113のずれや外れを防止できる。
弾性摩擦部材113gにおける凹部113iは、図17に示すように、貫通穴113jとしてもよい。
【0029】
次に、図18及び図19に基づいて請求項6に対応する実施例を説明する。
図18に示すように、弾性摩擦部材113kには、その綴じ部側と反対側の端部両側において綴じ目に沿って突出する凸部113lが形成されている。原稿台本体101には凹部101fが形成されている。凹部101fは、弾性摩擦部材113kの本体部が収容される収容部101gと、凸部113lを収容して引っ掛けるための引っ掛け部101hとから構成されている。
引っ掛け部101hは、原稿台本体101の底面に開口しており、図19に示すように、弾性摩擦部材113kは原稿台本体101の底面から挿入されて係合される。他の弾性摩擦部材113においても、また、原稿台本体102側においても同様である。
凸部113lが引っ掛け部101hの綴じ部側両側に当接することにより、綴じ部側への移動が阻止され、これによってずれや外れを防止できる。本実施例の場合にも接着は不要であるので、弾性摩擦部材113の取付が容易となる。
【0030】
次に、図20及び図21に基づいて請求項6に対応する実施例の変形例を説明する。
図20に示すように、弾性摩擦部材113mの綴じ部と反対側に下方に突出する凸部113nが形成されており、側面L字状に形成されている。金属板で形成された原稿台本体101には、綴じ部側から反対方向へ徐々に下方傾斜して開口する凹部101iが形成されている。図21に示すように、弾性摩擦部材113mは原稿台本体101の下面側から挿入され、その凸部113nが凹部101iの開口部101jに引っ掛かるように設定される。他の弾性摩擦部材113においても、また、原稿台本体102側においても同様である。
これによって引き抜き力に対抗する係合構成が得られ。上記各実施例と同様にずれや外れを防止できる。本実施例においても凹部101iの開口部101jを弾性摩擦部材113mの断面積より小さくするこによって接着が不要となる。
【0031】
なお、上記各実施例では弾性摩擦部材113を原稿台本体101、102に設置する構成としたが、表紙押え板108a、108b側に設置する構成としても同様の機能を得ることができる。
【0032】
【発明の効果】
本発明によれば、原稿台本体又は表紙押え板に対する弾性摩擦部材の形状的係合構成によって引き抜き力に対抗することを基本としているので、弾性摩擦部材のずれ、剥がれ、外れを確実に防止することができ、よって本原稿の安定した画像読み取りやページめくり動作を得ることができる。
【0033】
請求項5又は6記載の発明では、弾性摩擦部材の接着を不要にできるので、上記効果に加え、弾性摩擦部材の取付を容易に行うことができる。
【図面の簡単な説明】
【図1】本発明の一実施例を示す本原稿の原稿台の概要正面図である。
【図2】図1で示した原稿台の右側の表紙押え板を開いた状態の斜視図である。
【図3】同表紙押え板を綴じた状態の断面図である。
【図4】表表紙と裏表紙を挟持した状態の概要断面図である。
【図5】弾性摩擦部材の取付構成を示す要部分解斜視図である。
【図6】弾性摩擦部材を取り付けた状態の要部断面図である。
【図7】原稿台本体の変形例における弾性摩擦部材の取付構成を示す要部分解斜視図である。
【図8】図7で示した例における弾性摩擦部材を取り付けた状態の要部断面図である。
【図9】他の実施例における弾性摩擦部材の取付構成を示す要部分解斜視図である。
【図10】図9で示した例における弾性摩擦部材を取り付けた状態の要部断面図である。
【図11】図9で示した例において表紙を挟持した状態の要部断面図である。
【図12】図9で示した例の変形例における弾性摩擦部材を取り付けた状態の要部断面図である。
【図13】他の実施例における弾性摩擦部材の取付構成を示す要部分解斜視図である。
【図14】図13で示した例における弾性摩擦部材を取り付けた状態の要部断面図である。
【図15】他の実施例における弾性摩擦部材の取付構成を示す要部分解斜視図である。
【図16】図15で示した例における弾性摩擦部材を取り付けた状態の要部断面図である。
【図17】図15で示した例の変形例における弾性摩擦部材を取り付けた状態の要部断面図である。
【図18】他の実施例における弾性摩擦部材の取付構成を示す要部分解斜視図である。
【図19】図18で示した例における弾性摩擦部材を取り付けた状態の要部断面図である。
【図20】他の実施例における弾性摩擦部材の取付構成を示す要部分解斜視図である。
【図21】図20で示した例における弾性摩擦部材を取り付けた状態の要部断面図である。
【符号の説明】
100 本原稿
100c 綴じ部
101,102 原稿台本体
108a,108b 表紙押え板
113a,113b,113c,113g,113k,113m 弾性摩擦部材
101a 凹部
101b 凸部
101f 凹部
113d 凹部としての穴
113f 凸部
113l 凸部
101e 突縁

Claims (6)

  1. 本原稿がその見開き面を上にして載置され少なくとも左右二つに分割された原稿台本体と、これらの原稿台本体に各々開閉可能に設けられ本原稿の表紙を挟持固定するための表紙押え板とが備えられた本原稿の原稿台において、
    上記原稿台本体と表紙押え板の相対する面のうちいずれか一方には弾性摩擦部材が本原稿の綴じ目方向に沿って且つ中央部が高く、端部に近くなるほど低くなるように複数個設けられ、これらの弾性摩擦部材は本原稿の綴じ部側へのずれを上記一方の面との係合構成によって阻止されていることを特徴とする本原稿の原稿台。
  2. 上記係合構成が、上記一方の面と上記弾性摩擦部材のいずれか一方に形成された凹部と他方に形成された凸部との嵌合によってなることを特徴とする請求項1記載の本原稿の原稿台。
  3. 上記係合構成が、上記一方の面に形成された凹部に上記弾性摩擦部材を嵌合してなることを特徴とする請求項1記載の本原稿の原稿台。
  4. 上記一方の面に形成された凹部の底面に凸部が形成されているとともに、上記弾性摩擦部材には該凸部が入り込む凹部が形成され、該凸部の高さは該弾性摩擦部材の圧縮時高さ以下であることを特徴とする請求項3記載の本原稿の原稿台。
  5. 上記係合構成が、上記一方の面に形成された略水平方向に突出する突縁に上記弾性摩擦部材を本原稿の綴じ部側と反対側から差し込んでなることを特徴とする請求項1記載の本原稿の原稿台。
  6. 上記係合構成が、上記一方の面に形成された凹部に上記弾性摩擦部材を装着し該凹部に該弾性摩擦部材に形成された凸部を引っ掛けてなることを特徴とする請求項1記載の本原稿の原稿台。
JP23593397A 1997-09-01 1997-09-01 本原稿の原稿台 Expired - Fee Related JP3552016B2 (ja)

Priority Applications (1)

Application Number Priority Date Filing Date Title
JP23593397A JP3552016B2 (ja) 1997-09-01 1997-09-01 本原稿の原稿台

Applications Claiming Priority (1)

Application Number Priority Date Filing Date Title
JP23593397A JP3552016B2 (ja) 1997-09-01 1997-09-01 本原稿の原稿台

Publications (2)

Publication Number Publication Date
JPH1175033A JPH1175033A (ja) 1999-03-16
JP3552016B2 true JP3552016B2 (ja) 2004-08-11

Family

ID=16993390

Family Applications (1)

Application Number Title Priority Date Filing Date
JP23593397A Expired - Fee Related JP3552016B2 (ja) 1997-09-01 1997-09-01 本原稿の原稿台

Country Status (1)

Country Link
JP (1) JP3552016B2 (ja)

Also Published As

Publication number Publication date
JPH1175033A (ja) 1999-03-16

Similar Documents

Publication Publication Date Title
CN102452362B (zh) 用于将照相机安装在车辆上的结构
WO2022176457A1 (ja) 外装部材、ケースおよび時計
KR100952264B1 (ko) 평면 디스플레이 패널의 지지 구조
JP3552016B2 (ja) 本原稿の原稿台
TWI221938B (en) Light guide plate, surface light source device and image display device
TWI405912B (zh) 開闔裝置之防脫機構及具有防脫機構之事務機器
JP2008268522A (ja) 原稿圧着板開閉装置及び原稿圧着板を備えた事務機器
JPH09185881A (ja) オーディオ装備用のパネル開閉装置
JP2005150666A (ja) ケース上蓋着脱装置
JP3238925U (ja) システム手帳
JP4766216B2 (ja) 基板取付クリップ
JP5662378B2 (ja) 画像処理装置および画像処理装置開閉支点部固定方法
JP5119369B1 (ja) 綴じ具
JPH1191201A (ja) 樹脂製外装カバー
KR200321599Y1 (ko) 테이프레코더의카세트하우징조립체
JP4632087B2 (ja) 鍵盤装置
JP2615165B2 (ja) 自動原稿送り装置の開閉機構
JP4475265B2 (ja) カバーの取付部構造
JP4375137B2 (ja) ファイル及び綴じ具取付部材
JP3081546B2 (ja) 止め具の構造
JPH04355746A (ja) 画像形成装置
JP3977118B2 (ja) コンパクトフラッシュカードの引き抜き工具
CN100429919C (zh) 图像形成装置
JP2004194464A (ja) ハーネス用クランプユニット
JPH0558078A (ja) 原稿圧着装置

Legal Events

Date Code Title Description
TRDD Decision of grant or rejection written
A01 Written decision to grant a patent or to grant a registration (utility model)

Free format text: JAPANESE INTERMEDIATE CODE: A01

Effective date: 20040420

A61 First payment of annual fees (during grant procedure)

Free format text: JAPANESE INTERMEDIATE CODE: A61

Effective date: 20040420

R150 Certificate of patent or registration of utility model

Free format text: JAPANESE INTERMEDIATE CODE: R150

FPAY Renewal fee payment (event date is renewal date of database)

Free format text: PAYMENT UNTIL: 20080514

Year of fee payment: 4

FPAY Renewal fee payment (event date is renewal date of database)

Free format text: PAYMENT UNTIL: 20090514

Year of fee payment: 5

FPAY Renewal fee payment (event date is renewal date of database)

Free format text: PAYMENT UNTIL: 20100514

Year of fee payment: 6

LAPS Cancellation because of no payment of annual fees