JP3175603U - 腕時計用バンド - Google Patents
腕時計用バンド Download PDFInfo
- Publication number
- JP3175603U JP3175603U JP2011600003U JP2011600003U JP3175603U JP 3175603 U JP3175603 U JP 3175603U JP 2011600003 U JP2011600003 U JP 2011600003U JP 2011600003 U JP2011600003 U JP 2011600003U JP 3175603 U JP3175603 U JP 3175603U
- Authority
- JP
- Japan
- Prior art keywords
- clasp
- strand
- band
- safety device
- band according
- Prior art date
- Legal status (The legal status is an assumption and is not a legal conclusion. Google has not performed a legal analysis and makes no representation as to the accuracy of the status listed.)
- Expired - Lifetime
Links
- 230000008878 coupling Effects 0.000 claims 1
- 238000010168 coupling process Methods 0.000 claims 1
- 238000005859 coupling reaction Methods 0.000 claims 1
- 239000010985 leather Substances 0.000 description 4
- 210000000707 wrist Anatomy 0.000 description 3
- 239000000463 material Substances 0.000 description 2
- 238000012986 modification Methods 0.000 description 2
- 230000004048 modification Effects 0.000 description 2
- 230000000903 blocking effect Effects 0.000 description 1
- 230000001419 dependent effect Effects 0.000 description 1
- 238000010586 diagram Methods 0.000 description 1
- 238000000034 method Methods 0.000 description 1
- 230000001012 protector Effects 0.000 description 1
- 230000035939 shock Effects 0.000 description 1
Images
Classifications
-
- A—HUMAN NECESSITIES
- A44—HABERDASHERY; JEWELLERY
- A44C—PERSONAL ADORNMENTS, e.g. JEWELLERY; COINS
- A44C5/00—Bracelets; Wrist-watch straps; Fastenings for bracelets or wrist-watch straps
- A44C5/18—Fasteners for straps, chains or the like
- A44C5/22—Fasteners for straps, chains or the like for closed straps
- A44C5/24—Fasteners for straps, chains or the like for closed straps with folding devices
-
- Y—GENERAL TAGGING OF NEW TECHNOLOGICAL DEVELOPMENTS; GENERAL TAGGING OF CROSS-SECTIONAL TECHNOLOGIES SPANNING OVER SEVERAL SECTIONS OF THE IPC; TECHNICAL SUBJECTS COVERED BY FORMER USPC CROSS-REFERENCE ART COLLECTIONS [XRACs] AND DIGESTS
- Y10—TECHNICAL SUBJECTS COVERED BY FORMER USPC
- Y10T—TECHNICAL SUBJECTS COVERED BY FORMER US CLASSIFICATION
- Y10T24/00—Buckles, buttons, clasps, etc.
- Y10T24/21—Strap tighteners
- Y10T24/2143—Strap-attached folding lever
- Y10T24/2155—Jewelry-watch straps
-
- Y—GENERAL TAGGING OF NEW TECHNOLOGICAL DEVELOPMENTS; GENERAL TAGGING OF CROSS-SECTIONAL TECHNOLOGIES SPANNING OVER SEVERAL SECTIONS OF THE IPC; TECHNICAL SUBJECTS COVERED BY FORMER USPC CROSS-REFERENCE ART COLLECTIONS [XRACs] AND DIGESTS
- Y10—TECHNICAL SUBJECTS COVERED BY FORMER USPC
- Y10T—TECHNICAL SUBJECTS COVERED BY FORMER US CLASSIFICATION
- Y10T24/00—Buckles, buttons, clasps, etc.
- Y10T24/47—Strap-end-attaching devices
- Y10T24/4745—End clasp
-
- Y—GENERAL TAGGING OF NEW TECHNOLOGICAL DEVELOPMENTS; GENERAL TAGGING OF CROSS-SECTIONAL TECHNOLOGIES SPANNING OVER SEVERAL SECTIONS OF THE IPC; TECHNICAL SUBJECTS COVERED BY FORMER USPC CROSS-REFERENCE ART COLLECTIONS [XRACs] AND DIGESTS
- Y10—TECHNICAL SUBJECTS COVERED BY FORMER USPC
- Y10T—TECHNICAL SUBJECTS COVERED BY FORMER US CLASSIFICATION
- Y10T24/00—Buckles, buttons, clasps, etc.
- Y10T24/47—Strap-end-attaching devices
- Y10T24/4782—Watch strap
Landscapes
- Buckles (AREA)
Abstract
【課題】バンドを確実にロックすることを可能にする留め金を有するバンドを提供する。
【解決手段】第1のストランド及び第2のストランドを含むバンドに関する。第2のストランドは、係止装置を含む留め金1aに結合される。係止装置は、ストランドを互いに結合する。前述の留め金1aが、第1のストランドを留め金1aに押し付けることにより、第1のストランドを留め金1aにより良好に結合するための安全装置17をさらに含むという点で特徴付けられる。
【選択図】図2
【解決手段】第1のストランド及び第2のストランドを含むバンドに関する。第2のストランドは、係止装置を含む留め金1aに結合される。係止装置は、ストランドを互いに結合する。前述の留め金1aが、第1のストランドを留め金1aに押し付けることにより、第1のストランドを留め金1aにより良好に結合するための安全装置17をさらに含むという点で特徴付けられる。
【選択図】図2
Description
本考案は、第1のストランド及び第2のストランドを含むストラップつまりブレスレット(腕時計に適するバンド)に関する。第2のストランドは、係止装置を含む留め金に連結される。係止装置は、これらのストランドを互いに結合する。
バックル及び舌部を用いてバンドの2つのストランドを互いに結合する、バンドのための留め金が、従来技術により知られている。このバンドは、バックル及び舌部(係合棒)を有する第1のストランドと、調節孔が開けられた第2のストランドとを含む。第2のストランドは、バックルに係合することにより第1のストランドに取り外し可能に取り付けるためのものである。バックルは、各々に孔が設けられた2つの横方向アームと、両端部がアームの孔に係合するように配置された取り外し可能な横材と、バー上に回転可能に係合される係合孔を有する舌部とを含む。第1のストランドは、バックルのバーを受けるための、ストランドの自由端の近くにある横断方向に配置された端部オリフィスと、舌部の小孔部分を受けるための、自由端から端孔を超えて延びる端部ノッチとを有する。実際には、第2のストランドがバックルに係合されたとき、第2のストランド内の孔の1つに舌部が係合することによって、2つのストランドが結合される。従って、舌部が係合される孔に応じて、第2のバンド・ストランドは、バックルに対しより近くに又はより遠くに係合され、バンドがより強く又はより弱く締められる。
しかしながら、従来技術のこのバックルの問題の1つは、バックルに係合された状態で、第2のバンド・ストランドが、バックルが固定されているバンド・ストランド上に配置された皮製リングを通り抜けて、第2のストランドを第1のストランドの上に押し付けるようになっていることである。バンドが着用された状態で、第2のストランドに加えられる応力により、ストランドが皮製リングから抜ける可能性があり、そのため、バンドが開いてしまうことがある。
本考案は、バンドを確実にロックすることを可能にする留め金を有するバンドを提案することにより、従来技術の上述の欠点を克服するバンドに関する。
従って、本考案は、留め金が、第1のストランドを留め金の上に押し付けることにより、第1のストランドを留め金に対しより良好な状態で結合するための安全装置をさらに含んでおり、該留め金は折り畳み式バックルを有する形式のものであり、すなわち、バンドを取り外すために、係止装置及び安全装置を操作する必要がないことを特徴とする、前述のバンドに関する。
この腕時計の有利な実施形態が、従属請求項2から従属請求項6までの主題を形成する。
本考案において定められるバンドの1つの利点は、第一に、留め金が確実にロックされることである。本考案は、従来のバックル及び舌部を、安全装置と関連付ける。この装置は、留め金に係合されたバンド・ストランドを、該留め金に押し当てて押し付け、バックルに係合されたストランドが、もはや長手方向に移動できないようにする。このことにより、バンドが偶発的に開くことが防止され、従って、バンドは、安全装置が解除されるまで一定のサイズに調節されたままである。
本考案の別の利点は、留め金が、押しボタンシステムによって制御される折り畳み式バックルを介して第2のストランドに結合される形態においてもたらされる。この場合、安全装置は、生じ得るあらゆる衝撃からバックルの押しボタンを保護する竜頭保護装置のように作用する。
最後に、本考案は、本考案に従ったバンドを含む時計の外装に関する。
本考案による腕時計の目的、利点及び特徴は、非限定的な例として与えられ、添付の図面によって示される本考案の少なくとも1つの実施形態の以下の詳細な説明から、より明らかになるであろう。
以下の説明においては、本技術分野における当業者には周知であるバンドの全ての部分は、簡略化された形でのみ説明される。
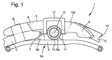
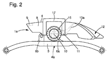
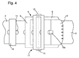
図1は、本考案によるバンド1の特定の実施形態を示す。バンド1は、留め金1aを介して取り外し可能に結合される第1のバンド・ストランド2及び第2のバンド・ストランド3を有する。図3に示される留め金1aは、支持部4及び折り畳み式バックル4aを含む。折り畳み式バックル4aは基部5を含み、基部の2つの端部には、好ましくは同様の長さの2つの側部6a、6bが回動可能に取り付けられる。この基部5は雄型係止部材を含み、その雄型係止部材の目的は、側部6a、6b上に位置される雌型係止部材と協働することにある。これにより、バンド1を締めつける際に、折り畳み式バックル4aを閉じてロックすることが可能になる。
折り畳み式バックル4aの第1の側部6aは、支持部4にも回動可能に取り付けられ、第2の側部6bは、第2のストランド3に回動可能に取り付けられる。第2の側部6bは、ピン7を介して第2のストランド3上に取り付けることができる。
バンド1が、着用する人にとってより快適なものになるように、折り畳み式バックル4aが、バンド1の形状に従うように又はユーザの手首の形状に部分的に従うように湾曲形状にされる。このことを達成するために、ユーザがバンド1を着用している状態でユーザの手首の形状に完全に又は部分的に合致するように、折り畳み式バックル4aの基部5が湾曲させられる。図1及び図2に示されるように、折り畳み式バックル4aが閉じられているときに、側部6a、6bを基部5に統合させるか又は基部5の形状に少なくとも合致させることができるように、側部6a、6bも湾曲形状にされる。
支持部4は、第1の側部6a上に回動可能に取り付けられており、係止装置13を含む。従って、支持部4は、該支持部4での第1のストランド2の係合を介してバンド1をはめるのために用いられる。これを達成するために、図3及び図4に示される支持部4は、バンド1のストランド2が係合され得るほぼ矩形のバックルの形を取る。このバックル4は、2つの平行な横方向アーム8から形成され、各アームには孔が開けられている。次いで、それらのアームは対向配置され、アーバー10はアームに対して横断方向に配置される。このアーバー10は、折り畳み式バックル4aの第2の側部6bを取り付けるためのものであり、この上に、側部6bの雌型係止部材が取り付けられる。アーム8はまた、該アームの一端に配置された横材9と、該横材9の反対側に配置された支持要素12とによって互いに結合される。この横断方向の支持要素12は、プレートの形を取り、留め金1aの係止装置13と協働するように用いられる。
バックル4aの機能は、バンド1を閉じること以外に、ガイド手段として働くことである。実際に、第1のストランド2は、係止装置13を介して第2のストランド3に取り外し可能に取り付けられるように、バックル4に係合する。バックル4に係合すると、第1のストランド2は、図1及び図4に示されるように、バックル4の2つの横方向アーム8の間に挿入され、その結果、バックル内での第1のストランド2の横断方向の動きが、これらの2つのアーム8により制限される。
係止装置13は、第1のストランド2をバックル4に取り付けるためのものであり、この例では舌部(係合棒)13aを含む。実際には、舌部13aは、バックル4の2つの横方向アーム8の間に取り付けられたアーバー11を介して回動可能に取り付けられたピンである。この舌部13aは、支持要素12に当接し、バンド1のサイズの選択を可能にしながら、2つのストランド2、3を互いに結合するために用いられる。このことを達成するために、バックル4に係合する孔14が、第1のストランド2内に配置される。従って、第1のストランド2がバックル4に係合するとき、舌部13を孔14の1つに挿入し、よって、ストランド2をバックル4内にブロックすることができる。勿論、舌部13aは、支持要素12上に直接配置されたフィンガのような他の形を取ることができることが明らかであろう。
第1のストランド2を図4に示されるようにバックル4内に組み入れるために、ストランド2はバックル4内に挿入される。ストランド2は、支持要素12の位置する側でバックル4に挿入することにより、係合されるのが好ましい。勿論、バックル4の位置を逆にすることもできる。その後で、バンド・ストランド2は、第1の側部6a及び舌部13aが回動可能に取り付けられるアーバー10、11上に載り、次いで、横材9の側から出される。ストランド2が係合された状態になると、あとはバックル4に取り付けるだけでよい。このことを達成するために、ストランド2内の孔14の1つが舌部13aに近接して置かれ、舌部が内部に係合し、よって、第1のストランド2を長手方向にロックするように、ストランド2が長手方向に移動される。
次に、バンド1を締めるため、及び、ユーザが該バンドを着用するのを可能にするために、折り畳み式バックル4を閉じなければならない。このことを達成するために、2つの側部6a、6bを基部5に向けて折り畳み、側部6a、6bの雌型ロック部材が基部5の雄型ロック部材と協働するようにする。勿論、異なるシステムを用いて、雌型ロック部材の雄型ロック部材への係合を達成することもできる。実際に、圧力により作動する手段、又は、基部5の雄型ロック部材を把持するフックに作用する押しボタン15を用いて作動する手段を用いることが可能である。各々の側部6a、6bが、例えば一方の部分に圧力を用い、他方の部分に押しボタン15を用いるといった、異なるシステムを有することができることも明らかである。
一般に、第2のバンド・ストランド3は、その端部の近くに、該バンド・ストランド3に固定された、皮又は別の材料で作製されたリング16を有する。このリング16は、第1のストランド2の端部をリング16に係合させ、2つのストランド2、3を互いに対して可能な限り効率的に押し付けることを可能にするように配置される。さらに、本考案によるバンドの留め金1aに、付加的な要素を設けることができる。例えば、支持部4に付加的なガイド手段を取り付けて、第1のストランド2が支持部4に係合されたときの第1のストランド2の動きをさらに制限することができる。この付加的なガイド手段は、支持部4の一端又は両端に配置された1つ又はそれ以上の小孔の形態を取ることができる。この小孔は、第1のストランド2が辛うじて内部に係合できるだけの空間を可能にする開口部を有する。従って、小孔は、ストランドの隙間を制限することによって、ストランド2の動きを制限する。この付加的なガイド手段は、横材9に近接して配置されることが好ましい。しかしながら、ガイド手段及び皮製リング16は、絶対確実なものではなく、何らかの応力を受けて、バンド1の第1のストランド2が緩くなり、それによりバンド1が開くこともある。
こうしたことが起こるのを回避するために、支持部4に、この種の不都合を防ぐための安全装置17が設けられる。安全装置17は、図1−図4に示されるような、支持部4上に取り付けられた部品の形を取り、一般に、支持部と同じ材料で作製される。次いで、この装置17は、第1のストランド2をしっかりと固定するように、一時的に支持部4の内部に取り付けられる。従って、この装置17がストランド2を押し付け、留め金1aに対するいずれの隙間も防止し、従って、ストランド2の動きをさらに制限する。
有利なことに、本考案によると、時計を着用するために、安全装置17を開く必要がないことが明らかである。実際に、折り畳み式バックル4aの使用により、係止装置13及び安全装置17を含む組立体をユーザの手首のサイズに応じて一定に調節することが可能になる。
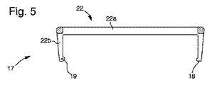
図示される特定の実施形態において、第1のストランド2を留め金に押し当てて固定するのに用いられる部品22は、図5に示されるような、ほぼU字形状の部品22の形態を取る。この部品22は、ストランド2の幅全体にわたって均一に固定するための、ほぼ平坦な基部22aを含み、その両端部には、2つのアーム22bが基部22aに対して直角に取り付けられる。基部22aに対して垂直な2つのアーム22bの一方の端部には、フックの形態の隆起部分18がある。このフック18は、U字形状部品22を支持部4に一時的に取り付けるために用いられる。部品22の第2の端部には、U字形状部品22を支持部4に恒久的に取り付けるための小孔19が配置される。この小孔は、U字形状部品22を支持部上に回転可能に取り付けるために用いられる。
ほぼU字形状の部品22を支持部4上に組み込むために、側部アーム8の一方には、部品22を一時的に取り付けるための手段が設けられ、他方のアーム8には、該部品22を恒久的に取り付けるための手段が設けられる。このように、図7に示されるように、アーム8の一方上に、U字形状部品22の小孔19が挿入される恒久的な取り付け用凹部21が存在する。この凹部の側面の各々には孔21aが開けられ、ピンをその中に挿入して、U字形状部品22を回動可能に取り付けることを可能にする。一方、支持部の他方の側部アーム8には、部品22のための組み立て用凹部とは反対側に配置された、一時的取り付け用凹部20が設けられる。ユーザが留め金1aをロックすることを望むとき、ユーザは、部品22を留め金の上に折り畳み、これにより第1のストランド2が固定され、部品22のフック18が凹部20に係合するようにする。
勿論、摺動ブロックなどを用いる異なる方法で、この取り付け部を取り付けることも可能である。さらに、上述のように、留め金が幾つかの安全装置17を有することも可能であり、そのような場合、支持部4上に幾つかの一連の凹部20、21が配置される。
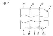
図6に示される好ましい変形において、安全装置17は、相互に一体化させた2つのU字形状部品22の形を取ることができる。この変形は、応力を分散させることにより、固定面及び実際の固定効率を増大させる利点をもつ。実際に、単一のU字形状部品22を用いる場合、U字形状部品22の基部22aが、第1のストランド2が当接するアーバー10、11の反対側にあるとき、固定が最適なものになる。一方、互いに一体である2つのU字形状部品22を含む安全装置17を用いる場合、より効率的な固定のために、アーバー10、11の反対側の第1のストランド2の部分を囲むように、部品22を位置決めすることも可能である。第1のバンド・ストランド2は、4つの面、すなわち2つの基部22a及びアーバー10、11にわたって分散された応力を受ける。組立体を魅力あるものにするために、これらの2つのU字形状部品を互いに一体に作ることもできる。
2つのU字形状部品22を有する安全装置17の変形が用いられる場合には、該装置を支持部4上に回動可能に取り付けることを可能にする一時的取り付け用凹部20及び恒久的取り付け用凹部21が、2倍になることが明らかである。図8は、凹部21に関して図7の矢印Aに沿って側面から見たアーム8と、凹部20に関して矢印A´に沿って見たアーム8とを簡略化された形で示す。この変形はまた、折り畳み式バックル4aの押しボタン15も保護する。実際に、図1−図4に示されるように、この変形において、安全装置17は2つのU字形状部品22が押しボタン15を囲むように配置され、そのことにより、押しボタン15は、該押しボタン15が被り得るあらゆる衝撃から、同じく偶発的に開くことから保護される。
別の変形においては、安全装置17を支持部4と一体にすることができない。このような場合、U字形状部品の端部には、フック18のみが設けられる。結果として、アーム8の各々の凹部は、U字形状部品が取り付けられる一時的取り付け用凹部20となる。
勿論、上述したバンド1は、単に説明された特徴に制限されるものではないことが容易に理解される。例えば、バンド1は、上記のような折り畳み式バックル4を有する留め金ではなく、従来の留め金を用いることができる。この留め金は、アーバー10をピン7に置き換えることによって、支持部4が第2のバンド・ストランド3上に直接回動可能に取り付けられるように配置される。
添付の登録請求の範囲により定められる本考案の範囲から逸脱することなく、上記に提示された本考案の種々の実施形態に対し、当業者には明らかである種々の改変及び/又は改良及び/又は組み合わせをなすことができることは明らかであろう。
1 バンド; 1a 留め金; 2 第1のバンド・ストランド;
3 第2のバンド・ストランド; 4 支持部; 4a 折り畳み式バックル;
5、22a 基部; 6a 第1の側部; 6b 第2の側部; 7 ピン;
8、22b アーム; 9 横材; 10、11 アーバー; 12 支持要素;
13 係止装置; 14、21a 孔; 15 押しボタン; 16 リング;
17 安全装置; 18 フック; 19 小孔; 20 一時的取り付け用凹部;
21 恒久的な取り付け用凹部; 22 U字形状部品。
3 第2のバンド・ストランド; 4 支持部; 4a 折り畳み式バックル;
5、22a 基部; 6a 第1の側部; 6b 第2の側部; 7 ピン;
8、22b アーム; 9 横材; 10、11 アーバー; 12 支持要素;
13 係止装置; 14、21a 孔; 15 押しボタン; 16 リング;
17 安全装置; 18 フック; 19 小孔; 20 一時的取り付け用凹部;
21 恒久的な取り付け用凹部; 22 U字形状部品。
Claims (15)
- 第1のストランド(2)と、留め金(1a)に接続された第2のストランド(3)とを含み、前記留め金(1a)が前記ストランド(2、3)を互いに結合するための係止装置(13)を含むバンド(1)であって、
該留め金(1a)は、前記第1のストランド(2)を該留め金(1a)の上に押し付けることによって、該第1のストランド(2)を該留め金(1a)に対しより良好に結合するための安全装置(17)をさらに含み、該留め金(1a)は、折り畳み式バックルを有するタイプのものであり、前記バンドを取り外すために、前記係止装置(13)及び前記安全装置(17)を操作する必要がないことを特徴とするバンド。 - 前記安全装置(17)は、前記第1のストランド(2)を前記留め金(1a)に押し当てて固定するための少なくとも1つの部品(22)を含むことを特徴とする、請求項1に記載のバンド。
- 前記安全装置(17)は、前記留め金(1a)に対して移動可能に取り付けられ、前記ストランド(2)が、該留め金(1a)から一時的に取り外されるのを可能にすることを特徴とする、請求項2に記載のバンド。
- 前記安全装置(17)は、前記第1のストランド(2)を前記留め金(1a)から選択的に取り外すための一時的な取り付け手段(18、20)を含むことを特徴とする、請求項3に記載のバンド。
- 前記一時的取り付け手段(18、20)は、前記留め金(1a)内に配置された凹部(20)と協働するフック(18)を含むことを特徴とする、請求項4に記載のバンド。
- 前記一時的取り付け手段(18、20)は、前記少なくとも1つの部品(22)の少なくとも一端上に配置されることを特徴とする、請求項4又は請求項5に記載のバンド。
- 前記安全装置(17)は、恒久的な取り付け手段(19、21)を介して、前記留め金上に移動可能に取り付けられることを特徴とする、請求項3から請求項6までのいずれかに記載のバンド。
- 前記恒久的取り付け手段(19、21)は、前記留め金(1a)上に配置されたピンと協働し、前記安全装置(17)が、該留め金(1a)に対して回転して移動するのを可能にする小孔(19)を含むことを特徴とする、請求項7に記載のバンド。
- 前記恒久的取り付け手段(19、21)は、前記少なくとも1つの部品(22)の少なくとも一端上に配置されることを特徴とする、請求項7又は請求項8に記載のバンド。
- 前記安全装置(17)は、一体化させた2つの部品(22)を含むことを特徴とする、請求項2から請求項9までのいずれかに記載のバンド。
- 前記少なくとも2つの部品(22)の各々は、ほぼU字形状であることを特徴とする、請求項2から請求項10までのいずれかに記載のバンド。
- 前記留め金(1a)は、前記第1のストランドが係合されたときに、前記第1のストランド(2)の横方向及び垂直方向の動きを制限するガイド手段を含むことを特徴とする、請求項1から請求項11までのいずれかに記載のバンド。
- 前記係止装置(13)は、前記第1のストランド(2)内に開けられた孔(14)と協働するための、前記留め金(1a)上に移動可能に取り付けられた舌部(13a)を含むことを特徴とする、請求項1から請求項12までのいずれかに記載のバンド。
- 前記留め金(1a)は、前記第2のストランド(3)に結合された折り畳み式バックル(4a)を含むことを特徴とする、請求項1から請求項13までのいずれかに記載のバンド。
- 請求項1から請求項14までのいずれかに記載のバンドを含むことを特徴とする時計。
Applications Claiming Priority (3)
| Application Number | Priority Date | Filing Date | Title |
|---|---|---|---|
| CH4962008 | 2008-04-02 | ||
| CH00496/08 | 2008-04-02 | ||
| PCT/EP2009/053949 WO2009121928A1 (fr) | 2008-04-02 | 2009-04-02 | Bracelet de montre |
Publications (1)
| Publication Number | Publication Date |
|---|---|
| JP3175603U true JP3175603U (ja) | 2012-05-24 |
Family
ID=40718869
Family Applications (1)
| Application Number | Title | Priority Date | Filing Date |
|---|---|---|---|
| JP2011600003U Expired - Lifetime JP3175603U (ja) | 2008-04-02 | 2009-04-02 | 腕時計用バンド |
Country Status (5)
| Country | Link |
|---|---|
| US (1) | US8770830B2 (ja) |
| EP (1) | EP2271231B1 (ja) |
| JP (1) | JP3175603U (ja) |
| CN (1) | CN201898958U (ja) |
| WO (1) | WO2009121928A1 (ja) |
Family Cites Families (12)
| Publication number | Priority date | Publication date | Assignee | Title |
|---|---|---|---|---|
| CH665536A5 (en) * | 1985-06-07 | 1988-05-31 | Cornu & Cie S A | Folding fastener for bracelet with U=shaped cover - bracelet adjustable part fits under this, tongue pivots on axle in cover and engages in hole |
| CH674447A5 (ja) | 1987-11-19 | 1990-06-15 | G Et F Chatelain S A | |
| FR2699796B1 (fr) | 1992-12-28 | 1995-02-24 | Maier | Fermoir dépliant pour bracelet à brin réglable. |
| JPH06327508A (ja) * | 1993-03-26 | 1994-11-29 | Citizen Watch Co Ltd | 時計バンドの中留構造 |
| DE69623019T2 (de) | 1995-04-04 | 2003-07-03 | Montres Rolex S.A., Genf/Geneve | Armbandverschluss |
| FR2741244B1 (fr) * | 1995-11-21 | 1998-01-16 | Grandjean Sa | Fermoir a boucle deployante |
| WO1997029660A1 (fr) * | 1996-02-12 | 1997-08-21 | Gay Freres Vente Et Exportation S.A. | Fermoir pour bracelet |
| FR2751516B1 (fr) * | 1996-07-25 | 1998-09-04 | Smh Management Services Ag | Fermoir a boucle deployante |
| JPH10271196A (ja) | 1997-03-25 | 1998-10-09 | Seiko Epson Corp | 腕装着型通信装置 |
| US5870803A (en) * | 1997-12-31 | 1999-02-16 | Jorst; Charlotte Kjoelbye | Double-locking clasp for watch band |
| EP1201149B1 (fr) | 2000-10-26 | 2005-12-28 | Rolex Sa | Fermoir de bracelet |
| DE10109937A1 (de) | 2001-01-19 | 2002-08-14 | Wellendorff Alex Dr Fa | Faltschließe |
-
2009
- 2009-04-02 WO PCT/EP2009/053949 patent/WO2009121928A1/fr not_active Ceased
- 2009-04-02 CN CN200990100176.7U patent/CN201898958U/zh not_active Expired - Lifetime
- 2009-04-02 JP JP2011600003U patent/JP3175603U/ja not_active Expired - Lifetime
- 2009-04-02 EP EP09726602A patent/EP2271231B1/fr active Active
- 2009-04-02 US US12/936,300 patent/US8770830B2/en active Active
Also Published As
| Publication number | Publication date |
|---|---|
| US8770830B2 (en) | 2014-07-08 |
| EP2271231B1 (fr) | 2012-07-11 |
| EP2271231A1 (fr) | 2011-01-12 |
| US20110103198A1 (en) | 2011-05-05 |
| WO2009121928A1 (fr) | 2009-10-08 |
| CN201898958U (zh) | 2011-07-20 |
Similar Documents
| Publication | Publication Date | Title |
|---|---|---|
| JP5592465B2 (ja) | 回動防止連結具 | |
| TWI524862B (zh) | 特別是用於錶帶之可伸展扣件 | |
| EA031011B1 (ru) | Наручные часы и браслет | |
| US11103037B2 (en) | Watch anti-theft device and watch strap combination, and a device for the combination | |
| JP3175603U (ja) | 腕時計用バンド | |
| KR102077916B1 (ko) | 초기 걸림기능이 내재된 장신구의 연결구조 | |
| JP2002101924A (ja) | 特に腕時計のリストバンドに使用可能な2つのフレキシブル・ストランドを固定するための留め具 | |
| CN110769716B (zh) | 具有调节手链长度的装置的手链扣环 | |
| JP5215646B2 (ja) | 装身具の中留構造 | |
| JP2010035722A (ja) | アクセサリ用のクラスプ | |
| US1689640A (en) | Fastening device for wrist-watch straps, bands, and bracelets | |
| US1765966A (en) | Wrist-watch-strap fastener | |
| CN109288214A (zh) | 铆接式表带 | |
| JP2024500800A (ja) | ストラップ | |
| KR200358446Y1 (ko) | 산업용 안전벨트의 버클 | |
| JPH0956418A (ja) | 伸縮式背負バンド及び背負バンド長調節用バックル | |
| US20190261746A1 (en) | Reversible and adjustable belt strap | |
| KR200208185Y1 (ko) | 혁대용 버클 | |
| JP3193884U (ja) | 時計バンド用中留部材並びにそれを備えた時計バンド及び腕時計 | |
| EP0547087A1 (en) | TOGLE LOCK FOR FOOTWEAR. | |
| US1633381A (en) | Fastening device for wrist-watch straps and bracelets | |
| KR20190126435A (ko) | 접히는 버클 걸쇠 | |
| KR200268891Y1 (ko) | 넥타이용 매듭구 | |
| JP3063424U (ja) | 時計バンド | |
| KR0122358B1 (ko) | 시계밴드(band) 결합장치 |
Legal Events
| Date | Code | Title | Description |
|---|---|---|---|
| R150 | Certificate of patent or registration of utility model |
Free format text: JAPANESE INTERMEDIATE CODE: R150 |
|
| R154 | Certificate of patent or utility model (reissue) |
Free format text: JAPANESE INTERMEDIATE CODE: R154 |
|
| FPAY | Renewal fee payment (event date is renewal date of database) |
Free format text: PAYMENT UNTIL: 20150425 Year of fee payment: 3 |
|
| R250 | Receipt of annual fees |
Free format text: JAPANESE INTERMEDIATE CODE: R250 |
|
| R250 | Receipt of annual fees |
Free format text: JAPANESE INTERMEDIATE CODE: R250 |
|
| R250 | Receipt of annual fees |
Free format text: JAPANESE INTERMEDIATE CODE: R250 |
|
| R250 | Receipt of annual fees |
Free format text: JAPANESE INTERMEDIATE CODE: R250 |
|
| EXPY | Cancellation because of completion of term |