JP3167883U - 就寝時、その乱れを防ぐ装備を施したタオルケット - Google Patents
就寝時、その乱れを防ぐ装備を施したタオルケット Download PDFInfo
- Publication number
- JP3167883U JP3167883U JP2011001155U JP2011001155U JP3167883U JP 3167883 U JP3167883 U JP 3167883U JP 2011001155 U JP2011001155 U JP 2011001155U JP 2011001155 U JP2011001155 U JP 2011001155U JP 3167883 U JP3167883 U JP 3167883U
- Authority
- JP
- Japan
- Prior art keywords
- pile
- towel
- weave
- mattress
- folded
- Prior art date
- Legal status (The legal status is an assumption and is not a legal conclusion. Google has not performed a legal analysis and makes no representation as to the accuracy of the status listed.)
- Expired - Lifetime
Links
- 238000009941 weaving Methods 0.000 abstract description 11
- 238000010521 absorption reaction Methods 0.000 abstract description 5
- 238000000034 method Methods 0.000 description 3
- 210000004906 toe nail Anatomy 0.000 description 2
- 230000036760 body temperature Effects 0.000 description 1
- 238000010586 diagram Methods 0.000 description 1
- 230000000694 effects Effects 0.000 description 1
- 210000000282 nail Anatomy 0.000 description 1
- 230000001737 promoting effect Effects 0.000 description 1
- 230000002459 sustained effect Effects 0.000 description 1
Images
Landscapes
- Bedding Items (AREA)
Abstract
【課題】寝返りをした時タオルケットが乱れることなく保温性と吸湿性に優れたタオルケットを提供する。【解決手段】タオルケット本体は、首周りの部分の二つ折りパイル織部2と、表パイル裏ガーゼ織り胴体部3と、パイル長をその他のパイル長より長く形成する足許部7に続いて折り返し可能に平織り部5とし、タオルケットの上下を左右両端に取り付けた紐4で敷布団を挟むことで乱れを防ぐ。【選択図】図1
Description
本考案は、タオルケットに関わるものであり、詳しくはタオルケットは吸湿性と保温性に優れ、冬は暖かく、夏は涼しい寝具として広く使用されている。
タオルケットには吸湿性と保温性の良い利点があるので、冬は防寒用として敷布団と掛け布団の寝具の間に挟み使用され若しくは夏は吸湿性の良いしかも夏風邪を引かない適度な保温性のあるタオルケットとして実用に供されている。
しかし、実用のタオルケットは、柔らかく腰が無い為、就寝中乱れて安眠を得にくいという欠点があった。具体的には、寝具の間に挟まれるタオルケットは就寝中の運動量により使用する位置がずれる乱れにより、保温性や吸湿性を阻害する要因となるという問題があった。
タオルケットを敷布団の上に掛け、掛け布団の間に挟んで寝具として使用しようとする場合、就寝時の無意識の運動によりにタオルケットの使用する位置がずれる欠点は体温の低下を招き安眠の妨げにもなる。
特許文献1乃至4は、従来の掛け布団と毛布やタオルケットなどの掛け寝具の乱れを防ぐことを目的とする留め具を備えるものである。
実用新案登録第3095751号公報
実用新案登録第3107996号公報
実用新案登録第3131965号公報
特開2001−95663号公報
解決しようとする問題点は、朝まで安心してぐっすり眠られる為、寝返りをした時タオルケットが就寝時、乱れないことが求められている。
本考案は、上記課題を解決する為、首周りの部分には二つ折にしたパイル織り部と、表パイル裏ガーゼ織りに形成した胴体部と、パイル長をその他の部分より長く形成した足許部を形成し、タオルケット本体において、前記足許部に続いて折返し可能になる平織り部を形成し、首周りの部分には二つ折りにしたパイル織部を形成し、その他の胴体部は裏にパイルを形成しない表パイル裏ガーゼ織り部を形成し、左右の両端部に紐を取り付けて、タオルケットの足許部に続いて設けた平織り部を折り返し、上下を左右の紐を結んで敷布団を挟むことで就寝時、その乱れを防ぐ装備を施したことを最も主要な特徴とする。
タオルケット本体の左右両端に取り付けている複数本の紐を互いに結ぶことでタオルケットの使用する位置がずれて乱れるのを防止し、寝返りを打っても、タオルケットを引張ってもタオルケットは乱れることもなくなり、保温性、吸湿性に影響することがなく安眠を促進する効果が生じる。
本考案のタオルケット本体には、パイル長をその他の部分より長く形成した足許部に続けて折返し可能になる平織り部を形成し、首周りの部分には二つ折りにしたパイル織部を形成し、その他の胴体部には裏にパイルを形成しない表パイル裏ガーゼ織り部を形成し、左右の両端部に紐を取り付けて、平織り部を折り返して敷布団を巻いて左右両端部の紐を結ぶことによって寝返りをした時タオルケットが乱れず、朝まで安心してぐっすり眠られる為、保温性と吸湿性に優れたタオルケットを提供できるという利点がある。
本考案のタオルケット本体は、足許部に続けて折り返し使用する平織り部とし、上下を紐で敷布団を挟むことでずれを防ぐことを目的として、足許部に続けて形成する折返し部は、平織りとしてパイルを出さない。首周りの部分は、肩が冷えないようにパイルを形成し二つ折りパイル織部とする。その他の胴体部は足の爪でパイルを引っ掛けてタオルケットを損傷しないように、裏にパイルを形成しない表パイル裏ガーゼ織りとする。又、タオルケットの左右の複数箇所に固定用の紐を取り付けて、左右の紐を結んで敷布団を挟むことで保温性と吸湿性を損なわずに、就寝時、その乱れを防ぐ装備を施したタオルケットを実現した。
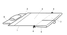
図1は、就寝時、その乱れを防ぐ装備を施したタオルケットの1実施例の平面図であって、図2は使用方法を説明する斜視図である。符号について、1はタオルケット本体,2は二つ折りパイル織り部、3は表パイル裏ガーゼ織りに形成する胴体部、4は紐,5は折返し平織り部、6は敷布団、7はその他のパイル織部のパイル長より長めのパイル織を形成してなる足許部である。
本考案の実施例を図1により説明すると、タオルケット本体1の足許部7に続いて折返し平織り部5としてこれにはパイルを出さない。首周りの部分は、肩が冷えないようにパイルを形成し二つ折りにしたパイル織部2とする。
その他の胴体部3は足の爪でパイルを引っ掛けてタオルケットを損傷しないように、表パイル織り、裏にパイルを形成しない表パイル裏ガーゼ織りとする。又、タオルケットの左右両端の複数箇所に固定用の紐4を取り付けて、左右の紐を結んで敷布団6を挟むことができるようにする。タオルケット本体1の足許部7に続けて形成した折返し平織り部5の前の足許部において。約40センチメートル幅のパイル長をその他のパイル織り部2のパイル長より約1.5倍長く形成して足許の保温性を良くするものである。
その他の胴体部3は足の爪でパイルを引っ掛けてタオルケットを損傷しないように、表パイル織り、裏にパイルを形成しない表パイル裏ガーゼ織りとする。又、タオルケットの左右両端の複数箇所に固定用の紐4を取り付けて、左右の紐を結んで敷布団6を挟むことができるようにする。タオルケット本体1の足許部7に続けて形成した折返し平織り部5の前の足許部において。約40センチメートル幅のパイル長をその他のパイル織り部2のパイル長より約1.5倍長く形成して足許の保温性を良くするものである。
又、図2は、タオルケットの折返し平織り部5で敷布団6を巻いて左右両端に取り付けた複数本の紐4を互いに結び、タオルケットの乱れ防ぐ装備を説明するタオルケットの使用状態図である。
即ち、タオルケット本体1の平織り部5で敷布団6を巻いて、敷布団の下に敷き込み、左右両端の紐4を適宜結ぶことにとって敷布団を挟むことで就寝時、タオルケットは乱れを防止して保温性と吸湿性を持続できるようにした。
即ち、タオルケット本体1の平織り部5で敷布団6を巻いて、敷布団の下に敷き込み、左右両端の紐4を適宜結ぶことにとって敷布団を挟むことで就寝時、タオルケットは乱れを防止して保温性と吸湿性を持続できるようにした。
タオルケットの首周り部分は、二つ折りにしたパイル織り部とし、保温性を維持し、胴体部3には表パイル裏ガーゼ織り部を設けて爪の掛りを少なくし、吸湿性を持続する製織方法を採用した。敷布団を平織り部5で巻いて紐を結び就寝時の寝返りによっても足許の乱れも無くなり、保温性のあるタオルケットを提供できる。
タオルケット本体に、足許部に続いて折返し可能になる平織り部を形成し、首周りの部分には二つ折りにしたパイル織部を形成し、その他の胴体部は裏にパイルを形成しない表パイル裏ガーゼ織り部を形成し、左右の両端部に紐を取り付けて、敷布団を巻いて折り返しできる平織り部を敷布団の下に折返し、左右両端部の紐を結ぶことによって、敷布団を挟んで就寝中の寝返りを打っても乱れず、冬季にも、夏季にも適用できて保温性と吸湿性の持続を可能したタオルケットを提供することができる。
1 タオルケット本体
2 二つ折りパイル織部
3 表パイル裏ガーゼ織り胴体部
4 紐
5 折返し平織部
6 敷布団
7 足許部
2 二つ折りパイル織部
3 表パイル裏ガーゼ織り胴体部
4 紐
5 折返し平織部
6 敷布団
7 足許部
Claims (3)
- 首周りを二つ折りにしたパイル織り部と、表パイル裏ガーゼ織りに形成した胴体部と、パイル長をその他の部分より長く形成した足許部を形成し、タオルケット本体の足許部に続けて平織りにしてなる折返し平織り部を設け、その折返部分を敷布団に巻いて敷布団の下に敷き込み、タオルケットの左右の端部に上下を結びつける紐を取り付け、左右両端の紐を結んで敷布団を挟む事で就寝時、その乱れを防ぐ装備を施したことを特徴とするタオルケット。
- 請求項1に記載のタオルケット本体の足許部は約40センチメートルの幅のパイル長をその他の部分のパイル長より長く織ることを特徴とする請求項1に記載のタオルケット。
- 請求項1に記載のタオルケット本体の胴体部は、裏にパイルを出さない表パイル裏ガーゼ織りに形成することを特徴とする請求項1に記載のタオルケット。
Priority Applications (1)
| Application Number | Priority Date | Filing Date | Title |
|---|---|---|---|
| JP2011001155U JP3167883U (ja) | 2011-03-03 | 2011-03-03 | 就寝時、その乱れを防ぐ装備を施したタオルケット |
Applications Claiming Priority (1)
| Application Number | Priority Date | Filing Date | Title |
|---|---|---|---|
| JP2011001155U JP3167883U (ja) | 2011-03-03 | 2011-03-03 | 就寝時、その乱れを防ぐ装備を施したタオルケット |
Publications (1)
| Publication Number | Publication Date |
|---|---|
| JP3167883U true JP3167883U (ja) | 2011-05-19 |
Family
ID=54878930
Family Applications (1)
| Application Number | Title | Priority Date | Filing Date |
|---|---|---|---|
| JP2011001155U Expired - Lifetime JP3167883U (ja) | 2011-03-03 | 2011-03-03 | 就寝時、その乱れを防ぐ装備を施したタオルケット |
Country Status (1)
| Country | Link |
|---|---|
| JP (1) | JP3167883U (ja) |
-
2011
- 2011-03-03 JP JP2011001155U patent/JP3167883U/ja not_active Expired - Lifetime
Similar Documents
| Publication | Publication Date | Title |
|---|---|---|
| US8302224B2 (en) | Bed covering | |
| JP3167883U (ja) | 就寝時、その乱れを防ぐ装備を施したタオルケット | |
| GB2510925A (en) | Bed Sheet | |
| AU2010230846A1 (en) | Improvements relating to covering | |
| JP5717812B2 (ja) | 枕を支持できる敷布団カバー | |
| US20150282632A1 (en) | Covering System | |
| JP3145759U (ja) | 就寝中のずれ肌蹴防止用上掛け寝具 | |
| US20210059432A1 (en) | Multilayer safety blanket and system | |
| JP6248949B2 (ja) | 寝具 | |
| KR101499053B1 (ko) | 휴대시 개는 작업이 용이한 유아용 침구 | |
| JP3124141U (ja) | 掛布団と敷布団との組み合わせ寝具の就寝中の掛布団のはねのけや寝具内からのとびだし等を防止するようにした寝具構造。 | |
| JP3128702U (ja) | 上掛け寝具と敷きパット。 | |
| JP3243369U (ja) | 足元囲い形安眠補助装置 | |
| CN211186555U (zh) | 床栏保护套 | |
| CN209863119U (zh) | 一种防止肩部受风着凉的被子 | |
| CN211154926U (zh) | 一种床品辅助配件 | |
| JP4690487B1 (ja) | 襟元周りの保温を高める毛布 | |
| JP2005287563A (ja) | 快適寝布団 | |
| JP3124127U (ja) | 吸汗・保温マフラー | |
| CN202858617U (zh) | 一种儿童睡袋 | |
| JPH06269345A (ja) | 寝具構造 | |
| JP3100228U (ja) | 貼り合わせ式毛布 | |
| KR101111116B1 (ko) | 길이조절이 가능한 수면바지 | |
| JP2006141950A (ja) | 寝冷えしない掛布団カバー | |
| JP2016106665A (ja) | 多機能寝具 |
Legal Events
| Date | Code | Title | Description |
|---|---|---|---|
| R150 | Certificate of patent or registration of utility model |
Ref document number: 3167883 Country of ref document: JP Free format text: JAPANESE INTERMEDIATE CODE: R150 Free format text: JAPANESE INTERMEDIATE CODE: R150 |
|
| FPAY | Renewal fee payment (event date is renewal date of database) |
Free format text: PAYMENT UNTIL: 20140420 Year of fee payment: 3 |
|
| R250 | Receipt of annual fees |
Free format text: JAPANESE INTERMEDIATE CODE: R250 |
|
| R250 | Receipt of annual fees |
Free format text: JAPANESE INTERMEDIATE CODE: R250 |
|
| R250 | Receipt of annual fees |
Free format text: JAPANESE INTERMEDIATE CODE: R250 |
|
| EXPY | Cancellation because of completion of term |