JP3120734U - 簡単かつ綺麗に着付けのできる着物 - Google Patents

簡単かつ綺麗に着付けのできる着物 Download PDF

Info

Publication number
JP3120734U
JP3120734U JP2006000353U JP2006000353U JP3120734U JP 3120734 U JP3120734 U JP 3120734U JP 2006000353 U JP2006000353 U JP 2006000353U JP 2006000353 U JP2006000353 U JP 2006000353U JP 3120734 U JP3120734 U JP 3120734U
Authority
JP
Japan
Prior art keywords
kimono
attached
heel
back body
neatly
Prior art date
Legal status (The legal status is an assumption and is not a legal conclusion. Google has not performed a legal analysis and makes no representation as to the accuracy of the status listed.)
Expired - Fee Related
Application number
JP2006000353U
Other languages
English (en)
Inventor
寿恵 田中
Current Assignee (The listed assignees may be inaccurate. Google has not performed a legal analysis and makes no representation or warranty as to the accuracy of the list.)
Individual
Original Assignee
Individual
Priority date (The priority date is an assumption and is not a legal conclusion. Google has not performed a legal analysis and makes no representation as to the accuracy of the date listed.)
Filing date
Publication date
Application filed by Individual filed Critical Individual
Priority to JP2006000353U priority Critical patent/JP3120734U/ja
Application granted granted Critical
Publication of JP3120734U publication Critical patent/JP3120734U/ja
Anticipated expiration legal-status Critical
Expired - Fee Related legal-status Critical Current

Links

Images

Landscapes

  • Outerwear In General, And Traditional Japanese Garments (AREA)

Abstract

【課題】 熟練を要することなしに簡単かつ綺麗に着付けができる普通仕立ての着物を提供するものであり、特に、着物を綺麗に着付けるための重要な要素である背中心を正確に合わせること、衿元を揃えること、更には、裾搾りの褄先上がりにすること、更に、着用後の着崩れの心配のない着付けが行える着物を提供する。
【解決手段】 普通に仕立てられた着物1において、後身頃4における所定の高さ位置に所定長さを有する2本の胸紐7,8が後身頃4のほぼ全幅にわたって固着した状態で取り付けられている。
【選択図】 図1

Description

本考案は、普通仕立ての着物であって、簡単かつ綺麗に着付けのできる着物に関するものである。
従来、着物を着るには複数の腰紐や腰ベルト等の着付け具を用いて、衿合わせや褄の位置、おはしょりの形成などを考慮して着付けをしなければならず、熟練を要するとともに、着付けが充分でないと、着付けた後も着崩れが心配であるなど着付けの際の困難さが着物を着る機会が減少する要因の1つとなっている。
そこで、従来から簡単に着付けのできる着物が提案されており、例えば特公昭63−5482号公報、特開2003−89903号公報、特開2005−344244号公報、特開2006−2270号公報、登録実用新案第3061975号公報等に提示されている。
ところが、前記公報に提示されている簡単に着付けのできる着物は、着物に取り付けた腰紐を紐通しに通すことにより簡単に着付けを行うようにしたものが殆どであり、衿合わせ、背中心の歪みや、後身頃の着皺をなくすなどのような上半身部分については考慮されていない。また、前記公報に提示されている着物の殆どは、例えば後身頃を切断したり、身丈を調整したもの、或いは上下に分割した二部式であるなど特異な着物であるためそれぞれ目的に合わせて特別に仕立てるなど必要があり、簡単かつ綺麗に着付のできる普通仕立ての着物は提示されていない。
特公昭63−5482号公報 特開2003−89903号公報 特開2005−344244号公報 特開2006−2270号公報 登録実用新案第3061975号公報
本考案は上記課題を解決するためになされたものであり、熟練を要することなしに簡単かつ綺麗に着付けができる普通仕立ての着物を提供するものであり、特に、着物を綺麗に着付けるための重要な要素である背中心を正確に合わせること、衿元を揃えること、更には、裾搾りの褄先上がりにすること、更に、着用後の着崩れの心配のない着付けが行える着物を提供するものである。
上記課題を達成するためになされた本考案である簡単かつ綺麗に着付けのできる着物は、普通に仕立てられた着物において、後身頃における所定の高さ位置、好ましくは身八口の高さ位置に所定長さを有する2本の胸紐が後身頃のほぼ全幅にわたって固着した状態で取り付けられていることを特徴とする。
本考案によれば、後身頃における身八口の高さ位置に所定長さを有する2本の胸紐を備え、この内の1本をその端を左右の身八口を通して着物の内側に通し、襦袢と着物のそれぞれの後身頃を一体的に締結することにより着物を襦袢の胸部に固定して衿元を揃え、後背中心から脇まで後身頃が安定し、特に、胸紐をその中央が後身頃の背中心に合致するように固着しておくと、胸紐の両端を身体の前で同じ長さに成るように引っ張れば背中心が背中の中心に位置することとなり、更に、前記腰紐の上におはしょりを形成した後、残りの胸紐を着物の上から結び全体を固定する。
また、胸紐を後身頃の表面に固着した場合には胸紐が後身頃を外側から包囲するので安定した着付けが可能であるとともに、後身頃を外側から支持するので後身頃の内側に配置した場合に比べて弱い固着力で固着すればよく、例えば胸紐を縫着する場合には比較的粗めであったり、縫い線の数を減らす等、制作が容易である。一方、胸紐を後身頃の裏面に固着した場合には外側から見えないので装着後に帯がずれたりしたとしても露出しないので美麗である点で優れている。
更に、2本の胸紐を重ねて縫着する場合には、一度の縫製で2本の胸紐を固着することができるので作製の手間を省くことができる。
更にまた、上前身頃と下前身頃に連設されている衿の両衿先に一対の腰紐が外側方向へ向けて斜め上方に傾斜させた状態でそれぞれ取り付けられており、且つ前記上前身頃側の衿先に取り付けられた腰紐を通すベルト通しが右側の脇縫部における身八口よりも下で衿先よりも上方部位に、前記下前身頃側の衿先に取り付けられた腰紐を通す脇穴が左側の脇縫部における身八口よりも下で衿先よりも上方部位にそれぞれ設けられている場合には、上前身頃側の衿先に取り付けられた腰紐をベルト通しに、下前身頃側の衿先に取り付けられた腰紐を脇穴に通して褄先の位置を調整した後、背後に回して交差させ、それらの両端を前面に回した状態で両端を締結して所定の裾搾りの褄先上がりの着付けをすることができる。
以上、本考案によれば、普通仕立ての着物を熟練を要することなしに簡単かつ綺麗に着付けができる。特に、着物を綺麗に着付けるための重要な要素である後身頃を安定した状態とし、衿元や衿抜を揃えること、背中心が歪みなく、裾搾りの褄先上がりにすること、更に、着付け後における着崩れの心配もない。また、本考案は、特別な装着具を必要とするものでなく安価に且つ簡単に作ることができるばかりか、普通仕立ての着物をそのまま簡単に装着できるものであり、従来から所有している着物を利用することもできる。
次に、本考案の好ましい実施の形態を図面に基づいて詳細に説明する。
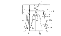
図1および図2は本考案の好ましい実施の形態を示すものであり、本考案である着物1は、下前身頃2、上前身頃3、後見頃4、両袖5,5および衿6を有して従来の普通に仕立てられたものと同様に仕立てられている。尚、着物1は新たに仕立てても良いが、従来のものをそのまま用いることもできる。
そして、本実施の形態では、後身頃4の表面に2本の胸紐7,8が互いに重ねた状態で縫い着けることで取り付けられている。更に、詳しく説明すると、2本の胸紐7,8は同一の幅(例えば3〜5cm程度)と同一の長さ(例えば150〜200cm程度)を有し、互いに重ね合わせた状態で後身頃4における身八口9,9の高さ位置(例えば衿下から22〜35cm程度の位置)に水平に配置されて後身頃4のほぼ全幅にわたって両脇縫部11a,11bまで縫着されており、特に、胸紐7,8の中央73,83が後身頃4の背中心41に合致するように取り付けられている。
また、下前身頃2、上前身頃3とに連設されている衿6の両衿先61,62に一対の腰紐12,13が外側方向へ向けて所定の角度(例えば50〜60度の角度)で斜め上方に傾斜させて縫着によりそれぞれ取り付けられている。尚、腰紐12,13は例えば95〜110cm程度の長さであり、両衿先61,62の縫着位置は例えば裾16から80〜110cm程度の高さ位置が好ましい。
更に、右側の脇縫部11aにおける身八口9よりも下で衿先61,62よりも上方部位に前記上前身頃3側の衿先62に取り付けられた腰紐13を通すベルト通し14が、左側の脇縫部11bにおける身八口9よりも下で衿先61,62よりも上方部位に前記下前身頃2側の衿先42に取り付けられた腰紐12を通す脇穴15が形成されている。尚、前記ベルト通し14および脇穴15の形成位置は例えば裾16から87〜97cm程度の位置が好ましく、また、ベルト通し14および脇穴15自体の穴は例えば5〜7cm程度が好ましい。
次に、本実施の形態である着物1を用いた着付けについて順次説明する。
着付けをするには、まず、図3乃至図5に示すように襦袢17を着用した状態で両袖5,5に腕を通して着物1をはおり、例えば下側に配置されている一方の胸紐7の両端71,72を身八口9,9にそれぞれ通過させて身体の前に通し、襦袢17の衿18と着物1の衿6との前衿合わせや衿抜きの位置や形の調整をした上で、襦袢17の前で胸紐7の両端71,72を締結し、着物1や襦袢17の衿6、18部分を安定した状態に固定する。
特に、このとき、胸紐7は中央73が後身頃4の背中心41に合致するように取り付けられているので、始めに胸紐7の両端71,72を身体の前で同じ長さになるように引っ張れば、図4に示すように、後身頃4の背中心41を背骨の中心に位置させることができ背中心が歪んだ状態で装着される心配がない。同時に、胸紐7は後身頃4のほぼ全幅にわたって両脇縫部11a,11bまで縫着されているので、後身頃4が背中心41から両脇縫部11a,11bまで着皺を発生させずに安定した綺麗な状態で被着することができる。
そして、次に、図6に示すように、下前身頃2側の衿先61に取り付けられた腰紐12を脇穴15に通すとともに上前身頃2側の衿先62に取り付けられた腰紐13をベルト通し14に通し、両褄先19,20の高さ位置を調整した後、背後に回して交差させ(図示せず)、図7に示すように腰紐12,13を前面に回して互いに締結し、図8に示すように締結した腰紐12,13の上に上前身頃2,下前身頃3および後身頃4を弛ませた部分を所定の幅に折り込んでおはしょり21を形成し、更に、もう一つの胸紐8を図9に示すように着物1の上から巻回して両端を締結して着付けを終える。
以上のような本実施の形態につき着付けの時間を計ったところ、大人に限らず5〜6歳程度の子供であっても数回の試技の後、数分で着付けを完了することかできた。
特に、本実施の形態では、腰紐12および腰紐13を両衿先61,62に一対の腰紐12,13が外側方向へ向けて所定の角度で斜め上方に傾斜させてそれぞれ取り付けられているとともに、これらの腰紐12および腰紐13を通すベルト通し14および脇穴15が所定の高さ位置に配置されているので、腰紐12および腰紐13をベルト通し14および脇穴15に通すだけで、後は微細な調整をして締結することで、ほぼ予め定めた所定の裾搾りの褄先上がりの着付けが簡単にできる。
尚、本実施の形態は好ましい一例を示したものであり、本考案は本実施例に限るものではない。特に、胸紐7,8や腰紐12,13等の寸法、更に取り付け位置などは着用する者の身体や好みに合わせて適宜変更可能であり、材質や締結手段も問わず、例えば伸縮ベルトやベルベット式ファスナ(面ファスナ)のような装着容易なものであってもよい。
本考案の好ましい実施の形態を示す正面図。 図1に示した実施の形態の背面図。 図1に示した実施の形態の使用状態の一部を示す説明図。 図1に示した実施の形態の使用状態の一部を示す説明図。 図1に示した実施の形態の使用状態の一部を示す説明図。 図1に示した実施の形態の使用状態の一部を示す説明図。 図1に示した実施の形態の使用状態の一部を示す説明図。 図1に示した実施の形態の使用状態の一部を示す説明図。 図1に示した実施の形態の使用状態の一部を示す説明図。
符号の説明
1 着物、2 下前身頃、3 上前身頃、4 後身頃、5 袖、6 衿、7 胸紐、8 胸紐、9 身八口、11a,11b 脇縫部、12 腰紐、13 腰紐、14 ベルト通し、15 脇穴、16 裾、41 背中心

Claims (8)

  1. 普通に仕立てられた着物において、後身頃における所定の高さ位置に所定長さを有する2本の胸紐が後身頃のほぼ全幅にわたって固着した状態で取り付けられていることを特徴とする簡単かつ綺麗に着付けのできる着物。
  2. 前記2本の胸紐を取り付ける後身頃における所定の高さ位置が、後身頃における身八口の高さ位置であることを特徴とする簡単かつ綺麗に着付けのできる着物。
  3. 前記2本の胸紐が後身頃の表面に取り付けられていることを特徴とする請求項1または2記載の簡単かつ綺麗に着付けのできる着物。
  4. 前記2本の胸紐が後身頃の裏面に取り付けられていることを特徴とする請求項1または2記載の簡単かつ綺麗に着付けのできる着物。
  5. 前記2本の胸紐の内の1本が後身頃の表面に、もう1一本が後身頃の裏面にそれぞれ取り付けられていることを特徴とする請求項1または2記載の簡単かつ綺麗に着付けのできる着物。
  6. 前記2本の胸紐が互いに重なる位置で縫着されていることを特徴とする請求項1,2,3,4または5記載の簡単かつ綺麗に着付けのできる着物。
  7. 前記2本の胸紐の内、少なくとも1本がその中央を後身頃の背中心に合致させて固着されていることを特徴とする請求項1,2,3,4,5または6記載の簡単かつ綺麗に着付けのできる着物。
  8. 上前身頃と下前身頃に連設されている衿の両衿先に一対の腰紐が外側方向へ向けて斜め上方に傾斜させた状態でそれぞれ取り付けられており、且つ前記上前身頃側の衿先に取り付けられた腰紐を通すベルト通しが右側の脇縫部における身八口よりも下で衿先よりも上方部位に、前記下前身頃側の衿先に取り付けられた腰紐を通す脇穴が左側の脇縫部における身八口よりも下で衿先よりも上方部位にそれぞれ設けられていることを特徴とする請求項1,2,3,4,5,6または7記載の簡単かつ綺麗に着付けのできる着物。
JP2006000353U 2006-01-20 2006-01-20 簡単かつ綺麗に着付けのできる着物 Expired - Fee Related JP3120734U (ja)

Priority Applications (1)

Application Number Priority Date Filing Date Title
JP2006000353U JP3120734U (ja) 2006-01-20 2006-01-20 簡単かつ綺麗に着付けのできる着物

Applications Claiming Priority (1)

Application Number Priority Date Filing Date Title
JP2006000353U JP3120734U (ja) 2006-01-20 2006-01-20 簡単かつ綺麗に着付けのできる着物

Publications (1)

Publication Number Publication Date
JP3120734U true JP3120734U (ja) 2006-04-20

Family

ID=43470888

Family Applications (1)

Application Number Title Priority Date Filing Date
JP2006000353U Expired - Fee Related JP3120734U (ja) 2006-01-20 2006-01-20 簡単かつ綺麗に着付けのできる着物

Country Status (1)

Country Link
JP (1) JP3120734U (ja)

Cited By (2)

* Cited by examiner, † Cited by third party
Publication number Priority date Publication date Assignee Title
KR20200049426A (ko) * 2017-09-19 2020-05-08 베지 사사키 의복
JP2020084364A (ja) * 2018-11-23 2020-06-04 ライナス有限会社 衣服および衣服の締め付け方法

Cited By (2)

* Cited by examiner, † Cited by third party
Publication number Priority date Publication date Assignee Title
KR20200049426A (ko) * 2017-09-19 2020-05-08 베지 사사키 의복
JP2020084364A (ja) * 2018-11-23 2020-06-04 ライナス有限会社 衣服および衣服の締め付け方法

Similar Documents

Publication Publication Date Title
EP2888965B1 (en) Kimono
US20030014807A1 (en) Pair of pants equipped with a tightening strap
CN108471819A (zh) 可变换式服装
JP3120734U (ja) 簡単かつ綺麗に着付けのできる着物
JP3138384U (ja) 簡単かつ綺麗に着付けのできる着物
JP3221724U (ja)
CN109831906B (zh) 衣服
JP3223704U (ja) きもの
JP2013127143A (ja) 簡単袴
JP3726186B2 (ja) 和服
JP3223706U (ja) きもの
CN2922519Y (zh) 能够调整腰围尺寸的服装
JP6796296B1 (ja) 和服
JP3168790U (ja) 着物風エプロン
JP3576785B2 (ja) 着物
JP3223705U (ja) きもの
JP3107342U (ja) 和装用ブラジャー、及び和装用肌着セット
JP3181920U (ja) 裏地交換可能な襟なし二部式着物
JPH0343209Y2 (ja)
JP3126493U (ja) 半衿を着脱自在としたセパレート着物
JP3173378U (ja) 襟なし二部式着物
JP3902615B2 (ja) 簡易長着
JPH1025603A (ja) お端折りの方法及び着脱容易なきもの並びに和装帯
JP3057052U (ja) 二部式着物の上衣
JP3057855U (ja) 簡易着付け可能な和装用長着

Legal Events

Date Code Title Description
R150 Certificate of patent or registration of utility model

Free format text: JAPANESE INTERMEDIATE CODE: R150

FPAY Renewal fee payment (event date is renewal date of database)

Free format text: PAYMENT UNTIL: 20100329

Year of fee payment: 4

FPAY Renewal fee payment (event date is renewal date of database)

Free format text: PAYMENT UNTIL: 20110329

Year of fee payment: 5

LAPS Cancellation because of no payment of annual fees