JP2025094271A - 頭浸浴装置 - Google Patents
頭浸浴装置 Download PDFInfo
- Publication number
- JP2025094271A JP2025094271A JP2025057579A JP2025057579A JP2025094271A JP 2025094271 A JP2025094271 A JP 2025094271A JP 2025057579 A JP2025057579 A JP 2025057579A JP 2025057579 A JP2025057579 A JP 2025057579A JP 2025094271 A JP2025094271 A JP 2025094271A
- Authority
- JP
- Japan
- Prior art keywords
- head
- water
- person
- treated
- immersion device
- Prior art date
- Legal status (The legal status is an assumption and is not a legal conclusion. Google has not performed a legal analysis and makes no representation as to the accuracy of the status listed.)
- Granted
Links
Images
Classifications
-
- A—HUMAN NECESSITIES
- A45—HAND OR TRAVELLING ARTICLES
- A45D—HAIRDRESSING OR SHAVING EQUIPMENT; EQUIPMENT FOR COSMETICS OR COSMETIC TREATMENTS, e.g. FOR MANICURING OR PEDICURING
- A45D19/00—Devices for washing the hair or the scalp; Similar devices for colouring the hair
- A45D19/06—Devices for washing the hair or the scalp; Similar devices for colouring the hair in the form of bowls or similar open containers
- A45D19/08—Adaptations of wash-basins
-
- A—HUMAN NECESSITIES
- A45—HAND OR TRAVELLING ARTICLES
- A45D—HAIRDRESSING OR SHAVING EQUIPMENT; EQUIPMENT FOR COSMETICS OR COSMETIC TREATMENTS, e.g. FOR MANICURING OR PEDICURING
- A45D19/00—Devices for washing the hair or the scalp; Similar devices for colouring the hair
- A45D19/06—Devices for washing the hair or the scalp; Similar devices for colouring the hair in the form of bowls or similar open containers
- A45D19/08—Adaptations of wash-basins
- A45D19/10—Backward lavabos
-
- A—HUMAN NECESSITIES
- A45—HAND OR TRAVELLING ARTICLES
- A45D—HAIRDRESSING OR SHAVING EQUIPMENT; EQUIPMENT FOR COSMETICS OR COSMETIC TREATMENTS, e.g. FOR MANICURING OR PEDICURING
- A45D19/00—Devices for washing the hair or the scalp; Similar devices for colouring the hair
- A45D19/06—Devices for washing the hair or the scalp; Similar devices for colouring the hair in the form of bowls or similar open containers
- A45D19/12—Water catch bowls
-
- A—HUMAN NECESSITIES
- A61—MEDICAL OR VETERINARY SCIENCE; HYGIENE
- A61H—PHYSICAL THERAPY APPARATUS, e.g. DEVICES FOR LOCATING OR STIMULATING REFLEX POINTS IN THE BODY; ARTIFICIAL RESPIRATION; MASSAGE; BATHING DEVICES FOR SPECIAL THERAPEUTIC OR HYGIENIC PURPOSES OR SPECIFIC PARTS OF THE BODY
- A61H35/00—Baths for specific parts of the body
- A61H35/008—Baths for specific parts of the body for the head
-
- A—HUMAN NECESSITIES
- A61—MEDICAL OR VETERINARY SCIENCE; HYGIENE
- A61H—PHYSICAL THERAPY APPARATUS, e.g. DEVICES FOR LOCATING OR STIMULATING REFLEX POINTS IN THE BODY; ARTIFICIAL RESPIRATION; MASSAGE; BATHING DEVICES FOR SPECIAL THERAPEUTIC OR HYGIENIC PURPOSES OR SPECIFIC PARTS OF THE BODY
- A61H9/00—Pneumatic or hydraulic massage
- A61H9/0021—Hydraulic massage
-
- A—HUMAN NECESSITIES
- A61—MEDICAL OR VETERINARY SCIENCE; HYGIENE
- A61H—PHYSICAL THERAPY APPARATUS, e.g. DEVICES FOR LOCATING OR STIMULATING REFLEX POINTS IN THE BODY; ARTIFICIAL RESPIRATION; MASSAGE; BATHING DEVICES FOR SPECIAL THERAPEUTIC OR HYGIENIC PURPOSES OR SPECIFIC PARTS OF THE BODY
- A61H2201/00—Characteristics of apparatus not provided for in the preceding codes
- A61H2201/16—Physical interface with patient
- A61H2201/1657—Movement of interface, i.e. force application means
- A61H2201/1676—Pivoting
-
- A—HUMAN NECESSITIES
- A61—MEDICAL OR VETERINARY SCIENCE; HYGIENE
- A61H—PHYSICAL THERAPY APPARATUS, e.g. DEVICES FOR LOCATING OR STIMULATING REFLEX POINTS IN THE BODY; ARTIFICIAL RESPIRATION; MASSAGE; BATHING DEVICES FOR SPECIAL THERAPEUTIC OR HYGIENIC PURPOSES OR SPECIFIC PARTS OF THE BODY
- A61H2203/00—Additional characteristics concerning the patient
- A61H2203/04—Position of the patient
- A61H2203/0443—Position of the patient substantially horizontal
- A61H2203/0468—Prone
-
- A—HUMAN NECESSITIES
- A61—MEDICAL OR VETERINARY SCIENCE; HYGIENE
- A61H—PHYSICAL THERAPY APPARATUS, e.g. DEVICES FOR LOCATING OR STIMULATING REFLEX POINTS IN THE BODY; ARTIFICIAL RESPIRATION; MASSAGE; BATHING DEVICES FOR SPECIAL THERAPEUTIC OR HYGIENIC PURPOSES OR SPECIFIC PARTS OF THE BODY
- A61H2205/00—Devices for specific parts of the body
- A61H2205/02—Head
- A61H2205/021—Scalp
Landscapes
- Health & Medical Sciences (AREA)
- General Health & Medical Sciences (AREA)
- Veterinary Medicine (AREA)
- Pain & Pain Management (AREA)
- Physical Education & Sports Medicine (AREA)
- Rehabilitation Therapy (AREA)
- Life Sciences & Earth Sciences (AREA)
- Epidemiology (AREA)
- Public Health (AREA)
- Animal Behavior & Ethology (AREA)
- Otolaryngology (AREA)
- Cleaning And Drying Hair (AREA)
- Massaging Devices (AREA)
- Chairs For Special Purposes, Such As Reclining Chairs (AREA)
- Dental Tools And Instruments Or Auxiliary Dental Instruments (AREA)
- Devices For Medical Bathing And Washing (AREA)
Abstract
Description
他の実施形態では、脚部はフック状であり、シャンプーボウルの側面縁に引っ掛かる構造である。
他の実施形態では、脚部は、シャンプーボウルの排水口に嵌合する形状であり、例えば、スカルプマッサージ用装置の第二着脱部と同様の構成である。
他の実施形態は、脚部を有していない。
他の実施形態では、対峙部が、被施術者のうなじ等に僅かに接触する。
他の実施形態は、水流部を有していない。
他の実施形態では、整流部を有さず、整流部に相当する部位として、桶本体部に整流部と同等形状の首縁部が形成されている。
他の実施形態は、溝部を有していない。
他の実施形態では、栓が整流部と一体である。すなわち、整流部の下端部が排水孔まで伸び、当該下端部に栓が形成されている。
他の実施形態では、スカルプマッサージ用装置の第二流路部は、左右の片方のみである。
他の実施形態では、スカルプマッサージ用装置の第二着脱部の形状が、ほぼ円筒状であり、一部に、排水口との間に隙間を生じさせる切欠き、凹み、窪み、溝等が形成されている。当該隙間が、排水の流路となる。
他の実施形態では、湯水は、シャワーヘッドや他の給水器具等から頭浸浴装置に直接供給される。すなわち、湯水はスカルプマッサージ用装置を経ない。
他の実施形態では、首載置具が取り付けられておらず、首載置具に相当する部位として、シャンプーボウルにおける側面に、首載置具と同等形状の首載置部が形成されている。
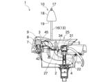
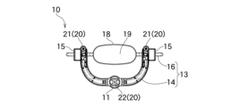
シャンプーボウル1に取り付けられてシャワーヘッド5が接続される被接続部11と、この被接続部11に連結されて上方に伸びた流路部13と、この流路部13の先端に連結された吐水部18とを有し、吐水部18の下面に形成された吐水口19は、被施術者50の額における頭髪の生え際に倣ってU字状であり、シャワーヘッド5からの湯水が流路部13を通って吐水部18に至り、吐水口19から放出される。
吐水口19から放出される湯水は、吐水口19から被施術者50の額に当たるまで、吐水口19のU字状に沿って途切れずに連続している。
吐水部18内の流路には、上下に連なった階層が形成されている。
階層同士の連絡路は、上層側と下層側とで互い違いにずれている。
2 底面
3 側面
4 排水口
5 シャワーヘッド
6 止水栓
7 首載置具(首載置部)
8 第一載置部
9 第二載置部
10,110 スカルプマッサージ用装置
11 被接続部
12 開口部
13 流路部
14 第一流路部
15 第一先端部
16 第二流路部
17 第二先端部
18 吐水部
19 吐水口
20 着脱部
21 第一着脱部
22,122 第二着脱部
23 ヒンジ部
24 軸支持部
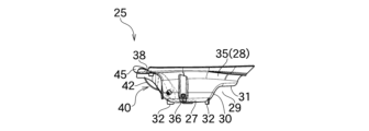
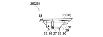
25 頭浸浴装置
26 桶本体部
27 底部
28 周側部
29 窪み空間
30 底側部
31 段底部
32 脚部
33 排水孔
34 栓
35 外縁部
36 軸突部
38 溝部
39 小孔
40 整流部(首縁部)
41 周側本体部
42 対峙部
43 水流部
44 被配置部
45 誘導部
46 誘導先端部
47 留め部材
48 首縁空隙
50 被施術者
52~54 水流
155 フランジ部
156 平坦上面部
157 傾斜下面部
200 流路接続部
201 主流路部
202 階層流路部
203 第一区画片
204 第二区画片
205 上段層流路
206 中段層流路
207 下段層流路
208 吐水口連絡路
209 上中連絡路
210 中下連絡路
211 中央部位
212 左右側方部位
Claims (6)
- 被施術者が施術されるシャンプーボウルの内側に取り付けられる桶本体部と、
前記桶本体部に対して左右一対で構成されると共に、前記桶本体部の上方に向かう方向に向けて伸びた先の先端部で連接された内側が空洞の棒状部材と、
前記先端部の下部に連結された吐水部と、を有し、
前記棒状部材が、流路部となって湯水を前記先端部に送ると共に前記先端部から下方の前記吐水部に送り、
前記吐水部が、前記桶本体部の内側で前記被施術者の頭部に当てる湯水を、途切れずに連続したカーテン状として真下に放出し、
前記棒状部材が、後方に向けて倒れることで、湯水が頭部に当たる位置を調節することができる、
ことを特徴とする頭浸浴装置。 - 前記棒状部材を回転させて角度を調節するための調節機構を有する、
ことを特徴とする請求項1に記載された頭浸浴装置。 - 前記吐水部に形成された吐水口が、左右に向けて線状に連続した、
ことを特徴とする請求項1に記載された頭浸浴装置。 - 前記吐水部に形成された吐水口が、左右に向けて線状に連続した、
ことを特徴とする請求項2に記載された頭浸浴装置。 - 前記桶本体部に前記被施術者の頭髪が浸かる、
ことを特徴とする請求項3又は請求項4に記載された頭浸浴装置。 - 前記棒状部材が倒れた状態で前記被施術者の頭部が置かれる、
ことを特徴とする請求項5に記載された頭浸浴装置。
Applications Claiming Priority (5)
| Application Number | Priority Date | Filing Date | Title |
|---|---|---|---|
| JP2021007970 | 2021-01-21 | ||
| JP2021007970 | 2021-01-21 | ||
| JP2022576707A JP7555616B2 (ja) | 2021-01-21 | 2022-01-19 | 頭浸浴装置及びシャンプーボウル |
| PCT/JP2022/001714 WO2022158472A1 (ja) | 2021-01-21 | 2022-01-19 | 頭浸浴装置及びシャンプーボウル |
| JP2024131951A JP2024149721A (ja) | 2021-01-21 | 2024-08-08 | 頭浸浴装置及び頭浸浴方法 |
Related Parent Applications (1)
| Application Number | Title | Priority Date | Filing Date |
|---|---|---|---|
| JP2024131951A Division JP2024149721A (ja) | 2021-01-21 | 2024-08-08 | 頭浸浴装置及び頭浸浴方法 |
Publications (2)
| Publication Number | Publication Date |
|---|---|
| JP2025094271A true JP2025094271A (ja) | 2025-06-24 |
| JP7780227B2 JP7780227B2 (ja) | 2025-12-04 |
Family
ID=82549417
Family Applications (3)
| Application Number | Title | Priority Date | Filing Date |
|---|---|---|---|
| JP2022576707A Active JP7555616B2 (ja) | 2021-01-21 | 2022-01-19 | 頭浸浴装置及びシャンプーボウル |
| JP2024131951A Pending JP2024149721A (ja) | 2021-01-21 | 2024-08-08 | 頭浸浴装置及び頭浸浴方法 |
| JP2025057579A Active JP7780227B2 (ja) | 2021-01-21 | 2025-03-31 | 頭浸浴装置 |
Family Applications Before (2)
| Application Number | Title | Priority Date | Filing Date |
|---|---|---|---|
| JP2022576707A Active JP7555616B2 (ja) | 2021-01-21 | 2022-01-19 | 頭浸浴装置及びシャンプーボウル |
| JP2024131951A Pending JP2024149721A (ja) | 2021-01-21 | 2024-08-08 | 頭浸浴装置及び頭浸浴方法 |
Country Status (5)
| Country | Link |
|---|---|
| EP (1) | EP4282300A4 (ja) |
| JP (3) | JP7555616B2 (ja) |
| KR (2) | KR20250157458A (ja) |
| CN (2) | CN116437834B (ja) |
| WO (1) | WO2022158472A1 (ja) |
Families Citing this family (1)
| Publication number | Priority date | Publication date | Assignee | Title |
|---|---|---|---|---|
| KR102822883B1 (ko) * | 2023-01-26 | 2025-06-19 | 주식회사 에어라파 | 샴푸대용 물 순환 장치 |
Citations (7)
| Publication number | Priority date | Publication date | Assignee | Title |
|---|---|---|---|---|
| JPS3613539Y1 (ja) * | 1959-05-26 | 1961-05-26 | ||
| JPS4837097U (ja) * | 1971-09-04 | 1973-05-04 | ||
| JPH03125857U (ja) * | 1990-03-31 | 1991-12-19 | ||
| JP3080523U (ja) * | 2001-03-22 | 2001-09-28 | 有限会社平野鉄工所 | シャワーユニット |
| JP2001292920A (ja) * | 2000-04-12 | 2001-10-23 | Matsushita Electric Works Ltd | 洗髪・洗面台ユニット |
| JP2008253594A (ja) * | 2007-04-06 | 2008-10-23 | Thales:Kk | 頭皮洗浄装置 |
| JP2011212246A (ja) * | 2010-03-31 | 2011-10-27 | Sanyo Electric Co Ltd | 自動洗髪機 |
Family Cites Families (20)
| Publication number | Priority date | Publication date | Assignee | Title |
|---|---|---|---|---|
| US4651361A (en) * | 1985-10-07 | 1987-03-24 | Nolan William D | Portable combination hair shampoo basin and drying hood |
| US4901378A (en) * | 1989-01-19 | 1990-02-20 | Lealyce Reddell | Shampoo basin |
| JPH0617604U (ja) * | 1992-08-19 | 1994-03-08 | 和泉電気株式会社 | 水だれ防止構造付き洗髪槽 |
| WO1995004484A1 (en) * | 1993-08-11 | 1995-02-16 | Killey, Andrew, John | Hair washing support |
| JPH07289345A (ja) * | 1994-04-27 | 1995-11-07 | N T M Watanabe:Kk | 理・美容設備用シャンプーボール及びその支持装置 |
| US5377365A (en) * | 1994-05-31 | 1995-01-03 | Hakim; Shaharazard H. | Neck support for beauty salon hair washing sinks |
| JP3100560B2 (ja) * | 1997-04-30 | 2000-10-16 | 三洋電機株式会社 | 支持体および自動洗髪機 |
| JPH11164733A (ja) * | 1997-12-03 | 1999-06-22 | Katsufumi Ito | 洗髪器 |
| DE20319162U1 (de) * | 2003-12-11 | 2004-03-18 | Olymp Karl Herzog Gmbh & Co. | Randauflage für einen Randabschnitt eines Waschbeckens sowie Waschbecken mit einer derartigen Randauflage |
| JP4555632B2 (ja) | 2004-08-27 | 2010-10-06 | タカラベルモント株式会社 | 理美容用椅子 |
| JP3120306U (ja) * | 2006-01-06 | 2006-03-30 | 友義 高 | 後頭部支持補助具 |
| KR100780046B1 (ko) | 2006-06-07 | 2007-11-29 | 송일호 | 의료용 세발기 |
| CN201345965Y (zh) * | 2008-12-26 | 2009-11-18 | 戴明家 | 可携式洗发器具 |
| DE102009046632A1 (de) * | 2009-11-11 | 2011-05-12 | Stefan Raab | Duschkopf |
| JP2011153522A (ja) | 2011-05-20 | 2011-08-11 | Kobayashi Pharmaceutical Co Ltd | 薬液供給装置 |
| JP5807814B2 (ja) * | 2013-03-06 | 2015-11-10 | タカラベルモント株式会社 | シャンプーボールに取付けられる頭部支持装置 |
| JP3185374U (ja) | 2013-05-29 | 2013-08-15 | 久忠 山内 | シャンプーボウル取付型枕 |
| JP6592318B2 (ja) | 2015-09-29 | 2019-10-16 | 株式会社日本メディックス | 液体式マッサージ装置およびその支持部材 |
| JP2017077378A (ja) * | 2015-10-21 | 2017-04-27 | タカラベルモント株式会社 | シャンプーボール装置および水流防水部材 |
| KR101982524B1 (ko) * | 2017-08-24 | 2019-05-27 | (주)메드사피엔스 | 샴푸 목받침대 및 미용실용 샴푸장치 |
-
2022
- 2022-01-19 EP EP22742594.9A patent/EP4282300A4/en active Pending
- 2022-01-19 KR KR1020257034975A patent/KR20250157458A/ko active Pending
- 2022-01-19 KR KR1020237013162A patent/KR102875848B1/ko active Active
- 2022-01-19 CN CN202280007065.1A patent/CN116437834B/zh active Active
- 2022-01-19 JP JP2022576707A patent/JP7555616B2/ja active Active
- 2022-01-19 CN CN202511678512.8A patent/CN121242344A/zh active Pending
- 2022-01-19 WO PCT/JP2022/001714 patent/WO2022158472A1/ja not_active Ceased
-
2024
- 2024-08-08 JP JP2024131951A patent/JP2024149721A/ja active Pending
-
2025
- 2025-03-31 JP JP2025057579A patent/JP7780227B2/ja active Active
Patent Citations (7)
| Publication number | Priority date | Publication date | Assignee | Title |
|---|---|---|---|---|
| JPS3613539Y1 (ja) * | 1959-05-26 | 1961-05-26 | ||
| JPS4837097U (ja) * | 1971-09-04 | 1973-05-04 | ||
| JPH03125857U (ja) * | 1990-03-31 | 1991-12-19 | ||
| JP2001292920A (ja) * | 2000-04-12 | 2001-10-23 | Matsushita Electric Works Ltd | 洗髪・洗面台ユニット |
| JP3080523U (ja) * | 2001-03-22 | 2001-09-28 | 有限会社平野鉄工所 | シャワーユニット |
| JP2008253594A (ja) * | 2007-04-06 | 2008-10-23 | Thales:Kk | 頭皮洗浄装置 |
| JP2011212246A (ja) * | 2010-03-31 | 2011-10-27 | Sanyo Electric Co Ltd | 自動洗髪機 |
Also Published As
| Publication number | Publication date |
|---|---|
| WO2022158472A1 (ja) | 2022-07-28 |
| EP4282300A4 (en) | 2024-12-25 |
| JP7555616B2 (ja) | 2024-09-25 |
| KR20230067682A (ko) | 2023-05-16 |
| KR102875848B1 (ko) | 2025-10-23 |
| KR20250157458A (ko) | 2025-11-04 |
| CN116437834B (zh) | 2025-12-05 |
| CN116437834A (zh) | 2023-07-14 |
| JP7780227B2 (ja) | 2025-12-04 |
| CN121242344A (zh) | 2026-01-02 |
| JP2024149721A (ja) | 2024-10-18 |
| JPWO2022158472A1 (ja) | 2022-07-28 |
| EP4282300A1 (en) | 2023-11-29 |
Similar Documents
| Publication | Publication Date | Title |
|---|---|---|
| JP7780227B2 (ja) | 頭浸浴装置 | |
| WO2005074856A1 (ja) | マッサージノズル及びマッサージ装置 | |
| US8992450B1 (en) | Feminine hydro-therapeutic massage device | |
| KR101292178B1 (ko) | 고령자 및 장애인을 위한 자동 목욕장치 | |
| AU2008201415B2 (en) | Scalp washing device | |
| US8091158B2 (en) | Shower bathing apparatus | |
| WO2007116832A1 (ja) | シャワー浴装置 | |
| CA2590983C (en) | Feminine hydro-therapeutic massage device | |
| JP2024014322A (ja) | 頭浸浴方法 | |
| JP2007222415A (ja) | 洗髪機能を備えた浴槽装置 | |
| JP3996681B2 (ja) | シャワー装置 | |
| JP2006006668A (ja) | 浴槽 | |
| US20040073996A1 (en) | Soft gel interior tub | |
| KR20240147884A (ko) | 반신욕 장치 | |
| JP2001104191A (ja) | 浴 槽 | |
| RU66952U1 (ru) | Бальнеологическая ванна "релакс" | |
| KR200449701Y1 (ko) | 월풀욕조의 잔물 제거장치 | |
| JP2007252701A (ja) | 浴槽装置 | |
| KR20110005186U (ko) | 초음파를 이용한 안면 및 발 미용기 | |
| JP2006055485A (ja) | シャンプー台 | |
| CA2307436A1 (en) | Bathtub design | |
| JP2001104037A (ja) | 洗髪装置 | |
| JP2004160187A (ja) | マッサージノズル及びマッサージシステム | |
| JPH0852187A (ja) | 洗浄用特殊浴槽 |
Legal Events
| Date | Code | Title | Description |
|---|---|---|---|
| A621 | Written request for application examination |
Free format text: JAPANESE INTERMEDIATE CODE: A621 Effective date: 20250331 |
|
| A871 | Explanation of circumstances concerning accelerated examination |
Free format text: JAPANESE INTERMEDIATE CODE: A871 Effective date: 20250331 |
|
| A131 | Notification of reasons for refusal |
Free format text: JAPANESE INTERMEDIATE CODE: A131 Effective date: 20250708 |
|
| A521 | Request for written amendment filed |
Free format text: JAPANESE INTERMEDIATE CODE: A523 Effective date: 20250829 |
|
| TRDD | Decision of grant or rejection written | ||
| A01 | Written decision to grant a patent or to grant a registration (utility model) |
Free format text: JAPANESE INTERMEDIATE CODE: A01 Effective date: 20251028 |
|
| A61 | First payment of annual fees (during grant procedure) |
Free format text: JAPANESE INTERMEDIATE CODE: A61 Effective date: 20251114 |
|
| R150 | Certificate of patent or registration of utility model |
Ref document number: 7780227 Country of ref document: JP Free format text: JAPANESE INTERMEDIATE CODE: R150 |
