JP2020004889A - 基板の分断方法及び分断装置 - Google Patents
基板の分断方法及び分断装置 Download PDFInfo
- Publication number
- JP2020004889A JP2020004889A JP2018124058A JP2018124058A JP2020004889A JP 2020004889 A JP2020004889 A JP 2020004889A JP 2018124058 A JP2018124058 A JP 2018124058A JP 2018124058 A JP2018124058 A JP 2018124058A JP 2020004889 A JP2020004889 A JP 2020004889A
- Authority
- JP
- Japan
- Prior art keywords
- substrate
- laser
- processing
- scribe line
- chamfered portion
- Prior art date
- Legal status (The legal status is an assumption and is not a legal conclusion. Google has not performed a legal analysis and makes no representation as to the accuracy of the status listed.)
- Pending
Links
- 239000000758 substrate Substances 0.000 title claims abstract description 121
- 238000000034 method Methods 0.000 title claims abstract description 18
- 238000003672 processing method Methods 0.000 abstract 1
- 230000005540 biological transmission Effects 0.000 description 12
- 230000003287 optical effect Effects 0.000 description 12
- 238000010586 diagram Methods 0.000 description 6
- 230000015572 biosynthetic process Effects 0.000 description 4
- 239000004973 liquid crystal related substance Substances 0.000 description 4
- 230000003028 elevating effect Effects 0.000 description 3
- 239000011521 glass Substances 0.000 description 3
- 239000000463 material Substances 0.000 description 3
- 238000003825 pressing Methods 0.000 description 3
- 238000009751 slip forming Methods 0.000 description 3
- 239000012267 brine Substances 0.000 description 2
- 230000001678 irradiating effect Effects 0.000 description 2
- HPALAKNZSZLMCH-UHFFFAOYSA-M sodium;chloride;hydrate Chemical compound O.[Na+].[Cl-] HPALAKNZSZLMCH-UHFFFAOYSA-M 0.000 description 2
- 239000000919 ceramic Substances 0.000 description 1
- 238000004891 communication Methods 0.000 description 1
- 238000012986 modification Methods 0.000 description 1
- 230000004048 modification Effects 0.000 description 1
- 239000000565 sealant Substances 0.000 description 1
- 239000003566 sealing material Substances 0.000 description 1
- 239000004065 semiconductor Substances 0.000 description 1
- 238000001179 sorption measurement Methods 0.000 description 1
Images
Classifications
-
- C—CHEMISTRY; METALLURGY
- C03—GLASS; MINERAL OR SLAG WOOL
- C03B—MANUFACTURE, SHAPING, OR SUPPLEMENTARY PROCESSES
- C03B33/00—Severing cooled glass
- C03B33/02—Cutting or splitting sheet glass or ribbons; Apparatus or machines therefor
- C03B33/0222—Scoring using a focussed radiation beam, e.g. laser
-
- C—CHEMISTRY; METALLURGY
- C03—GLASS; MINERAL OR SLAG WOOL
- C03B—MANUFACTURE, SHAPING, OR SUPPLEMENTARY PROCESSES
- C03B33/00—Severing cooled glass
- C03B33/02—Cutting or splitting sheet glass or ribbons; Apparatus or machines therefor
- C03B33/023—Cutting or splitting sheet glass or ribbons; Apparatus or machines therefor the sheet or ribbon being in a horizontal position
- C03B33/033—Apparatus for opening score lines in glass sheets
-
- C—CHEMISTRY; METALLURGY
- C03—GLASS; MINERAL OR SLAG WOOL
- C03B—MANUFACTURE, SHAPING, OR SUPPLEMENTARY PROCESSES
- C03B33/00—Severing cooled glass
- C03B33/02—Cutting or splitting sheet glass or ribbons; Apparatus or machines therefor
- C03B33/023—Cutting or splitting sheet glass or ribbons; Apparatus or machines therefor the sheet or ribbon being in a horizontal position
-
- C—CHEMISTRY; METALLURGY
- C03—GLASS; MINERAL OR SLAG WOOL
- C03B—MANUFACTURE, SHAPING, OR SUPPLEMENTARY PROCESSES
- C03B33/00—Severing cooled glass
- C03B33/07—Cutting armoured, multi-layered, coated or laminated, glass products
-
- C—CHEMISTRY; METALLURGY
- C03—GLASS; MINERAL OR SLAG WOOL
- C03B—MANUFACTURE, SHAPING, OR SUPPLEMENTARY PROCESSES
- C03B33/00—Severing cooled glass
- C03B33/08—Severing cooled glass by fusing, i.e. by melting through the glass
- C03B33/082—Severing cooled glass by fusing, i.e. by melting through the glass using a focussed radiation beam, e.g. laser
-
- C—CHEMISTRY; METALLURGY
- C03—GLASS; MINERAL OR SLAG WOOL
- C03B—MANUFACTURE, SHAPING, OR SUPPLEMENTARY PROCESSES
- C03B33/00—Severing cooled glass
- C03B33/09—Severing cooled glass by thermal shock
- C03B33/091—Severing cooled glass by thermal shock using at least one focussed radiation beam, e.g. laser beam
Landscapes
- Chemical & Material Sciences (AREA)
- Organic Chemistry (AREA)
- Materials Engineering (AREA)
- Engineering & Computer Science (AREA)
- Physics & Mathematics (AREA)
- Toxicology (AREA)
- Optics & Photonics (AREA)
- Health & Medical Sciences (AREA)
- Thermal Sciences (AREA)
- Laser Beam Processing (AREA)
- Re-Forming, After-Treatment, Cutting And Transporting Of Glass Products (AREA)
- Processing Of Stones Or Stones Resemblance Materials (AREA)
- Dicing (AREA)
- Perforating, Stamping-Out Or Severing By Means Other Than Cutting (AREA)
Abstract
【課題】基板の加工方法において、少ない作業工程によって、基板の端面に面取りを形成する。【解決手段】基板の分断方法では、空間光位相変調を用いて、第1基板W1に対して外側面35から延びる面取り部41を含む複数の第1加工痕31を、平面方向に連続して形成することで第1スクライブラインS1を形成するレーザ光照射ステップが実行される。次に、第1基板W1に力を加えることで、第1スクライブラインS1に沿って第1基板W1を分断する分断ステップが実行される。【選択図】図3
Description
本発明は、基板の分断方法及び分断装置に関する。
ガラス基板をスクライブ加工する方法として、レーザ加工が知られている。レーザ加工では、例えば、赤外線ピコ秒レーザが用いられている。この場合、レーザがパルスによる内部加工を平面方向に断続的に行って複数のレーザフィラメントを形成することで、スクライブラインを形成する方法が知られている(例えば、特許文献1を参照)。
特許文献1に示す技術では、収束レーザビームは、基板内にフィラメントを作り出すように選択されたエネルギー及びパルス持続時間を有するパルスで構成される。そして、複数のフィラメントによって、スクライブラインが形成される。
特許文献1に示す技術では、収束レーザビームは、基板内にフィラメントを作り出すように選択されたエネルギー及びパルス持続時間を有するパルスで構成される。そして、複数のフィラメントによって、スクライブラインが形成される。
従来、基板を分断した後に、基板の端面において角部を取り去る面取り加工が行われている。
しかし、基板の分断後に面取り加工を行うと、基板の分断と面取り加工の両方が必要になるので、作業工程が増加する。
しかし、基板の分断後に面取り加工を行うと、基板の分断と面取り加工の両方が必要になるので、作業工程が増加する。
本発明の目的は、基板の加工方法において、少ない作業工程によって、基板の端面に面取りを形成することにある。
以下に、課題を解決するための手段として複数の態様を説明する。これら態様は、必要に応じて任意に組み合せることができる。
本発明の一見地に係る基板の分断方法は、下記のステップを備えている。
◎空間光位相変調を用いて、基板に対して外側面から延びる面取り部を含む複数の加工痕を、平面方向に連続して形成することでスクライブラインを形成するレーザ光照射ステップ
◎基板に力を加えることで、スクライブラインに沿って基板を分断する分断ステップ
この分断方法では、基板が分断されると、残った基板の端面には面取り部が形成されている。したがって、少ない作業工程によって、基板の端面に面取りを形成できる。
なお、面取り部とは、例えば、C面(隅切り、コーナーカット)、R面、逆R面、エグリ、切り欠き等が形成された部分である。
◎空間光位相変調を用いて、基板に対して外側面から延びる面取り部を含む複数の加工痕を、平面方向に連続して形成することでスクライブラインを形成するレーザ光照射ステップ
◎基板に力を加えることで、スクライブラインに沿って基板を分断する分断ステップ
この分断方法では、基板が分断されると、残った基板の端面には面取り部が形成されている。したがって、少ない作業工程によって、基板の端面に面取りを形成できる。
なお、面取り部とは、例えば、C面(隅切り、コーナーカット)、R面、逆R面、エグリ、切り欠き等が形成された部分である。
レーザ光照射ステップは、下記のステップを有していてもよい。
◎複数の加工痕を、面取り部が作成される位置において平面方向に間隔を空けて形成する第1ステップ
◎複数の加工痕を、面取り部が作成される位置において、先に形成された複数の加工痕の平面方向間に形成する第2ステップ
◎複数の加工痕を、面取り部が作成される位置において平面方向に間隔を空けて形成する第1ステップ
◎複数の加工痕を、面取り部が作成される位置において、先に形成された複数の加工痕の平面方向間に形成する第2ステップ
第1ステップでは、加工痕同士の間隔は、独立した加工痕同士の間に形成されてもよいし、複数の加工痕の集まり同士の間に形成されてもよい。
この分断方法では、複数の加工痕を少なくとも2回に分けて形成することで面取り部を形成しているので、レーザ光照射パルスの強度を低くしても、加工痕を連続して形成することで面取り部を加工できる。そのため、面取り部において加工痕が例えば上下方向に極端に長くなることがなく、したがって面取り部の形状が滑らかになる。
この分断方法では、複数の加工痕を少なくとも2回に分けて形成することで面取り部を形成しているので、レーザ光照射パルスの強度を低くしても、加工痕を連続して形成することで面取り部を加工できる。そのため、面取り部において加工痕が例えば上下方向に極端に長くなることがなく、したがって面取り部の形状が滑らかになる。
本発明の他の見地に係る基板の分断装置は、レーザ装置と、基板分断装置と、を備えている。
レーザ装置は、空間光位相変調を用いて、基板に対して外側面から延びる面取り部を含む複数の加工痕を、平面方向に連続して形成することでスクライブラインを形成するレーザ光照射ステップを実行する。
基板分断装置は、基板に力を加えることで、スクライブラインに沿って基板を分断する分断ステップを実行する。
この分断装置では、基板が分断されると、残った基板の端面には面取り部が形成されている。したがって、少ない作業工程によって、基板の端面に面取りを形成できる。
レーザ装置は、空間光位相変調を用いて、基板に対して外側面から延びる面取り部を含む複数の加工痕を、平面方向に連続して形成することでスクライブラインを形成するレーザ光照射ステップを実行する。
基板分断装置は、基板に力を加えることで、スクライブラインに沿って基板を分断する分断ステップを実行する。
この分断装置では、基板が分断されると、残った基板の端面には面取り部が形成されている。したがって、少ない作業工程によって、基板の端面に面取りを形成できる。
本発明に係る基板の分断方法及び分断装置では、少ない作業工程によって、基板の端面に面取りを形成できる。
1.第1実施形態
(1)全体構成
図1及び図2を用いて、レーザ加工装置1の全体構成を説明する。図1は、第1実施形態のレーザ加工装置の模式図である。図2は、空間光位相変調器の模式的動作説明図である。
(1)全体構成
図1及び図2を用いて、レーザ加工装置1の全体構成を説明する。図1は、第1実施形態のレーザ加工装置の模式図である。図2は、空間光位相変調器の模式的動作説明図である。
レーザ加工装置1は、貼り合わせ基板W(以下、「基板W」)にスクライブラインを形成する装置である。基板Wは、第1基板W1と、第2基板W2とを有している。基板Wは、例えば、液晶ガラス基板である。
図2に示すように、第1基板W1と第2基板W2は、シール材40によって貼り合わされている。第1基板W1は外側面35と内側面36を有している。第2基板W2は外側面37と内側面38とを有している。内側面36と内側面38の間にシール材40が配置されている。
図2に示すように、第1基板W1と第2基板W2は、シール材40によって貼り合わされている。第1基板W1は外側面35と内側面36を有している。第2基板W2は外側面37と内側面38とを有している。内側面36と内側面38の間にシール材40が配置されている。
レーザ加工装置1は、第1レーザ装置3Aを有している。第1レーザ装置3Aは、第1基板W1に第1スクライブラインS1(図3)を形成する装置である。
第1レーザ装置3Aは、第1レーザ発振器15Aと、第1レーザ制御部17Aとを有している。第1レーザ発振器15Aは、例えば、波長340〜1100nmのピコ秒レーザである。第1レーザ制御部17Aは、第1レーザ発振器15Aの駆動及びレーザパワーを制御できる。
レーザ加工装置1は、第1伝送光学系5Aを有している。第1伝送光学系5Aは、第1レーザ装置3Aから出射されたレーザ光を変調する第1空間光位相変調器21Aを有している。第1空間光位相変調器21Aは、例えば透過型であり、透過型の空間光移送変調器(SLM:Spatial Light Modulator)であってもよい。また透過型の空間光移送変調器に代えて反射型液晶(LCOS:Liquid Crystal on Silicon)の空間光位相変調器などの反射型の空間光移送変調器を使用してもよい。第1空間光位相変調器21Aは、レーザ光を変調すると共に、下方に第1レーザL1を照射する。第1伝送光学系5Aは、第1空間光位相変調器21Aの下方に、第1集光レンズ23Aを有している。
レーザ加工装置1は、第1伝送光学系5Aを有している。第1伝送光学系5Aは、第1レーザ装置3Aから出射されたレーザ光を変調する第1空間光位相変調器21Aを有している。第1空間光位相変調器21Aは、例えば透過型であり、透過型の空間光移送変調器(SLM:Spatial Light Modulator)であってもよい。また透過型の空間光移送変調器に代えて反射型液晶(LCOS:Liquid Crystal on Silicon)の空間光位相変調器などの反射型の空間光移送変調器を使用してもよい。第1空間光位相変調器21Aは、レーザ光を変調すると共に、下方に第1レーザL1を照射する。第1伝送光学系5Aは、第1空間光位相変調器21Aの下方に、第1集光レンズ23Aを有している。
レーザ加工装置1は、第2レーザ装置3Bを備えている。第2レーザ装置3Bは、第2基板W2に第2スクライブラインS2(図3)を形成する装置である。
第2レーザ装置3Bは、第2レーザ発振器15Bと、第2レーザ制御部17Bとを有している。第2レーザ発振器15Bは、例えば、波長340〜1100nmのピコ秒レーザである。第2レーザ制御部17Bは第2レーザ発振器15Bの駆動及びレーザパワーを制御できる。
レーザ加工装置1は、第2伝送光学系5Bを有している。第2伝送光学系5Bは、第2レーザ装置3Bから出射されたレーザ光を変調する第2空間光位相変調器21Bを有している。第2空間光位相変調器21Bは、第1空間光位相変調器21Aと同じく、SLMであってもよい。第2空間光位相変調器21Bは、レーザ光を変調すると共に、上方に第2レーザ光L2を照射する。第2伝送光学系5Bは、第2空間光位相変調器21Bの上方に、第2集光レンズ23Bを有している。
第2レーザ装置3Bは、第2レーザ発振器15Bと、第2レーザ制御部17Bとを有している。第2レーザ発振器15Bは、例えば、波長340〜1100nmのピコ秒レーザである。第2レーザ制御部17Bは第2レーザ発振器15Bの駆動及びレーザパワーを制御できる。
レーザ加工装置1は、第2伝送光学系5Bを有している。第2伝送光学系5Bは、第2レーザ装置3Bから出射されたレーザ光を変調する第2空間光位相変調器21Bを有している。第2空間光位相変調器21Bは、第1空間光位相変調器21Aと同じく、SLMであってもよい。第2空間光位相変調器21Bは、レーザ光を変調すると共に、上方に第2レーザ光L2を照射する。第2伝送光学系5Bは、第2空間光位相変調器21Bの上方に、第2集光レンズ23Bを有している。
レーザ加工装置1は、駆動部25を有している。駆動部25は、第1空間光位相変調器21A及び第2空間光位相変調器21Bにおける各画素電極に所定電圧を印加し、液晶層に所定の変調パターンを表示させ、これにより、レーザ光を第1空間光位相変調器21A及び第2空間光位相変調器21Bで所望に変調させる。ここで、液晶層に表示される変調パターンは、例えば、加工痕を形成しようとする位置、照射するレーザ光の波長、加工対象物の材料、及び第1伝送光学系5A及び第2伝送光学系5Bや加工対象物の屈折率等に基づいて予め導出され、制御部9に記憶されている。
この結果、図2に示すように、第1空間光位相変調器21A及び第2空間光位相変調器21Bは、任意の多数のビームを形成することができ、多数のビームによる同時加工が可能になる。
この結果、図2に示すように、第1空間光位相変調器21A及び第2空間光位相変調器21Bは、任意の多数のビームを形成することができ、多数のビームによる同時加工が可能になる。
レーザ加工装置1は、基板Wを保持して駆動する駆動装置7を有している。駆動装置7は、駆動装置操作部13によって移動される。駆動装置操作部13は、駆動装置7を水平方向に移動させる。
レーザ加工装置1は、制御部9を備えている。制御部9は、プロセッサ(例えば、CPU)と、記憶装置(例えば、ROM、RAM、HDD、SSDなど)と、各種インターフェース(例えば、A/Dコンバータ、D/Aコンバータ、通信インターフェースなど)を有するコンピュータシステムである。制御部9は、記憶部(記憶装置の記憶領域の一部又は全部に対応)に保存されたプログラムを実行することで、各種制御動作を行う。
制御部9は、単一のプロセッサで構成されていてもよいが、各制御のために独立した複数のプロセッサから構成されていてもよい。
制御部9は、単一のプロセッサで構成されていてもよいが、各制御のために独立した複数のプロセッサから構成されていてもよい。
制御部9は、第1レーザ制御部17A及び第2レーザ制御部17Bを制御できる。制御部9は、駆動部25を制御できる。制御部9は、駆動装置操作部13を制御できる。
制御部9には、図示しないが、基板Wの大きさ、形状及び位置を検出するセンサ、各装置の状態を検出するためのセンサ及びスイッチ、並びに情報入力装置が接続されている。
制御部9には、図示しないが、基板Wの大きさ、形状及び位置を検出するセンサ、各装置の状態を検出するためのセンサ及びスイッチ、並びに情報入力装置が接続されている。
(2)スクライブ加工方法
図3を用いて、レーザ加工装置1によるスクライブ加工方法を説明する。図3は、スクライブライン形成工程における基板の模式的断面である。
図3を用いて、レーザ加工装置1によるスクライブ加工方法を説明する。図3は、スクライブライン形成工程における基板の模式的断面である。
(2−1)第1レーザ光照射ステップ
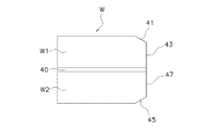
第1基板W1側から第1レーザ光L1を照射することで、第1スクライブラインS1を形成する。具体的には、第1基板W1内部に光軸に沿って形成された複数の第1加工痕31が、平面方向に(紙面直交方向に)連続して形成される。第1加工痕31の厚み方向の形成位置は、第1基板W1の外側面35と内側面36との間である。
第1基板W1側から第1レーザ光L1を照射することで、第1スクライブラインS1を形成する。具体的には、第1基板W1内部に光軸に沿って形成された複数の第1加工痕31が、平面方向に(紙面直交方向に)連続して形成される。第1加工痕31の厚み方向の形成位置は、第1基板W1の外側面35と内側面36との間である。
第1スクライブラインS1の第1加工痕31は、第1基板W1に対して外側面35から延びる面取り部41を有する。第1加工痕31は、さらに、面取り部41から内側面36に向かって延びる直線部43を有する。面取り部41は、断面直線状であり、他面の外側面35側の角を落とす形状である。
この実施形態では、第1スクライブラインのS1の平面視の1箇所では、複数の第1加工痕31は厚み方向に同時に形成される。
なお、第1加工痕31のうち面取り部41を構成するものは、直線部43を構成するものに比べて、基板Wの厚さ方向の長さが短い。なぜなら、面取り部41の集光点は、直線部43の集光点よりも集光のNAが大きくなるようにしているからである。この結果、直線部43には基板Wの厚さ方向に長い第1加工痕31が形成され、面取り部41には基板Wの厚さ方向に短い第1加工痕31が形成される。
この実施形態では、第1スクライブラインのS1の平面視の1箇所では、複数の第1加工痕31は厚み方向に同時に形成される。
なお、第1加工痕31のうち面取り部41を構成するものは、直線部43を構成するものに比べて、基板Wの厚さ方向の長さが短い。なぜなら、面取り部41の集光点は、直線部43の集光点よりも集光のNAが大きくなるようにしているからである。この結果、直線部43には基板Wの厚さ方向に長い第1加工痕31が形成され、面取り部41には基板Wの厚さ方向に短い第1加工痕31が形成される。
(2−2)第2レーザ光照射ステップ
第2基板W2側から第2レーザ光L2を照射することで、第2スクライブラインS2を形成する。具体的には、第2基板W2内部に光軸に沿って形成された複数の第2加工痕33が、第1加工痕31に沿って平面方向に(紙面直交方向に)連続して形成される。
第2基板W2側から第2レーザ光L2を照射することで、第2スクライブラインS2を形成する。具体的には、第2基板W2内部に光軸に沿って形成された複数の第2加工痕33が、第1加工痕31に沿って平面方向に(紙面直交方向に)連続して形成される。
第2加工痕33の厚み方向の形成位置は、第2基板W2の内側面38と外側面37との間である。
第2スクライブラインS2の第2加工痕33は、第2基板W2に対して外側面37から延びる面取り部45を有する。第2加工痕33は、さらに、面取り部45から内側面38に向かって延びる直線部47を有する。面取り部45は、断面直線状であり、端面の外側面37側の角を落とす形状である。
この実施形態では、第2スクライブラインのS2の平面視の1箇所では、複数の第2加工痕33は厚み方向に同時に形成される。
なお、第2加工痕33のうち面取り部45を構成するものは、直線部47を構成するものに比べて、基板Wの厚さ方向の長さが短い。なぜなら、面取り部45の集光点は、直線部47の集光点よりも集光のNAが大きくなるようにしているからである。この結果、直線部47には基板Wの厚さ方向に長い第2加工痕33が形成され、面取り部41には基板Wの厚さ方向に短い第2加工痕33が形成される。
第2スクライブラインS2の第2加工痕33は、第2基板W2に対して外側面37から延びる面取り部45を有する。第2加工痕33は、さらに、面取り部45から内側面38に向かって延びる直線部47を有する。面取り部45は、断面直線状であり、端面の外側面37側の角を落とす形状である。
この実施形態では、第2スクライブラインのS2の平面視の1箇所では、複数の第2加工痕33は厚み方向に同時に形成される。
なお、第2加工痕33のうち面取り部45を構成するものは、直線部47を構成するものに比べて、基板Wの厚さ方向の長さが短い。なぜなら、面取り部45の集光点は、直線部47の集光点よりも集光のNAが大きくなるようにしているからである。この結果、直線部47には基板Wの厚さ方向に長い第2加工痕33が形成され、面取り部41には基板Wの厚さ方向に短い第2加工痕33が形成される。
(3)基板分断装置
図4〜図6を用いて、基板分断装置201を説明する。図4及び図5は、基板分断装置の構成及び動作を説明する模式図である。図6は、分断後の基板の模式的断面図である。なお、基板分断装置201は、レーザ加工装置1の制御部9によって制御されてもよいし、他の制御部によって制御されてもよい。
基板分断装置201は、スクライブラインが形成された基板から端材を分割除去することで製品を切り出す装置である。
図4〜図6を用いて、基板分断装置201を説明する。図4及び図5は、基板分断装置の構成及び動作を説明する模式図である。図6は、分断後の基板の模式的断面図である。なお、基板分断装置201は、レーザ加工装置1の制御部9によって制御されてもよいし、他の制御部によって制御されてもよい。
基板分断装置201は、スクライブラインが形成された基板から端材を分割除去することで製品を切り出す装置である。
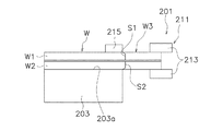
基板分断装置201は、保持テーブル203を有している。保持テーブル203は、水平な吸着面203aを有しており、そこには加工対象となる基板Wが載置される。保持テーブル203の吸着面203aには、基板Wを安定保持する多数のエア吸着孔(図示せず)が設けられている。
保持テーブル203は、特に、基板Wの製品部分を吸着固定する吸着台である。第2スクライブラインS2が保持テーブル203の縁部に一致するように、基板Wは保持テーブル203に置かれる。
保持テーブル203は、特に、基板Wの製品部分を吸着固定する吸着台である。第2スクライブラインS2が保持テーブル203の縁部に一致するように、基板Wは保持テーブル203に置かれる。
基板分断装置201は、チャック機構211を有している。チャック機構211は、保持テーブル203の吸着面203aからはみ出した基板Wの一端である端材W3を掴むように把持する装置である。
チャック機構211は、チャック部材213を有している。チャック部材213は、開閉自在に構成されている。
チャック機構211は、チャック部材213を駆動するための把持動作機構(図示せず)を有している。
基板分断装置201は、基板Wの製品部分(第1及び第2スクライブラインS1、S2を挟んで端材W3と反対側の部分)を上側から押さえて固定するための押圧機構215をさらに有している。
チャック機構211は、チャック部材213を有している。チャック部材213は、開閉自在に構成されている。
チャック機構211は、チャック部材213を駆動するための把持動作機構(図示せず)を有している。
基板分断装置201は、基板Wの製品部分(第1及び第2スクライブラインS1、S2を挟んで端材W3と反対側の部分)を上側から押さえて固定するための押圧機構215をさらに有している。
基板分断装置201は、回動機構(図示せず)を有している。回動機構は、チャック部材213が紙面直交方向に延びる軸を支点として所定角度だけ回動できるように、チャック部材213を保持している。回動機構は、例えば、回転モータを有している。
基板分断装置201は、昇降機構(図示せず)を有している。昇降機構は、チャック部材213及び回動機構を昇降させるための装置である。昇降機構は、例えば、圧力シリンダを有している。
基板分断装置201は、昇降機構(図示せず)を有している。昇降機構は、チャック部材213及び回動機構を昇降させるための装置である。昇降機構は、例えば、圧力シリンダを有している。
基板分断装置201は、図4に示すように、チャック部材213によって端材W3を把持する。
次に、基板分断装置201は、図5に示すように、チャック部材213を昇降して傾けることで、端材W3を製品から切り離す。このとき、押圧機構215は、基板Wの製品部分を保持テーブル203との間で挟むことで、その部分を保持テーブル203から浮かないようにしている。
なお、チャック部材213は、一方向に傾けた後に、逆方向に傾けてもよい。これにより、分断がより確実に行われる。
この結果、第1基板W1の第1スクライブラインS1と第2基板W2の第2スクライブラインS2に沿って、分断が行われる。
次に、基板分断装置201は、図5に示すように、チャック部材213を昇降して傾けることで、端材W3を製品から切り離す。このとき、押圧機構215は、基板Wの製品部分を保持テーブル203との間で挟むことで、その部分を保持テーブル203から浮かないようにしている。
なお、チャック部材213は、一方向に傾けた後に、逆方向に傾けてもよい。これにより、分断がより確実に行われる。
この結果、第1基板W1の第1スクライブラインS1と第2基板W2の第2スクライブラインS2に沿って、分断が行われる。
この結果、図6に示すように、基板Wが分断されると、残った基板Wの端面には面取り部41、45が形成されている。つまり、分断と共に面取りが実現される。したがって、少ない作業工程によって、基板Wの端面に面取り部41、45を形成できる。
2.第2実施形態
第1実施形態では、複数の加工痕は平面視の1箇所において基板の厚み方向に同時に形成されていたが、複数回に分けて加工痕を形成してもよい。図7及び図8を用いて、そのような実施形態を説明する。図7及び図8は、第2実施形態のスクライブライン形成工程における基板の模式的断面である。
第1実施形態では、複数の加工痕は平面視の1箇所において基板の厚み方向に同時に形成されていたが、複数回に分けて加工痕を形成してもよい。図7及び図8を用いて、そのような実施形態を説明する。図7及び図8は、第2実施形態のスクライブライン形成工程における基板の模式的断面である。
以下、第1基板の第1スクライブラインS1の形成を説明する。
最初に、図7に示すように、直線部作成位置43Aに第1加工痕31が形成される。このとき、同時に、面取り部作成位置41Aにおいて例えば最終的な第1加工痕31に対して一つおきに第1加工痕31が形成される。つまり、複数の第1加工痕31が、面取り部作成位置41Aにおいて平面方向に間隔を空けて形成される。
次に、図8に示すように、複数の第1加工痕31が、面取り部作成位置41Aにおいて、先に形成された複数の第1加工痕31の平面方向間に形成される。具体的には、1つずつ独立して形成された第1加工痕31の間に、1つの第1加工痕31が形成される。
最初に、図7に示すように、直線部作成位置43Aに第1加工痕31が形成される。このとき、同時に、面取り部作成位置41Aにおいて例えば最終的な第1加工痕31に対して一つおきに第1加工痕31が形成される。つまり、複数の第1加工痕31が、面取り部作成位置41Aにおいて平面方向に間隔を空けて形成される。
次に、図8に示すように、複数の第1加工痕31が、面取り部作成位置41Aにおいて、先に形成された複数の第1加工痕31の平面方向間に形成される。具体的には、1つずつ独立して形成された第1加工痕31の間に、1つの第1加工痕31が形成される。
この実施形態では、複数の第1加工痕31を少なくとも2回に分けて形成することで面取り部41を形成しているので、レーザ光照射パルスの強度を低くしても、第1加工痕31を連続して形成することで面取り部41を加工できる。そのため、面取り部41において第1加工痕31が例えば上下方向に極端に長くなることがなく、したがって面取り部41の形状が滑らかになる。
なお、前記実施形態では面取り部作成位置41Aにおける第1ステップでは第1加工痕31は1つずつ独立して形成されていたが、複数の第1加工痕31同士が連続して形成されたグループが複数形成されてもよい。
なお、前記実施形態では面取り部作成位置41Aにおける第1ステップでは第1加工痕31は1つずつ独立して形成されていたが、複数の第1加工痕31同士が連続して形成されたグループが複数形成されてもよい。
3.第3実施形態
第1実施形態及び第2実施形態では面取り部はC面であったが、他の形状であってもよい。図9を用いて、そのような実施形態を説明する。図9は、第3実施形態のスクライブブライン形成工程における基板の模式的断面である。
図9に示すように、R面の面取り部にも第1実施形態及び第2実施形態のレーザ光照射によるスクライブライン形成を適用できる。
第1実施形態及び第2実施形態では面取り部はC面であったが、他の形状であってもよい。図9を用いて、そのような実施形態を説明する。図9は、第3実施形態のスクライブブライン形成工程における基板の模式的断面である。
図9に示すように、R面の面取り部にも第1実施形態及び第2実施形態のレーザ光照射によるスクライブライン形成を適用できる。
4.他の実施形態
以上、本発明の複数の実施形態について説明したが、本発明は上記実施形態に限定されるものではなく、発明の要旨を逸脱しない範囲で種々の変更が可能である。特に、本明細書に書かれた複数の実施形態及び変形例は必要に応じて任意に組み合せ可能である。
基板は、ガラス、半導体ウェハ、セラミックス等の脆性材料基板であればよく、特に限定されない。
貼り合わせ基板以外の基板にも本発明を適用できる。
前記実施形態では基板分断装置は基板の端材を除去する装置であったが、他の基板分断装置であってもよい。
以上、本発明の複数の実施形態について説明したが、本発明は上記実施形態に限定されるものではなく、発明の要旨を逸脱しない範囲で種々の変更が可能である。特に、本明細書に書かれた複数の実施形態及び変形例は必要に応じて任意に組み合せ可能である。
基板は、ガラス、半導体ウェハ、セラミックス等の脆性材料基板であればよく、特に限定されない。
貼り合わせ基板以外の基板にも本発明を適用できる。
前記実施形態では基板分断装置は基板の端材を除去する装置であったが、他の基板分断装置であってもよい。
本発明は、レーザ装置を用いたパルスによる基板の内部加工を平面方向に断続的に行うことでスクライブラインを形成する方法及び装置に広く適用できる。
1 :レーザ加工装置
3A :第1レーザ装置
3B :第2レーザ装置
5A :第1伝送光学系
5B :第2伝送光学系
7 :駆動装置
9 :制御部
11 :チャック機構
13 :駆動装置操作部
15A :第1レーザ発振器
15B :第2レーザ発振器
17A :第1レーザ制御部
17B :第2レーザ制御部
21A :第1空間光位相変調器
21B :第2空間光位相変調器
23A :第1集光レンズ
23B :第2集光レンズ
25 :駆動部
31 :第1加工痕
33 :第2加工痕
35 :外側面
36 :内側面
37 :外側面
38 :内側面
40 :シール材
41 :面取り部
41A :面取り部作成位置
43 :直線部
43A :直線部作成位置
45 :面取り部
47 :直線部
S1 :第1スクライブライン
S2 :第2スクライブライン
W :貼り合わせ基板
W1 :第1基板
W2 :第2基板
W3 :端材
3A :第1レーザ装置
3B :第2レーザ装置
5A :第1伝送光学系
5B :第2伝送光学系
7 :駆動装置
9 :制御部
11 :チャック機構
13 :駆動装置操作部
15A :第1レーザ発振器
15B :第2レーザ発振器
17A :第1レーザ制御部
17B :第2レーザ制御部
21A :第1空間光位相変調器
21B :第2空間光位相変調器
23A :第1集光レンズ
23B :第2集光レンズ
25 :駆動部
31 :第1加工痕
33 :第2加工痕
35 :外側面
36 :内側面
37 :外側面
38 :内側面
40 :シール材
41 :面取り部
41A :面取り部作成位置
43 :直線部
43A :直線部作成位置
45 :面取り部
47 :直線部
S1 :第1スクライブライン
S2 :第2スクライブライン
W :貼り合わせ基板
W1 :第1基板
W2 :第2基板
W3 :端材
Claims (3)
- 基板の分断方法であって、
空間光位相変調を用いて、基板に対して外側面から延びる面取り部を含む複数の加工痕を、平面方向に連続して形成することでスクライブラインを形成するレーザ光照射ステップと、
前記基板に力を加えることで、前記スクライブラインに沿って前記基板を分断する分断ステップと、
を備えた基板の分断方法。 - 前記レーザ光照射ステップは、
前記複数の加工痕を、前記面取り部が作成される位置において平面方向に間隔を空けて形成する第1ステップと、
前記複数の加工痕を、前記面取り部が作成される位置において先に形成された複数の加工痕の平面方向間に形成する第2ステップと、を有する、請求項1に記載の基板の分断方法。 - 基板の分断装置であって、
空間光位相変調を用いて、基板に対して外側面から延びる面取り部を含む複数の加工痕を、平面方向に連続して形成することでスクライブラインを形成するレーザ光照射ステップを実行するレーザ装置と、
前記基板に力を加えることで、前記スクライブラインに沿って前記基板を分断する分断ステップを実行する基板分断装置と、
を備えた基板の分断装置。
Priority Applications (4)
| Application Number | Priority Date | Filing Date | Title |
|---|---|---|---|
| JP2018124058A JP2020004889A (ja) | 2018-06-29 | 2018-06-29 | 基板の分断方法及び分断装置 |
| KR1020190075717A KR20200002634A (ko) | 2018-06-29 | 2019-06-25 | 기판의 분단 방법 및 분단 장치 |
| CN201910567292.XA CN110655316A (zh) | 2018-06-29 | 2019-06-27 | 基板的分割方法及分割装置 |
| TW108122486A TW202015114A (zh) | 2018-06-29 | 2019-06-27 | 基板之分斷方法及分斷裝置 |
Applications Claiming Priority (1)
| Application Number | Priority Date | Filing Date | Title |
|---|---|---|---|
| JP2018124058A JP2020004889A (ja) | 2018-06-29 | 2018-06-29 | 基板の分断方法及び分断装置 |
Publications (1)
| Publication Number | Publication Date |
|---|---|
| JP2020004889A true JP2020004889A (ja) | 2020-01-09 |
Family
ID=69028648
Family Applications (1)
| Application Number | Title | Priority Date | Filing Date |
|---|---|---|---|
| JP2018124058A Pending JP2020004889A (ja) | 2018-06-29 | 2018-06-29 | 基板の分断方法及び分断装置 |
Country Status (4)
| Country | Link |
|---|---|
| JP (1) | JP2020004889A (ja) |
| KR (1) | KR20200002634A (ja) |
| CN (1) | CN110655316A (ja) |
| TW (1) | TW202015114A (ja) |
Cited By (11)
| Publication number | Priority date | Publication date | Assignee | Title |
|---|---|---|---|---|
| US20220193821A1 (en) * | 2020-12-21 | 2022-06-23 | Seagate Technology Llc | Structured discrete beam formation for cutting transparent substrates |
| CN115026412A (zh) * | 2021-02-25 | 2022-09-09 | 深圳市大族半导体装备科技有限公司 | 一种用于脆性产品的激光加工装置及方法 |
| WO2023012210A1 (de) | 2021-08-04 | 2023-02-09 | Trumpf Laser- Und Systemtechnik Gmbh | Verfahren und vorrichtung zur laserbearbeitung eines werkstücks |
| DE102021123962A1 (de) | 2021-09-16 | 2023-03-16 | Trumpf Laser- Und Systemtechnik Gmbh | Verfahren und Vorrichtung zur Laserbearbeitung eines Werkstücks |
| WO2023088912A1 (de) | 2021-11-18 | 2023-05-25 | Trumpf Laser- Und Systemtechnik Gmbh | Verfahren zur laserbearbeitung eines werkstücks |
| CN116867598A (zh) * | 2021-02-02 | 2023-10-10 | 通快激光与系统工程有限公司 | 用于激光加工工件的设备和方法 |
| WO2023209034A1 (de) | 2022-04-28 | 2023-11-02 | Trumpf Laser- Und Systemtechnik Gmbh | Verfahren zur trennung eines werkstücks |
| JP2024504842A (ja) * | 2021-02-02 | 2024-02-01 | トルンプフ レーザー- ウント ジュステームテヒニク ゲゼルシャフト ミット ベシュレンクテル ハフツング | ワークピースをレーザ加工するための装置及び方法 |
| JP2024516808A (ja) * | 2021-04-23 | 2024-04-17 | ショット アクチエンゲゼルシャフト | レーザービームの線状焦点を用いて基板内に導入されるエネルギー分布を制御するための方法および基板 |
| DE102022130022A1 (de) | 2022-11-14 | 2024-05-16 | Trumpf Laser Gmbh | Verfahren und Vorrichtung zur Laserbearbeitung eines Werkstücks |
| DE102022131536A1 (de) | 2022-11-29 | 2024-05-29 | Trumpf Laser- Und Systemtechnik Gmbh | Verfahren und Lasersystem zum Trennen eines Werkstücks |
Citations (3)
| Publication number | Priority date | Publication date | Assignee | Title |
|---|---|---|---|---|
| WO2011065373A1 (ja) * | 2009-11-25 | 2011-06-03 | 浜松ホトニクス株式会社 | レーザ加工方法 |
| JP2013089714A (ja) * | 2011-10-17 | 2013-05-13 | Disco Abrasive Syst Ltd | チップ形成方法 |
| JP2015226012A (ja) * | 2014-05-29 | 2015-12-14 | 浜松ホトニクス株式会社 | レーザ加工装置及びレーザ加工方法 |
Family Cites Families (9)
| Publication number | Priority date | Publication date | Assignee | Title |
|---|---|---|---|---|
| EP2199007A4 (en) * | 2007-10-16 | 2011-02-09 | Mitsuboshi Diamond Ind Co Ltd | METHOD OF MACHINING A U-SHAPED GROOVE OF A FRAGILE MATERIAL SUBSTRATE, REMOVAL METHOD, DRILLING METHOD, AND CHAMFREINING METHOD USING THE SAME |
| JP5102846B2 (ja) * | 2007-12-19 | 2012-12-19 | 三星ダイヤモンド工業株式会社 | 脆性材料基板の面取り加工方法および面取り加工装置 |
| MY184075A (en) | 2010-07-12 | 2021-03-17 | Rofin Sinar Tech Inc | Method of material processing by laser filamentation |
| JP5758116B2 (ja) * | 2010-12-16 | 2015-08-05 | 株式会社ディスコ | 分割方法 |
| TWI457191B (zh) * | 2011-02-04 | 2014-10-21 | Mitsuboshi Diamond Ind Co Ltd | 雷射切割方法及雷射加工裝置 |
| JP5536713B2 (ja) * | 2011-05-19 | 2014-07-02 | 三星ダイヤモンド工業株式会社 | 脆性材料基板の加工方法 |
| KR101854676B1 (ko) * | 2012-10-29 | 2018-06-20 | 미쓰보시 다이야몬도 고교 가부시키가이샤 | 레이저 가공 장치 및, 패턴이 있는 기판의 가공 조건 설정 방법 |
| DE112014001688B4 (de) * | 2013-03-27 | 2024-06-06 | Hamamatsu Photonics K.K. | Laserbearbeitungsvorrichtung und Laserbearbeitungsverfahren |
| JP6324719B2 (ja) * | 2013-12-27 | 2018-05-16 | 三星ダイヤモンド工業株式会社 | ガラス基板の面取り方法及びレーザ加工装置 |
-
2018
- 2018-06-29 JP JP2018124058A patent/JP2020004889A/ja active Pending
-
2019
- 2019-06-25 KR KR1020190075717A patent/KR20200002634A/ko not_active Withdrawn
- 2019-06-27 CN CN201910567292.XA patent/CN110655316A/zh not_active Withdrawn
- 2019-06-27 TW TW108122486A patent/TW202015114A/zh unknown
Patent Citations (3)
| Publication number | Priority date | Publication date | Assignee | Title |
|---|---|---|---|---|
| WO2011065373A1 (ja) * | 2009-11-25 | 2011-06-03 | 浜松ホトニクス株式会社 | レーザ加工方法 |
| JP2013089714A (ja) * | 2011-10-17 | 2013-05-13 | Disco Abrasive Syst Ltd | チップ形成方法 |
| JP2015226012A (ja) * | 2014-05-29 | 2015-12-14 | 浜松ホトニクス株式会社 | レーザ加工装置及びレーザ加工方法 |
Cited By (21)
| Publication number | Priority date | Publication date | Assignee | Title |
|---|---|---|---|---|
| US20220193821A1 (en) * | 2020-12-21 | 2022-06-23 | Seagate Technology Llc | Structured discrete beam formation for cutting transparent substrates |
| CN116867598A (zh) * | 2021-02-02 | 2023-10-10 | 通快激光与系统工程有限公司 | 用于激光加工工件的设备和方法 |
| JP2024504842A (ja) * | 2021-02-02 | 2024-02-01 | トルンプフ レーザー- ウント ジュステームテヒニク ゲゼルシャフト ミット ベシュレンクテル ハフツング | ワークピースをレーザ加工するための装置及び方法 |
| CN115026412A (zh) * | 2021-02-25 | 2022-09-09 | 深圳市大族半导体装备科技有限公司 | 一种用于脆性产品的激光加工装置及方法 |
| JP7700265B2 (ja) | 2021-04-23 | 2025-06-30 | ショット アクチエンゲゼルシャフト | レーザービームの線状焦点を用いて基板内に導入されるエネルギー分布を制御するための方法および基板 |
| JP2024516808A (ja) * | 2021-04-23 | 2024-04-17 | ショット アクチエンゲゼルシャフト | レーザービームの線状焦点を用いて基板内に導入されるエネルギー分布を制御するための方法および基板 |
| KR102881195B1 (ko) | 2021-08-04 | 2025-11-04 | 트룸프 레이저-운트 시스템테크닉 게엠베하 | 공작물의 레이저 가공 방법 및 장치 |
| US12251776B2 (en) | 2021-08-04 | 2025-03-18 | TRUMPF Laser- und Systemtechnik SE | Method and device for laser processing a workpiece |
| KR20240033303A (ko) * | 2021-08-04 | 2024-03-12 | 트룸프 레이저-운트 시스템테크닉 게엠베하 | 공작물의 레이저 가공 방법 및 장치 |
| DE102021120286A1 (de) | 2021-08-04 | 2023-02-09 | Trumpf Laser- Und Systemtechnik Gmbh | Verfahren und Vorrichtung zur Laserbearbeitung eines Werkstücks |
| WO2023012210A1 (de) | 2021-08-04 | 2023-02-09 | Trumpf Laser- Und Systemtechnik Gmbh | Verfahren und vorrichtung zur laserbearbeitung eines werkstücks |
| WO2023041417A1 (de) | 2021-09-16 | 2023-03-23 | Trumpf Laser- Und Systemtechnik Gmbh | Verfahren und vorrichtung zur laserbearbeitung eines werkstücks |
| DE102021123962A1 (de) | 2021-09-16 | 2023-03-16 | Trumpf Laser- Und Systemtechnik Gmbh | Verfahren und Vorrichtung zur Laserbearbeitung eines Werkstücks |
| DE102021130129A1 (de) | 2021-11-18 | 2023-05-25 | Trumpf Laser- Und Systemtechnik Gmbh | Verfahren zur Laserbearbeitung eines Werkstücks |
| WO2023088912A1 (de) | 2021-11-18 | 2023-05-25 | Trumpf Laser- Und Systemtechnik Gmbh | Verfahren zur laserbearbeitung eines werkstücks |
| DE102022110353A1 (de) | 2022-04-28 | 2023-11-02 | Trumpf Laser- Und Systemtechnik Gmbh | Verfahren zur Trennung eines Werkstücks |
| WO2023209034A1 (de) | 2022-04-28 | 2023-11-02 | Trumpf Laser- Und Systemtechnik Gmbh | Verfahren zur trennung eines werkstücks |
| WO2024104646A1 (de) | 2022-11-14 | 2024-05-23 | Trumpf Laser Gmbh | Verfahren und vorrichtung zur laserbearbeitung eines werkstücks |
| DE102022130022A1 (de) | 2022-11-14 | 2024-05-16 | Trumpf Laser Gmbh | Verfahren und Vorrichtung zur Laserbearbeitung eines Werkstücks |
| DE102022131536A1 (de) | 2022-11-29 | 2024-05-29 | Trumpf Laser- Und Systemtechnik Gmbh | Verfahren und Lasersystem zum Trennen eines Werkstücks |
| WO2024115146A1 (de) | 2022-11-29 | 2024-06-06 | Trumpf Laser Gmbh | Verfahren und lasersystem zum trennen eines werkstücks |
Also Published As
| Publication number | Publication date |
|---|---|
| TW202015114A (zh) | 2020-04-16 |
| KR20200002634A (ko) | 2020-01-08 |
| CN110655316A (zh) | 2020-01-07 |
Similar Documents
| Publication | Publication Date | Title |
|---|---|---|
| JP2020004889A (ja) | 基板の分断方法及び分断装置 | |
| CN104136967B (zh) | 用于分离增强玻璃的方法及装置及由该增强玻璃生产的物品 | |
| JP4394354B2 (ja) | 非金属基板の切断方法及び装置 | |
| JP5398332B2 (ja) | 半導体ウェーハの製造方法及びその装置 | |
| JP4694795B2 (ja) | ウエーハの分割方法 | |
| WO2007125799A1 (ja) | レーザ加工方法及び装置 | |
| CN110722271A (zh) | 贴合基板的分割方法及分割装置 | |
| JP4938261B2 (ja) | 液晶デバイスウエーハのレーザー加工方法 | |
| JP5536713B2 (ja) | 脆性材料基板の加工方法 | |
| JP2020004890A (ja) | 貼り合わせ基板の分断方法及び分断装置 | |
| JP5258024B2 (ja) | レーザ切断方法および被切断物 | |
| CN115041815B (zh) | 一种脆性材料的激光加工系统及加工方法 | |
| JP2002293560A5 (ja) | ||
| JP2020001072A (ja) | 貼り合わせ基板の分断方法及び分断装置 | |
| CN103842305A (zh) | 玻璃基板的激光加工装置 | |
| TW202120447A (zh) | 基板之加工方法及加工裝置 | |
| TWI696514B (zh) | 劃片設備及劃片方法 | |
| JP2020164358A (ja) | 貼り合わせ基板の部分抜き加工方法及び部分抜き加工装置 | |
| JP2020028903A (ja) | 基板の面取り加工方法 | |
| TW202116695A (zh) | 分斷方法 | |
| JP2020001081A (ja) | 基板のレーザ加工方法及びレーザ加工装置 | |
| JP2006248075A (ja) | レーザ光を用いた基板の加工方法および加工装置 | |
| JP2012223783A (ja) | レーザ加工方法及びレーザ加工装置 | |
| JP2016203607A (ja) | 脆性物の切断装置及びその切断方法 | |
| TW202027895A (zh) | 雷射加工裝置 |
Legal Events
| Date | Code | Title | Description |
|---|---|---|---|
| A621 | Written request for application examination |
Free format text: JAPANESE INTERMEDIATE CODE: A621 Effective date: 20210520 |
|
| A977 | Report on retrieval |
Free format text: JAPANESE INTERMEDIATE CODE: A971007 Effective date: 20220428 |
|
| A131 | Notification of reasons for refusal |
Free format text: JAPANESE INTERMEDIATE CODE: A131 Effective date: 20220517 |
|
| A02 | Decision of refusal |
Free format text: JAPANESE INTERMEDIATE CODE: A02 Effective date: 20221108 |