JP2019014792A - 蓄熱材料、蓄熱装置、及び蓄熱方法 - Google Patents
蓄熱材料、蓄熱装置、及び蓄熱方法 Download PDFInfo
- Publication number
- JP2019014792A JP2019014792A JP2017131735A JP2017131735A JP2019014792A JP 2019014792 A JP2019014792 A JP 2019014792A JP 2017131735 A JP2017131735 A JP 2017131735A JP 2017131735 A JP2017131735 A JP 2017131735A JP 2019014792 A JP2019014792 A JP 2019014792A
- Authority
- JP
- Japan
- Prior art keywords
- heat storage
- heat
- storage material
- disodium hydrogen
- hydrogen phosphite
- Prior art date
- Legal status (The legal status is an assumption and is not a legal conclusion. Google has not performed a legal analysis and makes no representation as to the accuracy of the status listed.)
- Pending
Links
Images
Classifications
-
- Y—GENERAL TAGGING OF NEW TECHNOLOGICAL DEVELOPMENTS; GENERAL TAGGING OF CROSS-SECTIONAL TECHNOLOGIES SPANNING OVER SEVERAL SECTIONS OF THE IPC; TECHNICAL SUBJECTS COVERED BY FORMER USPC CROSS-REFERENCE ART COLLECTIONS [XRACs] AND DIGESTS
- Y02—TECHNOLOGIES OR APPLICATIONS FOR MITIGATION OR ADAPTATION AGAINST CLIMATE CHANGE
- Y02E—REDUCTION OF GREENHOUSE GAS [GHG] EMISSIONS, RELATED TO ENERGY GENERATION, TRANSMISSION OR DISTRIBUTION
- Y02E60/00—Enabling technologies; Technologies with a potential or indirect contribution to GHG emissions mitigation
- Y02E60/14—Thermal energy storage
Landscapes
- Air-Conditioning For Vehicles (AREA)
Abstract
【課題】過冷却状態を安定に保持でき、かつ、高い蓄熱密度を有する蓄熱材料を提供する。【解決手段】本開示の蓄熱材料は、亜リン酸水素二ナトリウム五水和物を含有し、亜リン酸水素二ナトリウム五水和物の液相から固相への変化により吸熱し、亜リン酸水素二ナトリウム五水和物の固相から液相への変化により放熱する。【選択図】図1
Description
本開示は、蓄熱材料、蓄熱装置、及び蓄熱方法に関する。
近年、化石燃料の使用削減が求められており、様々なプロセスの消費エネルギーを低減するだけでなく、未利用熱の活用を推進する必要がある。このため、様々な蓄熱技術が開発されている。
例えば、特許文献1には、酢酸ナトリウム・3水和物に水を添加し、過冷却状態を安定化させた潜熱蓄熱材が記載されている。特許文献1には、酢酸ナトリウム・3水和物に対して約10〜40重量%、好ましくは約20〜30重量%の水を添加することにより、過冷却状態を安定に保持できることが記載されている。
特許文献1に記載の技術は、過冷却状態を安定に保持できるものの、蓄熱密度を高める観点から改良の余地を有する。そこで、本開示は、過冷却状態を安定に保持でき、かつ、高い蓄熱密度を有する蓄熱材料を提供する。
本開示は、
亜リン酸水素二ナトリウム五水和物を含有し、前記亜リン酸水素二ナトリウム五水和物の液相から固相への変化により吸熱し、前記亜リン酸水素二ナトリウム五水和物の固相から液相への変化により放熱する、蓄熱材料を提供する。
亜リン酸水素二ナトリウム五水和物を含有し、前記亜リン酸水素二ナトリウム五水和物の液相から固相への変化により吸熱し、前記亜リン酸水素二ナトリウム五水和物の固相から液相への変化により放熱する、蓄熱材料を提供する。
上記の蓄熱材料は、過冷却状態を安定に保持でき、かつ、高い蓄熱密度を有する。
(本開示の基礎となった知見)
一次エネルギーの約70%は、有効に利用されることなく、環境中に未利用熱として排出されている。例えば、自動車のガソリンエンジンは燃料の持つエネルギーの約20%しか有効に利用できておらず、火力発電は燃料の持つエネルギーの約40%しか有効に利用できていない。未利用熱を蓄え、未利用熱の元の温度に近い温度で蓄えた熱を利用できる技術があれば、エネルギーの回収及びエネルギーの再利用の点で非常に有効である。未利用熱の発生源としては、自動車のガソリンエンジンに加えて、例えば、発電に用いられるガスエンジン及びディーゼルエンジンも考えられる。
一次エネルギーの約70%は、有効に利用されることなく、環境中に未利用熱として排出されている。例えば、自動車のガソリンエンジンは燃料の持つエネルギーの約20%しか有効に利用できておらず、火力発電は燃料の持つエネルギーの約40%しか有効に利用できていない。未利用熱を蓄え、未利用熱の元の温度に近い温度で蓄えた熱を利用できる技術があれば、エネルギーの回収及びエネルギーの再利用の点で非常に有効である。未利用熱の発生源としては、自動車のガソリンエンジンに加えて、例えば、発電に用いられるガスエンジン及びディーゼルエンジンも考えられる。
未利用熱を蓄える手段としては、顕熱蓄熱及び潜熱蓄熱が考えられる。この中で、顕熱蓄熱として、100℃以下の温水蓄熱が知られている。しかし、温水蓄熱には、例えば、以下の問題が存在する。(1)放熱損失があるため長期間の蓄熱が難しい。(2)水の顕熱量が比較的小さく、大量の水が必要であるため、蓄熱設備の小型化が難しい。(3)出力温度は、熱の利用量に応じて非定常であり、次第に降下する。このため、未利用熱の活用を推進するためには、より高い効率を有する蓄熱技術を開発する必要がある。
潜熱蓄熱は、物質の融解等の相変化を利用する。潜熱蓄熱は、顕熱蓄熱に比べて蓄熱密度が高く、相変化温度が不変であるので熱の取り出し温度が安定するという利点を有する。このため、潜熱蓄熱の実用化が進められている。潜熱蓄熱において、蓄熱時には蓄熱材料を加熱して液体状態にする。その後、蓄熱材料の液体状態が保たれるように蓄熱材料を保温する。熱需要が発生した時に、蓄熱材料を結晶化(凝固)させることによって蓄熱材料に蓄えられた熱を取り出すことができる。
潜熱蓄熱の分野において、酢酸ナトリウム三水和物は、比較的大きい融解熱を有するので、少ない容量で効率的に熱を蓄えることができる物質として知られている。また、酢酸ナトリウム三水和物は毒性を示さない安全な物質である。酢酸ナトリウム三水和物は、融解時には物質固有の温度である融点で融解するものの、冷却時には融点以下の温度になっても凝固しない過冷却状態(過冷却液体状態)となることが知られている。酢酸ナトリウム三水和物を蓄熱材料として用いる場合、加熱により液体状態となった蓄熱材料を過冷却状態に保ち、その過冷却状態を壊すことによって蓄熱材料に蓄えられた熱を取り出すことが考えられる。これにより、蓄熱材料に潜熱が蓄えられた状態を保つために蓄熱材料を融点以上に保温する必要がなくなる。
特許文献1に記載の技術によれば、酢酸ナトリウム三水和物に約10〜40重量%の水を添加することにより、低温において過冷却状態を安定化できることが記載されている。しかし、このような量の水を添加することは、蓄熱材料における酢酸ナトリウム三水和物の濃度の低下を招き、蓄熱材料の蓄熱密度が低くなってしまう。そこで、本発明者は、水の添加なしでも過冷却状態を安定に保持でき、高い蓄熱密度を有する蓄熱材料について日夜検討を重ね、試行錯誤の結果、本開示の蓄熱材料を案出した。
本開示の第1態様は、亜リン酸水素二ナトリウム五水和物を含有し、前記亜リン酸水素二ナトリウム五水和物の液相から固相への変化により吸熱し、前記亜リン酸水素二ナトリウム五水和物の固相から液相への変化により放熱する、蓄熱材料を提供する。亜リン酸水素二ナトリウム五水和物は、水が添加されなくても低温において過冷却状態を保つことができる。加えて、亜リン酸水素二ナトリウム五水和物の融解熱は大きい。このため、第1態様に係る蓄熱材量は、過冷却状態を安定に保持でき、かつ、高い蓄熱密度を有する。
本開示の第2態様は、第1態様に加えて、前記蓄熱材料は、前記亜リン酸水素二ナトリウム五水和物を主成分として含有している、蓄熱材料を提供する。第2態様によれば、蓄熱材料において大きい融解熱を有する亜リン酸水素二ナトリウム五水和物が主成分として含有されているので、蓄熱材料が、より確実に、過冷却状態を安定に保持でき、かつ、高い蓄熱密度を有する。なお、本明細書において、「主成分」とは、質量基準で最も多く含まれる成分を意味する。
本開示の第3態様は、第1態様又は第2態様に加えて、前記蓄熱材料に含まれる水の質量は、前記亜リン酸水素二ナトリウム五水和物の質量の10%未満である、蓄熱材料を提供する。第3態様によれば、蓄熱材料において亜リン酸水素二ナトリウム五水和物に添加されている水の質量が少ないので、蓄熱材料がより確実に高い蓄熱密度を有する。
本開示の第4態様は、
容器と、
前記容器に収容された蓄熱材料と、
前記容器の内部に存在し、前記蓄熱材料との熱交換をなす熱媒体のための熱媒体流路と、
前記蓄熱材料が過冷却状態であるときに前記蓄熱材料の過冷却を解除する過冷却解除手段と、を備え、
前記蓄熱材料は、亜リン酸水素二ナトリウム五水和物を含有し、
前記過冷却解除手段の動作により、前記亜リン酸水素二ナトリウム五水和物を液相から固相に変化させて前記蓄熱材料から放熱する、
蓄熱装置を提供する。
容器と、
前記容器に収容された蓄熱材料と、
前記容器の内部に存在し、前記蓄熱材料との熱交換をなす熱媒体のための熱媒体流路と、
前記蓄熱材料が過冷却状態であるときに前記蓄熱材料の過冷却を解除する過冷却解除手段と、を備え、
前記蓄熱材料は、亜リン酸水素二ナトリウム五水和物を含有し、
前記過冷却解除手段の動作により、前記亜リン酸水素二ナトリウム五水和物を液相から固相に変化させて前記蓄熱材料から放熱する、
蓄熱装置を提供する。
第4態様によれば、蓄熱材料は、亜リン酸水素二ナトリウム五水和物を含有しているので、過冷却状態を安定に保持でき、かつ、高い蓄熱密度を有する。加えて、過冷却解除手段によって蓄熱材料の過冷却を解除して蓄熱材料に蓄えられた熱を放熱できる。
本開示の第5態様は、
亜リン酸水素二ナトリウム五水和物を含有している蓄熱材料を固相から液相に変化させて吸熱し、
前記蓄熱材料において前記亜リン酸水素二ナトリウム五水和物を過冷却状態に保ち、
前記蓄熱材料において前記亜リン酸水素二ナトリウム五水和物の前記過冷却状態を解除して、前記亜リン酸水素二ナトリウム五水和物を液相から固相に変化させて前記蓄熱材料から放熱する、
蓄熱方法を提供する。
亜リン酸水素二ナトリウム五水和物を含有している蓄熱材料を固相から液相に変化させて吸熱し、
前記蓄熱材料において前記亜リン酸水素二ナトリウム五水和物を過冷却状態に保ち、
前記蓄熱材料において前記亜リン酸水素二ナトリウム五水和物の前記過冷却状態を解除して、前記亜リン酸水素二ナトリウム五水和物を液相から固相に変化させて前記蓄熱材料から放熱する、
蓄熱方法を提供する。
第5態様によれば、亜リン酸水素二ナトリウム五水和物を含有している蓄熱材料を用いて上記のように蓄熱方法が実行されるので、過冷却状態を安定に保持でき、かつ、高い蓄熱密度で熱を蓄えることができる。
以下、本開示の実施形態について、図面を参照しながら説明する。なお、以下の説明は本開示の一例に関するものであり、本開示はこれらに限定されるものではない。
本開示の蓄熱材料は、亜リン酸水素二ナトリウム五水和物を含有し、亜リン酸水素二ナトリウム五水和物の液相から固相への変化により吸熱し、亜リン酸水素二ナトリウム五水和物の固相から液相への変化により放熱する。このように、本開示の蓄熱材料は、亜リン酸水素二ナトリウム五水和物の固相から液相への変化を利用して潜熱として熱を蓄えることができる。亜リン酸水素二ナトリウム五水和物は、水の添加なしで低温において過冷却状態を安定的に保つことができる。これは、亜リン酸水素二ナトリウムが水と強い相互作用を示し、亜リン酸水素二ナトリウム同士の凝集が抑制されて結晶化しにくいためであると考えられる。加えて、亜リン酸水素二ナトリウム五水和物の融解熱は大きい。このため、本開示の蓄熱材料は、過冷却状態を安定に保持でき、かつ、高い蓄熱密度を有する。
蓄熱材料は、望ましくは、亜リン酸水素二ナトリウム五水和物を主成分として含有している。これにより、蓄熱材料は、より確実に、過冷却状態を安定に保持でき、かつ、高い蓄熱密度を有する。
蓄熱材料に含まれる水の質量は、望ましくは、亜リン酸水素二ナトリウム五水和物の質量の10%未満である。これにより、蓄熱材料は、より確実に、過冷却状態を安定に保持でき、かつ、高い蓄熱密度を有する。ここで、蓄熱材料に含まれる水には、亜リン酸水素二ナトリウム五水和物の結晶水は含まれない。
上記の蓄熱材料を用いて、例えば、以下の工程(i)〜(iii)を備えた蓄熱方法を実行できる。
(i)亜リン酸水素二ナトリウム五水和物を含有している上記の蓄熱材料を固相から液相に変化させて吸熱する。
(ii)蓄熱材料において亜リン酸水素二ナトリウム五水和物を過冷却状態に保つ。
(iii)蓄熱材料において前記亜リン酸水素二ナトリウム五水和物の前記過冷却状態を解除して、前記亜リン酸水素二ナトリウム五水和物を液相から固相に変化させて前記蓄熱材料から放熱する。
(i)亜リン酸水素二ナトリウム五水和物を含有している上記の蓄熱材料を固相から液相に変化させて吸熱する。
(ii)蓄熱材料において亜リン酸水素二ナトリウム五水和物を過冷却状態に保つ。
(iii)蓄熱材料において前記亜リン酸水素二ナトリウム五水和物の前記過冷却状態を解除して、前記亜リン酸水素二ナトリウム五水和物を液相から固相に変化させて前記蓄熱材料から放熱する。
図1に示す通り、固相の蓄熱材料が融解して液相に変化することにより蓄熱材料が吸熱し、蓄熱材料に潜熱としての熱が蓄えられる。この場合、蓄熱材料は融点以上の温度に加熱される。図1における状態Dから状態Aへの変化が蓄熱方法における上記のステップ(i)に対応する。液相の蓄熱材料の温度は次第に低下し、蓄熱材料が過冷却状態になる。その後、熱需要時には蓄熱材料の過冷却が解除される。蓄熱材料の過冷却が解除されるまで蓄熱材料は過冷却状態を保つ。図1において、状態Aから状態Bに変化した後、状態Bが保たれることが蓄熱方法における上記のステップ(ii)に対応する。蓄熱材料の過冷却が解除されると、すなわち、図1に示す状態Cに至ると、蓄熱材料が液相から固相に変化する。この場合に、蓄熱材料が放熱する。図1における状態Cから状態Dへの変化が蓄熱方法における上記のステップ(iii)に対応する。
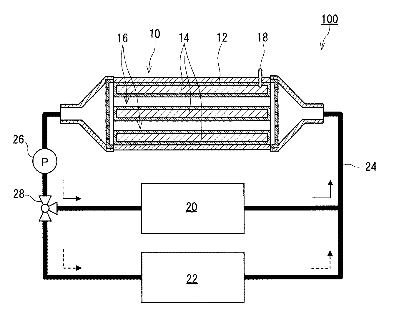
このような蓄熱方法は、例えば、図2に示す蓄熱装置10を含む蓄熱システム100を用いて実行できる。図2に示す通り、蓄熱装置10は、容器12と、蓄熱材料14と、熱媒体流路16と、過冷却解除手段18とを備えている。蓄熱材料14は容器12に収容されている。熱媒体流路16は、容器12の内部に存在し、蓄熱材料14との熱交換をなす熱媒体のための流路である。過冷却解除手段18は、蓄熱材料14が過冷却状態であるときに蓄熱材料14の過冷却を解除する手段である。蓄熱材料14は亜リン酸水素二ナトリウム五水和物を含有している。過冷却解除手段18の動作により、亜リン酸水素二ナトリウム五水和物を液相から固相に変化させて蓄熱材料14から放熱する。
容器12は、例えば、少なくともその外面が断熱性を有する材料でできており、熱媒体の出入口を除き密閉されている。これにより、熱媒体流路18を流れる熱媒体が有する熱が容器12の外部に放熱されることを抑制でき、蓄熱材料14に効率良く熱を蓄えることができ、かつ、蓄熱材料14から放熱された熱を効率良く利用できる。熱媒体流路16の少なくとも一部は、容器12の内面に接している。
蓄熱材料14は、例えば、良好な熱伝導性を有する袋に密閉された状態で容器12の内部に収容されている。例えば、熱媒体流路16の少なくとも一部は、良好な熱伝導性を有する袋の外面に接している。良好な熱伝導性を有する袋は、例えば、アルミニウム箔の両面に樹脂層を積層した積層フィルムによってできている。これにより、熱媒体流路16における熱媒体の流れによって蓄熱材料14が容器12の外部に流出しない。加えて、熱媒体と蓄熱材料との熱交換が効率良く行われる。
過冷却解除手段18は、蓄熱材料14の過冷却を解除できる限り特に制限されず、公知の過冷却解除手段を用いることができる。過冷却解除手段18は、例えば、蓄熱材料14を局所的に冷却する冷却器、放電装置、振動発生装置、又は超音波発生装置である。
図2に示す通り、蓄熱システム100は、蓄熱装置10に加えて、例えば、熱源装置20と、熱出力装置22と、流路24と、ポンプ26と、三方弁28とを備えている。熱源装置20は、上記の工程(i)において、蓄熱材料14に吸熱されるべき熱を有する熱媒体を生成するための装置である。熱出力装置22は、上記の工程(iii)において、蓄熱材料14から放熱された熱を回収した熱媒体が有する熱を蓄熱システム100の外部に出力する装置である。流路24は、熱源装置20から蓄熱装置10に熱媒体が供給されるとともに、蓄熱装置10から熱源装置20に熱媒体が戻るように、熱源装置20と蓄熱装置10とを接続している。加えて、流路24は、熱出力装置22から蓄熱装置10に熱媒体が供給されるとともに、蓄熱装置10から熱出力装置22に熱媒体が戻るように、熱出力装置22と蓄熱装置10とを接続している。なお、熱出力装置22、流路24、及び熱媒体流路16によって蓄熱材料14の過冷却を解除するために十分に低い温度の熱媒体を供給できる場合、これらが過冷却解除手段18を兼ねていてもよい。
ポンプ26及び三方弁28は、流路24上に配置されている。ポンプ26の作動により、熱源装置20と蓄熱装置10との間で熱媒体が循環し、又は、熱出力装置22と蓄熱装置10との間で熱媒体が循環する。三方弁28が制御されることにより、熱源装置20と蓄熱装置10との間で熱媒体が循環する状態と、熱出力装置22と蓄熱装置10との間で熱媒体が循環する状態とが切り替えられる。
蓄熱システム100の動作の一例について説明する。蓄熱材料14に熱を蓄える場合、蓄熱材料14への蓄熱開始時には蓄熱材料14において亜リン酸水素二ナトリウム五水和物は固相である。蓄熱材料14に熱を蓄える場合、熱源装置20において亜リン酸水素二ナトリウム五水和物の融点以上の温度を有する熱媒体を生成する。熱媒体は、例えば水である。例えば、熱源装置20において自動車の内燃機関の廃熱又はボイラーの廃熱によって水が加熱され、亜リン酸水素二ナトリウム五水和物の融点以上の温度を有する熱媒体が生成される。この熱媒体は、ポンプ26の作動により、流路24を通って蓄熱装置10の容器12の内部に入り、熱媒体流路16を流れる。このとき、熱媒体流路16における熱媒体の流れから蓄熱材料14が受熱し、蓄熱材料14の温度が亜リン酸水素二ナトリウム五水和物の融点以上の温度(例えば、70℃)に上昇させることができる。すなわち、蓄熱材料14において亜リン酸水素二ナトリウム五水和物が融解し、固相から液相に変化する。このように、蓄熱材料14に潜熱の形態で熱を蓄えることができる。熱媒体は、熱媒体流路16を通過して蓄熱装置10から排出され、その後流路24をさらに通過して熱源装置20に戻る。図2における実線の矢印は蓄熱材料14に熱を蓄える場合の熱媒体の流れを示す。
ポンプ26が停止して、熱源装置20から蓄熱装置10への熱媒体の供給が停止すると、蓄熱材料14の温度は次第に低下し、やがて亜リン酸水素二ナトリウム五水和物の融点以下の温度になる。この場合、蓄熱材料14は過冷却状態になり、その後過冷却解除手段によって蓄熱材料14の過冷却が解除されるまで蓄熱材料14の過冷却状態が保たれる。なお、蓄熱材料14の過冷却状態を保つために、場合によっては、蓄熱装置10の内部に存在する熱媒体流路16に所定温度の熱媒体を供給して蓄熱材料14を温めてもよい。この場合、外気温度の変化などの事象により、蓄熱材料14の温度が低下しすぎることを防止できる。
蓄熱材料14が過冷却状態にある場合に、過冷却解除手段18を動作させることにより、蓄熱材料14の過冷却が解除され、蓄熱材料14に含有されている亜リン酸水素二ナトリウム五水和物の結晶化(凝固)が起こる。すなわち、亜リン酸水素二ナトリウム五水和物が液相から固相に変化する。この場合、蓄熱材料14に潜熱の形態で蓄えられていた熱が放熱される。そこで、蓄熱材料14から放熱される熱を回収するために、蓄熱材料14の過冷却の解除と並行して、ポンプ26を作動させて、熱媒体を熱出力装置22から流路24を通過させて蓄熱装置10に供給する。この場合、熱媒体は、亜リン酸水素二ナトリウム五水和物の融点より低い温度を有する。蓄熱装置10に供給された熱媒体は熱媒体流路16を流れ、熱媒体流路16における熱媒体の流れが蓄熱材料14から放熱される熱の少なくとも一部を受熱する。このようにして、蓄熱材料14に蓄えられていた熱が回収される。その後、熱媒体は流路24を通って熱出力装置22に戻り、熱媒体が有する熱が熱出力装置22において蓄熱システム100の外部に出力される。図2における破線の矢印は蓄熱材料14に蓄えらえた熱を放熱する場合の熱媒体の流れを示す。熱出力装置22において蓄熱システム100の外部に出力された熱は、例えば、暖房又は給湯等の用途に利用できる。
蓄熱材料14を袋に密閉せずに流動可能な状態で蓄熱を行うことも考えられる。しかし、蓄熱材料14が亜リン酸水素二ナトリウム五水和物を含有していることを考慮すると、蓄熱材料14への蓄熱開始時に蓄熱材料14は流動性を有しない。このため、蓄熱装置10のように、蓄熱材料14を良好な熱伝導性を有する袋に密閉した状態で容器12の内部に収容した状態で、熱媒体を用いて上記の蓄熱方法を実行することが望ましい。なお、蓄熱材料14は、蓄熱システム100以外の他のシステムにおいても使用可能である。
実施例により、本開示の蓄熱材料をより詳細に説明する。ただし、本開示の蓄熱材料は以下の実施例に限定されない。
実施例及び比較例に係る蓄熱材料の過冷却安定性に関する評価方法について説明する。80℃に設定された恒温槽に、実施例又は各比較例に係る蓄熱材料が収容されたガラス製のサンプル瓶を入れて、蓄熱材料を融解させた。その後、恒温槽の温度を最低で−40℃まで低下させた。このとき、実施例又は各比較例に係る蓄熱材料の温度を測定し、固相が生成された時点の蓄熱材料の温度を結晶化開始温度と定めた。ここで、蓄熱材料の温度が上昇したことに基づいて、固相が生成されたと判断した。蓄熱材料の結晶化開始温度が低いほど、蓄熱材料が過冷却状態をより安定的に保つことができると評価できる。また、示差走査熱量計(パーキンエルマー社製、製品名:DSC 8500)を用いて、実施例及び比較例に係る蓄熱材料の融解熱評価を行った。なお、測定条件における昇温レートを10℃/分に設定した。
<実施例1>
実施例1の蓄熱材料として、亜リン酸水素二ナトリウム五水和物を用いた。実施例1の蓄熱材料の調製において亜リン酸水素二ナトリウム五水和物以外の物質は添加しなかった。実施例1に係る蓄熱材料の結晶化開始温度及び融解熱の評価結果を表1に示す。なお、表1において、結晶化開始温度の欄の「−40以下」という表記は、蓄熱材料の温度が−40℃に到達しても、固相が生成されなかったことを意味する。
実施例1の蓄熱材料として、亜リン酸水素二ナトリウム五水和物を用いた。実施例1の蓄熱材料の調製において亜リン酸水素二ナトリウム五水和物以外の物質は添加しなかった。実施例1に係る蓄熱材料の結晶化開始温度及び融解熱の評価結果を表1に示す。なお、表1において、結晶化開始温度の欄の「−40以下」という表記は、蓄熱材料の温度が−40℃に到達しても、固相が生成されなかったことを意味する。
<比較例1>
酢酸ナトリウム三水和物の質量に対して10%の質量の純水を添加して、比較例1に係る蓄熱材料を調製した。比較例1に係る蓄熱材料の結晶化開始温度及び融解熱の評価結果を表1に示す。
酢酸ナトリウム三水和物の質量に対して10%の質量の純水を添加して、比較例1に係る蓄熱材料を調製した。比較例1に係る蓄熱材料の結晶化開始温度及び融解熱の評価結果を表1に示す。
<比較例2>
酢酸ナトリウム三水和物の質量に対して20%の質量の純水を添加して、比較例2に係る蓄熱材料を調製した。比較例2に係る蓄熱材料の結晶化開始温度及び融解熱の評価結果を表1に示す。
酢酸ナトリウム三水和物の質量に対して20%の質量の純水を添加して、比較例2に係る蓄熱材料を調製した。比較例2に係る蓄熱材料の結晶化開始温度及び融解熱の評価結果を表1に示す。
<比較例3>
酢酸ナトリウム三水和物の質量に対して30%の質量の純水を添加して、比較例2に係る蓄熱材料を調製した。比較例2に係る蓄熱材料の結晶化開始温度及び融解熱の評価結果を表1に示す。
酢酸ナトリウム三水和物の質量に対して30%の質量の純水を添加して、比較例2に係る蓄熱材料を調製した。比較例2に係る蓄熱材料の結晶化開始温度及び融解熱の評価結果を表1に示す。
表1に示す通り、実施例1に係る蓄熱材料は、比較例1に係る蓄熱材料と比べて、低い結晶化開始温度を有し、同等の融解熱を示した。また、実施例1に係る蓄熱材料は、比較例3に係る蓄熱材料と同様に−40℃以下の結晶化開始温度を有し、比較例3に係る蓄熱材料と比べて高い融解熱を示した。比較例1〜3に係る蓄熱材料の結晶化開始温度を踏まえると、酢酸ナトリウム三水和物を含有する蓄熱材料には、過冷却の安定性を向上させるために酢酸ナトリウム三水和物の質量の10%を超える水が添加される必要があることが示された。一方、実施例1に係る蓄熱材料の結果を踏まえると、亜リン酸水素二ナトリウム五水和物を含有する蓄熱材料は、水が添加されていなくても、過冷却状態の安定に保持できることが示唆された。これは、亜リン酸水素二ナトリウムが水と強い相互作用を示し、亜リン酸水素二ナトリウム同士の凝集が抑制されて結晶化しにくいためであると考えられる。本開示の蓄熱材料において、亜リン酸水素二ナトリウム五水和物の固液相変化を利用することにより、蓄熱材料の過冷却状態を安定的に保持でき、かつ、高い蓄熱密度を実現できることが示唆された。
本開示の蓄熱材料は、自動車のエンジン冷却水から回収された排熱を蓄え、自動車のエンジンの始動時の暖機において放熱する蓄熱装置に利用可能である。また、本開示の蓄熱材料は、ガスエンジン等の熱機関を備えたシステムに設置され熱需要に応じて放熱する省スペースの蓄熱装置に利用可能である。
10 蓄熱装置
12 容器
14 蓄熱材料
16 熱媒体流路
18 過冷却解除手段
12 容器
14 蓄熱材料
16 熱媒体流路
18 過冷却解除手段
Claims (5)
- 亜リン酸水素二ナトリウム五水和物を含有し、前記亜リン酸水素二ナトリウム五水和物の液相から固相への変化により吸熱し、前記亜リン酸水素二ナトリウム五水和物の固相から液相への変化により放熱する、蓄熱材料。
- 前記蓄熱材料は、前記亜リン酸水素二ナトリウム五水和物を主成分として含有している、請求項1に記載の蓄熱材料。
- 前記蓄熱材料に含まれる水の質量は、前記亜リン酸水素二ナトリウム五水和物の質量の10%未満である、請求項1又は2に記載の蓄熱材料。
- 容器と、
前記容器に収容された蓄熱材料と、
前記容器の内部に存在し、前記蓄熱材料との熱交換をなす熱媒体のための熱媒体流路と、
前記蓄熱材料が過冷却状態であるときに前記蓄熱材料の過冷却を解除する過冷却解除手段と、を備え、
前記蓄熱材料は、亜リン酸水素二ナトリウム五水和物を含有し、
前記過冷却解除手段の動作により、前記亜リン酸水素二ナトリウム五水和物を液相から固相に変化させて前記蓄熱材料から放熱する、
蓄熱装置。 - 亜リン酸水素二ナトリウム五水和物を含有している蓄熱材料を固相から液相に変化させて吸熱し、
前記蓄熱材料において前記亜リン酸水素二ナトリウム五水和物を過冷却状態に保ち、
前記蓄熱材料において前記亜リン酸水素二ナトリウム五水和物の前記過冷却状態を解除して、前記亜リン酸水素二ナトリウム五水和物を液相から固相に変化させて前記蓄熱材料から放熱する、
蓄熱方法。
Priority Applications (1)
| Application Number | Priority Date | Filing Date | Title |
|---|---|---|---|
| JP2017131735A JP2019014792A (ja) | 2017-07-05 | 2017-07-05 | 蓄熱材料、蓄熱装置、及び蓄熱方法 |
Applications Claiming Priority (1)
| Application Number | Priority Date | Filing Date | Title |
|---|---|---|---|
| JP2017131735A JP2019014792A (ja) | 2017-07-05 | 2017-07-05 | 蓄熱材料、蓄熱装置、及び蓄熱方法 |
Publications (1)
| Publication Number | Publication Date |
|---|---|
| JP2019014792A true JP2019014792A (ja) | 2019-01-31 |
Family
ID=65357141
Family Applications (1)
| Application Number | Title | Priority Date | Filing Date |
|---|---|---|---|
| JP2017131735A Pending JP2019014792A (ja) | 2017-07-05 | 2017-07-05 | 蓄熱材料、蓄熱装置、及び蓄熱方法 |
Country Status (1)
| Country | Link |
|---|---|
| JP (1) | JP2019014792A (ja) |
-
2017
- 2017-07-05 JP JP2017131735A patent/JP2019014792A/ja active Pending
Similar Documents
| Publication | Publication Date | Title |
|---|---|---|
| US4696338A (en) | Latent heat storage and transfer system and method | |
| JP2014178082A (ja) | 冷却装置及び冷却方法 | |
| US20170254601A1 (en) | Thermal energy storage systems comprising encapsulated phase change materials and a neutralizing agent | |
| US20170074598A1 (en) | Heat transfer arrangement for a motor vehicle, and motor vehicle | |
| US20100230075A1 (en) | Thermal Storage System | |
| JP6261124B2 (ja) | 蓄熱材組成物、蓄熱体及び蓄熱装置 | |
| JP6279778B1 (ja) | 潜熱蓄熱材組成物 | |
| JP2005016766A (ja) | 蓄熱装置 | |
| JP2019014792A (ja) | 蓄熱材料、蓄熱装置、及び蓄熱方法 | |
| JP6434867B2 (ja) | 蓄熱材充填容器、及び蓄熱槽 | |
| JP5594752B2 (ja) | 蓄熱装置 | |
| JP4830572B2 (ja) | 潜熱蓄熱材 | |
| JP6674495B2 (ja) | 蓄熱システム | |
| JP2981890B1 (ja) | 蓄熱装置およびその装置における熱管理方法 | |
| JP2015183973A (ja) | 過冷却型潜熱蓄熱材組成物および蓄熱システム | |
| JP2017122555A (ja) | 蓄熱装置および蓄熱方法 | |
| JP2001031957A (ja) | 蓄熱材組成物及びそれを用いた蓄熱式給湯器 | |
| JP2020007415A (ja) | 潜熱蓄熱材組成物 | |
| JP2007064548A (ja) | 蓄熱及び貯湯式給湯装置 | |
| JP4779591B2 (ja) | 給湯装置 | |
| JP2020133696A (ja) | 水素貯蔵容器 | |
| JP2000063815A (ja) | 蓄熱方法及びそれを用いた蓄熱装置 | |
| JP2015151454A (ja) | 潜熱蓄熱材および潜熱蓄熱槽 | |
| JP3723051B2 (ja) | 蓄熱材の製造方法 | |
| JP6588492B2 (ja) | 潜熱蓄熱材の過冷却防止方法、及び潜熱蓄熱槽 |
