JP2018517618A - 船舶用の船殻装着電子装置 - Google Patents

船舶用の船殻装着電子装置 Download PDF

Info

Publication number
JP2018517618A
JP2018517618A JP2018513905A JP2018513905A JP2018517618A JP 2018517618 A JP2018517618 A JP 2018517618A JP 2018513905 A JP2018513905 A JP 2018513905A JP 2018513905 A JP2018513905 A JP 2018513905A JP 2018517618 A JP2018517618 A JP 2018517618A
Authority
JP
Japan
Prior art keywords
hull
seat
hole
electronic device
housing
Prior art date
Legal status (The legal status is an assumption and is not a legal conclusion. Google has not performed a legal analysis and makes no representation as to the accuracy of the status listed.)
Granted
Application number
JP2018513905A
Other languages
English (en)
Other versions
JP6968782B2 (ja
Inventor
ファガーグレン、アンデシュ
ニーグレン、ラース
Original Assignee
コンシリウム・エービー
Priority date (The priority date is an assumption and is not a legal conclusion. Google has not performed a legal analysis and makes no representation as to the accuracy of the date listed.)
Filing date
Publication date
Application filed by コンシリウム・エービー filed Critical コンシリウム・エービー
Publication of JP2018517618A publication Critical patent/JP2018517618A/ja
Application granted granted Critical
Publication of JP6968782B2 publication Critical patent/JP6968782B2/ja
Active legal-status Critical Current
Anticipated expiration legal-status Critical

Links

Images

Classifications

    • GPHYSICS
    • G10MUSICAL INSTRUMENTS; ACOUSTICS
    • G10KSOUND-PRODUCING DEVICES; METHODS OR DEVICES FOR PROTECTING AGAINST, OR FOR DAMPING, NOISE OR OTHER ACOUSTIC WAVES IN GENERAL; ACOUSTICS NOT OTHERWISE PROVIDED FOR
    • G10K11/00Methods or devices for transmitting, conducting or directing sound in general; Methods or devices for protecting against, or for damping, noise or other acoustic waves in general
    • G10K11/004Mounting transducers, e.g. provided with mechanical moving or orienting device
    • G10K11/006Transducer mounting in underwater equipment, e.g. sonobuoys
    • GPHYSICS
    • G01MEASURING; TESTING
    • G01SRADIO DIRECTION-FINDING; RADIO NAVIGATION; DETERMINING DISTANCE OR VELOCITY BY USE OF RADIO WAVES; LOCATING OR PRESENCE-DETECTING BY USE OF THE REFLECTION OR RERADIATION OF RADIO WAVES; ANALOGOUS ARRANGEMENTS USING OTHER WAVES
    • G01S7/00Details of systems according to groups G01S13/00, G01S15/00, G01S17/00
    • G01S7/52Details of systems according to groups G01S13/00, G01S15/00, G01S17/00 of systems according to group G01S15/00
    • G01S7/521Constructional features

Landscapes

  • Engineering & Computer Science (AREA)
  • Physics & Mathematics (AREA)
  • Acoustics & Sound (AREA)
  • Multimedia (AREA)
  • Computer Networks & Wireless Communication (AREA)
  • General Physics & Mathematics (AREA)
  • Radar, Positioning & Navigation (AREA)
  • Remote Sensing (AREA)
  • Casings For Electric Apparatus (AREA)
  • Measurement Of Velocity Or Position Using Acoustic Or Ultrasonic Waves (AREA)
  • Helmets And Other Head Coverings (AREA)

Abstract

船舶用の船殻装着電子装置(2)が提供されている。船殻装着電子装置は、貫通孔(11)を有している座部(10)に対し取り付けられるよう適用されており、座部は、座部の貫通孔が船殻の貫通孔(12)と整列するよう船舶の船殻(20)に対し取り付け可能である。船殻装着電子装置は、船殻の外側の水の中へと伝達される信号を発生するよう適用されているトランスデューサー(16)と、そして、トランスデューサーを封入し、そして下方部分(3)及びフランジ部分(4)を有しているハウジング(14)と備えている。下方部分及び下方部分に対し最も接近して配置されているフランジ部分の少なくとも部分が、水密であるとともにトランスデューサーにより発生された信号を透過させる材料(17)の表面(5)により覆われている。前記表面の一部分が、トランスデューサーの信号を伝達するよう配置されているハウジングの窓(13)を形成している。

Description

この発明は大略的に、船舶用の船殻装着電子装置(hull-fitted electronic devices)の分野に関する。
海洋船舶には通常、例えばナビゲーションのために使用される船殻装着電子装置が設けられている。このような船殻装着電子装置の例は、船速測定装置(speed logs)及び音響測深機(echo sounders)である。船殻装着電子装置は、船殻の外側の水中へと伝達される信号を発生させるよう適用されたトランスデューサーを備えることができる。トランスデューサーは典型的にはハウジング中に封入されてよく、ハウジングは、ハウジングの一端部分が船殻の外側の水に対し露出されているように船殻の貫通孔中に設けられている。このような船殻装着電子装置が船舶−水の界面に設けられる時、ハウジング中へと同様に船舶中への水漏れを避けるための水密シールへの要求が高い。
通常、ハウジングと周辺設置構造との間の密封は、周辺設置構造の貫通孔中に適合されるよう適用されたハウジングの円筒部分の周囲に延出しているO−リングにより達成される。このような配置による欠点は、十分な密封を提供するためにO−リングをハウジングの円筒部分へと緊密に適合させなければならないことであり、これによりハウジングの回りに適合されているO−リングの寸法許容誤差は非常に精密であることが必要であり、ひいては船殻装着電子装置の製造及び取り付けを困難にしている。さらに、設置の際、装着構造の貫通孔中へハウジングの円筒部分の挿入時にO−リングが外れるかもしれないという危険性があり、水漏れの危険性を増加させている。
上述されたような欠点を克服する、又は少なくとも軽減する、船殻装着電子装置を達成することは有利である。特に、製造及び設置をより容易にするとともに水漏れの危険性を減少させる船殻装着電子装置を可能にすることが望まれている。
これらに関する1つ又はそれ以上をより良く取り扱うために、独立請求項中に規定されている特徴を有している船殻装着電子装置が提供される。好適な実施形態が従属請求項中に規定されている。
したがって、1つの概念に従えば、船舶のための船殻装着電子装置が提供される。この船殻装着電子装置は、貫通孔を有している座部に対し取り付けられるよう適用されており、座部は座部の貫通孔が船殻の貫通孔と整列するよう船舶の船殻に対し取り付け可能である。船殻装着電子装置は、船殻の外側の水の中へと伝達される信号を発生させるために適用されているトランスデューサーと、そして、トランスデューサーを封入しており、そして座部の貫通孔中に挿入されるよう適用されている下方部分及び座部の貫通孔中に下方部分を支持するよう座部に対し取り付けられるよう適用されているフランジ部分を有しているハウジングと、を備えている。下方部分及び下方部分に対し最も接近して配置されているフランジ部分の少なくとも部分が、水密であるとともにトランスデューサーにより発生された信号を透過させる材料の表面を有している。さらに、前記表面の一部分が、船殻の外側の水に対しトランスデューサーにより発生された信号を伝達するよう配置されているハウジングの窓を形成している。
水密表面が下方部分を横切って延出しており、さらには、フランジ部分上に至るまで延びているので、ハウジングと座部との間の密封のためのガスケットが、下方部分と座部との間よりもむしろフランジ部分と座部との間に位置されることができる。さらにガスケットは、下方部分の回りに必然的に緊密でなくともよく、下方部分の直径(又は幅)よりも大きな内直径を有することを許容されている。それにより、下方部分を取り囲んでいるO−リングが避けられてよい。平坦なプラスチック又はゴムのガスケットのような、より頑丈な型のガスケットが、代わりに使用されてよい。船殻装着電子装置はこれにより製造及び取り付けがより容易であり、そしてハウジングと座部との間の水漏れの危険性が減少される。
船殻装着電子装置が座部に対し設けられた時にガスケットにより範囲が定められているハウジングの部分は、ハウジングの濡れた部分として表されてよく、すなわち、船殻装着電子装置が使用された時に周囲の水に対し露出されたハウジングの部分である。ハウジングの残りの部分は、ハウジングの乾燥した部分として表されてよく、すなわち、周囲の水から密封されたハウジングの部分である。この概念によれば、濡れた部分はフランジ部分上までの完全に到達することができ、そして水密であるとともにトランスデューサー信号伝達材料の表面により完全に覆われることができる。したがって、この表面は、ハウジングの濡れた部分全体を覆っている水密バリアーを提供することができる。
さらには、水密材料はトランスデューサーの信号に対し伝達可能であるので、同一の材料が下方部分全体を覆い、そして別の窓部分の必要が無く、それによりハウジング中への水漏れの危険性を減少させている。
この明細書においては、船殻の貫通孔と整列した座部の貫通孔が、共通の貫通孔が提供されるよう少なくとも部分的に重複又は少なくとも部分的に一致する2つの貫通孔を含むことができる。したがって、この2つの貫通孔の中心は、下方部分の端部分が周囲の水に対し露出されることができるよう共通の貫通孔が設けられる限り必ずしも一致しなくでもよい。
一実施形態に従えば、水密であるとともにトランスデューサー信号伝達材料の表面は、接合されていなくてもよい。したがって、この表面は、材料の単一片の表面であってよく、そして、下方部分及び下方部部に最も接近して配置されているフランジ部分の少なくとも部分を継ぎ目なしで覆ってよく、これにより水漏れの危険性がさらに減少される。
1つの実施形態に従えば、その材料は、エポキシ又はポリウレタンのようなプラスチックを含む。プラスチックは通常、耐水性であると共にEM(電磁:electromagnetic)及び超音波信号の両方に対し伝達可能である。
1つの実施形態に従えば、座部に対面しているフランジ部分の表面が、少なくとも部分的に前記材料により覆われていてよい。座部に対面しているフランジ部分の表面は、座部上に(ガスケットを介して)着座しているハウジングの部分である。フランジ部分のこの表面は、フランジ部分の下側として表されてよい。したがって、水密であるとともにトランスデューサー信号伝達材料の表面は、フランジ部分の下側上に至るまで延びてもよい。
1つの実施形態に従えば、下方部分は円筒形であってよい。座部の貫通孔はまた任意に円筒形状であってよい。しかしながら、ガスケットはフランジ部分と座部との間に位置され、下方部分と座部との間に位置されないので、下方部分の横断面はO−リング中に適合するために円形である必要はなく、他の断面幾何学形状を有してもよい。
1つの実施形態に従えば、船殻装着電子装置は、船速測定装置又は音響測深機のようなナビゲーション装置であってよい。
1つの実施形態に従えば、船舶のための構造(arrengement)が提供される。この構造は、貫通孔を備えているとともに船舶の船殻に対し取り付けられるよう適用されている座部を備えていてよく、前記取り付けにより座部の貫通孔が船殻の貫通孔と整列する。この構造はさらに、前述の複数の実施形態の何れか1つにおいて規定されているような船殻装着電子装置を備えていてよい。
1つの実施形態に従えば、この構造は、ハウジングと座部との間の水漏れを阻止するためにフランジ部分と座部との間に適合されるよう適用されているガスケットをさらに備えてよい。ガスケットはハウジングの下方部分の回りに緊密に適合しなければならないことは無いので、O−リングよりも頑丈な型のガスケットが使用されてよく、ガスケットの損傷の危険性を減少させる。
1つの実施形態に従えば、ハウジングが座部に対し設置された時にガスケットにより範囲が定められているフランジ部分の少なくとも一部分が、水密であるとともにトランスデューサー信号伝達材料の表面を有してよい。これにより、ハウジングの少なくとも濡れ部分が、ハウジング中への水漏れの危険性を減少させるような表面を有してよい。
1つの実施形態に従えば、座部からの船殻装着電子装置の取り外しを容易にするために、座部の貫通孔が船殻の外側の水に向かう方向において先細にされて(tapered)いてよい。先細にされていない貫通孔であると、下方部分は貫通孔を形成している座部の壁に対し貼りつく傾向にある。例えば、座部の貫通孔は船殻の外側の水に向かう方向において連続して先細にされていてよい。あるいは又は補完として、座部は船殻の外側の水に向かう方向において階段状に先細にされていてよい。したがって、貫通孔の上方部分は貫通孔の下方部分の直径よりも大きな直径を有することができる。下方部分は座部の貫通孔に合致するよう適用されている対応した形状を任意に有してよい。あるいは、下方部分は真っ直ぐな(先細にされていない)形状を有してよい。
この発明の複数の実施形態は特許請求の範囲中に引用されている特徴の全ての可能な組み合わせに関係していることに注意されたい。
これらの態様及び他の複数の態様が、添付の図面を参照して、実施形態の以下の例示的及び非限定的な詳細な記載において、より詳細に記載される。
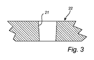
図1は、一実施形態に従っている構成の断面を示している。 図2は、図1中の構成の分解図である。 図3は一実施形態に従っている座部の一部分の断面を示している。 図4はもう1つの実施形態に従っている座部の一部分の断面を示している。
全ての図は概略的であり、必ずしも一定の縮尺ではなく、そして大略的には実施形態の説明するために必要な部位のみを示し、他の部位は省略されている。同様な参照数字は記載を通して同様な要素を参照している。
1つの実施形態に従っている、船舶のための構造1が、図1及び2を参照して説明する。
構造1は、座部10及び座部10に対し設置されるよう適用された船殻装着電子装置2を備えている。座部10は、座部10を通って延出している貫通孔11を備えている。座部10は次に、座部10の貫通孔11が船殻20の貫通孔12と整列するよう船舶の船殻20に対し固定されている。この例においては、座部10は船殻20の貫通孔12中に設置されている。あるいは、座部は座部の貫通孔が船殻の貫通孔に重複する(示されていない)ように船殻の内側上に設置されてよい。座部10は、船殻20と座部10との間の水漏れを阻止するために、例えば溶接により、船殻20に固定される。
船殻装着電子装置2は、ハウジング14により封入されているトランスデューサー16を備える。ケーブル8が船殻装着電子装置2を制御システム又は同様なものへと連結することができる。トランスデューサー16は、例えば、EM信号又は超音波信号を夫々伝達するよう適用されているEM(電磁:electromagnetic)トランスデューサー又は超音波トランスデューサーであってよい。ハウジング14は、下方部分3及びフランジ部分4を備えることができる。下方部分3は、座部10の貫通孔11中に適合するよう形作られていてよい。任意に、下方部分3は実質的に円筒状であってもよい。フランジ部分4は、座部10の上方表面上に着座するよう形作られていてよく、それにより下方部分3を座部10の貫通孔11中に支持している。フランジ部分4は、例えば、下方部分3よりも大きな直径(又は幅)を有してよく、そして任意にはまた円筒状であってよい。フランジ部分4は、例えばボルト6により座部10に対し固定することができる。ボルト6は、フランジ部分4を通り、そして座部10中へと延出することができる。ボルト6と船殻装着電子装置2との間の密封を提供するためにガスケット7が配置されてもよい。
下方部分3及び下方部分3に対し最も接近して配置されているフランジ部分4の少なくとも部分は、水密であると共にトランスデューサー16により生じさせられた信号を伝達可能である材料17の表面5により覆われてよい。この例においては、座部10に対面しているフランジ部分4の表面15の部分は、水密であると共にトランスデューサー16により生じさせられた信号を伝達可能である材料17の表面5により覆われている。材料17は、例えばエポキシ又はポリウレタンのようなプラスチックを含む。表面5の一部分は、トランスデューサー16により生じさせられた信号のための窓13を形成することができる。例えば、窓13は、船殻20の外側の水に対面している下方部分3の側のような下方部分3の端部分(底端)に配置されてよい。水密であると共にトランスデューサー信号伝達可能材料17の表面5は、例えばボルト6のための凹所18に至るまで実質的に延びている。
この例においては、トランスデューサー16は、水密であると共にトランスデューサー信号伝達可能材料17(中にモールドされるように)により封入されている。ハウジング14の下方部分3は、例えば水密であると共にトランスデューサー信号伝達可能材料17により実質的に全体的に形成されてよい。あるいは、水密であると共にトランスデューサー信号伝達可能材料の別の層が、(金属のようなもう1つの材料により形成されてよい)下方部分及び下方部分に対し最も接近して配置されているフランジ部分の少なくとも部分(示されていない)を覆ってもよい。
構造1はさらに、ハウジング14と座部10との間に密封を提供するために、フランジ部分14と座部10との間に配置されたガスケット9を備えている。ガスケット9は、例えば平坦であって弾性材料で形成されている。船殻装着電子装置2の取り付け時にガスケット9を通した下方部分3の挿入を容易にするよう、ガスケット9の内直径は、下方部分3の直径よりも1又は数センチメートル大きいように、下方部分3の直径よりも大きくてもよい。水密表面5がフランジ部分4上に至るまで到達し、そして、フランジ部分4の下側の少なくとも部位を覆うので、ガスケット9の直径の許容差は、フランジ部分4と座部10との間のガスケット9の正確な位置もまた同様に、より厳しくなくなる。
船殻装着電子装置2が座部10に取り付けられて、そして使用された時、下方部分3及びガスケット9により範囲が定められているフランジ部分4の前記部分は水に対し露出され、そして従ってハウジング14の濡れた部分として表される。ハウジング14の残りの部分は水から密封され、そして従ってハウジング14の乾いた部分として表される。表面5がハウジング14の少なくとも濡れた部分を覆い、そしてまた任意にハウジング14の乾いた部分の少なくとも一部を覆うので、いかなる接合又は継ぎ目を伴わない水密バリアーがハウジング14の少なくとも濡れた部分全体を覆う。
座部10の貫通孔11は任意に、船殻の外側の水に向かう方向において先細にされていてよい。この例においては、貫通孔11の上方(及び主要)部分が連続して先細に(すなわち、僅かに円錐状に)されており、そして貫通孔11の下方部分は階段状に先細にされている。すなわち、貫通孔の直径は貫通孔11の下方部分で断崖状に減少されている。
図3中に図示されているように、座部22の貫通孔21が代わりに、船殻の外側の水に向かう方向において完全に連続して先細にされていてよい。さらなる代替例に従えば、座部32の貫通孔31は、図4中に図示されているように、船殻の外側の水に向かう方向において単に階段状に先細にされている。座部の貫通孔の形とは無関係に、下方部分の形は座部の貫通孔の形と合致するよう適用されているか、あるいは、真っ直ぐ、先細でない、のように僅かに異なった形を有するか、のいずれであってもよい。
当該技術分野の当業者は、この発明が上に記載された複数の実施形態に決して限定されないことを十分に理解する。それどころか、多くの変形例及び変更が、添付の特許請求の範囲の範囲内で可能である。
さらには、記載されている複数の実施形態に対する変更は、図面,説明,そして添付の特許請求の範囲の検討から、特許請求された発明の具体化において当業者により理解され、そして実行されることができる。特許請求の範囲においては、用語「備える(comprising)」は他の構成要素又は他の工程を除外せず、そして不定冠詞「a」又は「an」は複数を除外しない。ある手段が相互に異なっている独立請求項において引用されているという単なる事実は、これらの手段の組み合わせが有利に使用できないということを示すものではない。

Claims (11)

  1. 貫通孔(11)を有している座部(10)に対し取り付けられるよう適用されている、船舶用の船殻装着電子装置(2)であって、座部は座部の貫通孔が船殻の貫通孔(12)と整列するよう船舶の船殻(20)に対し取り付け可能であり、
    船殻の外側の水の中へと伝達される信号を発生させるために適用されているトランスデューサー(16)と、そして、
    トランスデューサーを封入し、そして座部の貫通孔中に挿入されるよう適用されている下方部分(3)及び座部の貫通孔中に下方部分を支持するよう座部に対し取り付けられるよう適用されているフランジ部分(4)を有しているハウジング(14)と、
    を備えていて、
    ここにおいては、下方部分及び下方部分に対し最も接近して配置されているフランジ部分の少なくとも部分が、水密であるとともにトランスデューサーにより発生された信号を透過させる材料(17)の表面(5)を有しており、そして、
    ここにおいては、前記表面の一部分が、船殻の外側の水に対しトランスデューサーにより発生された信号を伝達するよう配置されているハウジングの窓(13)を形成している、
    船殻装着電子装置。
  2. 前記表面が接合されていない、請求項1に記載の船殻装着電子装置。
  3. 前記材料が、エポキシ又はポリウレタンのようなプラスチックを含む、請求項1又は2に記載の船殻装着電子装置。
  4. 座部に対面しているフランジ部分の表面(15)が、少なくとも部分的に前記材料により覆われている、請求項1乃至3の何れか1項に記載の船殻装着電子装置。
  5. 前記下方部分が円筒形である、請求項1乃至4の何れか1項に記載の船殻装着電子装置。
  6. 前記船殻装着電子装置が、船速測定装置又は音響測深機のようなナビゲーション装置である、請求項1乃至5の何れか1項に記載の船殻装着電子装置。
  7. 船舶のための構造(1)であって、前記構造は、
    貫通孔(11)を備えているとともに船舶の船殻(20)に対し取り付けられるよう適用されている座部(10)を備え、前記取り付けにより座部の貫通孔が前記船殻の貫通孔(12)と整列し、
    そして、
    請求項1乃至6の何れか1項に記載の船殻装着電子装置(2)を備えている、
    構造。
  8. 前記ハウジングと前記座部との間の水漏れを阻止するために前記フランジ部分と前記座部との間に適合されるよう適用されているガスケット(9)をさらに備えている、請求項7に記載の構造。
  9. 前記ハウジングが前記座部に対し設置された時にガスケットにより範囲が定められている前記フランジ部分の少なくとも一部分が、前記表面により覆われている、請求項8に記載の構造。
  10. 前記座部(8)の前記貫通孔(21)が前記船殻の外側の水に向かう方向において先細にされている、請求項7乃至9の何れか1項に記載の構造。
  11. 前記座部の前記貫通孔が前記船殻の外側の水に向かう方向において連続して先細にされている、請求項7乃至10の何れか1項に記載の構造。
JP2018513905A 2015-05-29 2016-05-26 船舶用の船殻装着電子装置 Active JP6968782B2 (ja)

Applications Claiming Priority (3)

Application Number Priority Date Filing Date Title
EP15169770.3 2015-05-29
EP15169770.3A EP3098622B1 (en) 2015-05-29 2015-05-29 Hull-fitted electronic device for a vessel
PCT/EP2016/061927 WO2016193120A1 (en) 2015-05-29 2016-05-26 Hull-fitted electronic device for a vessel

Publications (2)

Publication Number Publication Date
JP2018517618A true JP2018517618A (ja) 2018-07-05
JP6968782B2 JP6968782B2 (ja) 2021-11-17

Family

ID=53284058

Family Applications (1)

Application Number Title Priority Date Filing Date
JP2018513905A Active JP6968782B2 (ja) 2015-05-29 2016-05-26 船舶用の船殻装着電子装置

Country Status (9)

Country Link
US (1) US10991354B2 (ja)
EP (1) EP3098622B1 (ja)
JP (1) JP6968782B2 (ja)
KR (1) KR102603714B1 (ja)
CN (1) CN107660302B (ja)
DK (1) DK3098622T3 (ja)
ES (1) ES2778225T3 (ja)
TW (1) TWI693181B (ja)
WO (1) WO2016193120A1 (ja)

Families Citing this family (6)

* Cited by examiner, † Cited by third party
Publication number Priority date Publication date Assignee Title
CN109204736A (zh) * 2018-11-12 2019-01-15 江龙船艇科技股份有限公司 一种简易测深仪
CN109541253B (zh) * 2018-11-29 2021-08-20 中国船舶重工集团公司第七0七研究所九江分部 一种用于舰船测速的两维电磁和声学集成的测速传感器
CN111055964A (zh) * 2019-12-09 2020-04-24 中船西江造船有限公司 一种船用测深仪安装装置
CN111473195A (zh) * 2020-04-02 2020-07-31 澳龙船艇科技有限公司 一种可拆卸式探测仪安装座
CN115140238A (zh) * 2022-07-07 2022-10-04 大连船舶重工集团有限公司 一种船底外探式流线型消泡附体及其设计方法
CN118688808A (zh) * 2023-05-30 2024-09-24 海底鹰深海科技股份有限公司 分体式声呐和声呐组件及其制造方法

Citations (13)

* Cited by examiner, † Cited by third party
Publication number Priority date Publication date Assignee Title
US1401024A (en) * 1917-11-12 1921-12-20 Submarine Signal Co Diaphragm-mounting
US1582105A (en) * 1921-05-11 1926-04-27 Walker Signal And Equipment Co Submarine signaling apparatus
US1906446A (en) * 1929-10-31 1933-05-02 Submarine Signal Co Sound receiving apparatus
US2560066A (en) * 1948-11-27 1951-07-10 Raytheon Mfg Co Hydrophone mounting
JPS50117865U (ja) * 1974-03-07 1975-09-26
JPS5679543A (en) * 1979-08-14 1981-06-30 Blanchut & Bertrand Sa Electroacoustic device for generating and identifying underwater signal in ship
JPS5851276U (ja) * 1981-10-02 1983-04-07 石川島播磨重工業株式会社 水中超音波装置のトランスデユ−サ取付装置
US5177891A (en) * 1990-07-17 1993-01-12 Holt Steven P Game fish attracting device
JPH1143094A (ja) * 1997-07-25 1999-02-16 Tech Res & Dev Inst Of Japan Def Agency 船舶におけるセンサ交換型計測装置
US20080083360A1 (en) * 2006-10-10 2008-04-10 Steven Robert Rowley Window housing for use with thru-hull fittings
JP2009214610A (ja) * 2008-03-07 2009-09-24 Denso Corp 超音波センサの取り付け構造
KR20130081568A (ko) * 2012-01-09 2013-07-17 삼성중공업 주식회사 선박
CN203544341U (zh) * 2013-11-13 2014-04-16 中船重工(昆明)灵湖科技发展有限公司 一种便于定位和安装的水声换能器

Family Cites Families (39)

* Cited by examiner, † Cited by third party
Publication number Priority date Publication date Assignee Title
US3123176A (en) * 1964-03-03 greenberg
BE562102A (ja) 1956-11-05
US3495211A (en) * 1968-04-09 1970-02-10 Us Navy Stainless steel diaphragm sonar transducer apparatus
US3734179A (en) * 1969-07-24 1973-05-22 W Smedley Well packer & pump apparatus
US3647230A (en) * 1969-07-24 1972-03-07 William L Smedley Well pipe seal
US3748637A (en) * 1971-10-22 1973-07-24 C W S Ind Inc Sonar transducer assembly
JPS5318893B2 (ja) 1971-12-03 1978-06-17
US3780220A (en) * 1972-08-14 1973-12-18 Us Navy Remote control underwater observation vehicle
JPS5832559B2 (ja) 1979-07-04 1983-07-13 株式会社 モリタ製作所 空中超音波パルスの伝送方式並びにこれに用いる超音波送受波具
DE3012038C2 (de) 1980-03-28 1982-08-19 Honeywell-Elac-Nautik Gmbh, 2300 Kiel Elektroakustischer Wasserschallwandler
US4388709A (en) * 1981-01-19 1983-06-14 The Bendix Corporation Funnel construction for a dipping sonar
DE8805953U1 (de) * 1988-05-05 1988-07-07 Höntzsch GmbH, 71334 Waiblingen Elektroakustischer Wandler
US5088068A (en) * 1990-12-04 1992-02-11 Littoral, Inc. Hand-held underwater distance measurement device
US5186428A (en) * 1990-12-19 1993-02-16 Canyon Enterprises, Inc. Depth gauge transducer retractor device
US5297109A (en) * 1992-07-27 1994-03-22 American Oilfield Divers, Inc. Piling and pier inspection apparatus and method
US5838635A (en) * 1994-11-14 1998-11-17 Masreliez; Karl Thin speed transducer sensor
US5661466A (en) * 1995-02-07 1997-08-26 Robertshaw Controls Company Angular displacement signalling device
US5697319A (en) * 1996-06-12 1997-12-16 Lowrance Electronics, Inc. Boat hull having the capability of installing an optional transducer
US6247364B1 (en) * 1997-10-27 2001-06-19 Thomas P. Kicher & Co. Acceleration transducer and method
US6269763B1 (en) * 1998-02-20 2001-08-07 Richard Lawrence Ken Woodland Autonomous marine vehicle
US6053683A (en) * 1999-02-04 2000-04-25 Cabiran; Michel Lewis Threaded seal cap for a connector
KR100329284B1 (ko) * 1999-08-05 2002-03-18 황해웅 날개형 초음파 트랜스듀서
US6276503B1 (en) * 1999-12-08 2001-08-21 Donald J. Laughlin, Jr. Portable reel apparatus and method
US20040129078A1 (en) * 2001-06-18 2004-07-08 Kicher Thomas P. Acceleration transducer and method
US6791902B1 (en) * 2002-05-30 2004-09-14 Techsonic Industries, Inc. Portable fish finder
US7044623B2 (en) * 2003-11-21 2006-05-16 Deepsea Power & Light Thru-hull light
US20060108022A1 (en) * 2004-11-22 2006-05-25 Justrite Manufacturing Company Llc Funnel with pivotable mounting bracket
WO2007089246A2 (en) * 2005-02-09 2007-08-09 Giraffe Liquid Management Systems, Inc. Adjustable height inlet/outlet liquid level management tools and systems
JP2006345312A (ja) * 2005-06-09 2006-12-21 Denso Corp 超音波センサ及び超音波振動子
CN101072452A (zh) * 2005-12-27 2007-11-14 中国科学院声学研究所 深海压电水声换能器及其制造方法
EP2152569A4 (en) * 2007-04-30 2011-06-22 Revolt Boats Llc IMPROVED ELECTRIC THRUSTER
US8677920B1 (en) * 2007-08-30 2014-03-25 Ocom Technology LLC Underwater vehicle
US8456957B2 (en) * 2008-01-29 2013-06-04 Schneider Electric USA, Inc. Ultrasonic transducer for a proximity sensor
WO2012145479A1 (en) * 2011-04-21 2012-10-26 Rensselaer Polytechnic Institute Ultrasonic high temperature and pressure housing for piezoelectric-acoustic channels
US9142206B2 (en) 2011-07-14 2015-09-22 Navico Holding As System for interchangeable mounting options for a sonar transducer
US8712233B2 (en) * 2012-02-24 2014-04-29 Apple Inc. Electronic device assemblies
US9851024B2 (en) * 2016-05-25 2017-12-26 Loren Piotrowski Pass through fitting for cables and the like
US9914519B2 (en) * 2016-06-30 2018-03-13 Confluence Outdoor, Llc Propulsion system for a watercraft
US10325582B2 (en) * 2016-07-28 2019-06-18 Navico Holding As Transducer mounting assembly

Patent Citations (13)

* Cited by examiner, † Cited by third party
Publication number Priority date Publication date Assignee Title
US1401024A (en) * 1917-11-12 1921-12-20 Submarine Signal Co Diaphragm-mounting
US1582105A (en) * 1921-05-11 1926-04-27 Walker Signal And Equipment Co Submarine signaling apparatus
US1906446A (en) * 1929-10-31 1933-05-02 Submarine Signal Co Sound receiving apparatus
US2560066A (en) * 1948-11-27 1951-07-10 Raytheon Mfg Co Hydrophone mounting
JPS50117865U (ja) * 1974-03-07 1975-09-26
JPS5679543A (en) * 1979-08-14 1981-06-30 Blanchut & Bertrand Sa Electroacoustic device for generating and identifying underwater signal in ship
JPS5851276U (ja) * 1981-10-02 1983-04-07 石川島播磨重工業株式会社 水中超音波装置のトランスデユ−サ取付装置
US5177891A (en) * 1990-07-17 1993-01-12 Holt Steven P Game fish attracting device
JPH1143094A (ja) * 1997-07-25 1999-02-16 Tech Res & Dev Inst Of Japan Def Agency 船舶におけるセンサ交換型計測装置
US20080083360A1 (en) * 2006-10-10 2008-04-10 Steven Robert Rowley Window housing for use with thru-hull fittings
JP2009214610A (ja) * 2008-03-07 2009-09-24 Denso Corp 超音波センサの取り付け構造
KR20130081568A (ko) * 2012-01-09 2013-07-17 삼성중공업 주식회사 선박
CN203544341U (zh) * 2013-11-13 2014-04-16 中船重工(昆明)灵湖科技发展有限公司 一种便于定位和安装的水声换能器

Also Published As

Publication number Publication date
ES2778225T3 (es) 2020-08-10
DK3098622T3 (da) 2020-03-09
KR102603714B1 (ko) 2023-11-17
TWI693181B (zh) 2020-05-11
EP3098622B1 (en) 2020-01-01
WO2016193120A1 (en) 2016-12-08
CN107660302A (zh) 2018-02-02
JP6968782B2 (ja) 2021-11-17
CN107660302B (zh) 2021-09-14
KR20180030788A (ko) 2018-03-26
US10991354B2 (en) 2021-04-27
EP3098622A1 (en) 2016-11-30
US20180151165A1 (en) 2018-05-31
TW201706177A (zh) 2017-02-16

Similar Documents

Publication Publication Date Title
JP2018517618A (ja) 船舶用の船殻装着電子装置
US11367425B2 (en) Sonar transducer with multiple mounting options
US9086473B2 (en) Arrangement on a component of a motor vehicle
JP2012154791A (ja) 船舶用ソナードームおよび船舶用ソナー装置
MX2022007507A (es) Calentador de agua con un sistema de deteccion de fuga integrado.
JP3999187B2 (ja) 超音波センサの実装構造
JP7576611B2 (ja) 一体化された保護を伴うソナー変換器モジュール
JPH0143658Y2 (ja)
CN103733250B (zh) 用于交通运输工具的超声波传感器装置以及带有此类超声波传感器装置的装置
KR101128010B1 (ko) 선체부착형 음파탐지기 및 이를 구비한 선박
US6377516B1 (en) Ultrasonic transducer with low cavitation
JP5691431B2 (ja) 送受波器保護装置
AU2020215190A1 (en) Device for cladding an underwater sound receiver
JPS60120226A (ja) 船舶の水中音検知装置
US1632331A (en) Submarine sound receiver
KR20230080595A (ko) 누수 검출 디바이스
WO2016209119A1 (ru) Гидроакустическое устройство
JPS6044836A (ja) 船舶の水中雑音検知方法
RU156897U1 (ru) Гидроакустическое устройство
JPS5846711B2 (ja) ドプラソナ−ナドニオケル ソウジユシンソウチ
KR960016396B1 (ko) 음향 탐지장치
JPH11331986A (ja) 水中センサ装置
CN110678779A (zh) 电子结构单元
JPH05340932A (ja) 水浸式超音波探触子の防水構造
JP2521881Y2 (ja) 超音波送受波器ドーム

Legal Events

Date Code Title Description
A621 Written request for application examination

Free format text: JAPANESE INTERMEDIATE CODE: A621

Effective date: 20190320

A977 Report on retrieval

Free format text: JAPANESE INTERMEDIATE CODE: A971007

Effective date: 20200323

A131 Notification of reasons for refusal

Free format text: JAPANESE INTERMEDIATE CODE: A131

Effective date: 20200414

A711 Notification of change in applicant

Free format text: JAPANESE INTERMEDIATE CODE: A711

Effective date: 20200520

A521 Request for written amendment filed

Free format text: JAPANESE INTERMEDIATE CODE: A821

Effective date: 20200521

A521 Request for written amendment filed

Free format text: JAPANESE INTERMEDIATE CODE: A523

Effective date: 20200623

A02 Decision of refusal

Free format text: JAPANESE INTERMEDIATE CODE: A02

Effective date: 20200923

A521 Request for written amendment filed

Free format text: JAPANESE INTERMEDIATE CODE: A523

Effective date: 20201118

C60 Trial request (containing other claim documents, opposition documents)

Free format text: JAPANESE INTERMEDIATE CODE: C60

Effective date: 20201118

A911 Transfer to examiner for re-examination before appeal (zenchi)

Free format text: JAPANESE INTERMEDIATE CODE: A911

Effective date: 20201126

C21 Notice of transfer of a case for reconsideration by examiners before appeal proceedings

Free format text: JAPANESE INTERMEDIATE CODE: C21

Effective date: 20201201

A912 Re-examination (zenchi) completed and case transferred to appeal board

Free format text: JAPANESE INTERMEDIATE CODE: A912

Effective date: 20210108

C211 Notice of termination of reconsideration by examiners before appeal proceedings

Free format text: JAPANESE INTERMEDIATE CODE: C211

Effective date: 20210119

C22 Notice of designation (change) of administrative judge

Free format text: JAPANESE INTERMEDIATE CODE: C22

Effective date: 20210209

C22 Notice of designation (change) of administrative judge

Free format text: JAPANESE INTERMEDIATE CODE: C22

Effective date: 20210413

C13 Notice of reasons for refusal

Free format text: JAPANESE INTERMEDIATE CODE: C13

Effective date: 20210420

A521 Request for written amendment filed

Free format text: JAPANESE INTERMEDIATE CODE: A523

Effective date: 20210608

C23 Notice of termination of proceedings

Free format text: JAPANESE INTERMEDIATE CODE: C23

Effective date: 20210824

C03 Trial/appeal decision taken

Free format text: JAPANESE INTERMEDIATE CODE: C03

Effective date: 20210928

C30A Notification sent

Free format text: JAPANESE INTERMEDIATE CODE: C3012

Effective date: 20210928

A61 First payment of annual fees (during grant procedure)

Free format text: JAPANESE INTERMEDIATE CODE: A61

Effective date: 20211027

R150 Certificate of patent or registration of utility model

Ref document number: 6968782

Country of ref document: JP

Free format text: JAPANESE INTERMEDIATE CODE: R150

R250 Receipt of annual fees

Free format text: JAPANESE INTERMEDIATE CODE: R250

R250 Receipt of annual fees

Free format text: JAPANESE INTERMEDIATE CODE: R250