JP2018106972A - Ledバックライト装置およびled画像表示装置 - Google Patents
Ledバックライト装置およびled画像表示装置 Download PDFInfo
- Publication number
- JP2018106972A JP2018106972A JP2016253331A JP2016253331A JP2018106972A JP 2018106972 A JP2018106972 A JP 2018106972A JP 2016253331 A JP2016253331 A JP 2016253331A JP 2016253331 A JP2016253331 A JP 2016253331A JP 2018106972 A JP2018106972 A JP 2018106972A
- Authority
- JP
- Japan
- Prior art keywords
- optical sheet
- spacer
- led
- spacer portion
- sheet
- Prior art date
- Legal status (The legal status is an assumption and is not a legal conclusion. Google has not performed a legal analysis and makes no representation as to the accuracy of the status listed.)
- Pending
Links
Images
Landscapes
- Liquid Crystal (AREA)
- Planar Illumination Modules (AREA)
- Led Device Packages (AREA)
Abstract
【課題】第1のスペーサ部からの第1の光学シートの剥がれを抑制でき、かつ、LED素子に対する第1の光学シートの位置ずれを抑制できるLEDバックライト装置、およびこれを備えたLED表示装置を提供する。【解決手段】LEDバックライト装置は、LED実装基板と、第1の光学シート50と、第1の光学シート50の光出射側に配置された第2の光学シート60と、LED実装基板に対し第1の光学シート50を離間させる第1のスペーサ部71および第1の光学シート50に対し第2の光学シート60を離間させる枠状の第2のスペーサ部72と、を備える。第1のスペーサ部71が第2のスペーサ部72の内側に位置し、第2のスペーサ部72の内側面72Aのうち、第1の光学シート50の外周面50Aと対向する部分72Bよりも第2の光学シート60側の部分72Cの少なくとも一部が、幅方向内側に位置している。【選択図】図3
Description
本発明は、LEDバックライト装置およびLED画像表示装置に関する。
近年、急速に普及が進んだLED画像表示装置は、通常、液晶表示パネル等の表示画面と、この表示画面を背面側から照明するLEDバックライト装置とを備えている。現在、LED画像表示装置においては、通常、エッジライト型のLEDバックライト装置が用いられることが多いが、明るさの観点から、直下型のLEDバックライト装置を用いることが検討されている。
直下型のLEDバックライト装置においては、LEDバックライト装置の発光面における輝度の面内均一性を向上させる等の観点から、LED素子上に複数枚の光学シートを配置している(特許文献1参照)。このような光学シートとして、例えば、光拡散シートと、LED素子と光拡散シートの間に配置され、LED素子からの光を反射する白色等の樹脂製反射材シートに、LED素子直上からLED素子の周囲に向かうに従って徐々に開口部が大きくなるような開口パターンを形成した光透過反射シートとを用いる場合がある。
このような光透過反射シートおよび光拡散シートによって、輝度の面内均一性を向上させるためには、LED素子が実装されたLED実装基板に対して光透過反射シートを離間させるとともに、光透過反射シートに対して光拡散シートを離間させる必要がある。このため、通常、LED実装基板に対して光透過反射シートを離間させるための複数の柱状の第1のスペーサを配置するとともに、第1のスペーサとは別に、光透過反射シートに対して光拡散シートを離間させるための複数の柱状の第2のスペーサを配置している。
ところで、例えば自動車等の分野においては、意匠性が非常に重要視される。現在、このような分野に適用される画像表示装置においては、単に映像を表示する機能が期待されているだけでなく、意匠面において、全体との調和も要求されている。このため、意匠性の観点から、現在、曲面状のLED画像表示装置が望まれている。また、広告分野においても、意匠性等の観点から、円柱状の柱の表面に沿って設置可能な広告媒体としての曲面状のLED画像表示装置が望まれている。したがって、LED画像表示装置に組み込まれるLEDバックライト装置においても曲面状する必要があるために、曲げ可能なものが望まれている。
しかしながら、光反射シートと第1のスペーサとが接着等によって固定されている状態で、LEDバックライト装置を曲げると、光透過反射シートが第1のスペーサから剥がれるおそれがある。
また、自動車分野においては、自動車から振動が発生するので、自動車の振動が自動車に搭載されたLED画像表示装置にも伝わることがある。さらに、広告分野においても、例えば、駅のホーム等の看板や車輪等を有する移動式の看板にLED画像表示を用いた場合には、電車等の振動や移動する際の振動がLED画像表示装置にも伝わることがある。
一方で、LEDバックライト装置中に配置される光学シートの中には、LED素子に対する位置合わせが重要となるものがある。例えば、光透過反射シートにおいては、LED素子に対する光透過反射シートの位置がずれると、輝度の面内均一性が低下してしまうおそれがある。
しかしながら、従来のLEDバックライト装置においては、振動や衝撃に対する対策が何等採られていないのが現状である。このため、上記したような柱状の第1のスペーサおよび第2のスペーサを用いると、LED素子と光学シートとの位置合わせが正確に行われたとしても、自動車や電車等の振動や何等かの要因で衝撃がLEDバックライト装置に加わると、LED素子に対する光学シートの位置がずれてしまうおそれがある。
本発明は、上記問題を解決するためになされたものである。すなわち、LEDバックライト装置を曲げた場合における第1のスペーサ部からの第1の光学シートの剥がれを抑制でき、かつLED素子に対する第1の光学シートの位置ずれを抑制できるLEDバックライト装置、およびこれを備えたLED表示装置を提供することを目的とする。
本発明の一の態様によれば、フレキシブル配線基板、および前記フレキシブル配線基板の一方の面に実装された複数のLED素子を備えるLED実装基板と、前記複数のLED素子と対向するように配置された第1の光学シートと、前記第1の光学シートの光出射側に配置された第2の光学シートと、前記フレキシブル配線基板と前記第1の光学シートとの間に配置され、前記フレキシブル配線基板および前記第1の光学シートと固定され、かつ前記LED実装基板に対し前記第1の光学シートを離間させる第1のスペーサ部、および前記第1の光学シートの外周面を取り囲むように配置され、かつ前記第1の光学シートに対し前記第2の光学シートを離間させる枠状の第2のスペーサ部を有するスペーサと、を備え、前記第1のスペーサ部が前記第2のスペーサ部の内側に位置し、前記第2のスペーサの内側面のうち、前記第1の光学シートの前記外周面と対向する部分よりも前記第2の光学シート側の部分の少なくとも一部が、前記第1の光学シートの前記外周面よりも前記第2のスペーサの幅方向内側に位置していることを特徴とする、LEDバックライト装置が提供される。
上記LEDバックライト装置において、前記第1のスペーサ部が、前記第2のスペーサ部と一体的に設けられていてもよい。
上記LEDバックライト装置において、前記第1の光学シートの外周面と前記第2のスペーサ部の内側面との間に隙間を有していてもよい。
上記LEDバックライト装置において、内底面、および前記内底面から立ち上がる内側面を有する筐体をさらに備え、前記LED実装基板、前記第1の光学シート、前記第2の光学シート、および前記スペーサが前記筐体内に配置され、前記第2のスペーサ部の底面が前記筐体の前記内底面に接し、かつ前記筐体の前記内側面と前記第2のスペーサ部の外側面との間に隙間を有していてもよい。
上記LEDバックライト装置において、前記第1のスペーサ部が、前記第2のスペーサ部の前記内側面の周方向に沿って設けられた枠部と、前記枠部よりも内側に位置し、前記第1のスペーサの高さ方向に貫通し、かつ前記各LED素子からの光を通過させる複数の開口部と、前記開口部間に位置し、前記枠部と一体的に設けられた桟部とを有していてもよい。
上記LEDバックライト装置において、前記第1のスペーサ部が、格子状またはハニカム状であってもよい。
上記LEDバックライト装置において、前記第1の光学シートが、平面視において複数に分割された区画領域を備え、前記各区画領域が、前記LED素子からの光の一部を透過する複数の透過部と、前記LED素子からの光の一部を反射する複数の反射部とを有し、前記各区画領域における前記透過部の面積割合である開口率が、前記区画領域の中央部から前記区画領域の外縁部に向けて漸増していてもよい。
本発明の他の態様によれば、上記LEDバックライト装置と、前記LEDバックライト装置よりも観察者側に配置された表示パネルとを備える、LED画像表示装置が提供される。
本発明の一の態様によれば、第1の光学シートにおける第1のスペーサ部からの剥がれを抑制でき、かつLED素子に対する第1の光学シートの位置ずれを抑制できるLEDバックライト装置を提供することができる。また、本発明の他の態様によれば、このようなLEDバックライト装置を備えるLED画像表示装置を提供することができる。
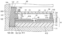
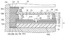
以下、本発明の実施形態に係るLEDバックライト装置およびLED画像表示装置について、図面を参照しながら説明する。本明細書において、「LED」とは、発光ダイオードを意味するものである。また、「シート」、「フィルム」、「板」等の用語は、呼称の違いのみに基づいて、互いから区別されるものではない。したがって、例えば、「シート」は、フィルムや板とも呼ばれるような部材も含む意味で用いられる。図1は本実施形態に係るLED画像表示装置の分解斜視図であり、図2は本実施形態に係るLED画像表示装置の概略構成図であり、図3は本実施形態に係るLEDバックライト装置の一部の拡大断面図である。図4は図1に示される第1の光学シートの平面図であり、図5は実施形態に係る他の第1の光学シートの平面図である。図6は図1に示されるスペーサの平面図であり、図7は図1に示される第1の光学シートとスペーサの上面図であり、図8は図1に示される第1の光学シートとスペーサの上面図である。図9は実施形態に係る他のスペーサの上面図であり、図10および図11は実施形態に係る他のLEDバックライト装置の一部の拡大断面図であり、図12は図1に示されるレンズシートの断面図である。
<<<<LED画像表示装置>>>>
図1および図2に示されるLED画像表示装置10は、直下型のLEDバックライト装置20と、LEDバックライト装置20よりも観察者側に配置された表示パネル110とを備えている。
図1および図2に示されるLED画像表示装置10は、直下型のLEDバックライト装置20と、LEDバックライト装置20よりも観察者側に配置された表示パネル110とを備えている。
<<<表示パネル>>>
図1および図2に示される表示パネル110は、液晶表示パネルであり、入光側に配置された偏光板111と、出光側に配置された偏光板112と、偏光板111と偏光板112との間に配置された液晶セル113とを備えている。偏光板111、112および液晶セル113としては、公知の偏光板および液晶セルを用いることができる。
図1および図2に示される表示パネル110は、液晶表示パネルであり、入光側に配置された偏光板111と、出光側に配置された偏光板112と、偏光板111と偏光板112との間に配置された液晶セル113とを備えている。偏光板111、112および液晶セル113としては、公知の偏光板および液晶セルを用いることができる。
<<<LEDバックライト装置>>>
図1および図2に示されるLEDバックライト装置20は、筐体30と、LED実装基板40と、第1の光学シート50と、第2の光学シート60と、スペーサ70とを備えている。また、LEDバックライト装置20は、その他、第2の光学シート60に積層されたレンズシート80および反射型偏光分離シート90を備えている。なお、LEDバックライト装置20は、LED実装基板40、第1の光学シート50、第2の光学シート60、およびスペーサ70を備えていればよく、筐体30、レンズシート80、または反射型偏光分離シート90を備えていなくともよい。
図1および図2に示されるLEDバックライト装置20は、筐体30と、LED実装基板40と、第1の光学シート50と、第2の光学シート60と、スペーサ70とを備えている。また、LEDバックライト装置20は、その他、第2の光学シート60に積層されたレンズシート80および反射型偏光分離シート90を備えている。なお、LEDバックライト装置20は、LED実装基板40、第1の光学シート50、第2の光学シート60、およびスペーサ70を備えていればよく、筐体30、レンズシート80、または反射型偏光分離シート90を備えていなくともよい。
車載用LEDバックライト装置は車両内の非常に狭い空間に配置されるので、一般のLEDバックライト装置よりも薄型化を図ることが望まれている。このため、LEDバックライト装置20を車載用途で用いる場合には、LEDバックライト装置20の総厚は、15mm以下となっていることが好ましく、10mm以下となっていることがより好ましい。「LEDバックライト装置」の総厚とは、図2に示される筐体30の外底面30Cから反射型偏光分離シート90の表面90Aまでの距離を意味するものとする。
<<筐体>>
筐体30は、少なくとも、LED実装基板40、第1の光学シート50、第2の光学シート60、およびスペーサ70を収容するものである。本実施形態においては、筐体30は、LED実装基板40等の他、レンズシート80、および反射型偏光分離シート90も収容している。
筐体30は、少なくとも、LED実装基板40、第1の光学シート50、第2の光学シート60、およびスペーサ70を収容するものである。本実施形態においては、筐体30は、LED実装基板40等の他、レンズシート80、および反射型偏光分離シート90も収容している。
筐体30は、LED実装基板40等を収容する収容空間30Aを備えている。筐体30は、図2または図3に示されるように、内側の底面である内底面30B、外側の底面である外底面30C、および内底面30Bから立ち上がる内側の側面である内側面30Dを有している。また、筐体30は、図2に示されるように、LED素子42からの光を筐体30から出射させるための開口部30Eを有している。開口部30Eは、内底面30Bに対向する位置に設けられていることが好ましい。開口部30Eの形状は、特に限定されず、例えば、矩形状または円形状が挙げられる。
図1および図2に示される筐体30は、収容空間30Aを有する筐体本体31と、筐体本体31の収容空間30Aを覆い、かつ開口部30Eを有する枠状の蓋体32とを備えている。筐体30においては、筐体30の内底面30Bは筐体本体31の内底面となっており、筐体30の内側面30Dは筐体本体31の内側面となっている。
筐体30(筐体本体31および蓋体32)は、金属から構成されていることが好ましい。特に、筐体本体31を金属から構成することによって、筐体本体31が放熱構造体としても機能するので、LED素子42からの熱を効率良く、放熱させることができる。金属としては、特に限定されないが、例えば、アルミニウム等が挙げられる。なお、LEDバックライト装置20を曲げる場合、筐体30が曲げ可能な場合には、筐体30を筐体30内に収容される収容物とともに曲げてもよいが、筐体30としては予め曲げておいたものを使用することが好ましい。
<<LED実装基板>>
LED実装基板40は、フレキシブル配線基板41と、フレキシブル配線基板41の一方の面(以下、この面を「表面」と称する。)41Aに実装された複数のLED素子42とを備えている。フレキシブル配線基板41を用いることにより、曲げ可能なLED実装基板40を得ることが可能となる。本明細書における「フレキシブル」とは、柔軟性があることを意味しており、「フレキシブル配線基板」とは、一般的に可撓性があり、曲げることが可能な配線基板を意味するものとする。本明細書における「可撓性」とは、少なくとも曲率半径が1mとなるように曲がることを意味する。フレキシブル配線基板は、曲率半径が、好ましくは50cm、より好ましくは30cm、更に好ましくは10cm、特に好ましくは5cmとなるように曲がる。
LED実装基板40は、フレキシブル配線基板41と、フレキシブル配線基板41の一方の面(以下、この面を「表面」と称する。)41Aに実装された複数のLED素子42とを備えている。フレキシブル配線基板41を用いることにより、曲げ可能なLED実装基板40を得ることが可能となる。本明細書における「フレキシブル」とは、柔軟性があることを意味しており、「フレキシブル配線基板」とは、一般的に可撓性があり、曲げることが可能な配線基板を意味するものとする。本明細書における「可撓性」とは、少なくとも曲率半径が1mとなるように曲がることを意味する。フレキシブル配線基板は、曲率半径が、好ましくは50cm、より好ましくは30cm、更に好ましくは10cm、特に好ましくは5cmとなるように曲がる。
LED実装基板40は、図2に示されるように、フレキシブル配線基板41におけるLED素子42が実装された表面41Aとは反対側の面(以下、この面を「裏面」と称する)41Bが筐体30の内底面30B側に位置するように筐体30内に配置されている。
<フレキシブル配線基板>
フレキシブル配線基板41は、筐体30の内底面30Bに沿って配置されている。フレキシブル配線基板41の裏面41Bは、筐体30の内底面30Bと接していることが好ましい。フレキシブル配線基板41における裏面41Bが筐体30の内底面30Bと接することにより、フレキシブル配線基板41等の熱を効率良く筐体30側に放熱させることができる。本明細書において、「フレキシブル配線基板の裏面が筐体の内底面と接している」とは、フレキシブル配線基板の裏面が筐体の内底面に直接接触している場合に限らず、フレキシブル配線基板の裏面と筐体の内底面との間に、両面テープ、粘着剤または接着剤等、熱伝導という観点でほぼ無視できる層が介在している場合をも含む概念である。
フレキシブル配線基板41は、筐体30の内底面30Bに沿って配置されている。フレキシブル配線基板41の裏面41Bは、筐体30の内底面30Bと接していることが好ましい。フレキシブル配線基板41における裏面41Bが筐体30の内底面30Bと接することにより、フレキシブル配線基板41等の熱を効率良く筐体30側に放熱させることができる。本明細書において、「フレキシブル配線基板の裏面が筐体の内底面と接している」とは、フレキシブル配線基板の裏面が筐体の内底面に直接接触している場合に限らず、フレキシブル配線基板の裏面と筐体の内底面との間に、両面テープ、粘着剤または接着剤等、熱伝導という観点でほぼ無視できる層が介在している場合をも含む概念である。
フレキシブル配線基板41においては、図3に示されるように、第1の光学シート50に向けて、樹脂フィルム43と、金属配線部44と、絶縁性保護膜45と、反射層46とをこの順で積層されている。ただし、フレキシブル配線基板41は、絶縁性保護膜45や反射層46を備えていなくともよい。また、金属配線部44は、樹脂フィルム43に対し、接着層47を介したドライラミネート法によって接着されていることが好ましい。さらに、金属配線部44は、LED素子42とはんだ層48を介して電気的に接続されている。
(樹脂フィルム)
樹脂フィルム43は、可撓性を有している。樹脂フィルム43は、曲率半径が、好ましくは50cm、より好ましくは30cm、更に好ましくは10cm、特に好ましくは5cmとなるように曲がるフィルムであることが好ましい。
樹脂フィルム43は、可撓性を有している。樹脂フィルム43は、曲率半径が、好ましくは50cm、より好ましくは30cm、更に好ましくは10cm、特に好ましくは5cmとなるように曲がるフィルムであることが好ましい。
樹脂フィルム43は、公知の熱可塑性樹脂を用いて形成することができる。樹脂フィルム43の材料として用いる熱可塑性樹脂には耐熱性および絶縁性が高いものであるが好ましい。このような樹脂として、耐熱性と加熱時の寸法安定性、機械的強度、および耐久性に優れるポリイミド(PI)や、ポリエチレンナフタレート(PEN)を用いることができる。これらの中でも、アニール処理等の耐熱性向上処理を施すことによって耐熱性と寸法安定性を向上させたポリエチレンナフタレート(PEN)を好ましく用いることもできる。また、難燃性の無機フィラー等の添加によって難燃性を向上させたポリエチレンテレフタレート(PET)も樹脂フィルムを形成するための樹脂として選択することができる。
樹脂フィルム43を形成する熱可塑性樹脂は、熱収縮開始温度が100℃以上のもの、または、上記のアニール処理等によって、同温度が100℃以上となるように耐熱性を向上させたものを用いることが好ましい。本明細書における「熱収縮開始温度」とは、熱機械分析(TMA)装置に測定対象の熱可塑性樹脂からなるサンプルフィルムをセットし、荷重1gをかけて、昇温速度2℃/分で120℃まで昇温し、その時の収縮量(%表示)を測定し、このデータを出力して温度と収縮量を記録したグラフから、収縮によって、0%のベースラインから離れる温度を読みとり、その温度を熱収縮開始温度としたものである。なお、熱収縮開始温度は、3回測定して得られた値の算術平均値とする。
通常LED素子からの熱によりLED素子周辺部は90℃程度の温度に達する場合がある。この観点から、樹脂フィルム43を形成する熱可塑性樹脂は、上記温度以上の耐熱性を有するものであることが好ましい。
樹脂フィルム43には、フレキシブル配線基板41に必要な絶縁性を付与し得るだけの高い絶縁性を有する樹脂であることが求められる。このため、樹脂フィルム43は、その体積固有抵抗率が1014Ω・cm以上であることが好ましく、1018Ω・cm以上であることがより好ましい。体積固有抵抗率は、JIS C2151:2006に準拠した方法で測定することができる。体積固有抵抗率は、ランダムに10箇所測定し、測定した10箇所の体積固有抵抗率の算術平均値とする。
樹脂フィルム43の厚みは、特に限定されないが、放熱経路としてボトルネックとはならないこと、耐熱性および絶縁性を有するものであること、ならびに、製造コストのバランスとの観点から、概ね10μm以上500μm以下であることが好ましい。また、ロール・トゥ・ロール方式による製造を行う場合の生産性を良好に維持する観点からも上記厚さ範囲であることが好ましい。樹脂フィルム43の厚みは、厚み測定装置(製品名「デジマチックインジケーターIDF−130」、ミツトヨ社製)を用いて任意の10箇所の厚さを測定し、その平均値を算出することにより求めるものとする。樹脂フィルム43の厚みの下限は、50μm以上であることが好ましく、樹脂フィルム43の厚みの上限は、250μm以下であることが好ましい。
(金属配線部)
金属配線部44は、樹脂フィルム43よりLED素子42側に設けられ、かつLED素子42と電気的に接続されている。金属配線部44は、金属箔等をパターニングすることによって形成することができる。
金属配線部44は、樹脂フィルム43よりLED素子42側に設けられ、かつLED素子42と電気的に接続されている。金属配線部44は、金属箔等をパターニングすることによって形成することができる。
金属配線部44を構成する金属の熱伝導率λは200W/(m・K)以上500W/(m・K)以下が好ましい。熱伝導率λは、例えば、熱伝導率計(製品名「QTM−500」、京都電子工業社製)を用いて測定することができる。熱伝導率λは、3回測定して得られた値の算術平均値とする。上記熱伝導率の下限は、300W/(m・K)以上であることがより好ましく、上限は500W/(m・K)以下であることが好ましい。銅の場合、熱伝導率λは403W/(m・K)である。
金属配線部44を構成する金属の電気抵抗率Rは3.00×10−8Ωm以下が好ましく、2.50×10−8Ωm以下がより好ましい。電気抵抗率Rは、エレクトロメータ(製品名「6517B型エレクトロメータ」、ケースレー社製)を用いて測定することができる。電気抵抗率Rは、3回測定して得られた値の算術平均値とする。銅の場合、電気抵抗率Rは1.55×10−8Ωmとなる。
例えば、金属配線部44を銅箔で形成した場合、放熱性と電気伝導性を高い水準で両立させることができる。より具体的には、LED素子からの放熱性が安定し、電気抵抗の増加を防げるので、LED間の発光バラツキが小さくなってLEDの安定した発光が可能となる。また、LED素子の寿命も延長される。更に、熱による樹脂フィルム等の周辺部材の劣化も防止できるので、LEDバックライトを組み込んだLED画像表示装置の製品寿命も延長できる。
金属配線部44を形成する金属の例としては、上記の銅の他、アルミニウム、金、銀等の金属を挙げることができる。
金属配線部44は電解銅箔であり、また、金属配線部44における樹脂フィルム43側の面の十点平均粗さRzが1.0μm以上10.0μm以下であることがより好ましい。十点平均粗さRzを上記範囲内とすることで、特に金属配線部44における樹脂フィルム43側の面の表面積を増大させることができ、放熱性を更に高めることができる。また、この面が凹凸面となっているので、樹脂フィルム43との密着性をより向上でき、これによっても放熱性を向上できる。このような十点平均粗さRzを有する電解銅箔の面としては、電解銅箔の粗面側(マット面側)を好適に用いることができる。十点平均粗さRzは、JIS B0601:1999に準拠して、例えば、表面粗さ測定器(製品名「SE−3400」、小坂研究所製社製)を用いて測定することができる。十点平均粗さRzは、3回測定して得られた値の算術平均値とする。
金属配線部44の配置は、LED素子42の導通可能な配置、好ましくはLED素子42をマトリックス状に配置できるものであれば、特定の配置に限定されない。ただし、フレキシブル配線基板41においては、樹脂フィルム43の一方の表面の好ましくは80%以上、より好ましくは90%、最も好ましくは95%以上の範囲が、この金属配線部44によって被覆されていることが好ましい。これにより、LED素子42を高密度で配置することができるとともに、発生する過剰な熱を、十分に金属配線部44を通じて速やかに拡散させ、樹脂フィルム43を経由させて外部へ放熱させることができるので、優れた放熱性を有するLEDバックライト装置20を得ることができる。
金属配線部44の厚みは、フレキシブル配線基板41に要求される耐電流の大きさ等に応じて適宜設定すればよく、特に限定されないが、一例として10μm以上50μm以下としてもよい。放熱性向上の観点から、金属配線部44の厚みは、10μm以上であることが好ましい。また、金属配線部の厚さが10μm未満であると、樹脂フィルム43の熱収縮の影響が大きく、はんだリフロー処理時に処理後の反りが大きくなりやすいため、この観点からも金属配線部44の厚さは10μm以上であることが好ましい。一方、金属配線部の厚さが、50μm以下であることによって、配線基板の十分なフレキシブル性を維持することができ、重量増大によるハンドリング性の低下等も防止できる。金属配線部44の厚さは、樹脂フィルム43と同様の方法によって測定することができる。
(絶縁性保護膜)
絶縁性保護膜45は、主としてフレキシブル配線基板41の耐マイグレーション特性を向上させるものである。絶縁性保護膜45は、金属配線部44の表面のうちLED素子42を実装するための接続部分を除く全面、および樹脂フィルム43の表面のうち金属配線部44の非形成部分の概ね全面を覆う態様で形成されている。
絶縁性保護膜45は、主としてフレキシブル配線基板41の耐マイグレーション特性を向上させるものである。絶縁性保護膜45は、金属配線部44の表面のうちLED素子42を実装するための接続部分を除く全面、および樹脂フィルム43の表面のうち金属配線部44の非形成部分の概ね全面を覆う態様で形成されている。
絶縁性保護膜45は、熱硬化性樹脂を含む熱硬化性樹脂組成物の硬化物から構成されていることが好ましい。熱硬化性樹脂組成物としては、熱硬化温度が100℃以下程度のものであれば、公知の熱硬化性樹脂組成物を適宜好ましく用いることができる。具体的には、ポリエステル系樹脂、エポキシ系樹脂、エポキシ系およびフェノール系樹脂、エポキシアクリレート樹脂、シリコーン系樹脂等をそれぞれベース樹脂とする熱硬化性樹脂組成物を好ましく用いることができる。また、これらのうちでも、ポリエステル系樹脂を含む熱硬化性樹脂組成物は、可撓性に優れる点から、絶縁性保護膜45を形成するための材料として特に好ましい。
絶縁性保護膜45を形成するための熱硬化性樹脂組成物は、例えば、二酸化チタン等の無機白色顔料を更に含有する白色の熱硬化性樹脂組成物であってもよい。絶縁性保護膜45を白色化することで、意匠性の向上を図ることができる。また、反射層の機能を絶縁性保護膜45に付与することもできる。
絶縁性の熱硬化性樹脂組成物を用いた絶縁性保護膜45の形成は、スクリーン印刷等の公知の方法によって行うことができる。
絶縁性保護膜45の膜厚は、10μm以上100μm以下であることが好ましい。絶縁性保護膜45の膜厚が、10μm未満であると、絶縁性が低下するおそれがあり、また100μmを超えると、絶縁性保護層をスクリーン印刷によって形成する際の滲みや熱硬化時の収縮による配線基板の反り等が顕著に生じるおそれがある。絶縁性保護膜45の膜厚は、走査型電子顕微鏡(SEM)を用いて、絶縁性保護膜45の断面を撮影し、その断面の画像において絶縁性保護膜45の膜厚を20箇所測定し、その20箇所の膜厚の算術平均値とする。
(反射層)
反射層46は、主として波長380nm以上780nm以下の可視光波長域の光に対して高い反射性を有するものである。反射層46は、LEDバックライト装置20の発光能力の向上を目的として、フレキシブル配線基板41の表面41Aに、LED素子実装領域を除く領域を覆って積層されている。なお、この実施形態においては、反射層46は、平面視において、LED素子42を囲い、かつ、絶縁性保護膜45のLED素子実装領域によって除かれた領域の内周縁部が露出するように絶縁性保護膜45上に積層されている。また、これに限らず、例えば、絶縁性保護膜45のLED素子実装領域によって除かれた領域の内周縁部が露出せず、絶縁性保護膜45と反射層46との両方の内周縁部が一致して同一形状をなすように積層されていてもよい。
反射層46は、主として波長380nm以上780nm以下の可視光波長域の光に対して高い反射性を有するものである。反射層46は、LEDバックライト装置20の発光能力の向上を目的として、フレキシブル配線基板41の表面41Aに、LED素子実装領域を除く領域を覆って積層されている。なお、この実施形態においては、反射層46は、平面視において、LED素子42を囲い、かつ、絶縁性保護膜45のLED素子実装領域によって除かれた領域の内周縁部が露出するように絶縁性保護膜45上に積層されている。また、これに限らず、例えば、絶縁性保護膜45のLED素子実装領域によって除かれた領域の内周縁部が露出せず、絶縁性保護膜45と反射層46との両方の内周縁部が一致して同一形状をなすように積層されていてもよい。
反射層46は、LED素子42からの光を反射し、所定の方向へ導くための反射面を持つ部材であれば、特に限定されないが、発泡タイプの白色ポリエステル、白色ポリエチレン樹脂、銀蒸着ポリエステル等を、最終製品の用途とその要求スペック等に応じて適宜用いることができる。
反射層46の膜厚は、50μm以上1mm以下であることが好ましい。反射層46の膜厚が、50μm未満であると、所望の反射率が得られないおそれがあり、また反射層が薄すぎるので、所定の位置にセッティングしにくくなり、また1mmを超えると、高コストとなるとともに、LEDバックライト装置の薄型化を達成できないおそれがある。反射層46の膜厚は、絶縁性保護膜45の膜厚と同様の方法によって測定するものとすることができる。
(接着層)
接着層47としては、公知の樹脂系接着剤を適宜用いることができる。それらの樹脂系接着剤のうち、ウレタン系、ポリカーボネート系、又はエポキシ系の接着剤等を特に好ましく用いることができる。この接着層47は、金属配線部44のエッチング処理後に樹脂フィルム43上に残存している。
接着層47としては、公知の樹脂系接着剤を適宜用いることができる。それらの樹脂系接着剤のうち、ウレタン系、ポリカーボネート系、又はエポキシ系の接着剤等を特に好ましく用いることができる。この接着層47は、金属配線部44のエッチング処理後に樹脂フィルム43上に残存している。
(はんだ層)
はんだ層48は、金属配線部44とLED素子42とを電気的および機械的に接合するためものである。このはんだ層48による接合方法としては、大きく分けて、リフロー方式あるはレーザー方式があるが、このいずれかによって行うことができる。
はんだ層48は、金属配線部44とLED素子42とを電気的および機械的に接合するためものである。このはんだ層48による接合方法としては、大きく分けて、リフロー方式あるはレーザー方式があるが、このいずれかによって行うことができる。
金属配線部とLED素子とをはんだによって接合する際、樹脂フィルムおよび金属配線部には多大な熱が加えられるので、樹脂フィルムと金属配線部の線膨張係数の違いから、樹脂フィルムおよび金属配線部を備える配線基板に反りが発生するおそれがある。このような反りを防ぐために、樹脂フィルム43における金属配線部44側の面とは反対側の面に金属箔を設けることが好ましい。また、このような金属箔を設けることにより、点灯時のLED実装基板40の熱をより筐体本体31に放熱させることもできる。
<<LED素子>>
LED素子42は、P型半導体とN型半導体が接合されたPN接合部での発光を利用した発光素子である。LED素子としては、P型電極、N型電極を素子上面、下面に設けた構造と、素子片面にP型、N型電極の双方が設けられた構造が知られているが、いずれの構造のLED素子も、LEDバックライト装置20に用いることができる。ただし、上記のうち素子片面にP型、N型電極の双方が設けられた構造のLED素子を特に好ましく用いることができる。
LED素子42は、P型半導体とN型半導体が接合されたPN接合部での発光を利用した発光素子である。LED素子としては、P型電極、N型電極を素子上面、下面に設けた構造と、素子片面にP型、N型電極の双方が設けられた構造が知られているが、いずれの構造のLED素子も、LEDバックライト装置20に用いることができる。ただし、上記のうち素子片面にP型、N型電極の双方が設けられた構造のLED素子を特に好ましく用いることができる。
LED素子42は、フレキシブル配線基板41上にマトリクス状に配置されている。本明細書における「マトリクス状」とは、行列状に二次元配列されている状態を意味するものとする。本実施形態においては、LED素子42はマトリクス状に配置されているが、LED素子の配置状態は、特に限定されず、例えば、LED素子は千鳥状に配置されていてもよい。LED素子42はフレキシブル配線基板41上に複数個実装されている。フレキシブル配線基板41に実装されるLED素子42の個数は、複数個であれば、特に限定されない。LED素子42の配置密度は、0.02個/cm2以上2.0個/cm2以下であることが好ましく、0.1個/cm2以上1.5個/cm2以下であることがより好ましい。
<<第1の光学シート>>
第1の光学シート50は、光学的な機能を有するシートである。第1の光学シート50としては、例えば、光透過反射シート等が挙げられる。図1および図2に示される第1の光学シート50は、光透過反射シートとなっている。光透過反射シートは、光を透過させる透過部と光を反射させる反射部を有し、ある部分では光を透過させ、他の部分では光を反射させることで、LED素子からの光を平面内に拡散させて、輝度の面内均一性を向上させる機能を有するものである。
第1の光学シート50は、光学的な機能を有するシートである。第1の光学シート50としては、例えば、光透過反射シート等が挙げられる。図1および図2に示される第1の光学シート50は、光透過反射シートとなっている。光透過反射シートは、光を透過させる透過部と光を反射させる反射部を有し、ある部分では光を透過させ、他の部分では光を反射させることで、LED素子からの光を平面内に拡散させて、輝度の面内均一性を向上させる機能を有するものである。
第1の光学シート50は、LED実装基板40における複数のLED素子42と対向するように配置されている、また、第1の光学シート50は、スペーサ70の後述する第1のスペーサ部71によってLED実装基板40に対して離間している。第1の光学シート50は、フレキシブル配線基板41と略平行に配置されている。
図3に示されるフレキシブル配線基板41の表面41から第1の光学シート50までの距離d1は、0.6mm以上6mm以下となっている。本明細書における「フレキシブル配線基板の表面から第1の光学シートまでの距離」とは、フレキシブル配線基板41のように絶縁性保護層上に反射層を備えており、反射層の表面がフレキシブル配線基板の表面となっている場合には、反射層の表面から第1の光学シートにおけるフレキシブル配線基板側の面までの距離を意味し、またフレキシブル配線基板の絶縁性保護層が反射層の機能を兼ね備えており、絶縁性保護層の表面が配線基板の表面となっている場合には、絶縁性保護層の表面から第1の光学シートにおけるフレキシブル配線基板側の面までの距離を意味するものとする。また、第1の光学シートにおけるフレキシブル配線基板側の面とは、第1の光学シートにおけるフレキシブル配線基板側の面が樹脂フィルムの面のみから構成されている場合には、樹脂フィルムにおけるフレキシブル配線基板側の面であるが、第1の光学シート50のように、樹脂フィルム54よりもフレキシブル配線基板41側に反射層55が形成されている場合には、反射層55におけるフレキシブル配線基板41側の面とする。
第1の光学シート50の厚みは、25μm以上1μm以下であることが好ましい。第1の光学シートの厚みが、25μm未満であると、所望の反射率が得られないおそれがあり、また1mmを超えると、LEDバックライト装置の薄型化が図れないおそれがある。第1の光学シート50の厚さは、後述する反射部53の厚みとし、厚さ測定装置(製品名「デジマチックインジケーターIDF−130」、ミツトヨ社製)を用いて任意の10箇所の厚さを測定し、その平均値を算出することにより求めることができる。第1の光学シート50は、図4に示されるように、平面視において複数に分割された区画領域51を備えている。
<区画領域>
区画領域51は、LED素子42の個数に合わせて分割されていることが好ましい。図4においては、LED素子(縦4個×横6個=24個)に対応して、縦4個×横6個=24個の区画領域51が形成されている。なお、図4においては点線で境界線が記載されているが、実際には境界線が形成されていることはなく、境界線は仮想線であり、区画領域51も仮想の領域である。
区画領域51は、LED素子42の個数に合わせて分割されていることが好ましい。図4においては、LED素子(縦4個×横6個=24個)に対応して、縦4個×横6個=24個の区画領域51が形成されている。なお、図4においては点線で境界線が記載されているが、実際には境界線が形成されていることはなく、境界線は仮想線であり、区画領域51も仮想の領域である。
各区画領域51は、LED素子42からの光の一部を透過する複数の透過部52と、LED素子42からの光の一部を反射する複数の反射部53とで構成されている。透過部52および反射部53は、所定のパターンで構成されている。各区画領域におけるLED素子に対応する部分は最も多くの光が入射する部分となるので、この部分から光が透過すると、この部分の輝度が区画領域の他の部分の輝度よりも高くなってしまい、輝度の面内均一性が低下するおそれがある。このため、各区画領域51におけるLED素子42に対応する部分は反射部53から構成されていることが好ましい。なお、図4においては、形式的に、透過部52を白色で表しており、反射部53を灰色で表している。また、各区画領域51における透過部52および反射部53のパターンは同じとなっているが、必ずしも同じである必要はなく、区画領域によって異なるパターンであってもよい。透過部52および反射部53は、マス目状のパターンであってもよい。
第1の光学シート50は、図4に示されるように、各区画領域51の中央部51Aが各LED素子42と対応する領域となるように配置されているので、外縁部51Bよりも中央部51Aに入射する光量は多くなる。このため、各区画領域51においては、透過部52の面積割合である開口率が、中央部51Aから外縁部51Bに向けて漸増していることが好ましい。各区画領域51における開口率を、中央部51Aから外縁部51Bに向けて漸増させることにより、十分な光量を確保した上で、発光面上における輝度の均一性をより向上させることができる。本明細書における「開口率」とは、一の区画領域を、25〜100等分程度の適当な割合で当分する等面積の正方形のマス目状に区切った際に、それぞれのマス目における透過部の面積比率のことを意味する。一の区画領域におけるこの等面積のマス目の規定の仕方は任意であるが、例えば、各マス目内に存在する透過部72の個数が概ね等数となるように設定することが望ましい。また、「開口率」は、一の区画領域の中心点を中心とする同心円を中央領域から中央領域の外側に位置する外側領域に向けて等間隔で複数規定し、各同心円の円周と円周の間の各領域内における透過部の面積比率を上記同様にして算出することによって求めたものであってもよい。この算出方法によれば、矩形の開口部が格子状に配置された一般的な開口配置以外の区画領域についても、上記の「開口率」を定義することができる。なお、各区画領域51においては、開口率が中央部51Aから外縁部51Bに向けて漸増していればよく、例えば中央部や外縁部近傍の限定された一部範囲において開口率が一定である領域が存在していてもよい。
各区画領域51の中央部51Aにおいては、面積比が主として反射部>透過部となっていることが好ましく、輝度の面内均一性を向上させる観点から、各区画領域51の中央部51Aは、反射部53のみから構成することがより好ましい。また、各区画領域51の外縁部51Bにおいては、面積比が主として透過部>反射部となっていることが好ましい。具体的には、外縁部51Bにおける透過部52の面積割合は、50%以上100%以下であることが好ましい。外縁部51Bにおける透過部52の面積割合の下限は、60%以上であることがより好ましく、70%以上であることが好ましい。なお、外縁部51Bでは反射部53を島状に形成することによって、理論的には透過部の面積割合を100%にすることもできる。このことは、従来の打ち抜き開口方式の光透過反射シートではなし得ない構成である。このように、第1の光学シート50の透過部52および反射部53を印刷方法によりパターン形成する場合には、パターニングのフレキシビリティを拡大させることができる。
第1の光学シート50は、図3に示されるように、樹脂フィルム54と、樹脂フィルム54の少なくとも一方の面上の一部に積層された反射層55とで構成される。反射層55は、スクリーン印刷等によって形成することが可能である。この場合、第1の光学シート50のうち、反射層55が存在する領域が反射部53となり、反射層55が存在しない領域が透過部52となる。
<透過部>
透過部52は、樹脂フィルム54の両面のいずれにも反射層55が形成されてない領域であって、図3における樹脂フィルム54の両面が露出している領域である。樹脂フィルム54としては、従来公知の透明フィルムが好ましく用いられ、好ましくは全光線透過率が85%以上であることが好ましい。全光線透過率は、JIS K−7361:1997に準拠して、ヘイズメーター(製品名「HM−150」、村上色彩技術研究所製)を用いて、測定することができる。全光線透過率は、3回測定して得られた値の算術平均値とする。
透過部52は、樹脂フィルム54の両面のいずれにも反射層55が形成されてない領域であって、図3における樹脂フィルム54の両面が露出している領域である。樹脂フィルム54としては、従来公知の透明フィルムが好ましく用いられ、好ましくは全光線透過率が85%以上であることが好ましい。全光線透過率は、JIS K−7361:1997に準拠して、ヘイズメーター(製品名「HM−150」、村上色彩技術研究所製)を用いて、測定することができる。全光線透過率は、3回測定して得られた値の算術平均値とする。
樹脂フィルム54としては、例えばポリエチレンテレフタレート(PET)やポリエチレンナフタレート(PEN)が挙げられる。樹脂フィルム54の厚さは、12μm以上1mm(1000μm)以下であることが好ましい。樹脂フィルム54の厚さは、樹脂フィルム43の厚みと同様の方法によって測定することができる。
<反射部>
反射部53は、図3における第1の光学シート50における反射層55が存在する領域である。図3に示される反射部53は、樹脂フィルム54のLED素子42側の面に形成されているが、これに限らず、LED素子42の側の面とは反対側の面に形成されていてもよく、また、樹脂フィルム54の両面に形成されていてもよい。反射層55の膜厚は、20μm以上200μm以下であることが好ましい。反射層55の膜厚は、絶縁性保護膜45の膜厚と同様の方法によって測定することができる。
反射部53は、図3における第1の光学シート50における反射層55が存在する領域である。図3に示される反射部53は、樹脂フィルム54のLED素子42側の面に形成されているが、これに限らず、LED素子42の側の面とは反対側の面に形成されていてもよく、また、樹脂フィルム54の両面に形成されていてもよい。反射層55の膜厚は、20μm以上200μm以下であることが好ましい。反射層55の膜厚は、絶縁性保護膜45の膜厚と同様の方法によって測定することができる。
反射部53においては、波長420nm以上780nm以下の可視光波長領域で少なくとも80%以上の反射率を有することが好ましい。第1の光学シート50における反射部53のように狭小な範囲に形成されている反射部の反射率は、顕微分光測定機(製品名「USPM−RU III」、オリンパス社製)を用いることより、正確に測定することができる。反射率の値は、硫酸バリウムを標準板とし、標準板を100%とした相対反射率を測定した値とする。なお、反射率は、3回測定して得られた値の算術平均値とする。
反射層55は、酸化チタン等の白色顔料を含む熱硬化性樹脂組成物の硬化物から構成することが可能である。反射層55中の白色顔料の含有量は、反射層中に10質量%以上85質量%以下であることが好ましい。
反射層55を構成する熱硬化性樹脂組成物中の熱硬化性樹脂としては、従来公知のウレタン樹脂とイソシアネート化合物との組み合わせ、エポキシ樹脂とポリアミンや酸無水物との組み合わせ、シリコーン樹脂と架橋剤との組み合わせのような、主剤と硬化剤とを含む2成分型の熱硬化性樹脂や、更に、アミン、イミダゾール、リン系等の硬化促進剤を含有する3成分型の熱硬化性樹脂が挙げられる。具体的には、熱硬化性樹脂としては、特開2014−129549に記載されているシリコーン系の熱硬化性樹脂が挙げられる。反射層65は、上記熱硬化性樹脂組成物を、例えば、スクリーン印刷等の印刷法を用いて樹脂フィルム64の表面にパターン印刷することによって形成することができる。なお、上記の厚さや反射率は、反射層が樹脂フィルムの両面に形成されている場合には両面の厚さの合計厚さであり、両面に反射層を形成した場合の反射率である。
図3に示される第1の光学シート50は、上記したように、樹脂フィルム54と、樹脂フィルム54の少なくとも一方の面上の一部に積層された反射層55とで構成されているが、第1の光学シートは、図5に示されるように、例えば、発泡ポリエチレンテレフタレート(PET)等の光反射性シート134に光反射性シート134の厚み方向に貫通する複数の開口部135を形成した第1の光学シート130であってもよい。第1の光学シート130は、第1の光学シート50と同様に、区画領域131、透過部132、および反射部133を備えている。第1の光学シート130における区画領域131、透過部132、および反射部133は、第1の光学シート50における区画領域51、透過部52、および反射部53と同様であるので、ここでは説明を省略するものとする。なお、第1の光学シート130の各区画領域131においても、透過部132の面積割合である開口率が、区画領域131の中央部131Aから区画領域131の外縁部131Bに向けて漸増していることが好ましい。第1の光学シート130の場合、開口部135は、光を透過させる透過部132として機能し、第1の光学シート130における開口部135以外の部分が、光を反射させる反射部133として機能する。開口部135は、任意の形状(例えば、円形状や矩形状)を有し、また所定のパターンに沿って互いに連結しないように分散配置されている。開口部135は、プレス打ち抜き加工、或いは、彫刻刃による抜き加工等により形成することができる。プレス打ち抜き加工は、ランニングコストや生産性に優れるため、大量生産する場合に有効な製造方法である。
<<第2の光学シート>>
第2の光学シート60は、光学的な機能を有するシートである。第2の光学シートとしては、光学的な機能を有するシートであれば、特に限定されず、例えば、光拡散シート、レンズシート、または反射型偏光分離シート等が挙げられる。図1および図2に示される第2の光学シート60は、光拡散シートとなっている。光拡散シートである第2の光学シート60を配置することにより、第1の光学シート50を透過した光を第2の光学シート60でさらに拡散させることができ、輝度の面内均一性をさらに向上させることができる。なお、第2の光学シートが、レンズシートである場合には、レンズシート80は備えなくともよく、また第2の光学シートが、反射型偏光分離シートである場合には、反射型偏光分離シート90は備えなくともよい。また、第2の光学シートとして、レンズシートや反射型偏光分離シートを用いる場合には、レンズシート80や反射型偏光分離シート90と同様のものを用いることができる。
第2の光学シート60は、光学的な機能を有するシートである。第2の光学シートとしては、光学的な機能を有するシートであれば、特に限定されず、例えば、光拡散シート、レンズシート、または反射型偏光分離シート等が挙げられる。図1および図2に示される第2の光学シート60は、光拡散シートとなっている。光拡散シートである第2の光学シート60を配置することにより、第1の光学シート50を透過した光を第2の光学シート60でさらに拡散させることができ、輝度の面内均一性をさらに向上させることができる。なお、第2の光学シートが、レンズシートである場合には、レンズシート80は備えなくともよく、また第2の光学シートが、反射型偏光分離シートである場合には、反射型偏光分離シート90は備えなくともよい。また、第2の光学シートとして、レンズシートや反射型偏光分離シートを用いる場合には、レンズシート80や反射型偏光分離シート90と同様のものを用いることができる。
第2の光学シート60は、第1の光学シート50の光出射側に配置されている。第2の光学シート60は、スペーサ70の後述する第2のスペーサ部72によって第1の光学シート50に対し離間している。第2の光学シート60は、第1の光学シート50と略平行に配置されている。
図3に示される第1の光学シート50から第2の光学シート60までの距離d2は、0.5mm以上5mm以下であることが好ましい。第1の光学シート50から第2の光学シート60までの距離が、0.5mm未満であると、光拡散機能が十分に発揮されないおそれがあり、また5mmを超えると、LEDバックライト装置の薄型化が図れないおそれがある。本明細書における「第1の光学シートから第2の光学シートまでの距離」とは、第1の光学シートにおける第2の光学シート側の面から第2の光学シートにおける第1の光学シート側の面までの距離を意味するものとする。第1の光学シート50から第2の光学シート60までの距離は、この距離をランダムに10箇所測定した値の算術平均値とする。
また、フレキシブル配線基板41の表面41Aから第2の光学シート60までの距離(OD)は、LEDバックライト装置の薄型化を図る観点から、1mm以上10mm以下となっていることが好ましい。本明細書における「フレキシブル配線基板の表面から第2の光学シートまでの距離」とは、フレキシブル配線基板の表面から第2の光学シートにおけるフレキシブル配線基板側の面までの距離を意味するものとする。フレキシブル配線基板41の表面41Aから第2の光学シート60までの距離は、この距離をランダムに10箇所測定した値の算術平均値とする。フレキシブル配線基板41の表面41Aから第2の光学シート60までの距離の上限は、5mm以下となっていることが好ましい。
第2の光学シート60の厚みは、第1の光学シート50の厚みよりも大きくなっていることが好ましい。第2の光学シート60の厚みが、第1の光学シート50の厚みより大きいことにより、第2の光学シート60は、第1の光学シート50よりも撓み難い。このため、第2の光学シート60は、枠状の第2のスペーサ部72によって、第1の光学シート50と第2の光学シート60との間の距離を所定の距離に保持することができる。
第2の光学シート60の厚みは、0.3mm以上5mm以下であることが好ましい。第2の光学シート60の厚みが、0.3mm未満であると、光拡散効果が十分に得られないおそれがあるからであり、また厚みが、5mmを超えると、LEDバックライト装置の薄型化が図れないおそれがある。第2の光学シート60の厚みは、第1の光学シート50の厚さと同様の方法によって測定することができる。
第2の光学シート60は、樹脂から構成されていることが好ましい。本明細書における「樹脂から構成されている」とは、樹脂が主の構成成分となっていることを意味する。第2の光学シート60は、ポリカーボネート樹脂やアクリル樹脂等からなる半透明の樹脂フィルムと、樹脂フィルムの一方の面側に形成され、樹脂からなる、光拡散機能を発揮するための、例えば、微小でランダムなレンズアレイ等を有するレンズ層とを備えている。
<<スペーサ>>
スペーサ70は、LED実装基板40に対し第1の光学シート50を離間させるとともに、第1の光学シート50に対し第2の光学シート60を離間させるためのものである。
スペーサ70は、LED実装基板40に対し第1の光学シート50を離間させるとともに、第1の光学シート50に対し第2の光学シート60を離間させるためのものである。
スペーサ70は、図6に示されるように、LED実装基板40に対し第1の光学シート50を離間させる第1のスペーサ部71と、第1の光学シート50に対し第2の光学シート60を離間させる枠状の第2のスペーサ部72とを有している。第1のスペーサ部71は第2のスペーサ部72の内側に位置しており、またフレキシブル配線基板41と第1の光学シート50との間に位置している。第1のスペーサ部71は第2のスペーサ部72と一体的に設けられている。本明細書における「第1のスペーサ部が第2のスペーサ部と一体的に設けられている」とは、第1のスペーサ部と第2のスペーサ部との間に境界が存在しない場合のみならず、第2のスペーサ部に第1のスペーサ部が接合されている場合も含む。このようなスペーサ70は、例えば、射出成型、打ち抜き、切削、または三次元プリンター(3Dプリンター)によって作製することが可能である。本実施形態においては、第1のスペーサ部71が第2のスペーサ部72と一体的に設けられているが、第1のスペーサ部は第2のスペーサ部と一体的に設けられていなくともよい。すなわち、第1のスペーサ部と第2のスペーサ部は別体であり、かつ接合されていなくともよい。
スペーサ70は、成形がし易く、また第1の光学シート50等を衝撃から保護する観点から、樹脂から構成されていることが好ましい。樹脂の中でも、反射率を高めて、第1の光学シート50や第2の光学シート60に光をより導く観点から白色系樹脂が好ましい。
スペーサ70を構成する樹脂の25℃のヤング率は、0.5GPa以上5GPa以下であることが好ましい。上記樹脂のヤング率が、0.5GPa未満であると、第1のスペーサ部において、フレキシブル配線基板や第1の光学シートに第1のスペーサ部を固定するための強度が確保できないおそれがあり、また5GPaを超えると、LEDバックライト装置を曲面などへ設置する際にスペーサを曲げることができないおそれがある。また、5GPa以上であれば、スペーサ70が良好なクッション性を有するので、後述する振動試験の際における第1の光学シート50等の割れを抑制することができる。上記樹脂の25℃でのヤング率の下限は、1GPa以上であることがさらに好ましく、上限は4GPa以下であることがさらに好ましい。上記樹脂の25℃でのヤング率は、動的粘弾性測定装置(製品名「Rheogel-E4000」、ユービーエム社製)を用いて、25℃で引張り試験を行い、縦軸に応力、横軸にひずみをとった応力−ひずみ曲線の直線部の傾きから求めるものとする。なお、上記ヤング率は、3回測定して得られた値の算術平均値とする。
上記樹脂としては、ポリカーボネート樹脂、アクリロニトリル−ブタジエン−スチレン共重合樹脂(ABS樹脂)、アクリロニトリル−スチレン−アクリレート共重合樹脂(ASA樹脂)、アクリロニトリル−ブタジエン−スチレン共重合樹脂(AES樹脂)、ポリメチルメタクリレート樹脂(PMMA樹脂)、ポリアセタール樹脂、ポリ塩化ビニル樹脂、ポリエチレン樹脂、ポリプロピレン樹脂、またはこれらの樹脂を2種以上混合した混合物等が挙げられる。これらの中でも、耐熱性や成形性等の観点から、ポリカーボネート樹脂、ABS樹脂、ASA樹脂、AES樹脂、またはこれらの樹脂を2種以上混合した混合物が好ましい。
<第1のスペーサ部>
第1のスペーサ部71は、上記したように、LED実装基板40に対し第1の光学シート50を離間させるためのものである。また、第1のスペーサ部71は、フレキシブル配線基板41の表面41Aから第1の光学シート50までの距離d1を0.6mm以上6mm以下に保持する機能を有している。
第1のスペーサ部71は、上記したように、LED実装基板40に対し第1の光学シート50を離間させるためのものである。また、第1のスペーサ部71は、フレキシブル配線基板41の表面41Aから第1の光学シート50までの距離d1を0.6mm以上6mm以下に保持する機能を有している。
図3に示される第1のスペーサ部71の高さh1は、0.5mm以上5mm以下であることが好ましい。第1のスペーサ部の高さが、0.5mm未満であると、LED素子と第1の光学シートの距離が短すぎるために、第1の光学シートの各区画領域の中央部が外縁部よりも明るくなるおそれがあり、また5mmを越えると、LEDバックライト装置の薄型化が図れないおそれがある。本明細書における「第1のスペーサ部の高さ」とは、第1のスペーサ部におけるフレキシブル配線基板側の面である底面に垂直な方向において、第1のスペーサ部の底面から第1のスペーサ部における底面と反対側の面である上面までの距離を意味するものとする。第1のスペーサ部71の高さh1は、第1のスペーサ部71の高さをランダムに10箇所測定した値の算術平均値とする。
第1のスペーサ部71とフレキシブル配線基板41は固定されている。第1のスペーサ部71とフレキシブル配線基板41の固定方法としては、特に限定されず、接着や機械的固定手段による固定が挙げられる。本明細書における「接着」とは、「粘着」を含む概念である。図3においては、第1のスペーサ部71とフレキシブル配線基板41は、両面テープ101を介して固定されている。具体的には、第1のスペーサ部71の底面71A(後述する枠部73および桟部75の底面)とフレキシブル配線基板41の反射層46が、両面テープ101を介して接着されることによって固定されている。第1のスペーサ部71とフレキシブル配線基板41を固定することにより、LED素子42に対するスペーサ70の位置ずれを抑制できる。なお、第1のスペーサ部71とフレキシブル配線基板41は、両面テープ101ではなく、接着剤や粘着剤を用いて固定されていてもよい。
第1のスペーサ部71と第1の光学シート50は固定されている。第1のスペーサ部71と第1の光学シート50の固定方法としては、特に限定されず、接着や機械的固定手段による固定が挙げられる。図3においては、第1のスペーサ部71と第1の光学シート50は、両面テープ102を介して接着されることによって固定されている。具体的には、第1のスペーサ部71の上面71B(後述する枠部73および桟部75の上面)と第1の光学シート50が、両面テープ102を介して接着されている。第1のスペーサ71と第1の光学シート50を固定することにより、第1のスペーサ部71およびLED素子42に対する第1の光学シート50の位置ずれをより抑制できる。なお、第1のスペーサ部71と第1の光学シート50は、両面テープ102ではなく、接着剤や粘着剤を用いて固定されていてもよい。
第1のスペーサ部71は、図6に示されるように、第2のスペーサ部72の内側面72Aの周方向に沿って設けられた枠部73と、枠部73よりも内側に位置した複数の開口部74と、開口部74間に位置し、かつ枠部73と一体的に設けられた桟部75とを有している。
図6に示される第1のスペーサ部71は、格子状となっている。本明細書における「格子状」とは、第1のスペーサ部の平面視において、枠部および桟部によって形成された複数の開口部がマトリクス状に配置された構造を意味するものとする。第1のスペーサ部の平面視における開口部の形状としては、四角形状等の多角形状、楕円形状、円形状等が挙げられる。上記四角形状としては、正方形状、長方形状、菱形形状等が挙げられる。図6に示される第1のスペーサ部71においては、枠部73および桟部75によって形成された四角形状の開口部74がマトリクス状に配置されている。また、枠部の角部および/または桟部の角部は、第1のスペーサ部の平面視において、曲線状となっていてもよい。
(枠部および桟部)
図6に示される枠部73は、平面視において四角形状となっているが、枠部の形状は、LED実装基板の形状等に合わせて、適宜変更することができる。枠部73は、ほぼフレキシブル配線基板41の大きさと同じ大きさになっている。
図6に示される枠部73は、平面視において四角形状となっているが、枠部の形状は、LED実装基板の形状等に合わせて、適宜変更することができる。枠部73は、ほぼフレキシブル配線基板41の大きさと同じ大きさになっている。
桟部75は、開口部74間を仕切るものであり、枠部75と一体的に設けられている。本明細書における「桟部が枠部と一体的に設けられている」とは、枠部と桟部との間に境界が存在しない場合、すなわち枠部と桟部が一体形成されている場合のみならず、桟部が枠部に接合されている場合をも含む概念である。第1のスペーサ部71においては、枠部73および桟部75が一体形成されている。枠部73および桟部75を一体形成することによって、繋ぎ目がない第1のスペーサ部を得ることができるので、第1のスペーサ部を複数の部材から構成するよりも、LEDバックライト装置の組立工程の簡素化、および振動試験における第1の光学シートの位置ずれリスクの低減を図ることができる。また、第1のスペーサ部には、繋ぎ目がないので、継ぎ目に入り込む光にもなく、光学的損失の低減を図ることができる。
桟部75は、図8に示されるように、区画領域51間の境界部51Cに対応する位置に配置されていることが好ましい。本明細書における「区画領域間の境界部」とは、透過部および反射部のパターンから区画領域間の境界と想定される領域を含む部分を意味するものとする。なお、図8は、LED素子42側からスペーサ70および第1の光学シート50を平面視した図である。
図3に示されるように、枠部73および桟部75の少なくともいずれかの開口部74に面している側面73A、75Aが、フレキシブル配線基板41から第1の光学シート50に向けて開口部74の開口径が大きくなるように傾斜していることが好ましい。このような側面73A、75Aを有する枠部73および桟部75を形成することにより、LED素子42からの出射光を枠部73の側面73Aおよび桟部75の側面75Aで反射させて、第1の光学シート50に導くことができるので、LEDバックライト装置20からより効率良く光を出射させることができる。このような側面73A、75Aを有するスペーサ70は、例えば、射出成型、切削や三次元プリンターによって得ることができる。側面73A、75Aは、第1のスペーサ71の高さ方向の断面において、曲線状となっていてもよいが、作製し易さの観点から、直線状となっていることが好ましい。
枠部および桟部の少なくともいずれかの第1の光学シート側の上面には、凸部が設けられていることが好ましい。スペーサは、上記したように、射出成型、打ち抜き、切削、または三次元プリンターによって作製することが可能であるが、第1のスペーサ部に凸部を設ける場合には、これらの中でも、凸部の形成し易さの観点から、射出成型が好ましい。
第1のスペーサ部に凸部を設ける場合、第1の光学シートには孔部が設けられており、凸部が孔部に入り込んでいる。このような孔部および凸部を設けることによって、LED素子に対する第1の光学シートの位置合わせが容易となるとともに、振動試験を行った場合であっても、LED素子に対する第1の光学シートの位置ずれをより抑制することができる。
第1の光学シートとして、貫通する複数の開口部135を有する第1の光学シート130を用いる場合、開口部135のうち1以上の開口部を上記孔部として利用してもよい。この場合、開口部135が貫通孔となっているので、孔部も貫通孔となっているが、開口部135と別に孔部を設ける場合には、孔部は貫通孔でなくともよい。本明細書における「孔部」とは、貫通孔のみならず、凹みのような貫通していない孔をも含む概念である。また、透過部として機能する開口部がない光学シートであっても、凸部を入り込ませる孔部を有する光学シートであれば、適用できる。
上記凸部は、LED素子に対する透過部として機能する複数の開口部を有する第1の光学シートの位置を合わせ、およびこの第1の光学シートの位置ずれを抑制するためのものである。凸部は、上記孔部として機能する開口部に入り込んでいる。
凸部の形状は、特に限定されないが、例えば、例えば、円錐形状、円錐台形状、角錐形状、角錐台形状、ドーム形状、不定形形状が挙げられる。
凸部の高さは、第1の光学シートの光学性能に影響を与えない観点から、第1の光学シートの厚み以下(開口部の高さ以下)とすることが好ましい。また、第1の光学シートの位置ずれを抑制する観点からは、凸部の高さの下限は、第1の光学シートの厚みの1/4以上となっていることがより好ましい。
凸部の直径や幅は、特に限定されないが、第1の光学シートは、直径が異なる開口部が複数存在しているので、対象とする開口部よりも小さい開口部には入らないような直径であることが好ましい。
凸部は、第1のスペーサ部全体として1以上形成されていればよいが、第1の光学シートの位置ずれをより抑制する観点からは、複数個形成されていることが好ましい。さらに、第1の光学シートの位置ずれをさらに抑制する観点からは、第1のスペーサ部の平面視において、凸部によって四角形が描かれるように少なくとも4箇所に凸部が形成されていることが好ましい。
凸部を有する第1のスペーサ部を備えるスペーサは、射出成型によって作製することができる。また、凸部を別途作製し、枠部および桟部の少なくともいずれかに凸部を接着剤等や機械的固定によって固定することも可能であるが、接着剤等によって上記凸部を枠部および/または桟部に固定した場合には、凸部が枠部および/または桟部から剥がれるおそれがあるので、凸部と枠部および/または桟部とは射出成型によって一体形成されることが好ましい。
<開口部>
開口部74は、各LED素子42からの光を通過させるためのものであり、第1のスペーサ部71の高さ方向に貫通している。開口部74は、第1のスペーサ部71に複数設けられている。開口部74の個数は特に限定されないが、図6においては、LED素子42の個数(縦4個×横6個=24個)に対応して、縦4個×横6個=24個の開口部74が形成されている。
開口部74は、各LED素子42からの光を通過させるためのものであり、第1のスペーサ部71の高さ方向に貫通している。開口部74は、第1のスペーサ部71に複数設けられている。開口部74の個数は特に限定されないが、図6においては、LED素子42の個数(縦4個×横6個=24個)に対応して、縦4個×横6個=24個の開口部74が形成されている。
各開口部74は、各LED素子42からの光を通過させるものであるので、各開口部74は、第1のスペーサ部71を平面視したとき、開口部74内にLED素子42が入る大きさとなっている。図8においては、1つの開口部74内に1個のLED素子42が配置されているが、1つの開口部内に複数個のLED素子が配置されていてもよい。
図8に示される開口部74は、全て同じ大きさとなっているが、開口部74は同じ大きさである必要はなく、異なる大きさであってもよい。
第1のスペーサ部71は、格子状となっているが、第1のスペーサ部は、格子状となっていなくともよい。例えば、第1のスペーサは、枠部および桟部によって形成された開口部が千鳥状に配置されたものであってもよい。具体的には、第1のスペーサ部は、図9に示されるように平面視で六角形状の開口部が千鳥状に配置されたハニカム状となっていてもよい。図9に示されるスペーサ140は、スペーサ70と同様に、第1のスペーサ部141と、枠状の第2のスペーサ部142とを備えている。第1のスペーサ部141は第2のスペーサ部142の内側に位置しており、またLED実装基板40と第1の光学シート50との間に位置している。第1のスペーサ部141は第2のスペーサ部142と一体的に設けられている。第1のスペーサ部141は、第1のスペーサ部71と同様に、枠部143と、枠部143よりも内側に位置した複数の開口部144と、開口部144間に位置し、枠部141と一体的に設けられた桟部145とを有している。第1のスペーサ141は、ハニカム状となっている以外、第1のスペーサ部71と同様となっているので、ここでは説明を省略するものとする。また、第2のスペーサ部142も、第2のスペーサ部72と同様となっているので、ここでは説明を省略するものとする。なお、LED素子42がマトリクス状に配置されたLED実装基板40を用いる場合には、格子状の第1のスペーサ部71を有するスペーサ70を用い、LED素子が千鳥状に配置されたLED実装基板を用いる場合には、ハニカム状の第1のスペーサ部141を有するスペーサ140を用いることができる。
<第2のスペーサ部>
第2のスペーサ部72は、上記したように、第1の光学シート50に対し第2の光学シート60を離間させるためのものである。また、第2のスペーサ部72は、第1の光学シート50から第2の光学シート60までの距離d2を0.5mm以上5mm以下に保持するとともに、フレキシブル配線基板41の表面41Aから第2の光学シート60までの距離を1mm以上10mm以下に保持する機能を有している。
第2のスペーサ部72は、上記したように、第1の光学シート50に対し第2の光学シート60を離間させるためのものである。また、第2のスペーサ部72は、第1の光学シート50から第2の光学シート60までの距離d2を0.5mm以上5mm以下に保持するとともに、フレキシブル配線基板41の表面41Aから第2の光学シート60までの距離を1mm以上10mm以下に保持する機能を有している。
図3に示される第2のスペーサ部72の高さh2は、第1のスペーサ部71の高さh1よりも高くなっている。図3に示される第2のスペーサ部72の高さh2は、1mm以上10mm以下であることが好ましい。第2のスペーサ部の高さが、1mm未満であると、第1の光学シートと第2の光学シートとの距離が短すぎるために、第2の光学シートにおけるLED素子42に対応する部分が他の部分よりも明るくなるおそれがあり、また10mmを越えると、LEDバックライト装置の薄型化が図れないというおそれがある。本明細書における「第2のスペーサの高さ」とは、第2のスペーサ部における筐体の内底面側の面である底面に垂直な方向において、第2のスペーサ部の底面から第2のスペーサ部の上面までの距離を意味するものとする。第2のスペーサ部72の高さh2は、第2のスペーサ部72の高さをランダムに10箇所測定した値の算術平均値とする。
第2のスペーサ部72は、枠状となっている。本明細書の「枠状」とは、切れ間なく1周繋がっている構成のみならず、概ね繋がっていれば途中に切れ間があってもよい。図2に示されるように、第2のスペーサ部72は、第1の光学シート50の外周面50Aを取り囲むように配置されている。第2のスペーサ部72は、図2に示されるように、第1の光学シート50の外周面50Aのみならず、フレキシブル配線基板41の外周面41Cを取り囲むように配置されている。すなわち、第2のスペーサ部72の内側には、LED実装基板40、第1の光学シート50、および第1のスペーサ部71が位置している。第2のスペーサ部72が枠状になっていることにより、第1の光学シート50を透過して、第2のスペーサ部72側に向かう光を第2のスペーサ部72で反射させて、第2の光学シート60に導くことができる。また、第2のスペーサ部72が枠状となっていることにより、第2のスペーサが複数の柱状体から構成されている場合よりも、第2の光学シート60との接触面積を増大させることができるので、LEDバックライト装置20の使用時において、第2のスペーサ部72を介して第2の光学シート60の熱をより放熱させることができる。また、第2のスペーサ部72が枠状となっていることにより、第2のスペーサ部が複数の柱状体から構成されている場合よりも、第2のスペーサ部72と第2の光学シート60との接着面積を増大させることができるので、より第2の光学シート60が位置ずれしにくい。
図3に示されるように、第2のスペーサ部72の内側面72Aのうち第1の光学シート50に対向する部分(以下、この部分を「内側面対向部」と称する。)72Bよりも第2の光学シート60側の部分(以下、この部分を「内側面上部」と称する。)72Cの少なくとも一部は、第1の光学シート50の外周面50Aよりも第2のスペーサ部72の幅方向内側に位置している。本明細書における「幅方向内側」とは、第2のスペーサ部の平面視において、第2のスペーサ部のほぼ中央部を基準としたときに第2のスペーサ部の幅方向における第2のスペーサの中央部に近い側を意味する。本実施形態においては、図7に示されるように、内側面上部72Cの全てが、第1の光学シート50の外周面50Aよりも第2のスペーサ部72の幅方向内側に位置している。すなわち、第1の光学シート50および第2のスペーサ部72の平面視においては、第1の光学シート50の外縁部50Bの全てが、第2のスペーサ部72の内側面上部72Cによって覆われている。なお、このような内側面上部は、内側面のうち、対向する2箇所に設けられていてもよい。このような内側面72Aを有する第2のスペーサ部72を備えるスペーサ70は、例えば、射出成型、打ち抜き、切削または三次元プリンターによって得ることができる。
内側面上部72Cは、第2のスペーサ部72の幅方向の断面において、直線状または曲線状となっていてもよいが、第1の光学シートを確実に押さえる観点から、図3に示されるように第1の光学シート50側に凸の曲線状になっていることが好ましい。内側面上部においては、内側面対向部から第2の光学シートに向けて、なだらかに変化していてもよいが、第2のスペーサの幅方向内側に突出していてもよい。
第2のスペーサ部72の幅方向における、内側面上部72Cのうち最も第2のスペーサ部72の幅方向内側に位置する部分と、第1の光学シート50の外周面50Aとの間の距離d3は、0.1mm以上5mm以下であることが好ましい。この距離が、0.1mm未満であると、LEDバックライト装置に振動や衝撃が加えられた際に、内側面上部によって有効に第1の光学シートを押さえることができないおそれがあり、また5mmを超えると、内側面上部によって第1の光学シートが隠れる部分が多くなるので、光出射効率が低下するおそれがある。
図3に示されるように、第2のスペーサ部72の底面72Dは筐体30の内底面30Bに接していることが好ましい。本明細書における「第2のスペーサ部の底面」とは、第2のスペーサ部における筐体の内底面側の面を意味するものとする。また、本明細書における「第2のスペーサ部の底面が筐体の内底面と接している」とは、第2のスペーサ部の底面が筐体の内底面に直接接触している場合に限らず、第2のスペーサ部の底面と筐体の内底面との間に、両面テープ、粘着剤または接着剤等、熱伝導という観点でほぼ無視できる層が介在している場合をも含む概念である。図3においては、第2のスペーサ部72の底面72Dと筐体30の内底面30Bとの間には、後述する両面テープ103が介在している。
また、図3に示される第2のスペーサ部72の外側の側面である外側面72Eは筐体30の内側面30Dに接している。本明細書における「第2のスペーサ部の外側面」とは、第2のスペーサ部の内側面とは反対側の面を意味するものとする。また、本明細書における「第2のスペーサ部の外側面が筐体の内側面と接している」とは、第2のスペーサ部の外側面が筐体の内側面に直接接触している場合に限らず、第2のスペーサ部の外側面と筐体の内側面との間に、両面テープ、粘着剤または接着剤等、熱伝導という観点でほぼ無視できる層が介在している場合をも含む概念である。図3においては、第2のスペーサ部72の外側面72Eは、筐体30の内側面30Dに直接接している。
第2のスペーサ部72と筐体30は、LED素子42に対する第2の光学シート60の位置ずれをより抑制する観点から、固定されていることが好ましい。第2のスペーサ部72と筐体30の固定方法としては、特に限定されず、接着や機械的固定手段による固定が挙げられる。図3においては、第2のスペーサ部72の底面72Dと筐体30の内底面30Bが、両面テープ103を介して接着されることによって固定されている。ここで、第2のスペーサ部72は、枠状となっているので、第2のスペーサ部が複数の柱状体から構成されている場合よりも、筐体30との接着面積を増大させることができるので、第2のスペーサ部72を固定しやすい。なお、第2のスペーサ部72と筐体30は、両面テープ103ではなく、接着剤や粘着剤を介して接着されていてもよい。
第2のスペーサ部72と第2の光学シート60は、固定されていてもよい。第2のスペーサ部72と第2の光学シート60の固定方法としては、特に限定されず、接着や機械的固定手段による固定が挙げられる。図3においては、第2のスペーサ部72における底面72Dとは反対側の上面72Fと第2の光学シート60が、両面テープ104を介して接着されることによって固定されている。第2のスペーサ部72と第2の光学シート60を固定することにより、LED素子42に対する第2の光学シート60の位置ずれをより抑制できる。なお、第2のスペーサ部72と第2の光学シート60は、両面テープ104ではなく、接着剤や粘着剤を用いて固定されていてもよい。
図3においては、第1の光学シート50の外周面51Cおよびフレキシブル配線基板41の外周面41Cは、第2のスペーサ部72の内側面72Aに接しているが、図9に示されるように、第2のスペーサ部72の内側面72Aと第1の光学シート50の外周面50Aとの間に隙間105を有していてもよい。また、第2のスペーサ部72の内側面72Aとフレキシブル配線基板41の外周面41Cとの間にも隙間106を有していてもよい。このような隙間105、106を有することにより、LEDバックライト装置20に振動や何等かの要因でフレキシブル配線基板41の表面41Aの法線方向と直交する方向に衝撃が加わり、第1の光学シート50やフレキシブル配線基板41が若干第2のスペーサ72側に移動したとしても、隙間105により第2のスペーサ部72と第1の光学シート50との衝突を抑制することができ、また隙間106により第2のスペーサ部72とフレキシブル配線基板41との衝突を抑制することができるので、フレキシブル配線基板41、第1の光学シート50およびスペーサ70の破損をより抑制できる。
第2のスペーサ部72の内側面72Aと第1の光学シート50の外周面51Cとの間の距離および第2のスペーサ部72の内側面72Aとフレキシブル配線基板41との間の距離、すなわち隙間105、106の幅は、それぞれ0.1mm以上10mm以下であることが好ましい。この距離が、0.1mm未満であると、LEDバックライト装置に振動や何等かの要因で配線基板の表面の法線方向と直交する方向に衝撃が加わったときに、第2のスペーサ部と第1の光学シートや配線基板との衝突を抑制できないおそれがあり、また10mmを超えると、LEDバックライト装置の小型化を図れないおそれがある。
図3においては、第2のスペーサ部72の外側面72Eが、筐体30の内側面30Dに接しているが、図10に示されるように、第2のスペーサ部72の外側面72Eと筐体30の内側面30Dとの間に隙間107を有していてもよい。このような隙間107を有することにより、LEDバックライト装置20に振動や何等かの要因でフレキシブル配線基板41の表面41Aの法線方向と直交する方向に衝撃が加わったとしても、隙間107の存在によって、第2のスペーサ部72が筐体30の内側面30D側に若干撓るので、振動や衝撃によって、第1の光学シート50が若干第2のスペーサ72側に移動したとしても、第2のスペーサ部72と第1の光学シート50が衝突することによる第1の光学シート50およびスペーサ70の破損をより抑制することができる。なお、図11に示される隙間107は、筐体30の内底面30Bから第2の光学シート60に向けて、徐々に広がっている。すなわち、第2のスペーサ部72の外側面72Eは、第2のスペーサ部72の底面72Dから上面72Fに向けて、第2のスペーサ部72の内側に向けて傾斜している。
第2のスペーサ部72の外側面72Eと筐体30の内側面30Dとの間の距離、すなわち隙間107の幅は、最も大きい箇所で、0.1mm以上10mm以下であることが好ましい。この距離が、0.1mm未満であると、LEDバックライト装置に振動や何等かの要因で配線基板の表面の法線方向と直交する方向に衝撃が加わったときに、第2のスペーサ部が有効に撓ることができないおそれがあり、また10mmを超えると、LEDバックライト装置の小型化が図れないおそれがある。
<<レンズシート>>
レンズシート80は、入射した光の進行方向を変化させて出光側から出射させる機能を有する。レンズシート80は、図12に示されるように、例えばL1のような入射角度が大きい光の進行方向を変化させて出光側から出射させて、正面方向の輝度を集中的に向上させる機能(集光機能)とともに、例えばL2のような入射角度が小さい光を反射させて、第2の光学シート80側に戻す機能(再帰反射機能)を有している。レンズシート80は、図12に示されるように、樹脂フィルム81と、樹脂フィルム81の一方の面に設けられたレンズ層92とを備えている。なお、レンズシート80は、レンズ層82が樹脂フィルム91よりも反射型偏光分離シート90側に位置するように配置されている。
レンズシート80は、入射した光の進行方向を変化させて出光側から出射させる機能を有する。レンズシート80は、図12に示されるように、例えばL1のような入射角度が大きい光の進行方向を変化させて出光側から出射させて、正面方向の輝度を集中的に向上させる機能(集光機能)とともに、例えばL2のような入射角度が小さい光を反射させて、第2の光学シート80側に戻す機能(再帰反射機能)を有している。レンズシート80は、図12に示されるように、樹脂フィルム81と、樹脂フィルム81の一方の面に設けられたレンズ層92とを備えている。なお、レンズシート80は、レンズ層82が樹脂フィルム91よりも反射型偏光分離シート90側に位置するように配置されている。
(樹脂フィルム)
樹脂フィルム81の構成材料としては、例えば、ポリエステル(例えば、ポリエチレンテレフタレート、ポリエチレンナフタレート)、セルローストリアセテート、セルロースジアセテート、セルロースアセテートブチレート、ポリアミド、ポリイミド、ポリエーテルスルフォン、ポリスルフォン、ポリプロピレン、ポリメチルペンテン、ポリ塩化ビニル、ポリビニルアセタール、ポリエーテルケトン、ポリメタクリル酸メチル、ポリカーボネート、又は、ポリウレタン等の熱可塑性樹脂が挙げられる。
樹脂フィルム81の構成材料としては、例えば、ポリエステル(例えば、ポリエチレンテレフタレート、ポリエチレンナフタレート)、セルローストリアセテート、セルロースジアセテート、セルロースアセテートブチレート、ポリアミド、ポリイミド、ポリエーテルスルフォン、ポリスルフォン、ポリプロピレン、ポリメチルペンテン、ポリ塩化ビニル、ポリビニルアセタール、ポリエーテルケトン、ポリメタクリル酸メチル、ポリカーボネート、又は、ポリウレタン等の熱可塑性樹脂が挙げられる。
(レンズ層)
レンズ層82は、出光側に並べて配置された複数の単位レンズ82Aを備えている。単位レンズ82Aは、三角柱状であってもよいし、波状や例えば半球状のような椀状であってもよい。具体的には、単位レンズとしては、単位プリズム、単位シリンドリカルレンズ、単位マイクロレンズ等が挙げられる。なお、そのような単位レンズ形状を有するレンズシートとしては、プリズムシート、レンチキュラーレンズシート、マイクロレンズシート等が挙げられる。
レンズ層82は、出光側に並べて配置された複数の単位レンズ82Aを備えている。単位レンズ82Aは、三角柱状であってもよいし、波状や例えば半球状のような椀状であってもよい。具体的には、単位レンズとしては、単位プリズム、単位シリンドリカルレンズ、単位マイクロレンズ等が挙げられる。なお、そのような単位レンズ形状を有するレンズシートとしては、プリズムシート、レンチキュラーレンズシート、マイクロレンズシート等が挙げられる。
単位レンズ82Aは、光の利用効率を向上させる観点から、80°以上100°以下の頂角θを有することが好ましく、約90°の頂角を有することがより好ましい。
<反射型偏光分離シート>
反射型偏光分離シート90は、レンズシート80から出射される光のうち、第1の直線偏光成分(例えば、P偏光)のみを透過し、かつ第1の直線偏光成分と直交する第2の直線偏光成分(例えば、S偏光)を吸収せずに反射する機能を有するものである。反射型偏光分離シート90で反射された第2の直線偏光成分は再度反射され、偏光が解消された状態(第1の直線偏光成分と第2の直線偏光成分とを両方含んだ状態)で、再度、反射型偏光分離シート90に入射する。
反射型偏光分離シート90は、レンズシート80から出射される光のうち、第1の直線偏光成分(例えば、P偏光)のみを透過し、かつ第1の直線偏光成分と直交する第2の直線偏光成分(例えば、S偏光)を吸収せずに反射する機能を有するものである。反射型偏光分離シート90で反射された第2の直線偏光成分は再度反射され、偏光が解消された状態(第1の直線偏光成分と第2の直線偏光成分とを両方含んだ状態)で、再度、反射型偏光分離シート90に入射する。
反射型偏光分離シート90としては、3M社から入手可能な「DBEF」(登録商標)を用いることができる。また、「DBEF」以外にも、Shinwha Intertek社から入手可能な高輝度偏光シート「WRPS」やワイヤーグリッド偏光子等を、反射型偏光分離シート63として用いることができる。
本実施形態によれば、第2のスペーサ部72の内側面72Aのうち、内側面上部72Cの少なくとも一部が、第1の光学シート50の外周面50Aよりも第2のスペーサ部72の幅方向内側に位置しているので、第1の光学シート50の上面側から第1の光学シート50を押さえることができる。これにより、LEDバックライト装置20を曲げた場合であっても、内側面上部72Cによって第1のスペーサ部71に対する第1の光学シート50の外縁部50Bの浮き上がりを押さえられるので、第1のスペーサ部71からの第1の光学シート50の剥がれを抑制できる。
本実施形態によれば、第2のスペーサ部72の内側面上部72Cの少なくとも一部が、第1の光学シート50の外周面50Aよりも第2のスペーサ部72の幅方向内側に位置しているので、自動車や電車等の振動または何等かの要因で衝撃がLEDバックライト装置20に加わったとしても、第1の光学シート50が移動しにくくなる。これにより、LED素子42に対する第1の光学シート50の位置ずれを抑制することができる。また、LED素子42に対する第1の光学シート50の位置ずれを抑制することができるので、輝度の面内均一性を向上させることができる。
本実施形態によれば、LED実装基板40に対して第1の光学シート50を離間させる第1のスペーサ部71が、第1の光学シート50に対して第2の光学シート60を離間させる枠状の第2のスペーサ部72と一体的に設けられているので、剛直なスペーサ70を得ることができる。これにより、自動車や電車等の振動または何等かの要因で衝撃がLEDバックライト装置20に加わったとしても、スペーサ70の破損を抑制できる。また、自動車や電車等の振動または何等かの要因で衝撃LEDバックライト装置20に加わったとしても、柱状のスペーサを用いた場合よりも、第1の光学シート50や第2の光学シート60の揺れ幅が小さくなるので、第1の光学シート50の位置ずれをより抑制することができるとともに、第2の光学シート60の位置ずれを抑制することができる。
さらに、本実施形態によれば、第1のスペーサ部71が、枠部73以外に、枠部73と一体的に設けられた桟部75を備えているので、第1のスペーサ部として、枠状のものを用いる場合によりも、剛性が高い。このため、LEDバックライト装置20に対して振動試験を行った場合に、第1の光学シート50の揺れ幅をより小さくすることができるので、振動試験を行った場合に、LED素子42に対する第1の光学シート50の位置ずれをより抑制することができる。また、第1のスペーサ部71によって、LED素子42に対する光透過反射シートである第1の光学シート50の位置ずれをより抑制することができるので、輝度の面内均一性をより向上させることができる。
また、スペーサとして、複数の柱状のスペーサを用いると、光学シートが薄い場合には、隣接するスペーサ間で光学シートが撓むおそれがある。特に、光学シートが光透過反射シートである場合には、光透過反射シートは各区画領域に透過部および反射部のパターンを有しているので、光学シートが撓むことによって、配線基板と光透過反射シートとの距離が変わってしまうと、輝度の面内均一性が低下するおそれがある。これに対し、本実施形態によれば、第1のスペーサ部71が、枠部73と、枠部73と一体的に設けられた桟部75とを備えているので、柱状のスペーサに比べて、第1の光学シート50との接触面積を増大させることができる。これにより、第1の光学シート50の撓みを抑制することができる。また、第1のスペーサ部71によって、光透過反射シートである第1の光学シート50の撓みを抑制することができるので、フレキシブル配線基板41と第1の光学シート50との距離を所定の距離に保持することができ、輝度の面内均一性を向上させることができる。
本実施形態によれば、第2のスペーサ部72が枠状となっており、第2のスペーサ部72の底面72Dが筐体30の内底面30Bに接しており、第2のスペーサ部72の外側面72Eが筐体30の内側面30Dに接しているので、柱状のスペーサと比べて、筐体30との接触面積および第2の光学シート60との接触面積を増大させることができ、放熱面積を増大させることができる。これにより、第2の光学シート60の反りを抑制することができる。
本実施形態のLED画像表示装置10およびLEDバックライト装置20の用途は、特に限定されないが、例えば、テレビ用途、車載用途や看板等の広告媒体用途に用いることができる。自動車に搭載されるLEDバックライト装置は、特に、振動試験に耐え得るものであることが必要であるが、本実施形態によれば、振動試験を行った場合であっても、スペーサ70によって、LED素子42に対する第1の光学シート50の位置ずれを抑制することができるので、LEDバックライト装置20は、車載用途に好適に用いることができる。
本発明を詳細に説明するために、以下に実施例を挙げて説明するが、本発明はこれらの記載に限定されない。
<実施例1>
まず、LED実装基板を作製した。具体的には、縦111mm×横293mmおよび厚さ50μmのポリエチレンナフタレートフィルムの一方の面に、配線用の厚さ35μmの銅層を積層した。その後、配線用の銅層をエッチングして、銅配線部を形成した。銅配線部を形成した後、スクリーン印刷で膜厚50μmの絶縁性保護膜を形成し、フレキシブル配線基板を得た。フレキシブル配線基板を得た後、フレキシブル配線基板の銅配線部にリフロー方式によりはんだ層を介して縦5×横12個の合計60個のLED素子を実装して、LED実装基板を得た。
まず、LED実装基板を作製した。具体的には、縦111mm×横293mmおよび厚さ50μmのポリエチレンナフタレートフィルムの一方の面に、配線用の厚さ35μmの銅層を積層した。その後、配線用の銅層をエッチングして、銅配線部を形成した。銅配線部を形成した後、スクリーン印刷で膜厚50μmの絶縁性保護膜を形成し、フレキシブル配線基板を得た。フレキシブル配線基板を得た後、フレキシブル配線基板の銅配線部にリフロー方式によりはんだ層を介して縦5×横12個の合計60個のLED素子を実装して、LED実装基板を得た。
また、光透過反射シートを作製した。光透過反射シートは、厚さ0.5mmの発泡ポリエチレンテレフタレートフィルムに、プレス打ち抜き加工によって、厚さ方向に貫通する複数の開口部を所定のパターンで形成して、作製された。これにより、各区画領域が透過部および反射部からなる縦5個×横12個の合計60個の区画領域を有する光透過反射シートを得た。光透過反射シートにおいては、各区画領域の大きさが縦22mm×横24.2mmであり、かつ各区画領域の中央部から外縁部に向けて開口率が漸増するものであった。
また、スペーサを作製した。スペーサは、ポリカーボネート樹脂を用いて射出成型によって作製した。スペーサは、第1のスペーサ部および第1のスペーサ部と一体的に形成された第2のスペーサ部を有するものであった。第1のスペーサ部は、格子状になっており、縦111mm×横290mm、幅2mmおよび高さ2mmの四角形状の枠部と、枠部の内側に縦20mm×横22.4mmの第1のスペーサ部の高さ方向に貫通する縦5個×横12個の合計60個のマトリクス状に配置された開口部と、開口部間に位置し、枠部と一体的に設けられた幅2mmおよび高さ2mmの桟部とを備えているものであった。また、第2のスペーサ部は、枠状となっており、第2のスペーサ部の内側に第1のスペーサ部が位置していた。また、第2のスペーサ部は、第1のスペーサ部に光透過反射シートを配置し、第2のスペーサ部に光拡散シートを配置した際に、第2のスペーサ部の内側面のうち光透過反射シートと対向する部分である内側面対向部よりも光拡散シート側の部分である内側面上部の全てが、光透過反射シートの外周面よりも第2のスペーサの幅方向内側に位置するように形成された。具体的には、第2のスペーサ部は、外寸法が縦117mm×横310mm、内寸法が縦111mm×横290mm、および高さが5mmであり、第2のスペーサ部の底面から第1のスペーサ部の底面までの高さは、0.2mmであった。また、第2のスペーサ部の内側面対向部の幅は2mmであり、内側面上部の幅は内側面対向部の幅よりも光拡散シート側に向けて漸増していた。
そして、大きさが縦117mm×横310mm×高さ7mmの収容空間を有するアルミニウム製の筐体本体内に、上記作製したLED実装基板をLED素子が上側になるように配置した。次いで、LED実装基板におけるフレキシブル配線基板の表面に上記作製したスペーサの第1のスペーサ部の底面を、また筐体本体の内底面にスペーサの第2のスペーサ部の底面を両面テープ(製品名「No.5000NS」、日東電工社製)を介して固定した。さらに、第1のスペーサ部の上面に上記作製した光透過反射シートを両面テープ(製品名「No.5000NS」、日東電工社製)を介して固定した。ここで、第1のスペーサ部は、第1のスペーサ部の開口部を介して各LED素子からの光が通過するように配置され、また光透過反射シートは区画領域間の境界部が第1のスペーサの桟部の位置となるように配置された。第2のスペーサ部の幅方向における、第2のスペーサ部の内側面上部のうち最も第2のスペーサ部の幅方向内側に位置する部分と、光透過反射シートの外周面との間の距離は、2mmであった。さらに、第2のスペーサ部上に縦117mm×横310mmおよび厚さ1.5mmの光拡散シートを配置した。最後に、大きさが縦110mm×横303mmの開口部を有する枠状の蓋体を筐体本体に嵌合させることによって、筐体を形成して、LEDバックライト装置を得た。なお、フレキシブル配線基板の表面から光透過反射シートまでの距離は2mmであり、フレキシブル配線基板の表面から光拡散シートまでの距離は4.8mmであり、光透過反射シートと光拡散シートとの間の距離は2.3mmであった。
<比較例1>
比較例1においては、スペーサの代わりに、複数の柱状の第1のスペーサ部と、第1のスペーサ部とは別体であり、かつ第1のスペーサと接合されていない柱状の第2のスペーサ部からなるスペーサを用いたこと以外は、実施例1と同様にして、LEDバックライト装置を得た。比較例1で用いた第1のスペーサ部は、ポリカーボネート樹脂からなる直径5mm、高さ2mmの柱状のものであり、第2のスペーサ部は、ポリカーボネート樹脂からなる直径5mm、高さ5mmの柱状のものであった。なお、第2のスペーサ部には、実施例1のような内側面上部は設けられていなかった。また、第1のスペーサは、配線基板と光透過反射シートとの間であり、かつLED素子間に1本ずつ配置された。第2のスペーサは、筐体の内底面と光拡散シートの間であり、かつ筺体の四隅に1本ずつ合計4本配置された。柱状の第1のスペーサ部は、両面テープ(製品名「No.5000NS」、日東電工社製)を介してフレキシブル配線基材および光反射透過シートと固定され、柱状の第2のスペーサ部は、両面テープ(製品名「No.5000NS」、日東電工社製)を介して筐体本体の内底面と固定された。
比較例1においては、スペーサの代わりに、複数の柱状の第1のスペーサ部と、第1のスペーサ部とは別体であり、かつ第1のスペーサと接合されていない柱状の第2のスペーサ部からなるスペーサを用いたこと以外は、実施例1と同様にして、LEDバックライト装置を得た。比較例1で用いた第1のスペーサ部は、ポリカーボネート樹脂からなる直径5mm、高さ2mmの柱状のものであり、第2のスペーサ部は、ポリカーボネート樹脂からなる直径5mm、高さ5mmの柱状のものであった。なお、第2のスペーサ部には、実施例1のような内側面上部は設けられていなかった。また、第1のスペーサは、配線基板と光透過反射シートとの間であり、かつLED素子間に1本ずつ配置された。第2のスペーサは、筐体の内底面と光拡散シートの間であり、かつ筺体の四隅に1本ずつ合計4本配置された。柱状の第1のスペーサ部は、両面テープ(製品名「No.5000NS」、日東電工社製)を介してフレキシブル配線基材および光反射透過シートと固定され、柱状の第2のスペーサ部は、両面テープ(製品名「No.5000NS」、日東電工社製)を介して筐体本体の内底面と固定された。
<曲げ評価>
実施例および比較例に係るLEDバックライト装置において、曲げ試験を行い、光透過反射シートが第1のスペーサ部から剥がれるか否か評価した。曲げ試験は、フレキシブル配線基板の短手方向を折り曲げの軸方向とし、曲率半径300mmでLEDバックライト装置の中央部を折り曲ることによって行った。評価基準は以下の通りとした。
○:光透過反射シートが第1のスペーサ部から剥がれなかった。
×:光透過反射シートの一部が第1のスペーサ部から剥がれていた。
実施例および比較例に係るLEDバックライト装置において、曲げ試験を行い、光透過反射シートが第1のスペーサ部から剥がれるか否か評価した。曲げ試験は、フレキシブル配線基板の短手方向を折り曲げの軸方向とし、曲率半径300mmでLEDバックライト装置の中央部を折り曲ることによって行った。評価基準は以下の通りとした。
○:光透過反射シートが第1のスペーサ部から剥がれなかった。
×:光透過反射シートの一部が第1のスペーサ部から剥がれていた。
<輝度の面内均一性測定>
実施例および比較例に係るLEDバックライト装置において、それぞれ、振動試験を行い、振動試験前後において、それぞれLEDバックライト装置の発光面(光拡散シートの表面)の輝度分布を測定し、輝度の面内均一性を評価するとともに、振動試験前後における面内均一性の変化率を求めて、振動試験前後において面内均一性がどの程度低下したかを評価した。
実施例および比較例に係るLEDバックライト装置において、それぞれ、振動試験を行い、振動試験前後において、それぞれLEDバックライト装置の発光面(光拡散シートの表面)の輝度分布を測定し、輝度の面内均一性を評価するとともに、振動試験前後における面内均一性の変化率を求めて、振動試験前後において面内均一性がどの程度低下したかを評価した。
振動試験は、単軸動電式振動試装置(製品名「EM2605S/H10」、IMV社製)の振動テーブルに、LEDバックライト装置の筐体の短手方向における外側面が振動テーブル側となるようにLEDバックライト装置を立てた状態で、LEDバックライト装置を固定し、互いに直交する3軸方向(X方向、Y方向、Z方向)の各方向に対し1時間ずつ下記条件で振動させることにより行った。振動条件は、掃引速度1oct/分で、周波数が10Hz〜30Hzの間は振幅±0.75mmで振動させ、周波数が30Hz〜500Hzの間は加速度を3Gとした。なお、この振動試験は、車載用LEDバックライト装置に求められている振動試験である。
輝度分布は、LED素子1個当たり180mAの電流を投入して、LED素子を点灯させた状態で、LEDバックライト装置の発光面(光拡散シートの表面)から発光面の法線方向に1m離れた箇所において、2次元色彩輝度計(製品名「CA−200」、コニカミノルタ社製)を用いて測定された。
輝度の面内均一性は、測定領域における中央領域の縦22.4mm×横146.4mmを評価範囲とし、評価範囲内の輝度分布における最大輝度(Lvmax)および最小輝度(Lvmin)を用いて、最大輝度(Lvmax)に対する最小輝度(Lvmin)の割合(Lvmin/Lvmax)を求めることによって、数値化された。
また、上記で求めた振動試験前における輝度の面内均一性および振動試験後における輝度の面内均一性を用いて、振動試験前後の輝度の面内均一性の変化率を求め、振動試験前後で輝度の面内均一性がどの程度低下したか評価した。評価基準は、以下の通りとした。
○:振動試験前後における輝度の面内均一性の変化率が10%以内であった。
×:振動試験前後における輝度の面内均一性の変化率が10%を超えていた。
なお、振動試験前後の輝度の面内均一性の変化率は、振動試験前の輝度の面内均一性と振動試験後の輝度の面内均一性の差(振動試験前の輝度の面内均一性−振動試験後の輝度の面内均一性)とした。
○:振動試験前後における輝度の面内均一性の変化率が10%以内であった。
×:振動試験前後における輝度の面内均一性の変化率が10%を超えていた。
なお、振動試験前後の輝度の面内均一性の変化率は、振動試験前の輝度の面内均一性と振動試験後の輝度の面内均一性の差(振動試験前の輝度の面内均一性−振動試験後の輝度の面内均一性)とした。
<外観評価>
実施例および比較例に係るLEDバックライト装置において、上記振動試験後のスペーサの外観を目視にて観察し、評価した。評価結果は、以下の基準とした。
○:スペーサにおいて、割れや折れ等の破損が確認されなかった。
×:スペーサにおいて、割れや折れ等の破損が確認された。
実施例および比較例に係るLEDバックライト装置において、上記振動試験後のスペーサの外観を目視にて観察し、評価した。評価結果は、以下の基準とした。
○:スペーサにおいて、割れや折れ等の破損が確認されなかった。
×:スペーサにおいて、割れや折れ等の破損が確認された。
<撓み評価>
実施例および比較例に係るLEDバックライト装置において、光透過反射シートに撓みが発生しているか否かを目視により評価した。なお、撓みは、振動試験前の光透過反射シートで確認するものとする。
○:光透過反射シートにおいて、撓みが確認されなかった。
×:光透過反射シートにおいて、撓みが確認された。
実施例および比較例に係るLEDバックライト装置において、光透過反射シートに撓みが発生しているか否かを目視により評価した。なお、撓みは、振動試験前の光透過反射シートで確認するものとする。
○:光透過反射シートにおいて、撓みが確認されなかった。
×:光透過反射シートにおいて、撓みが確認された。
以下、結果について述べる。比較例1においては、曲げ試験で、光透過反射シートの一部が第1のスペーサ部から剥がれていた。具体的には、曲げ試験によって、光透過反射シートの外縁部が第1のスペーサ部から剥がれていた。
また、比較例1においては、振動試験前の輝度の面内均一性に比べて振動試験後の輝度の面内均一性が明らかに低下していた。これは、第1のスペーサが柱状のものであったので、剛性が低く、振動試験によって、LED素子に対して光透過反射シートが位置ずれを起こしてしまったものと考えられる。
さらに、比較例1においては、LED実装基板に対して光透過反射シートを離間させる第1のスペーサ部と、光透過反射シートに対して光拡散シートを離間させる第2のスペーサ部とを別個に設け、かつ第1のスペーサ部および第2のスペーサ部が柱状のものであったので、第1のスペーサ部や第2のスペーサ部の剛性が低く、第1のスペーサ部や第2のスペーサ部に破損が確認された。
さらに、比較例1においては、光透過反射シートにおいて、撓みが確認された。また、比較例1においては、振動試験前の輝度の面内均一性が低かった。これは、光透過反射シートが撓んでいたからであると考えられる。
これに対し、実施例1においては、曲げ試験によっても、光透過反射シートが第1のスペーサ部から剥がれなかった。これは、光透過反射シートが第1のスペーサ部に接着されているとともに、第2のスペーサの内側面上部によって光透過反射シートの外縁部の浮き上がりを抑制できたためであると考えられる。
また、実施例1においては、比較例1よりも振動試験前の面内均一性に対する振動試験後の面内均一性の低下が抑制されていた。これは、第2のスペーサの内側面上部によって光透過反射シートの外縁部を押さえていたので、振動試験によっても、LED素子に対して光透過反射シートの位置ずれがほぼ起こらなかったからであると考えられる。
また、実施例1においては、LED実装基板に対して光透過反射シートを離間させる第1のスペーサ部と、光透過反射シートに対して光拡散シートを離間させる第2のスペーサとを一体的に形成したスペーサを用いていたので、スペーサの剛性が高く、スペーサに破損が確認されなかった。
さらに、実施例1においては、第1のスペーサ部が枠部および桟部から構成されていたので、光透過反射シートに撓みが確認されなかった。また、実施例1においては、振動試験前の輝度の面内均一性が高かった。これは、光透過反射シートが撓んでいなかったからであると考えられる。
10…LED画像表示装置
20…LEDバックライト装置
30…筐体
30B…内底面
30D…内側面
40…LED実装基板
41…配線基板
41A…表面
41B…裏面
41C…外周面
42…LED素子
50、130…第1の光学シート
50A…外周面
51、131…区画領域
51A、131A…中央部
51B、131B…外縁部
52、132…透過部
53、133…反射部
60…第2の光学シート
70、140…スペーサ
70A…内側面
70B…内側面対向部
70C…内側面上部
71、141…第1のスペーサ部
72、142…第2のスペーサ部
73、143…枠部
74、144…開口部
75、145…桟部
20…LEDバックライト装置
30…筐体
30B…内底面
30D…内側面
40…LED実装基板
41…配線基板
41A…表面
41B…裏面
41C…外周面
42…LED素子
50、130…第1の光学シート
50A…外周面
51、131…区画領域
51A、131A…中央部
51B、131B…外縁部
52、132…透過部
53、133…反射部
60…第2の光学シート
70、140…スペーサ
70A…内側面
70B…内側面対向部
70C…内側面上部
71、141…第1のスペーサ部
72、142…第2のスペーサ部
73、143…枠部
74、144…開口部
75、145…桟部
Claims (8)
- フレキシブル配線基板、および前記フレキシブル配線基板の一方の面に実装された複数のLED素子を備えるLED実装基板と、
前記複数のLED素子と対向するように配置された第1の光学シートと、
前記第1の光学シートの光出射側に配置された第2の光学シートと、
前記フレキシブル配線基板と前記第1の光学シートとの間に配置され、前記フレキシブル配線基板および前記第1の光学シートと固定され、かつ前記LED実装基板に対し前記第1の光学シートを離間させる第1のスペーサ部、および前記第1の光学シートの外周面を取り囲むように配置され、かつ前記第1の光学シートに対し前記第2の光学シートを離間させる枠状の第2のスペーサ部を有するスペーサと、を備え、
前記第1のスペーサ部が前記第2のスペーサ部の内側に位置し、
前記第2のスペーサの内側面のうち、前記第1の光学シートの前記外周面と対向する部分よりも前記第2の光学シート側の部分の少なくとも一部が、前記第1の光学シートの前記外周面よりも前記第2のスペーサ部の幅方向内側に位置していることを特徴とする、LEDバックライト装置。 - 前記第1のスペーサ部が、前記第2のスペーサ部と一体的に設けられている、請求項1に記載のLEDバックライト装置。
- 前記第1の光学シートの外周面と前記第2のスペーサ部の内側面との間に隙間を有する、請求項1または2に記載のLEDバックライト装置。
- 内底面、および前記内底面から立ち上がる内側面を有する筐体をさらに備え、前記LED実装基板、前記第1の光学シート、前記第2の光学シート、および前記スペーサが前記筐体内に配置され、前記第2のスペーサ部の底面が前記筐体の前記内底面に接し、かつ前記筐体の前記内側面と前記第2のスペーサ部の外側面との間に隙間を有する、請求項1また2に記載のLEDバックライト装置。
- 前記第1のスペーサ部が、前記第2のスペーサ部の前記内側面の周方向に沿って設けられた枠部と、前記枠部よりも内側に位置し、前記第1のスペーサの高さ方向に貫通し、かつ前記各LED素子からの光を通過させる複数の開口部と、前記開口部間に位置し、前記枠部と一体的に設けられた桟部とを有する、請求項1ないし4のいずれか一項に記載のLEDバックライト装置。
- 前記第1のスペーサ部が、格子状またはハニカム状である、請求項5に記載のLEDバックライト装置。
- 前記第1の光学シートが、平面視において複数に分割された区画領域を備え、前記各区画領域が、前記LED素子からの光の一部を透過する複数の透過部と、前記LED素子からの光の一部を反射する複数の反射部とを有し、前記各区画領域における前記透過部の面積割合である開口率が、前記区画領域の中央部から前記区画領域の外縁部に向けて漸増している、請求項1ないし6のいずれか一項に記載のLEDバックライト装置。
- 請求項1ないし7のいずれか一項に記載のLEDバックライト装置と、
前記LEDバックライト装置よりも観察者側に配置された表示パネルと
を備える、LED画像表示装置。
Priority Applications (1)
| Application Number | Priority Date | Filing Date | Title |
|---|---|---|---|
| JP2016253331A JP2018106972A (ja) | 2016-12-27 | 2016-12-27 | Ledバックライト装置およびled画像表示装置 |
Applications Claiming Priority (1)
| Application Number | Priority Date | Filing Date | Title |
|---|---|---|---|
| JP2016253331A JP2018106972A (ja) | 2016-12-27 | 2016-12-27 | Ledバックライト装置およびled画像表示装置 |
Publications (1)
| Publication Number | Publication Date |
|---|---|
| JP2018106972A true JP2018106972A (ja) | 2018-07-05 |
Family
ID=62787442
Family Applications (1)
| Application Number | Title | Priority Date | Filing Date |
|---|---|---|---|
| JP2016253331A Pending JP2018106972A (ja) | 2016-12-27 | 2016-12-27 | Ledバックライト装置およびled画像表示装置 |
Country Status (1)
| Country | Link |
|---|---|
| JP (1) | JP2018106972A (ja) |
Cited By (4)
| Publication number | Priority date | Publication date | Assignee | Title |
|---|---|---|---|---|
| EP3569663A1 (en) | 2018-05-15 | 2019-11-20 | Seiko Epson Corporation | Aqueous ink jet composition |
| JP2020024875A (ja) * | 2018-08-08 | 2020-02-13 | シャープ株式会社 | 照明装置、表示装置、及びテレビ受信装置 |
| WO2020209038A1 (ja) * | 2019-04-12 | 2020-10-15 | 株式会社ジャパンディスプレイ | 光源装置、および光源装置を有する表示装置 |
| JP7636658B2 (ja) | 2020-09-30 | 2025-02-27 | 日亜化学工業株式会社 | バックライト光源 |
-
2016
- 2016-12-27 JP JP2016253331A patent/JP2018106972A/ja active Pending
Cited By (9)
| Publication number | Priority date | Publication date | Assignee | Title |
|---|---|---|---|---|
| EP3569663A1 (en) | 2018-05-15 | 2019-11-20 | Seiko Epson Corporation | Aqueous ink jet composition |
| JP2020024875A (ja) * | 2018-08-08 | 2020-02-13 | シャープ株式会社 | 照明装置、表示装置、及びテレビ受信装置 |
| JP7033512B2 (ja) | 2018-08-08 | 2022-03-10 | シャープ株式会社 | 照明装置、表示装置、及びテレビ受信装置 |
| WO2020209038A1 (ja) * | 2019-04-12 | 2020-10-15 | 株式会社ジャパンディスプレイ | 光源装置、および光源装置を有する表示装置 |
| JP2020174011A (ja) * | 2019-04-12 | 2020-10-22 | 株式会社ジャパンディスプレイ | 光源装置、および光源装置を有する表示装置 |
| CN113614626A (zh) * | 2019-04-12 | 2021-11-05 | 株式会社日本显示器 | 光源装置以及具有光源装置的显示装置 |
| JP7134126B2 (ja) | 2019-04-12 | 2022-09-09 | 株式会社ジャパンディスプレイ | 光源装置、および光源装置を有する表示装置 |
| US11815764B2 (en) | 2019-04-12 | 2023-11-14 | Japan Display Inc. | Light source device and display device having light source device |
| JP7636658B2 (ja) | 2020-09-30 | 2025-02-27 | 日亜化学工業株式会社 | バックライト光源 |
Similar Documents
| Publication | Publication Date | Title |
|---|---|---|
| JP6575718B1 (ja) | スペーサー、led面光源装置およびled画像表示装置 | |
| JP6536732B2 (ja) | スペーサー、面光源装置および画像表示装置 | |
| JP2018106971A (ja) | Ledバックライト装置およびled画像表示装置 | |
| US8814391B2 (en) | Light guiding structure | |
| KR101467638B1 (ko) | 확산 렌즈, 이를 갖는 엘이디 어레이 바 및 이를 갖는 백라이트 어셈블리 | |
| JP6499269B2 (ja) | 積層型光学部材、照明装置、表示装置、及びテレビ受信装置 | |
| JP2018106970A (ja) | Ledバックライト装置およびled画像表示装置 | |
| JP2009199971A (ja) | 照明装置 | |
| JP2018206553A (ja) | スペーサー、led面光源装置およびled画像表示装置 | |
| JP2018106972A (ja) | Ledバックライト装置およびled画像表示装置 | |
| JP2018106973A (ja) | Ledバックライト装置およびled画像表示装置 | |
| JP2018006259A (ja) | Ledバックライト、led画像表示装置、直下型ledバックライト用透過反射板 | |
| JP2018200375A (ja) | 光透過反射シート、led面光源装置およびled画像表示装置 | |
| JP6180312B2 (ja) | Ledバックライト | |
| JP2018018711A (ja) | Ledバックライト及びそれを用いたled画像表示装置 | |
| JP2019046668A (ja) | スペーサー、led面光源装置およびled画像表示装置 | |
| JP2019046667A (ja) | スペーサー、led面光源装置およびled画像表示装置 | |
| JP2010067462A (ja) | バックライトユニット | |
| WO2019177090A1 (ja) | 面光源装置、面光源装置に用いられる積層体、及び、表示装置 | |
| JP2018067442A (ja) | 直下型ledバックライト用の透過反射板 | |
| JP2018037316A (ja) | 直下型のledバックライト、及び、それを用いたled画像表示装置 | |
| JP2018067441A (ja) | 直下型ledバックライト用の透過反射板 | |
| JP2020009661A (ja) | 面光源装置及び表示装置 | |
| KR101644856B1 (ko) | 편광 백라이트 유닛 및 이를 포함하는 디스플레이 장치 | |
| JP2019179711A (ja) | 面光源装置、面光源装置に用いられる積層体、及び、表示装置 |
