JP2018009818A - モータ装置 - Google Patents

モータ装置 Download PDF

Info

Publication number
JP2018009818A
JP2018009818A JP2016137123A JP2016137123A JP2018009818A JP 2018009818 A JP2018009818 A JP 2018009818A JP 2016137123 A JP2016137123 A JP 2016137123A JP 2016137123 A JP2016137123 A JP 2016137123A JP 2018009818 A JP2018009818 A JP 2018009818A
Authority
JP
Japan
Prior art keywords
signal processing
magnetic sensor
processing circuit
sensor unit
motor
Prior art date
Legal status (The legal status is an assumption and is not a legal conclusion. Google has not performed a legal analysis and makes no representation as to the accuracy of the status listed.)
Pending
Application number
JP2016137123A
Other languages
English (en)
Inventor
康平 石倉
Kohei Ishikura
康平 石倉
日比 勉
Tsutomu Hibi
勉 日比
Current Assignee (The listed assignees may be inaccurate. Google has not performed a legal analysis and makes no representation or warranty as to the accuracy of the list.)
JTEKT Corp
Original Assignee
JTEKT Corp
Priority date (The priority date is an assumption and is not a legal conclusion. Google has not performed a legal analysis and makes no representation as to the accuracy of the date listed.)
Filing date
Publication date
Application filed by JTEKT Corp filed Critical JTEKT Corp
Priority to JP2016137123A priority Critical patent/JP2018009818A/ja
Priority to US15/640,777 priority patent/US10491084B2/en
Priority to EP17179941.4A priority patent/EP3270112B1/en
Priority to CN201710556485.6A priority patent/CN107612231A/zh
Publication of JP2018009818A publication Critical patent/JP2018009818A/ja
Pending legal-status Critical Current

Links

Images

Classifications

    • HELECTRICITY
    • H02GENERATION; CONVERSION OR DISTRIBUTION OF ELECTRIC POWER
    • H02KDYNAMO-ELECTRIC MACHINES
    • H02K11/00Structural association of dynamo-electric machines with electric components or with devices for shielding, monitoring or protection
    • H02K11/30Structural association with control circuits or drive circuits
    • H02K11/33Drive circuits, e.g. power electronics
    • GPHYSICS
    • G01MEASURING; TESTING
    • G01DMEASURING NOT SPECIALLY ADAPTED FOR A SPECIFIC VARIABLE; ARRANGEMENTS FOR MEASURING TWO OR MORE VARIABLES NOT COVERED IN A SINGLE OTHER SUBCLASS; TARIFF METERING APPARATUS; MEASURING OR TESTING NOT OTHERWISE PROVIDED FOR
    • G01D5/00Mechanical means for transferring the output of a sensing member; Means for converting the output of a sensing member to another variable where the form or nature of the sensing member does not constrain the means for converting; Transducers not specially adapted for a specific variable
    • G01D5/12Mechanical means for transferring the output of a sensing member; Means for converting the output of a sensing member to another variable where the form or nature of the sensing member does not constrain the means for converting; Transducers not specially adapted for a specific variable using electric or magnetic means
    • G01D5/14Mechanical means for transferring the output of a sensing member; Means for converting the output of a sensing member to another variable where the form or nature of the sensing member does not constrain the means for converting; Transducers not specially adapted for a specific variable using electric or magnetic means influencing the magnitude of a current or voltage
    • G01D5/142Mechanical means for transferring the output of a sensing member; Means for converting the output of a sensing member to another variable where the form or nature of the sensing member does not constrain the means for converting; Transducers not specially adapted for a specific variable using electric or magnetic means influencing the magnitude of a current or voltage using Hall-effect devices
    • G01D5/145Mechanical means for transferring the output of a sensing member; Means for converting the output of a sensing member to another variable where the form or nature of the sensing member does not constrain the means for converting; Transducers not specially adapted for a specific variable using electric or magnetic means influencing the magnitude of a current or voltage using Hall-effect devices influenced by the relative movement between the Hall device and magnetic fields
    • HELECTRICITY
    • H02GENERATION; CONVERSION OR DISTRIBUTION OF ELECTRIC POWER
    • H02KDYNAMO-ELECTRIC MACHINES
    • H02K11/00Structural association of dynamo-electric machines with electric components or with devices for shielding, monitoring or protection
    • H02K11/20Structural association of dynamo-electric machines with electric components or with devices for shielding, monitoring or protection for measuring, monitoring, testing, protecting or switching
    • H02K11/21Devices for sensing speed or position, or actuated thereby
    • H02K11/215Magnetic effect devices, e.g. Hall-effect or magneto-resistive elements

Landscapes

  • Engineering & Computer Science (AREA)
  • Microelectronics & Electronic Packaging (AREA)
  • Power Engineering (AREA)
  • Physics & Mathematics (AREA)
  • General Physics & Mathematics (AREA)
  • Transmission And Conversion Of Sensor Element Output (AREA)
  • Measurement Of Length, Angles, Or The Like Using Electric Or Magnetic Means (AREA)
  • Inverter Devices (AREA)
  • Power Steering Mechanism (AREA)

Abstract

【課題】2つの信号処理回路の間のノイズの影響をより均一化したモータ装置を提供する。
【解決手段】回転角センサ60は、バイアス磁石61、磁気センサ部62、第1信号処理回路63a、および第2信号処理回路63bを有している。第1信号処理回路63aは、基板21の長手方向において、回転軸11の軸心の延長線上にある磁気センサ部62を基準として、第2信号処理回路63bと対称的に配置されている。また、インバータ40も、基板21の長手方向において、磁気センサ部62を基準として、インバータ50と対称的に配置されている。
【選択図】図3

Description

本発明は、モータ装置に関する。
従来、特許文献1に記載されるように、モータ装置を駆動源とする電動パワーステアリング装置が知られている。このモータ装置には、モータとモータを制御する制御装置とが一体的に設けられているものがある。
ところで、この制御装置には、モータの回転角を検出する回転角センサが設けられる。この回転角センサは、モータの回転軸に取り付けられた磁石の回転により生じる磁界の変化を検出する磁気センサ部と、磁気センサ部からの出力信号に基づいて回転角を演算する信号処理回路とを備えている。制御装置は、回転角センサから検出された回転角に基づいて、モータの駆動を制御する。
特開2015−206606号公報
ところで、近年、冗長化の観点から1つのモータに対して、2つの回転角センサを設ける回路構成も考えられている。これに伴って、1つのモータに対して2つの磁気センサ部と、2つの信号処理回路とが設けられる。しかし、単純に回転角センサを冗長化するだけでは、ノイズの影響が2つの信号処理回路の間で異なることにより、2つの信号処理回路から出力される出力値(回転角)の間で誤差が生じてしまう。
本発明の目的は、2つの信号処理回路の間のノイズの影響をより均一化したモータ装置を提供することにある。
上記目的を達成しうるモータ装置は、回転軸を有するモータと、前記回転軸の回転角を検出する回転角センサと、前記モータにおける前記回転軸の一端部に設けられ、前記回転角センサを通じて検出される回転角に基づいて前記モータの駆動を制御する制御部と、を備えるモータ装置において、前記回転角センサは、前記回転軸における前記一端部に設けられる磁石と、前記磁石に対向して設けられ、前記磁石の回転に伴う磁界の変化に対応した出力信号を生成する磁気センサ部と、前記磁気センサ部に対して対称的に設けられて、前記出力信号を処理する少なくとも2つの信号処理回路と、を備えている。
この構成によれば、少なくとも2つの信号処理回路が磁気センサ部に対して対称的に設けられているため、磁石から発生する磁界は、少なくとも2つの信号処理回路に対して等しくノイズとして影響する。このため、より少なくとも2つの信号処理回路の間のノイズの影響を均一化することができる。
上記のモータ装置において、前記磁気センサ部および前記少なくとも2つの信号処理回路は、同一の基板上に設けられ、前記少なくとも2つの信号処理回路は、前記回転軸の軸方向からみたとき、前記磁気センサ部に対して対称的に設けられることが好ましい。
この構成によれば、回転軸の軸方向からみたとき、同一の基板上に対称的に少なくとも2つの信号処理部が設けられることにより、磁石から発生する磁界は、少なくとも2つの信号処理回路に等しくノイズとして影響する。
上記のモータ装置において、前記モータに電力を供給する少なくとも2つの駆動回路を含むノイズ源は、前記回転軸の軸方向からみて、前記磁気センサ部に対して対称的に設けられることが好ましい。
この構成によれば、少なくとも2つの駆動回路を含むノイズ源が磁気センサ部に対して対称的に設けられることにより、ノイズ源から少なくとも2つの信号処理回路に対して作用するノイズの影響を等しくすることができ、少なくとも2つの信号処理回路の間のノイズの影響を均一化できる。
上記のモータ装置において、前記少なくとも2つの信号処理回路として、前記磁気センサ部に対して対称的に2つの信号処理回路が設けられており、前記回転軸の軸方向からみて、前記磁気センサ部は、前記回転軸の中心を基準として、対称的に2つ設けられており、2つの前記磁気センサ部の対称軸は、前記2つの信号処理回路の対称軸と直交していることが好ましい。
この構成によれば、磁気センサ部の対称軸と信号処理回路の対称軸とが直交していることにより、ノイズ源の配置が多少非対称であっても、磁気センサ部あるいは信号処理回路のいずれか一方に偏ってノイズの影響が作用することが抑制される。
上記のモータ装置において、前記少なくとも2つの信号処理回路として、前記磁気センサ部に対して対称的に2つの信号処理回路が設けられており、前記回転軸の軸方向からみて、前記磁気センサ部は、前記回転軸の中心を基準として、対称的に2つ設けられており、2つの前記磁気センサ部の対称軸は、前記2つの信号処理回路の対称軸と一致または平行であってもよい。
この構成によれば、磁気センサ部の対称軸と信号処理回路の対称軸とが直交していることにより、ノイズ源を磁気センサ部に対して対称的に設けた場合、いずれか一方の信号処理回路に偏ってノイズの影響が作用することが抑制される。
本発明のモータ装置によれば、より2つの信号処理回路の間のノイズの影響を均一化できる。
モータ装置の概略構成を示す斜視図。 回転角センサの周辺構造を示すモータ装置の要部断面図。 磁気センサ部および信号処理回路の周辺構造を示す平面図。 磁気センサ部および信号処理回路の回路構造を示す回路ブロック図。 他の実施形態における、磁気センサ部および信号処理回路の周辺構造を示す平面図。 他の実施形態における、磁気センサ部および信号処理回路の周辺構造を示す平面図。
以下、モータ装置の一実施形態を説明する。本実施形態のモータ装置は、たとえば電動パワーステアリング装置の駆動源として使用される。
図1に示すように、モータ装置1は、モータ10、制御装置20、およびヒートシンク30を有する。モータ10は、回転軸11を有している。回転軸11の第1の端部は図1中の下方に突出している。制御装置20は、基板21,22を有している。制御装置20は、モータ10の駆動を制御する。ヒートシンク30および基板21,22は、モータ10の軸方向における端部(図1中の上端)に設けられている。ヒートシンク30は直方体状に設けられている。基板21,22は、それぞれ長方形状の板状に設けられている。基板21は、モータ10の軸方向に対して直交する向きで、ヒートシンク30におけるモータ10と反対側の端部に固定されている。また、基板22は、基板21とモータ10との間において、モータ10の軸線に沿うようにヒートシンク30の側面に設けられている。
ヒートシンク30において、基板22が設けられた側面に対して直交する2つの側面には、インバータ40,50がそれぞれ設けられている。インバータ40,50は、モータ10の軸線に沿う方向において、基板21とモータ10との間に位置している。インバータ40は、ヒートシンク30を間に介して、インバータ50と対向して設けられている。なお、ヒートシンク30は、インバータ40,50の放熱を促進するために設けられている。また、モータ装置1には、インバータ40,50に近接して図示しないチョークコイルが設けられている。
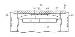
図2に示すように、制御装置20には、回転軸11の回転角を検出する回転角センサ60が設けられている。回転角センサ60は、円柱状のバイアス磁石61、磁気センサ部62、および信号処理回路63を有している。磁気センサ部62としては、たとえばMRセンサ(磁気抵抗効果センサ)などが採用される。バイアス磁石61は、回転軸11の第2の端部(図2中の上端)に固定されている。磁気センサ部62は、基板21に設けられている。磁気センサ部62は、回転軸11の軸線に沿う方向において、バイアス磁石61と対向している。なお、図2では、図面の簡略化のためにヒートシンク30などを省略して図示している。
また、図3に示すように、信号処理回路63も基板21に設けられている。信号処理回路63は、磁気センサ部62と同一平面上に設けられている。信号処理回路63は、第1信号処理回路63aおよび第2信号処理回路63bを有している。第1信号処理回路63a、第2信号処理回路63b、および磁気センサ部62は、回転軸11の軸方向に対して直交する方向において、同一直線上に位置している。回転軸11の軸方向に対して直交する方向において、第1信号処理回路63aと磁気センサ部62との間の距離は、第2信号処理回路63bと磁気センサ部62との間の距離とほとんど等しい。第1信号処理回路63aは、基板21の長手方向において、磁気センサ部62を基準として、第2信号処理回路63bと対称的に配置されている。また、インバータ40も、基板21の長手方向において、磁気センサ部62を基準として、インバータ50と対称的に配置されている。このため、回転軸11の軸方向に対して直交する方向において、第1信号処理回路63aとインバータ50との間の距離は、第2信号処理回路63bとインバータ40との間の距離とほとんど同じである。また、インバータ40,50に限らず、チョークコイルを始めとする様々なノイズ源に対して第1信号処理回路63aおよび第2信号処理回路63bは、対称的あるいは等しい距離で配置されていることが好ましい。
図3に示すように、回転軸11の軸方向から見て、磁気センサ部62、第1信号処理回路63a、および第2信号処理回路63bは、それぞれ四角形のICチップとして設けられている。磁気センサ部62の4つの側面には、それぞれ複数の端子が延びている。また、第1信号処理回路63aおよび第2信号処理回路63bの各側面にも、複数の端子が設けられている。磁気センサ部62は、第1磁気センサ部62aおよび第2磁気センサ部62bを有している。第1磁気センサ部62aにおける第1信号処理回路63aと対向する2つの端子が、第1信号処理回路63aにおける第1磁気センサ部62aと対向する2つの端子とそれぞれ接続されている。また、第1磁気センサ部62aにおける第2信号処理回路63bと対向する2つの端子(第1磁気センサ部62aにおける第1信号処理回路63aと反対側の端部に設けられた端子)は、第1信号処理回路63aにおける第1磁気センサ部62aと対向する2つの端子とそれぞれ接続されている。
また、第2磁気センサ部62bにおける第1信号処理回路63aと対向する2つの端子は、第2信号処理回路63bにおける第2磁気センサ部62bと対向する2つの端子と接続されている。第2磁気センサ部62bにおける第2信号処理回路63bと対向する2つの端子は、第2信号処理回路63bにおける第2磁気センサ部62bと対向する2つの端子と接続されている。第1磁気センサ部62aおよび第2磁気センサ部62bは、回転軸11の軸方向から見たとき、回転軸11の軸心に対して、対称に設けられている。また、第1磁気センサ部62aおよび第2磁気センサ部62bの対称軸は、第1信号処理回路63aおよび第2信号処理回路63bの対称軸と直交している。
第1磁気センサ部62aと第1信号処理回路63aとの間の接続経路、および第2磁気センサ部62bと第2信号処理回路63bとの間の接続経路を介して、第1磁気センサ部62aおよび第2磁気センサ部62bにより生成される電気信号(出力電圧)が第1信号処理回路63aおよび第2信号処理回路63bへ送られる。
第1信号処理回路63aおよび第2信号処理回路63bは、取り込んだ電気信号に基づいて、回転軸11の回転角を検出する。
つぎに、磁気センサ部62の回路構成について詳しく説明する。磁気センサ部62は、バイアス磁石61から付与されるバイアス磁石の向きに応じた電気信号を生成する。
図4に示すように、第1磁気センサ部62aは、第1ブリッジ回路70および第2ブリッジ回路80を備えている。また、第1信号処理回路63aには、オペアンプ部64aおよびマイクロプロセッサ65aが設けられている。
第1ブリッジ回路70および第2ブリッジ回路80は、それぞれ4つのMR(磁気抵抗)素子がブリッジ状に配置されてなる。たとえば、第1ブリッジ回路では、4つのMR素子のうち2つのMR素子が直列接続されることにより第1のハーフブリッジが構成され、残る2つのMR素子が直接接続されることにより第2のハーフブリッジが構成されている。これら2つのハーフブリッジは、それぞれ電源(電源電圧「+Vcc」)とグランドとの間に並列に接続されている。第1ブリッジ回路70は、2つのハーフブリッジの中点電位を、それぞれ第1および第2の電気信号としてオペアンプ部64aへ出力する。同様に、第2ブリッジ回路80は、2つのハーフブリッジの中点電位を、それぞれ第3および第4の電気信号としてオペアンプ部64aへ出力する。回転軸11とともにバイアス磁石61が回転すると、第1磁気センサ部62aおよび第2磁気センサ部62bの各MR素子の抵抗値が変化する。各MR素子の抵抗値が変化することにより、各電気信号が変化する。すなわち、各電気信号は、回転軸11の回転角に応じて変化する。
これら第1〜第4の電気信号は、sinまたはcosによって表すことができる。たとえば、第1の電気信号は、回転軸11の回転角に対して正弦波状に変化するsin信号であり、第2の電気信号は、第1の電気信号に対して180度だけ位相がずれた−sin信号である。また、第3の電気信号は、回転軸11の回転角に対して余弦波状に変化するcos信号であり、第4の電気信号は、第3の電気信号に対して180度だけ位相がずれた−cos信号である。
オペアンプ部64a(第1信号処理回路63a)は、第1磁気センサ部62aから受け取った第1〜第4の電気信号を所定のサンプリング周期で取り込む。オペアンプ部64aは、たとえば第1の電気信号と第2の電気信号との差分、および第3の電気信号と第4の電気信号との差分をそれぞれ出力する。
マイクロプロセッサ65aは、第1の電気信号と第2の電気信号との差分、および第3の電気信号と第4の電気信号との差分を取り込み、これらの差分値に基づき、逆正接値を演算することにより、回転軸11の回転角を検出する。
また、第2信号処理回路63bについても、第1信号処理回路63aと同様に、オペアンプ部64bおよびマイクロプロセッサ65bを有している。第2磁気センサ部62bの第3ブリッジ回路90および第4ブリッジ回路100は、第5〜第8の電気信号を出力する。オペアンプ部64bは第5〜第8の電気信号から差分値を演算し、この差分値に基づいてマイクロプロセッサ65bは回転軸11の回転角を検出する。
制御装置20は、マイクロプロセッサ65aにより演算された回転角、およびマイクロプロセッサ65bにより演算された回転角に基づいて、モータ10の駆動を制御する(図1参照)。
本実施形態の作用および効果について説明する。
回転角センサ60に、第1磁気センサ部62aおよび第1信号処理回路63a、ならびに第2磁気センサ部62bおよび第2信号処理回路63bが冗長的に設けられている。このため、第1磁気センサ部62aおよび第1信号処理回路63a、または第2磁気センサ部62bおよび第2信号処理回路63bに異常が発生した場合であっても、制御装置20は、モータ10の駆動の制御を継続することができる。制御装置20は、たとえば第1磁気センサ部62aで異常が発生した場合、第2磁気センサ部62bおよび第2信号処理回路63bによって検出された回転角を用いてモータ10の駆動の制御を継続すればよい。
また、第1信号処理回路63aおよび第2信号処理回路63bは、磁気センサ部62を基準として、対称的に設けられている。インバータ40およびインバータ50も磁気センサ部62を基準として対称的に設けられている。このため、第1信号処理回路63aと第2信号処理回路63bとの間で、インバータ40,50のスイッチングノイズを始めとした各種のノイズによる影響に差が生じることが抑制される。第1信号処理回路63aとインバータ50との間の距離、および第2信号処理回路63bとインバータ40との間の距離がほとんど等しいため、インバータ50から第1信号処理回路63aに加わるノイズの影響は、インバータ40から第2信号処理回路63bに加わるノイズの影響とほとんど等しくなる。このため、第1信号処理回路63aと第2信号処理回路63bとの間のノイズの影響は均一化される。これにより、ノイズの影響によって、第1信号処理回路63aのマイクロプロセッサ65aにより演算される回転角と、第2信号処理回路63bのマイクロプロセッサ65bにより演算される回転角とが、ノイズの影響によって異なる値であると判定されることを抑制できる。
また、インバータ40,50以外の他のノイズ源についても、他のノイズ源と第1信号処理回路63aとの間の距離、および他のノイズ源と第2信号処理回路63bとの間の距離をほとんど等しくすることにより、他のノイズ源から第1信号処理回路63aおよび第2信号処理回路63bに加わるノイズの影響は均一化される。
また、第1信号処理回路63aおよび第2信号処理回路63bが磁気センサ部62に対して対称的に設けられることにより、バイアス磁石61の回転に伴って変化する磁気は、第1信号処理回路63aおよび第2信号処理回路63bにほとんど等しく作用する。このため、この磁気の変化がノイズとして、第1信号処理回路63aおよび第2信号処理回路63bに作用した場合であっても、第1信号処理回路63aおよび第2信号処理回路63bに加わるバイアス磁石61によるノイズの影響は均一化される。
なお、各実施形態は次のように変更してもよい。以下の他の実施形態は、技術的に矛盾しない範囲において、互いに組み合わせることができる。
・本実施形態では、信号処理回路63(第1信号処理回路63aおよび第2信号処理回路63b)は、取り込んだ電気信号に基づいて回転軸11の回転角を検出したが、これに限らない。たとえば、信号処理回路63は、取り込んだ電気信号に基づいて、回転軸11の回転角のうちの基礎成分を演算してもよい。一例としては、信号処理回路63は、オペアンプ部64aのみが設けられ、信号処理回路63とは別に設けられる制御装置が、オペアンプ部64aからの出力値に基づいて、回転軸11の回転角を演算する。この場合、回転角の基礎成分は、オペアンプ部64aからの出力値である。
・本実施形態では、基板21の長手方向において、磁気センサ部62を基準として、第1信号処理回路63aおよび第2信号処理回路63bが対称的に設けられたが、これに限らない。たとえば、基板21の短手方向において、磁気センサ部62を基準として、第1信号処理回路63aおよび第2信号処理回路63bが対称的に設けられてもよい。また、インバータ40,50を始めとするノイズ源の位置に対して、第1信号処理回路63aおよび第2信号処理回路63bが対称的に設けられるのであれば、どのように設けてもよい。たとえば、図5に示すように、磁気センサ部62を通り、かつ第1信号処理回路63aと第2信号処理回路63bとの間の中点Mを通る直線Lを基準に、第1信号処理回路63aおよび第2信号処理回路63bが対称的に設けられればよい。
・本実施形態では、インバータ40,50が磁気センサ部62と対称的に設けられたが、これに限らない。たとえば、信号処理回路63がノイズ源であるインバータ40,50と十分離れている等の理由により、インバータ40,50のノイズの影響が信号処理回路63にほとんど作用しないのであれば、インバータ40,50が磁気センサ部62に対して非対称であってもよい。
・ノイズ源であるインバータ40,50、磁気センサ部62、および信号処理回路63は、同一基板上に実装されていてもよい。
・第1信号処理回路63aおよび第2信号処理回路63bの磁気センサ部62に対する対称性は、第1信号処理回路63aに対するノイズの影響と第2信号処理回路63bに対するノイズの影響との差がある程度(たとえば閾値よりも)小さくなる程度であればよい。
・本実施形態では、磁気センサ部62は、第1磁気センサ部62aおよび第2磁気センサ部62bにより構成されたが、これに限らなくてよい。すなわち、第1信号処理回路63aおよび第2信号処理回路63bが同じ磁気センサ部に接続されてもよい。
・本実施形態では、第1磁気センサ部62aおよび第2磁気センサ部62bの対称軸は、第1信号処理回路63aおよび第2信号処理回路63bの対称軸と直交していたが、これに限らない。たとえば、図6に示すように、本実施形態では、第1磁気センサ部62aおよび第2磁気センサ部62bの対称軸は、第1信号処理回路63aおよび第2信号処理回路63bの対称軸と平行であってもよい(または一致していてもよい)。
・本実施形態では、基板21の短手方向において、第1磁気センサ部62aおよび第2磁気センサ部62bは対称的に設けられたが、基板21の長手方向において、第1磁気センサ部62aおよび第2磁気センサ部62bが対称的に設けられてもよいし、非対称であってもよい。
・本実施形態では、信号処理回路63は第1信号処理回路63aおよび第2信号処理回路63bの2つの信号処理回路を有していたが、これに限らない。すなわち、信号処理回路63は、3つ以上の信号処理回路から構成されていてもよい。この場合、3つ以上の信号処理回路は、磁気センサ部62を基準として互いに対称的に配置されている。
・本実施形態では、磁気センサ部62として、たとえばMRセンサが採用されたが、これに限らない。たとえば、磁気センサ部62として、たとえばホールセンサなどの他の磁気センサが用いられてもよい。
1…モータ装置、10…モータ、20…制御装置、21,22…基板、30…ヒートシンク、40,50…インバータ、60…回転角センサ、61…バイアス磁石、62…磁気センサ部、62a…第1磁気センサ部、62b…第2磁気センサ部、63…信号処理回路、63a…第1信号処理回路、63b…第2信号処理回路、64a,64b…オペアンプ部、65a,65b…マイクロプロセッサ、70,80,90,100…第1〜第4ブリッジ回路。

Claims (5)

  1. 回転軸を有するモータと、前記回転軸の回転角を検出する回転角センサと、前記モータにおける前記回転軸の一端部に設けられ、前記回転角センサを通じて検出される回転角に基づいて前記モータの駆動を制御する制御部と、を備えるモータ装置において、
    前記回転角センサは、
    前記回転軸における前記一端部に設けられる磁石と、
    前記磁石に対向して設けられ、前記磁石の回転に伴う磁界の変化に対応した出力信号を生成する磁気センサ部と、
    前記磁気センサ部に対して対称的に設けられて、前記出力信号を処理する少なくとも2つの信号処理回路と、を備えるモータ装置。
  2. 請求項1に記載のモータ装置において、
    前記磁気センサ部および前記少なくとも2つの信号処理回路は、同一の基板上に設けられ、
    前記少なくとも2つの信号処理回路は、前記回転軸の軸方向からみたとき、前記磁気センサ部に対して対称的に設けられるモータ装置。
  3. 請求項1に記載のモータ装置において、
    前記モータに電力を供給する少なくとも2つの駆動回路を含むノイズ源は、前記回転軸の軸方向からみて、前記磁気センサ部に対して対称的に設けられるモータ装置。
  4. 請求項1〜3のいずれか一項に記載のモータ装置において、
    前記少なくとも2つの信号処理回路として、前記磁気センサ部に対して対称的に2つの信号処理回路が設けられており、
    前記回転軸の軸方向からみて、前記磁気センサ部は、前記回転軸の中心を基準として、対称的に2つ設けられており、
    2つの前記磁気センサ部の対称軸は、前記2つの信号処理回路の対称軸と直交しているモータ装置。
  5. 請求項1〜3のいずれか一項に記載のモータ装置において、
    前記少なくとも2つの信号処理回路として、前記磁気センサ部に対して対称的に2つの信号処理回路が設けられており、
    前記回転軸の軸方向からみて、前記磁気センサ部は、前記回転軸の中心を基準として、対称的に2つ設けられており、
    2つの前記磁気センサ部の対称軸は、前記2つの信号処理回路の対称軸と一致または平行であるモータ装置。
JP2016137123A 2016-07-11 2016-07-11 モータ装置 Pending JP2018009818A (ja)

Priority Applications (4)

Application Number Priority Date Filing Date Title
JP2016137123A JP2018009818A (ja) 2016-07-11 2016-07-11 モータ装置
US15/640,777 US10491084B2 (en) 2016-07-11 2017-07-03 Motor device
EP17179941.4A EP3270112B1 (en) 2016-07-11 2017-07-06 Motor device
CN201710556485.6A CN107612231A (zh) 2016-07-11 2017-07-10 马达装置

Applications Claiming Priority (1)

Application Number Priority Date Filing Date Title
JP2016137123A JP2018009818A (ja) 2016-07-11 2016-07-11 モータ装置

Publications (1)

Publication Number Publication Date
JP2018009818A true JP2018009818A (ja) 2018-01-18

Family

ID=59296768

Family Applications (1)

Application Number Title Priority Date Filing Date
JP2016137123A Pending JP2018009818A (ja) 2016-07-11 2016-07-11 モータ装置

Country Status (4)

Country Link
US (1) US10491084B2 (ja)
EP (1) EP3270112B1 (ja)
JP (1) JP2018009818A (ja)
CN (1) CN107612231A (ja)

Cited By (3)

* Cited by examiner, † Cited by third party
Publication number Priority date Publication date Assignee Title
WO2021199586A1 (ja) * 2020-03-31 2021-10-07 本田技研工業株式会社 モータ構造
JP2022052201A (ja) * 2020-09-23 2022-04-04 多摩川精機株式会社 扁平モータ構造
WO2023002779A1 (ja) * 2021-07-21 2023-01-26 日立Astemo株式会社 パワーステアリング装置

Families Citing this family (5)

* Cited by examiner, † Cited by third party
Publication number Priority date Publication date Assignee Title
CN109029509A (zh) * 2018-07-13 2018-12-18 株洲时菱交通设备有限公司 一种冗余式磁编码器
US11573072B2 (en) * 2018-12-13 2023-02-07 Analog Devices International Unlimited Company Magnetic position determination systems and methods
EP3731376A1 (en) 2019-04-24 2020-10-28 Black & Decker Inc. Outer rotor brushless motor stator mount
US11231297B2 (en) 2020-01-09 2022-01-25 Robert Bosch Gmbh Providing availability of rotary position sensor information after hardware failures
DE102023135412A1 (de) * 2023-12-15 2025-06-18 Rheintacho Messtechnik Gmbh Bewegungs-Sensor und korrespondierendes Verfahren zur Erfassung einer Bewegung

Citations (5)

* Cited by examiner, † Cited by third party
Publication number Priority date Publication date Assignee Title
JPH09329460A (ja) * 1996-03-02 1997-12-22 Deutsche Itt Ind Gmbh モノリシック集積センサ回路
EP2031354A2 (en) * 2007-08-30 2009-03-04 Hitachi Ltd. Physical quantity conversion sensor and motor control system using the same
US20140046625A1 (en) * 2012-08-07 2014-02-13 Micronas Gmbh Method for determining an angle of rotation
US20150219472A1 (en) * 2014-02-06 2015-08-06 Infineon Technologies Ag Axial and perpendicular angle sensor in single package
JP2017191093A (ja) * 2016-04-06 2017-10-19 株式会社デンソー 回転検出装置、および、これを用いた電動パワーステアリング装置

Family Cites Families (10)

* Cited by examiner, † Cited by third party
Publication number Priority date Publication date Assignee Title
DK139006B (da) * 1976-02-19 1978-11-27 Ib Thomsen Detektor til afføling af vinkelstillingen for en til et magnetkompas hørende kompasmagnets stilling.
EP0916074B1 (en) * 1997-05-29 2003-07-30 AMS International AG Magnetic rotation sensor
DE10233080A1 (de) 2002-07-19 2004-02-12 Fernsteuergeräte Kurt Oelsch GmbH Sensoreinrichtung
WO2008080078A2 (en) * 2006-12-22 2008-07-03 Lord Corporation Operator interface controllable brake with field responsive material
WO2009033127A2 (en) * 2007-09-07 2009-03-12 Joral Devices, Llc Rotary magnetic encoder assembly, chip and method
DE102009042473B4 (de) * 2009-09-24 2019-01-24 Continental Automotive Gmbh Verfahren zur Auswertung von Signalen eines Winkelsensors
US9000763B2 (en) * 2011-02-28 2015-04-07 Infineon Technologies Ag 3-D magnetic sensor
WO2013127962A1 (de) 2012-02-29 2013-09-06 Zentrum Mikroelektronik Dresden Ag Vorrichtung und verfahren zur redundanten, absoluten positionsbestimmung eines beweglichen körpers
JP2015206606A (ja) 2014-04-17 2015-11-19 株式会社ジェイテクト モータ
JP6160576B2 (ja) * 2014-07-31 2017-07-12 株式会社デンソー 駆動装置、および、これを用いた電動パワーステアリング装置

Patent Citations (6)

* Cited by examiner, † Cited by third party
Publication number Priority date Publication date Assignee Title
JPH09329460A (ja) * 1996-03-02 1997-12-22 Deutsche Itt Ind Gmbh モノリシック集積センサ回路
EP2031354A2 (en) * 2007-08-30 2009-03-04 Hitachi Ltd. Physical quantity conversion sensor and motor control system using the same
JP2009058291A (ja) * 2007-08-30 2009-03-19 Hitachi Ltd 物理量変換センサ及びそれを用いたモータ制御システム
US20140046625A1 (en) * 2012-08-07 2014-02-13 Micronas Gmbh Method for determining an angle of rotation
US20150219472A1 (en) * 2014-02-06 2015-08-06 Infineon Technologies Ag Axial and perpendicular angle sensor in single package
JP2017191093A (ja) * 2016-04-06 2017-10-19 株式会社デンソー 回転検出装置、および、これを用いた電動パワーステアリング装置

Cited By (4)

* Cited by examiner, † Cited by third party
Publication number Priority date Publication date Assignee Title
WO2021199586A1 (ja) * 2020-03-31 2021-10-07 本田技研工業株式会社 モータ構造
JPWO2021199586A1 (ja) * 2020-03-31 2021-10-07
JP2022052201A (ja) * 2020-09-23 2022-04-04 多摩川精機株式会社 扁平モータ構造
WO2023002779A1 (ja) * 2021-07-21 2023-01-26 日立Astemo株式会社 パワーステアリング装置

Also Published As

Publication number Publication date
US10491084B2 (en) 2019-11-26
EP3270112B1 (en) 2020-01-01
US20180013334A1 (en) 2018-01-11
EP3270112A1 (en) 2018-01-17
CN107612231A (zh) 2018-01-19

Similar Documents

Publication Publication Date Title
JP2018009818A (ja) モータ装置
KR101737765B1 (ko) 가동체의 이중적인 절대 위치 결정을 위한 장치 및 방법
JP6455111B2 (ja) 回転角検出装置
JP6033529B2 (ja) 検出装置および電流センサ
JP3848670B1 (ja) 回転角度検出装置
US9851221B2 (en) Hall sensor insensitive to external magnetic fields
US20140285188A1 (en) Detection circuit, semiconductor integrated circuit device, magnetic field rotation angle detection device, and electronic device
JP2008541116A (ja) 確実な車輪回転数検出配列装置
JP6319538B1 (ja) 回転角度検出器及びトルクセンサ
KR101521384B1 (ko) 실장 기판
JP2016050841A (ja) 磁気検出装置
JP6473951B2 (ja) 回転角度検出装置
JP6455314B2 (ja) 回転検出装置
KR102071753B1 (ko) 자기 센서 장치
JP2021076480A (ja) 位置検出装置
WO2014147996A1 (ja) 電流センサ
JP2013142604A (ja) 電流センサ
JP5973892B2 (ja) 磁気検知式スイッチおよび前記磁気検知式スイッチを使用したシフトレバー装置
JP4737372B2 (ja) 回転角度検出装置
JP2023088219A (ja) 角度センサ装置および角度検出装置
JP2015090316A (ja) 電流センサ
WO2016190040A1 (ja) 回転検出器
US20140125328A1 (en) Magnetic detection device
JP2015052556A (ja) 磁気式位置検出装置
JP2015052557A (ja) 磁気式位置検出装置

Legal Events

Date Code Title Description
A621 Written request for application examination

Free format text: JAPANESE INTERMEDIATE CODE: A621

Effective date: 20190618

A977 Report on retrieval

Free format text: JAPANESE INTERMEDIATE CODE: A971007

Effective date: 20200520

A131 Notification of reasons for refusal

Free format text: JAPANESE INTERMEDIATE CODE: A131

Effective date: 20200602

A521 Request for written amendment filed

Free format text: JAPANESE INTERMEDIATE CODE: A523

Effective date: 20200729

A02 Decision of refusal

Free format text: JAPANESE INTERMEDIATE CODE: A02

Effective date: 20200825