JP2017517688A - 変速機制御部 - Google Patents

変速機制御部 Download PDF

Info

Publication number
JP2017517688A
JP2017517688A JP2016560354A JP2016560354A JP2017517688A JP 2017517688 A JP2017517688 A JP 2017517688A JP 2016560354 A JP2016560354 A JP 2016560354A JP 2016560354 A JP2016560354 A JP 2016560354A JP 2017517688 A JP2017517688 A JP 2017517688A
Authority
JP
Japan
Prior art keywords
actuator
control unit
transmission
transmission control
switching
Prior art date
Legal status (The legal status is an assumption and is not a legal conclusion. Google has not performed a legal analysis and makes no representation as to the accuracy of the status listed.)
Granted
Application number
JP2016560354A
Other languages
English (en)
Other versions
JP6629229B2 (ja
Inventor
グレーテル マルコ
グレーテル マルコ
ベーア マークス
ベーア マークス
Current Assignee (The listed assignees may be inaccurate. Google has not performed a legal analysis and makes no representation or warranty as to the accuracy of the list.)
Schaeffler Technologies AG and Co KG
Original Assignee
Schaeffler Technologies AG and Co KG
Priority date (The priority date is an assumption and is not a legal conclusion. Google has not performed a legal analysis and makes no representation as to the accuracy of the date listed.)
Filing date
Publication date
Application filed by Schaeffler Technologies AG and Co KG filed Critical Schaeffler Technologies AG and Co KG
Publication of JP2017517688A publication Critical patent/JP2017517688A/ja
Application granted granted Critical
Publication of JP6629229B2 publication Critical patent/JP6629229B2/ja
Expired - Fee Related legal-status Critical Current
Anticipated expiration legal-status Critical

Links

Images

Classifications

    • FMECHANICAL ENGINEERING; LIGHTING; HEATING; WEAPONS; BLASTING
    • F16ENGINEERING ELEMENTS AND UNITS; GENERAL MEASURES FOR PRODUCING AND MAINTAINING EFFECTIVE FUNCTIONING OF MACHINES OR INSTALLATIONS; THERMAL INSULATION IN GENERAL
    • F16HGEARING
    • F16H61/00Control functions within control units of change-speed- or reversing-gearings for conveying rotary motion ; Control of exclusively fluid gearing, friction gearing, gearings with endless flexible members or other particular types of gearing
    • F16H61/02Control functions within control units of change-speed- or reversing-gearings for conveying rotary motion ; Control of exclusively fluid gearing, friction gearing, gearings with endless flexible members or other particular types of gearing characterised by the signals used
    • F16H61/0262Control functions within control units of change-speed- or reversing-gearings for conveying rotary motion ; Control of exclusively fluid gearing, friction gearing, gearings with endless flexible members or other particular types of gearing characterised by the signals used the signals being hydraulic
    • F16H61/0265Control functions within control units of change-speed- or reversing-gearings for conveying rotary motion ; Control of exclusively fluid gearing, friction gearing, gearings with endless flexible members or other particular types of gearing characterised by the signals used the signals being hydraulic for gearshift control, e.g. control functions for performing shifting or generation of shift signals
    • F16H61/0267Layout of hydraulic control circuits, e.g. arrangement of valves
    • FMECHANICAL ENGINEERING; LIGHTING; HEATING; WEAPONS; BLASTING
    • F16ENGINEERING ELEMENTS AND UNITS; GENERAL MEASURES FOR PRODUCING AND MAINTAINING EFFECTIVE FUNCTIONING OF MACHINES OR INSTALLATIONS; THERMAL INSULATION IN GENERAL
    • F16HGEARING
    • F16H61/00Control functions within control units of change-speed- or reversing-gearings for conveying rotary motion ; Control of exclusively fluid gearing, friction gearing, gearings with endless flexible members or other particular types of gearing
    • F16H61/0021Generation or control of line pressure
    • F16H61/0025Supply of control fluid; Pumps therefor
    • FMECHANICAL ENGINEERING; LIGHTING; HEATING; WEAPONS; BLASTING
    • F16ENGINEERING ELEMENTS AND UNITS; GENERAL MEASURES FOR PRODUCING AND MAINTAINING EFFECTIVE FUNCTIONING OF MACHINES OR INSTALLATIONS; THERMAL INSULATION IN GENERAL
    • F16HGEARING
    • F16H61/00Control functions within control units of change-speed- or reversing-gearings for conveying rotary motion ; Control of exclusively fluid gearing, friction gearing, gearings with endless flexible members or other particular types of gearing
    • F16H61/02Control functions within control units of change-speed- or reversing-gearings for conveying rotary motion ; Control of exclusively fluid gearing, friction gearing, gearings with endless flexible members or other particular types of gearing characterised by the signals used
    • F16H61/0262Control functions within control units of change-speed- or reversing-gearings for conveying rotary motion ; Control of exclusively fluid gearing, friction gearing, gearings with endless flexible members or other particular types of gearing characterised by the signals used the signals being hydraulic
    • F16H61/0276Elements specially adapted for hydraulic control units, e.g. valves
    • FMECHANICAL ENGINEERING; LIGHTING; HEATING; WEAPONS; BLASTING
    • F16ENGINEERING ELEMENTS AND UNITS; GENERAL MEASURES FOR PRODUCING AND MAINTAINING EFFECTIVE FUNCTIONING OF MACHINES OR INSTALLATIONS; THERMAL INSULATION IN GENERAL
    • F16HGEARING
    • F16H61/00Control functions within control units of change-speed- or reversing-gearings for conveying rotary motion ; Control of exclusively fluid gearing, friction gearing, gearings with endless flexible members or other particular types of gearing
    • F16H61/68Control functions within control units of change-speed- or reversing-gearings for conveying rotary motion ; Control of exclusively fluid gearing, friction gearing, gearings with endless flexible members or other particular types of gearing specially adapted for stepped gearings
    • F16H61/684Control functions within control units of change-speed- or reversing-gearings for conveying rotary motion ; Control of exclusively fluid gearing, friction gearing, gearings with endless flexible members or other particular types of gearing specially adapted for stepped gearings without interruption of drive
    • F16H61/688Control functions within control units of change-speed- or reversing-gearings for conveying rotary motion ; Control of exclusively fluid gearing, friction gearing, gearings with endless flexible members or other particular types of gearing specially adapted for stepped gearings without interruption of drive with two inputs, e.g. selection of one of two torque-flow paths by clutches
    • FMECHANICAL ENGINEERING; LIGHTING; HEATING; WEAPONS; BLASTING
    • F16ENGINEERING ELEMENTS AND UNITS; GENERAL MEASURES FOR PRODUCING AND MAINTAINING EFFECTIVE FUNCTIONING OF MACHINES OR INSTALLATIONS; THERMAL INSULATION IN GENERAL
    • F16HGEARING
    • F16H61/00Control functions within control units of change-speed- or reversing-gearings for conveying rotary motion ; Control of exclusively fluid gearing, friction gearing, gearings with endless flexible members or other particular types of gearing
    • F16H61/02Control functions within control units of change-speed- or reversing-gearings for conveying rotary motion ; Control of exclusively fluid gearing, friction gearing, gearings with endless flexible members or other particular types of gearing characterised by the signals used
    • F16H61/0202Control functions within control units of change-speed- or reversing-gearings for conveying rotary motion ; Control of exclusively fluid gearing, friction gearing, gearings with endless flexible members or other particular types of gearing characterised by the signals used the signals being electric
    • F16H61/0204Control functions within control units of change-speed- or reversing-gearings for conveying rotary motion ; Control of exclusively fluid gearing, friction gearing, gearings with endless flexible members or other particular types of gearing characterised by the signals used the signals being electric for gearshift control, e.g. control functions for performing shifting or generation of shift signal
    • F16H61/0206Layout of electro-hydraulic control circuits, e.g. arrangement of valves
    • FMECHANICAL ENGINEERING; LIGHTING; HEATING; WEAPONS; BLASTING
    • F16ENGINEERING ELEMENTS AND UNITS; GENERAL MEASURES FOR PRODUCING AND MAINTAINING EFFECTIVE FUNCTIONING OF MACHINES OR INSTALLATIONS; THERMAL INSULATION IN GENERAL
    • F16HGEARING
    • F16H61/00Control functions within control units of change-speed- or reversing-gearings for conveying rotary motion ; Control of exclusively fluid gearing, friction gearing, gearings with endless flexible members or other particular types of gearing
    • F16H61/26Generation or transmission of movements for final actuating mechanisms
    • F16H61/28Generation or transmission of movements for final actuating mechanisms with at least one movement of the final actuating mechanism being caused by a non-mechanical force, e.g. power-assisted
    • F16H61/30Hydraulic or pneumatic motors or related fluid control means therefor

Landscapes

  • Engineering & Computer Science (AREA)
  • General Engineering & Computer Science (AREA)
  • Mechanical Engineering (AREA)
  • Control Of Transmission Device (AREA)
  • Gear-Shifting Mechanisms (AREA)
  • Hydraulic Clutches, Magnetic Clutches, Fluid Clutches, And Fluid Joints (AREA)
  • Friction Gearing (AREA)

Abstract

本発明は、変速機制御部に関する。この変速機制御部は、流体を用いて変速機を操作し、かつ、流体を用いてデュアルクラッチの2つの部分クラッチを操作する。変速機は、変速機アクチュエータ装置を用いて選択および切り替え可能な複数のギア段を有している。本発明は、変速機制御部が2つの双方向ポンプアクチュエータを含んでおり、2つの双方向ポンプアクチュエータにはそれぞれ、2つの部分クラッチのうちの1つが割り当てられており、かつ2つの双方向ポンプアクチュエータが接続口を2つずつ有しており、これらの接続口に、流体式AND弁が接続されており、このAND弁は、第3の接続口としてタンク接続口を有しており、変速機アクチュエータ装置は、流体式OR弁を介して、2つの双方向ポンプアクチュエータに接続されている、という特徴を有している。

Description

本発明は、流体を用いて変速機を操作する変速機制御部に関する。この変速機は複数のギア段を有しており、これらのギア段は変速機アクチュエータ装置によって選択され、切り替えられる。さらに、この変速機制御部は、デュアルクラッチの2つの部分クラッチを、流体を用いて操作する。
独国特許出願公開第102008009653号明細書から、自動車のデュアルクラッチ変速機を制御する液圧装置が公知である。この液圧装置は、液圧媒体によって液圧装置に液圧エネルギーを供給する液圧エネルギー源と、液圧エネルギーを蓄積するための蓄圧器と、液圧媒体によってデュアルクラッチ変速機のクラッチを冷却するクラッチ冷却部と、第1のクラッチと第2のクラッチとを操作するクラッチアクチュエータとを含んでいる。ここで、この液圧エネルギー源は、デュアルフローの電動ポンプを含んでいる。独国特許出願公開第102010047801号明細書から、マスタシリンダと、スリーブを備え、回転駆動を軸線方向運動に変換する遊星転がり伝動装置とを備えた流体静力学アクチュエータが公知である。ここでこのマスタシリンダは、ケーシングと、このケーシング内で軸方向に移動可能な、圧力媒体によって満たされている圧力室を加圧するピストンとを有している。ここでこの遊星転がり伝動装置は電気モータによって駆動されている。
本発明の課題は、変速機アクチュエータ装置によって選択され、切り替えられる複数のギア段を有する変速機の、流体を用いた操作、および、デュアルクラッチの2つの部分クラッチの、流体を用いた操作を容易にすることである。
上述の課題は、変速機アクチュエータ装置によって選択され、切り替えられる複数のギア段を有する変速機を、流体を用いて操作し、かつ、デュアルクラッチの2つの部分クラッチを、流体を用いて操作する変速機制御部において、次のことによって解決される。すなわち、変速機制御部が2つの双方向ポンプアクチュエータを含んでおり、これらの双方向ポンプアクチュエータに部分クラッチが1つずつ割り当てられており、かつ、これらの双方向ポンプアクチュエータが、流体式AND弁が接続されている2つの接続口をそれぞれ有しており、このAND弁が、第3の接続口としてタンク接続口を有しており、変速機アクチュエータ装置が流体式OR弁を介して、2つの双方向ポンプアクチュエータに接続されている、ということによって解決される。双方向ポンプアクチュエータは、有利には、相反する圧送方向で動作可能な液体ポンプである。液体ポンプとは特に、液圧媒体、例えば作動油によって動かされる液圧ポンプである。この液圧ポンプは、有利には、容積式構造で構成されている。この液圧ポンプは、ベーンポンプ、ギアポンプ、または、ピストンポンプとして構成され得る。双方向ポンプアクチュエータの駆動のためには、有利には、電気モータが使用される。第1の圧送方向では、双方向ポンプアクチュエータは、例えば、2つの部分クラッチのうちの1つを操作するため、特に、つなぐために用いられる。第2の圧送方向では、双方向ポンプアクチュエータは、例えば、変速機アクチュエータ装置の1つの変速機アクチュエータを操作するために用いられる。ここで、変速機アクチュエータのうちの一方は、有利には、変速機のギア段を選択するために使用される。他方の変速機アクチュエータは、有利には、選択されたギア段を切り替えるために使用される。選択運動および/または切り替え運動を実行するために用いられるこれらの変速機アクチュエータは、ギアチェンジデバイスとも称される。デュアルクラッチの部分クラッチは直接的または間接的に操作される。これらの部分クラッチは湿式に構成されていても、または、乾式に構成されていてもよい。変速機制御部における2つの双方向ポンプアクチュエータと、2つのAND弁および1つのOR弁との本発明に相応する組み合わせによって、変速機制御部が格段に簡素化される。AND弁は2圧力弁とも称され、特に有利には、回転方向に依存せずに異なる変速機機能を実現する。これらのAND弁はそれぞれ、双方向ポンプアクチュエータの各ポンプ接続口に割り当てられている。OR弁によって、容易に、次のことが可能になる。すなわち、その時点で、割り当てられている部分クラッチの操作に従事していない双方向ポンプアクチュエータが、変速機アクチュエータ装置の属する変速機アクチュエータに、送出流および送出圧力を供給することが可能になる。
変速機制御部の有利な実施例は、次のような特徴を有している。すなわち、変速機アクチュエータ装置が、切り替え機能を実行するために、戻し機能を備えた旋回アクチュエータを含んでいる、という特徴を有している。戻し機能を実現するために、例えば、リターンスプリング装置が使用される。リターンスプリング装置は、1つのリターンスプリング、または、複数のリターンスプリング、例えば2つのリターンスプリングを含み得る。本発明の範囲内で実行された試験においては、特に、動力学的観点において、旋回アクチュエータが戻し機能を有しているのが有利であることが判明している。
変速機制御部の別の有利な実施例は、次のような特徴を有している。すなわち、変速機アクチュエータ装置が、選択機能を実現するために、戻し機能を備えた単動型流体シリンダを含んでいる、という特徴を有している。この戻し機能は、例えば、リターンスプリング装置によって実現される。このリターンスプリング装置は、例えば、1つのリターンスプリングを含んでおり、このリターンスプリングによって、単動型流体シリンダにおいて、初期状態へプリロードがかけられる。有利には、この単動型流体シリンダが、複動型流体シリンダの代わりとなり、これによって、必要な弁ロジックの複雑性が格段に低減される。戻し機能を実現するリターンスプリング装置は、有利には、重力方向に作用する。
変速機制御部の別の有利な実施例は、変速機アクチュエータ装置が、共通の弁装置によって駆動制御される切り替えアクチュエータと選択アクチュエータとを含んでいる、という特徴を有している。切り替えアクチュエータとは有利には、上述した旋回アクチュエータである。選択アクチュエータとは、有利には、上述した、単動型流体シリンダである。共通の弁装置は、例えば、方向切換弁として構成されている。この方向切換弁は、スライディングスプール弁として構成可能である。共通の弁装置は、有利には、選択アクチュエータの位置を調整するために用いられる中立位置へプリロードがかけられている。
変速機制御部の別の有利な実施例は、次のような特徴を有している。すなわち、共通の弁装置が、選択アクチュエータの位置を調整するための中立位置と、切り替えアクチュエータの位置を調整するための2つの位置とを有する6/3方向切換弁として構成されている、という特徴を有している。これによって、容易に、1つの共通の弁装置だけを用いて、変速機アクチュエータ装置の選択機能と切り替え機能とが実現される。
変速機制御部の別の有利な実施形態は、次のような特徴を有している。すなわち、共通の弁装置が、選択アクチュエータの位置を調整するための中立位置と、切り替えアクチュエータの位置を調整するための2つの位置と、2つの中間位置とを有する6/5方向切換弁として構成されている、という特徴を有している。これらの中間位置は、容易に、変速機アクチュエータ装置の切り替えシャフトが自身の静止位置に受動的に戻ることを可能にする。中立位置と、切り替えアクチュエータの位置を調整するための位置との間の切り替え時に、中間位置は極めてダイナミックに通過されるので、変速機アクチュエータ装置の調整された選択位置を離れることはない。
変速機制御部の別の有利な実施例は、共通の弁装置が直接的に電磁石によって操作可能である、という特徴を有している。これは、共通の弁装置の弁ロジックを鑑みて、有利であることが判明している。
変速機制御部の別の有利な実施例は、共通の弁装置が、パイロットバルブを介して操作可能である、という特徴を有している。パイロットバルブとは、例えば、比例弁として構成されている2/2方向切換弁である。これは、例えば、電磁石で駆動制御される。
変速機制御部の別の有利な実施例は、次のような特徴を有している。すなわち、共通の弁装置がロータリースプール弁として構成されている、という特徴を有している。これは、この共通の弁装置の切換動性を鑑みて、有利であることが判明している。
変速機制御部の別の有利な実施例は、共通の弁装置が、回転駆動部によって駆動制御されている、という特徴を有している。ロータリースプール弁として構成されている共通の弁装置のこの回転駆動部は、例えばステッピングモータである。
変速機制御部の別の有利な実施例は、変速機アクチュエータ装置が、切り替えアクチュエータと選択アクチュエータとを含んでおり、これらが、構造が同じ2つの比例−方向切換弁によって駆動制御されている、という特徴を有している。これによって、製造コストがさらに低減される。構造が同じ、これらの比例−方向切換弁は、例えば、4/3方向切換弁として構成されており、有利には、電磁石で操作される。
変速機制御部の別の有利な実施例は、変速機アクチュエータ装置が切り替えアクチュエータと選択アクチュエータとを含んでおり、これらが、構造が同じ2つの切換弁によって駆動制御されている、という特徴を有している。これによって、製造コストがさらに低減される。構造が同じ、2つの切換弁は、例えば4/2方向切換弁として構成されている。
本発明は、複数のギア段を有している変速機を流体を用いて操作する方法にも関している。これらのギア段は、変速機アクチュエータ装置を用いて選択され、切り替えられる。この方法はさらに、上述した変速機制御部によるデュアルクラッチの2つの部分クラッチを、流体を用いて操作する方法でもある。
本発明の別の利点、特徴および詳細は以降の明細書から明らかになる。ここでは、図面を参照して、種々の実施例が、個別に説明されている。
デュアルクラッチおよび変速機アクチュエータ装置を操作するために用いられる2つの双方向ポンプアクチュエータを備えた、本発明の変速機制御部の概略図 戻し機能を実現するリターンスプリングを2つ有する旋回アクチュエータの概略図 戻し機能を実現するリターンスプリングを2つ有する旋回アクチュエータの概略図 戻し機能を実現するリターンスプリングを1つのみ有する、図2の旋回アクチュエータと類似の旋回アクチュエータ 戻し機能を実現するリターンスプリングを1つのみ有する、図2の旋回アクチュエータと類似の旋回アクチュエータ 変速機の切り替え機能を実現する旋回アクチュエータと、選択機能を実現する複動型流体シリンダとを有する、図1と類似の図 変速機の選択機能を実現する単動型流体シリンダと、2つの変速機アクチュエータを備えた変速機アクチュエータ装置を駆動制御する共通の弁装置とを有する、図4の一部 別の共通の弁装置を有する、図5と同じ図 駆動制御記号のみを有する、図6に示された共通の弁装置 パイロットバルブのみを有する、図6に示された共通の弁装置 ロータリースプール弁として構成された、図6に示された共通の弁装置の構成 共通の弁装置の代わりに、構造が同じ2つの切換弁を有する、図5と類似の図
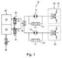
図1には、第1の双方向ポンプアクチュエータ11と、第2の双方向ポンプアクチュエータ12とを有する変速機制御部10が概略的に示されている。双方向ポンプアクチュエータ11および双方向ポンプアクチュエータ12は、液体ポンプである。これらの液体ポンプは、矢印によって暗に示されているように、相反する圧送方向において動作可能である。双方向ポンプアクチュエータ11と12は、特に有利な様式で、デュアルクラッチ20および変速機アクチュエータ装置30の操作を可能にする。
デュアルクラッチ20は、第1の部分クラッチ21と第2の部分クラッチ22とを含んでいる。デュアルクラッチ20の第1の部分クラッチ21は、第1の双方向ポンプアクチュエータ11によって操作される。デュアルクラッチ20の第2の部分クラッチ22は、第2の双方向ポンプアクチュエータ12によって操作される。
変速機アクチュエータ装置30は、第1の変速機アクチュエータ31と第2の変速機アクチュエータ32とを含んでいる。第1の変速機アクチュエータ31は、変速機の選択機能を実現するために用いられ、従って、選択アクチュエータとも称される。第2の変速機アクチュエータ32は、有利には、変速機の切り替え機能を実現するために用いられ、従って、切り替えアクチュエータとも称される。切り替えシャフト35が、変速機アクチュエータ装置30から、垂直方向において、下方へと延在している。
双方向ポンプアクチュエータ11にはAND弁41が割り当てられており、双方向ポンプアクチュエータ12にはAND弁42が割り当てられている。AND弁41,42は2圧力弁とも称され、2つの接続口を有している。これらの接続口によって、AND弁41,42は、属する双方向ポンプアクチュエータ11,12の各接続口に接続されている。第3の接続口として、AND弁41,42は、タンク接続口を有している。
このAND弁41,42または2圧力弁によって、容易に、双方向ポンプアクチュエータ11,12を用いて、回転方向に依存せずに異なる変速機機能を実現することが可能になる。変速機アクチュエータ装置30は、OR弁45を介して、2つの双方向ポンプアクチュエータ11,12と結合されている。OR弁45は特に、その時点では、自身に割り当てられている部分クラッチ21,22の操作に従事していない双方向ポンプアクチュエータ11,12が、属する変速機アクチュエータ32,31に送出流および送出圧力を供給することができる、という利点をもたらす。
OR弁45と変速機アクチュエータ装置30との間に、2つの比例−方向切換弁51,52が接続されている。2つの比例−方向切換弁51,52は、4/3方向切換弁として構成されており、電磁石によって操作される。記号によって示されているばね装置によって、2つの比例−方向切換弁51,52は図示されている自身の切換状態へプリロードがかけられている。比例−方向切換弁51は選択アクチュエータ31に割り当てられており、比例−方向切換弁52は切り替えアクチュエータ32に割り当てられている。
図2および図3では、図1に示されている切り替えアクチュエータ32がどのように構成され得るのかが、概略的に示されている。切り替えアクチュエータは、図2および図3では、旋回アクチュエータ60;70として構成されている。旋回アクチュエータ60;70は、戻し機能を有している。図2A;3Aでは、圧力解放された状態の旋回アクチュエータ60;70が示されている。図2B;3Bでは、圧力が加えられた状態の旋回アクチュエータ60;70が示されている。
戻し機能を実現するために、旋回アクチュエータ60は、図2では、2つのリターンスプリング61,62を有している。旋回アクチュエータ60は、可変翼65を備えた旋回体64を含んでいる。可変翼65は、旋回体64とともに、旋回アクチュエータ60の固定されたケーシング部分に固定されている固定翼66に対して相対的に動く。
図2Bから見て取れるように、可変翼65を備えた旋回体64が、固定翼66に対して相対的に、時計の針と反対方向に回転されると、リターンスプリング61が圧縮される。
図3に示されている旋回アクチュエータ70は、上述した実施例とは異なり、リターンスプリング71を1つだけ有している。旋回体74は、旋回アクチュエータ70の、固定されているケーシング部分内で、時計の針の方向および時計の針と反対の方向に旋回可能である。図3Bから見て取れるように、この際に、リターンスプリング71が、圧縮される。
図4から見て取れるように、切り替えアクチュエータ32である旋回アクチュエータ70は、可変翼75を介して、流体を用いて操作される。比例−方向切換弁52を介して、旋回アクチュエータ70の可変翼75には、双方向ポンプアクチュエータ11によって、上方から、または、下方から、流体圧力が加えられる。これによって、切り替え運動を実現するために、切り替えシャフト35が相応に回転される。
図4には、変速機制御部80が示されている。ここでこの変速機制御部80は、実質的に、図1に示されたものに相応する。変速機アクチュエータ装置30の選択アクチュエータ31は、複動型流体シリンダ84として構成されている。この複動型流体シリンダ84には、ギア段を選択するために、比例−方向切換弁51を介して、双方向ポンプアクチュエータ12によって、流体圧力が加えられる。
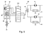
図5および図6には、変速機制御部90が示されている。ここでは、2つの比例−方向切換弁51,52が、共通の弁装置100;110によって置き換えられている。この関連において、複動型流体シリンダ84も、図5および図6において、単動型流体シリンダ94によって置き換えられる。単動型流体シリンダ94は、選択機能を実現するために用いられ、リターンスプリング95を有している。これによって、必要な弁ロジックの複雑性が格段に低減される。リターンスプリング95は、単動型流体シリンダ94において、重力方向に作用する。
図5に示された共通の弁装置100は、選択アクチュエータ31の位置を調整するための中立位置と、切り替えアクチュエータ32の位置を調整するための2つの位置とを備えた6/3方向切換弁である。図示されている中立位置において、単動型流体シリンダ94は、両側で、圧力解放されている。リターンスプリング95は、重力とともに、切り替えシャフト35に作用する。これによって、双方向ポンプアクチュエータ12である、双方向で動かされる液圧ポンプを介した、単動型流体シリンダ94の駆動制御が容易になる。
図6に示された共通の弁装置110は、中立位置c、切り替えアクチュエータ32の位置を調整するための2つの位置aおよびe、並びに、2つの中間位置bおよびdを有する6/5方向切換弁として構成されている。中間位置bおよびdは、切り替えシャフト35を自身の静止位置に受動的に戻すのに用いられる。選択と切り替えとの交替時に、これらの中間位置bおよびdは、極めてダイナミックに通過されるので、調整された選択位置を離れることはない。
図7では、記号111と112とによって、図6に示されている共通の弁装置110が直接的に電磁石によって駆動制御可能であることが暗に示されている。記号を用いて示されたばね112によって、共通の弁装置110は、図6において、参照符号cが付けられた中立位置へプリロードがかけられている。記号111は、例えば、直接的に、弁ロジックに作用する電磁石を表している。
図8では、記号121および122によって、共通の弁装置110が、パイロットバルブ125によっても、流体を用いて駆動制御可能であることが示されている。パイロットバルブ125は、開放位置と閉鎖位置とを有する比例−方向切換弁である。パイロットバルブ125は、電磁石によって駆動制御され、図示された開放位置へプリロードがかけられている。
図9では、共通の弁装置110が、ロータリースプール弁としても構成可能であることが示されている。ロータリースプール弁の駆動は、回転機能を有する駆動部、例えばステッピングモータを介して行われる。
図10には、図5に示された変速機制御部90に類似している変速機制御部150が示されている。図5とは異なり、共通の弁装置(図5では100)は、図10では、構造が同じ2つの切換弁151,152によって置き換えられている。
構造が同じ2つの切換弁151,152は、4/2方向切換弁として構成されている。2つの切換弁151,152は、相応する記号によって暗示されているように、電磁石によって操作される。ばねの記号によって、構造が同じ2つの切換弁151,152には、図示10に示された通常状態へプリロードがかけられていることが、暗に示されている。
図示されているように、両方の切換弁151,152が通常状態にある場合には、各体積流源、すなわち各双方向ポンプアクチュエータ11,12は、選択ピストンとも称される単動型流体シリンダ94と接続されている。
切換弁151,152のうちの1つが操作されると、ポンプとも称される各双方向ポンプアクチュエータ11,12はそれぞれ、変速機アクチュエータ32の側で、旋回体もしくは旋回ピストンと接続される。各回転方向に対して、1つの切換弁151,152が設けられている。
図10に示された変速機制御部150は、一方では、相対的に簡易な、構造的に同じ、2つの切換弁151,152が使用される、という利点を有している。さらに、切換弁151,152のうちの1つが故障した場合にも、2つの部分変速機において、依然として、ギア段の切り替えが可能である。選択ポジションと切り替えポジションの駆動制御は、各双方向ポンプアクチュエータ11,12の微細制御を介して行われる。
10 変速機制御部、 11 双方向ポンプアクチュエータ、 12 双方向ポンプアクチュエータ、 20 デュアルクラッチ、 21 部分クラッチ、 22 部分クラッチ、 30 変速機アクチュエータ装置、 31 変速機アクチュエータ、 32 変速機アクチュエータ、 35 切り替えシャフト、 41 AND弁、 42 AND弁、 45 OR弁、 51 比例−方向切換弁、 52 比例−方向切換弁、 60 旋回アクチュエータ、 61 リターンスプリング、 62 リターンスプリング、 64 旋回体、 65 可変翼、 66 固定翼、 70 旋回アクチュエータ、 71 リターンスプリング、 74 旋回体、 75 可変翼、 80 変速機制御部、 84 複動型流体シリンダ、 90 変速機制御部、 94 単動型流体シリンダ、 95 リターンスプリング、 100 共通の弁装置、 110 共通の弁装置、 111 記号、 112 記号、 121 記号、 122 記号、 125 パイロットバルブ、 150 変速機制御部、 151 切換弁、 152 切換弁

Claims (12)

  1. 変速機アクチュエータ装置(30)を用いて選択および切り替え可能な複数のギア段を含む変速機を流体を用いて操作し、かつ、デュアルクラッチ(20)の2つの部分クラッチ(21,22)を流体を用いて操作する、変速機制御部(10;80;90)であって、
    前記変速機制御部(10;80;90)は2つの双方向ポンプアクチュエータ(11,12)を含んでおり、当該2つの双方向ポンプアクチュエータ(11,12)にはそれぞれ、前記2つの部分クラッチ(21,22)のうちの1つが割り当てられており、かつ、前記2つの双方向ポンプアクチュエータ(11,12)は接続口を2つずつ有しており、当該接続口には、流体式AND弁(41,42)が接続されており、当該AND弁(41,42)は、第3の接続口としてタンク接続口を有しており、
    前記変速機アクチュエータ装置(30)は、流体式OR弁(45)を介して、前記2つの双方向ポンプアクチュエータ(11,12)に接続されている、
    ことを特徴とする変速機制御部(10;80;90)。
  2. 前記変速機アクチュエータ装置(30)は、前記切り替え機能を実現するために、戻し機能を備えた旋回アクチュエータ(70)を含んでいる、請求項1記載の変速機制御部。
  3. 前記変速機アクチュエータ装置(30)は、前記選択機能を実現するために、戻し機能を備えた単動型流体シリンダ(94)を含んでいる、請求項1または2記載の変速機制御部。
  4. 前記変速機アクチュエータ装置(30)は、切り替えアクチュエータ(32)と選択アクチュエータ(31)とを含んでおり、当該切り替えアクチュエータ(32)と当該選択アクチュエータ(31)は、共通の弁装置(100;110)によって駆動制御されている、請求項1から3までのいずれか1項記載の変速機制御部。
  5. 前記共通の弁装置(100)は、前記選択アクチュエータ(31)の位置を調整するための中立位置と、前記切り替えアクチュエータ(32)の位置を調整するための2つの位置とを有する6/3方向切換弁として構成されている、請求項4記載の変速機制御部。
  6. 前記共通の弁装置(110)は、前記選択アクチュエータ(31)の位置を調整するための中立位置(c)と、前記切り替えアクチュエータ(32)の位置を調整するための2つの位置(a,e)と、2つの中間位置(b,d)とを有する6/5方向切換弁として構成されている、請求項4記載の変速機制御部。
  7. 前記共通の弁装置(100;110)は、直接的に電磁石によって操作可能である、請求項4から6までのいずれか1項記載の変速機制御部。
  8. 前記共通の弁装置(100;110)は、パイロットバルブ(125)を介して操作可能である、請求項4から6までのいずれか1項記載の変速機制御部。
  9. 前記共通の弁装置(100;110)は、ロータリースプール弁として構成されている、請求項4から8までのいずれか1項記載の変速機制御部。
  10. 前記共通の弁装置(100;110)は、回転駆動部によって駆動制御されている、請求項9記載の変速機制御部。
  11. 前記変速機アクチュエータ装置(30)は切り替えアクチュエータ(32)と選択アクチュエータ(31)とを含んでおり、当該切り替えアクチュエータ(32)と当該選択アクチュエータ(31)は、構造が同じ2つの比例−方向切換弁(52;51)によって駆動制御されている、請求項1から3までのいずれか1項記載の変速機制御部。
  12. 前記変速機アクチュエータ装置(30)は切り替えアクチュエータ(32)と選択アクチュエータ(31)とを含んでおり、当該切り替えアクチュエータ(32)と当該選択アクチュエータ(31)は、構造が同じ2つの切換弁(152;151)によって駆動制御されている、請求項1から3までのいずれか1項記載の変速機制御部。
JP2016560354A 2014-04-01 2015-03-16 変速機制御部 Expired - Fee Related JP6629229B2 (ja)

Applications Claiming Priority (3)

Application Number Priority Date Filing Date Title
DE102014206194 2014-04-01
DE102014206194.6 2014-04-01
PCT/DE2015/200162 WO2015149778A1 (de) 2014-04-01 2015-03-16 Getriebesteuerung

Publications (2)

Publication Number Publication Date
JP2017517688A true JP2017517688A (ja) 2017-06-29
JP6629229B2 JP6629229B2 (ja) 2020-01-15

Family

ID=52875366

Family Applications (1)

Application Number Title Priority Date Filing Date
JP2016560354A Expired - Fee Related JP6629229B2 (ja) 2014-04-01 2015-03-16 変速機制御部

Country Status (7)

Country Link
US (1) US10295051B2 (ja)
EP (1) EP3126716B1 (ja)
JP (1) JP6629229B2 (ja)
KR (1) KR102345868B1 (ja)
CN (1) CN106164541B (ja)
DE (1) DE112015001613A5 (ja)
WO (1) WO2015149778A1 (ja)

Families Citing this family (22)

* Cited by examiner, † Cited by third party
Publication number Priority date Publication date Assignee Title
DE102015225090A1 (de) * 2015-12-14 2017-06-14 Schaeffler Technologies AG & Co. KG Betätigungsmodul für eine hydraulisch betätigte Kupplungsaktuierung
DE102016203629A1 (de) 2016-03-07 2017-09-07 Schaeffler Technologies AG & Co. KG Fluidanordnung
DE102016208336A1 (de) 2016-05-13 2017-11-16 Schaeffler Technologies AG & Co. KG Fluidanordnung
DE102016210400B3 (de) * 2016-06-13 2017-09-21 Schaeffler Technologies AG & Co. KG Fluidanordnung und Verfahren zur fluidischen Betätigung mindestens eines Verbrauchers
DE102016213318A1 (de) 2016-07-21 2018-01-25 Schaeffler Technologies AG & Co. KG Verfahren zur Aufrechterhaltung eines Druckniveaus einer Hydraulikflüssigkeit in einer hydraulischen Aktoranordnung
DE102016220964A1 (de) * 2016-10-25 2018-04-26 Schaeffler Technologies AG & Co. KG Hydraulikkreislauf für einen Hybridantriebsstrang
DE102016223537A1 (de) 2016-11-28 2018-05-30 Schaeffler Technologies AG & Co. KG Fluidanordnung
DE102016223741A1 (de) 2016-11-30 2018-05-30 Schaeffler Technologies AG & Co. KG Fluidanordnung
DE102017109361A1 (de) * 2017-05-02 2018-11-08 Schaeffler Technologies AG & Co. KG Aktuatoranordnung für ein Kraftfahrzeuggetriebe
DE102017004575A1 (de) * 2017-05-12 2018-11-15 Wabco Gmbh Wähl- und Schaltvorrichtung für ein automatisiertes Stirnrad-Schaltgetriebe
DE102017115069B4 (de) * 2017-07-06 2019-11-21 Schaeffler Technologies AG & Co. KG Svstempack aus elektrischem Getriebeaktor, elektrischem Pumpenaktor und Ventilplatte und System aus Systempack und Getriebeqlocke mit einem Getriebeaktor mit axial qeteiltem Betätiqunqsmechanismus
DE102017115068A1 (de) * 2017-07-06 2019-01-10 Schaeffler Technologies AG & Co. KG Verfahren und Fluidsystem zum fluidischen Betätigen von zwei Teilkupplungen
DE102017115453A1 (de) * 2017-07-11 2019-01-17 Schaeffler Technologies AG & Co. KG Verfahren und System zum fluidischen Betätigen von zwei Teilkupplungen
DE102017118061A1 (de) 2017-08-09 2019-02-14 Schaeffler Technologies AG & Co. KG Fluidanordnung
DE102018106494A1 (de) 2018-03-20 2019-09-26 Schaeffler Technologies AG & Co. KG Hydraulischer Gangaktor
DE102018214435A1 (de) * 2018-08-27 2020-02-27 Zf Friedrichshafen Ag Hydrauliksystem zur Betätigung einer Mehrzahl von doppeltwirkenden Aktuatoren eines Getriebes
DE102018130700B4 (de) * 2018-12-03 2020-07-02 Schaeffler Technologies AG & Co. KG Verfahren zum Herstellen einer hydraulischen Bereitschaft eines Hydrauliksystems sowie Hydrauliksystem
KR20200080656A (ko) * 2018-12-27 2020-07-07 현대트랜시스 주식회사 Dct용 클러치 액추에이터
DE102019125519B4 (de) 2019-09-23 2024-05-08 Schaeffler Technologies AG & Co. KG Betätigungseinrichtung mit Kupplungsaktor und integrierter Kühlmittelpumpfunktion
DE102021100271A1 (de) 2021-01-11 2022-07-14 Schaeffler Technologies AG & Co. KG Verfahren zum Betätigen einer Abkoppeleinheit
DE102021100272B4 (de) 2021-01-11 2024-05-16 Schaeffler Technologies AG & Co. KG Verfahren zum Betätigen einer Abkoppeleinheit
DE102022213031A1 (de) * 2022-12-02 2024-06-13 Vitesco Technologies Germany Gmbh Hydraulikmodul zum Ansteuern von Aktuatoren, Traktionsantrieb, Kraftahrzeug, Verfahren zum Betrieb eines Hydraulikmoduls und Verfahren zum Betrieb eines Traktionsantriebs

Citations (7)

* Cited by examiner, † Cited by third party
Publication number Priority date Publication date Assignee Title
JPS58170955A (ja) * 1982-03-31 1983-10-07 Isuzu Motors Ltd 変速機のアクチユエ−タ
JPH05178130A (ja) * 1991-05-30 1993-07-20 Mercedes Benz Ag 変速歯車装置の自動切換装置の圧力供給装置
JP2002295533A (ja) * 2001-02-12 2002-10-09 Luk Lamellen & Kupplungsbau Beteiligungs Kg ハイドロリック式作動システム
JP2007085549A (ja) * 2005-09-22 2007-04-05 Getrag Ford Transmissions Gmbh オートマチック式ダブルクラッチ変速機の油圧式制御装置
US20090211866A1 (en) * 2006-10-30 2009-08-27 Luk Lamellen Und Kupplungsbau Beteiligungs Kg Hydraulic control for a dual clutch transmission
US20130306431A1 (en) * 2012-05-15 2013-11-21 Getrag Getriebe-Und Zahnradfabrik Hermann Hagenmeyer Gmbh & Cie Kg Actuator arrangement for a motor vehicle drive train
DE102013000157B3 (de) * 2013-01-09 2014-01-23 Fte Automotive Gmbh Hydraulische Betätigungsvorrichtung für die Betätigung wenigstens einer Reibkupplung und wenigstens eines Getriebestellglieds in einem Kraftfahrzeug

Family Cites Families (8)

* Cited by examiner, † Cited by third party
Publication number Priority date Publication date Assignee Title
DE19900852A1 (de) * 1998-01-16 1999-07-22 Atlas Fahrzeugtechnik Gmbh Getriebe mit einer Einrichtung zur Betätigung des Drehmomentenübertragungssystems und der Getriebebetätigungselemente
DE10143833B4 (de) * 2001-09-07 2013-06-06 Zf Friedrichshafen Ag Kupplungssystem in einem Antriebsstrang zwischen einer Antriebseinheit und einem Getriebe
WO2008106927A1 (de) 2007-03-07 2008-09-12 Luk Lamellen Und Kupplungsbau Beteiligungs Kg Hydraulikanordnung zur steuerung eines doppelkupplungsgetriebes eines kraftfahrzeuges
DE112010004215A5 (de) 2009-10-29 2012-08-23 Schaeffler Technologies AG & Co. KG Hydrostataktor
DE102011100802A1 (de) * 2011-05-06 2012-11-08 Audi Ag Verfahren zum Betreiben eines Kupplungsgetriebes, Kupplungsgetriebe
DE102011102277B4 (de) * 2011-05-23 2017-03-23 Getrag Getriebe- Und Zahnradfabrik Hermann Hagenmeyer Gmbh & Cie Kg Antriebsstrang für ein Kraftfahrzeug
JP5702228B2 (ja) * 2011-05-31 2015-04-15 本田技研工業株式会社 変速機の油圧供給装置
US9803702B2 (en) 2012-07-03 2017-10-31 Fte Automotive Gmbh Hydraulic actuating device for actuation of at least one friction clutch and at least one gear setting element in a motor vehicle

Patent Citations (8)

* Cited by examiner, † Cited by third party
Publication number Priority date Publication date Assignee Title
JPS58170955A (ja) * 1982-03-31 1983-10-07 Isuzu Motors Ltd 変速機のアクチユエ−タ
JPH05178130A (ja) * 1991-05-30 1993-07-20 Mercedes Benz Ag 変速歯車装置の自動切換装置の圧力供給装置
JP2002295533A (ja) * 2001-02-12 2002-10-09 Luk Lamellen & Kupplungsbau Beteiligungs Kg ハイドロリック式作動システム
JP2007085549A (ja) * 2005-09-22 2007-04-05 Getrag Ford Transmissions Gmbh オートマチック式ダブルクラッチ変速機の油圧式制御装置
US20090211866A1 (en) * 2006-10-30 2009-08-27 Luk Lamellen Und Kupplungsbau Beteiligungs Kg Hydraulic control for a dual clutch transmission
US20130306431A1 (en) * 2012-05-15 2013-11-21 Getrag Getriebe-Und Zahnradfabrik Hermann Hagenmeyer Gmbh & Cie Kg Actuator arrangement for a motor vehicle drive train
DE102013000157B3 (de) * 2013-01-09 2014-01-23 Fte Automotive Gmbh Hydraulische Betätigungsvorrichtung für die Betätigung wenigstens einer Reibkupplung und wenigstens eines Getriebestellglieds in einem Kraftfahrzeug
JP2014145480A (ja) * 2013-01-09 2014-08-14 Fte Automotive Gmbh 自動車の中の少なくとも1つの摩擦クラッチと少なくとも1つのギア設定要素とを作動させるための液圧式作動デバイス

Also Published As

Publication number Publication date
CN106164541A (zh) 2016-11-23
WO2015149778A1 (de) 2015-10-08
EP3126716B1 (de) 2018-05-16
KR102345868B1 (ko) 2022-01-03
KR20160140669A (ko) 2016-12-07
EP3126716A1 (de) 2017-02-08
US20170037960A1 (en) 2017-02-09
CN106164541B (zh) 2018-04-13
US10295051B2 (en) 2019-05-21
JP6629229B2 (ja) 2020-01-15
DE112015001613A5 (de) 2016-12-15

Similar Documents

Publication Publication Date Title
JP6629229B2 (ja) 変速機制御部
US10539232B2 (en) Fluid arrangement
US9803748B2 (en) Hydraulic arrangement for supplying a consumer
CN102439306B (zh) 具有由电动液压阀联接于分开的外部端口的气缸的流体工作机
CN101619583A (zh) 用于挖掘机的液压控制回路
CN101542130A (zh) 安全过中心泵/马达
US10323658B2 (en) Hydraulic drive system for operation table
CN105934585B (zh) 液压装置
CN110778562B (zh) 无伺服马达、液压活塞单元及其控制方法
JP2017506724A (ja) 車両用油圧システム
CN108026989B (zh) 流体组件
CN109843622B (zh) 用于混合动力驱动系的液压回路
JP2019138114A5 (ja)
US9719587B2 (en) Hydraulic axle
JPH11323817A (ja) 振動締固め機の前後進操作機構
JP5232177B2 (ja) 作動装置を能動的および受動的に作動させる対立する流体制御システム
KR101861076B1 (ko) 전기 유압 시스템에 적용된 펌프의 유량 제어 장치
US20220154833A1 (en) Multi-port rotary slide valve
JP2007113756A (ja) 駆動機構兼用発電装置
KR20160079988A (ko) 고속 정밀 제어 디지털 펌프
JP6503566B2 (ja) アクチュエータ及び回転駆動装置
JP4254937B2 (ja) 圧油供給装置
WO2019058711A1 (ja) 液圧モータ制御装置
JP2006258237A (ja) 液圧モータユニット
CN108953262B (zh) 可微动控制的液压阀、液压控制系统及工程机械

Legal Events

Date Code Title Description
A621 Written request for application examination

Free format text: JAPANESE INTERMEDIATE CODE: A621

Effective date: 20180313

A977 Report on retrieval

Free format text: JAPANESE INTERMEDIATE CODE: A971007

Effective date: 20190212

A131 Notification of reasons for refusal

Free format text: JAPANESE INTERMEDIATE CODE: A131

Effective date: 20190401

A521 Request for written amendment filed

Free format text: JAPANESE INTERMEDIATE CODE: A523

Effective date: 20190625

TRDD Decision of grant or rejection written
A01 Written decision to grant a patent or to grant a registration (utility model)

Free format text: JAPANESE INTERMEDIATE CODE: A01

Effective date: 20191105

A61 First payment of annual fees (during grant procedure)

Free format text: JAPANESE INTERMEDIATE CODE: A61

Effective date: 20191204

R150 Certificate of patent or registration of utility model

Ref document number: 6629229

Country of ref document: JP

Free format text: JAPANESE INTERMEDIATE CODE: R150

LAPS Cancellation because of no payment of annual fees