JP2017228564A - 波長可変半導体レーザアレイ及び波長可変半導体レーザアレイの制御方法 - Google Patents

波長可変半導体レーザアレイ及び波長可変半導体レーザアレイの制御方法 Download PDF

Info

Publication number
JP2017228564A
JP2017228564A JP2016121732A JP2016121732A JP2017228564A JP 2017228564 A JP2017228564 A JP 2017228564A JP 2016121732 A JP2016121732 A JP 2016121732A JP 2016121732 A JP2016121732 A JP 2016121732A JP 2017228564 A JP2017228564 A JP 2017228564A
Authority
JP
Japan
Prior art keywords
semiconductor laser
tunable semiconductor
wavelength tunable
wavelength
layer
Prior art date
Legal status (The legal status is an assumption and is not a legal conclusion. Google has not performed a legal analysis and makes no representation as to the accuracy of the status listed.)
Granted
Application number
JP2016121732A
Other languages
English (en)
Other versions
JP6626412B2 (ja
Inventor
拓也 金井
Takuya Kanai
拓也 金井
伸浩 布谷
Nobuhiro Nunotani
伸浩 布谷
石井 啓之
Hiroyuki Ishii
啓之 石井
真 下小園
Makoto Shimokozono
真 下小園
Current Assignee (The listed assignees may be inaccurate. Google has not performed a legal analysis and makes no representation or warranty as to the accuracy of the list.)
NTT Inc
Original Assignee
Nippon Telegraph and Telephone Corp
Priority date (The priority date is an assumption and is not a legal conclusion. Google has not performed a legal analysis and makes no representation as to the accuracy of the date listed.)
Filing date
Publication date
Application filed by Nippon Telegraph and Telephone Corp filed Critical Nippon Telegraph and Telephone Corp
Priority to JP2016121732A priority Critical patent/JP6626412B2/ja
Publication of JP2017228564A publication Critical patent/JP2017228564A/ja
Application granted granted Critical
Publication of JP6626412B2 publication Critical patent/JP6626412B2/ja
Active legal-status Critical Current
Anticipated expiration legal-status Critical

Links

Images

Landscapes

  • Semiconductor Lasers (AREA)

Abstract

【課題】波長切替動作を行う際に、温度変化が大きくなる活性層部分の影響を最小限に抑制する。【解決手段】光が導波する方向に活性層及び制御層がそれぞれ1つ以上並んだ構造を有する複数の波長可変半導体レーザが配列され、隣り合う波長可変半導体レーザはそれぞれ活性層と制御層の並びが逆である波長可変半導体レーザアレイにおいて、駆動させる波長可変半導体レーザを、第1の波長可変半導体レーザから第2の波長可変半導体レーザに切り替える際に、第1の波長可変半導体レーザの動作中に、第2の波長可変半導体レーザに隣り合う第3の波長可変半導体レーザ(及び第4の波長可変半導体レーザ)の制御層に電流を注入し、第2の波長可変半導体レーザが駆動すると同時に、第3(及び第4の)波長可変半導体レーザの制御層への電流注入を止める。【選択図】図2

Description

本発明は、波長可変半導体レーザアレイ及び波長可変半導体レーザアレイの制御方法に関し、より詳細には、高速且つ高精度な波長切替が可能な波長可変半導体レーザアレイ及び波長可変半導体レーザアレイの制御方法に関する。
近年のインターネットの普及に伴い、ネットワーク全体での通信トラフィックが飛躍的に増加しているため、光ファイバ通信の高速・大容量化が求められている。高速・大容量化の手段として、一本の光ファイバ内で複数の波長を用いることで伝送速度を向上させる波長分割多重(WDM)方式が有効である。WDM方式において、波長の一つ一つをチャネルといい、高速なチャネル(波長)切替を実現するために、高速高精度に波長を変化させることができる波長可変レーザが求められている。
光ファイバ通信においては、単一の波長でレーザ発振する単一モードレーザというものが用いられている。単一モードレーザ発振を実現する方法としては、光導波路に周期的な凹凸の構造をした回折格子を用いるものがある。回折格子が形成された光導波路においては、光導波路の等価屈折率をn、前記回折格子の周期をΛとすると、その反射波長λBは以下の(1)式で表される。
Figure 2017228564
上記(1)式より、光導波路の等価屈折率を変化させることで反射波長を変化させることができることがわかる。つまり、回折格子を用いた光共振器を構成することで、選択的に波長を変化させられる波長可変レーザを構成することができる。回折格子を利用した波長可変レーザとしては、DBR(Distributed Bragg Reflector)レーザ、SG(Sampled Grating)-DBRレーザやSSG(Super Structure Grating)-DBRレーザなどがある。
波長可変分布活性(Tunable Distributed Amplification: TDA-)DFBレーザは、連続的に波長を変化させることのできる波長可変半導体レーザである。
図1を参照してTDA-DFBレーザの基本的な構造を説明する。図1は、TDA-DFBレーザアレイに含まれるそれぞれ異なる発振波長帯を有する複数のTDA-DFBレーザのうちの1つのTDA-DFBレーザ100の導波路層の断面図である。TDA-DFBレーザは、下部クラッド層1と上部クラッド層4との間に、活性導波路層(本明細書において、活性層ともいう。)2と非活性導波路層(本明細書において、波長制御領域または制御層ともいう。)3とがそれぞれ一定の長さLa、Ltで交互に周期的に形成された構造になっている。下部クラッド層1には電極9が設けられ、上部クラッド層4にはコンタクト層6を介して制御層用電極7及び活性層用電極8が、非活性導波路層3及び活性導波路層2にそれぞれ対応するように設けられている。なお、図1に示すTDA-DFBレーザは、長さLa1の活性導波路層21と長さLt1の非活性導波路層31とが交互に形成された第1のレーザ部と、長さLa2の活性導波路層22と長さLt2の非活性導波路層32とが交互に形成された第2のレーザ部とが、位相シフト領域10を介して光の伝搬方向(活性導波路層と非活性導波路層の繰り返し方向(x方向))に直列に接続された構成例を示している(例えば、特許文献1参照)。しかしながら、必ずしも、1つのTDA-DFBレーザに複数のレーザ部を設ける必要はない。
活性導波路層2と非活性導波路層3の上部には、回折格子5が形成されており、回折格子の周期に応じた波長のみ選択的に反射されるようになっている。このTDA-DFBレーザにおいては、活性導波路層2に対応して設けられた活性層用電極8へ活性層電流Iaを注入することで、利得が生じ、前記回折格子で選択的に反射された波長においてレーザ発振が起こる。一方、非活性導波路層3に対応して設けられた制御用電極7へ制御層電流Itを注入すると、キャリアプラズマ効果により導波路内の屈折率変化が生じ、非活性導波路における回折格子の反射波長が変化する。非活性導波路層に注入する電流量を変化させることで、TDA-DFBレーザの発振波長を変化させることができる(例えば、特許文献1、2参照)。
プラズマ効果を用いた波長変化は非常に高速で、その応答速度はns(10-9秒)オーダである。しかしながら、半導体素子に電流を注入することで抵抗成分のために熱が生じる。温度変化により、ms(10-3秒)オーダでゆっくりと波長が変化するという熱ドリフト現象が起きる。このように、波長変化の応答速度は波長の熱ドリフトの影響により律速されてしまう。
この問題を解決するための技術がいくつか提案されている(例えば、特許文献2、3、4参照)。例えば、特許文献2、3では、波長可変半導体レーザにおいて、隣接する半導体レーザ(LD)を熱補償機構として用いて半導体素子全体の発熱量を制御することで上記熱ドリフトの抑制を行っている。
特開2008−103466号公報 特開2008−218947号公報 特開2011−198904号公報 特開平7−111354号公報
しかしながら、上述した熱ドリフトを抑制する手法は、動作中のTDA-DFBレーザに隣接した別のTDA-DFBレーザの制御層を熱補償機構として用いているが、TDA-DFBレーザアレイにおいて、同一LD内での波長切替動作ではなく、異なるLD間で波長切替動作を行う際に、最も電流変化が大きく発熱量が大きくなる活性層部分の熱を効率的に補償するために、構造の観点から検討されたものではない。
TDA-DFBレーザアレイを用いた波長切替動作においては、最も発熱量が大きく、熱ドリフトの影響が大きくなる、異なるLD間での切替動作時の温度変化を効率的に制御することが望ましい。
本発明は、このような問題に鑑みてなされたもので、その目的とするところは、波長可変半導体アレイ(例えば、TDA-DFBレーザアレイ)において、動作中のLDを別のLDに切り替えて波長切替動作を行う際に最も電流変化量が大きくなる、すなわち、温度変化が大きくなる活性層部分の影響を最小限に抑制するよう、その構造を最適化した波長可変半導体レーザアレイ及び該波長可変半導体レーザアレイの制御方法を提供することにある。
このような目的を達成するために、本願発明の第1の態様は、半導体基板内に光導波路が埋め込まれた構造の複数の半導体レーザを備えた波長可変半導体レーザアレイであって、複数の半導体レーザの各々は、光が導波する方向に配列された、活性層電流の注入により光利得を制御する活性層、及び制御電流の注入により導波する光に対する屈折率を変化させる制御層を含み、複数の半導体レーザのうちの隣り合う波長可変半導体レーザにおいて、一方の波長可変半導体レーザの活性層及び制御層は、他方の波長可変半導体レーザの制御層及び活性層とそれぞれ隣り合う位置に形成されている。
本願発明の第2の態様は、上記波長可変半導体レーザアレイの制御方法であって、駆動させる波長可変半導体レーザを、第1の波長可変半導体レーザから第2の波長可変半導体レーザに切り替える際に、第1の波長可変半導体レーザの動作中に、第2の波長可変半導体レーザと隣り合う第3の波長可変半導体レーザの制御層に制御電流を注入することと、第2の波長可変半導体レーザが駆動するのと同時に、第3の波長可変半導体レーザ3の制御層への電流注入を止めることとを含む。
以上説明したように、本発明によれば、波長可変半導体アレイにおいて、動作中のLDを別のLDに切り替えて波長切替動作を行う際に温度変化が大きくなる活性層部分の影響を最小限に抑制する構造を有する波長可変半導体レーザアレイ及び該波長可変半導体レーザアレイの制御方法を提供することが可能となる。
TDA-DFBレーザを説明する図である。 本発明の一実施形態のTDA-DFBレーザの構造を示す図である。
本願発明は、波長可変半導体レーザアレイであって、電流注入により光利得を制御する導波路層(活性層)とコア層を導波する光に対する屈折率を変化させることができる導波路層(制御層)とが、光が導波する方向にそれぞれ1つ以上並んだ構造を有する波長可変半導体レーザが、2次元的(もしくは3次元的)に2つ以上配列され、隣り合う波長可変半導体レーザはそれぞれ活性層と制御層の並びが逆であることを特徴とする。
また本願発明は、波長可変半導体レーザアレイの制御手法であって、駆動させる波長可変半導体レーザを、第1の波長可変半導体レーザから第2の波長可変半導体レーザに切り替える際に、第1の波長可変半導体レーザの動作中に、第2の波長可変半導体レーザに隣接する第3の波長可変半導体レーザ(及び第4の波長可変半導体レーザ)の制御層に電流を注入し、第2の波長可変半導体レーザが駆動すると同時に、第3(及び第4)の波長可変半導体レーザの制御層への電流注入を止めることを特徴とする。
以下、図面を参照しながら本発明の実施形態について詳細に説明する。以下に説明する実施形態は本発明の実施例であり。本発明は、以下の実施形態に制限されるものではない。図面中の同一または類似の符号は同一または類似の要素を示す。
(実施形態1)
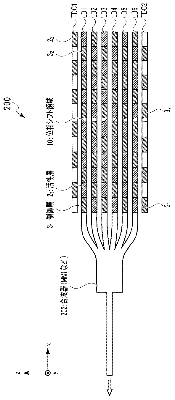
図2を参照して、本実施形態に係る半導体レーザアレイ(TDA-DFBレーザアレイ)200の構造及び制御方法について説明する。図2は、TDA-DFBレーザアレイの上面模式図である。TDA-DFBレーザアレイ200は、同一基板上に発振波長の異なる6個のTDA-DFBレーザ(LD1〜LD6)が、光の伝搬方向に垂直な方向(z方向)に一定の間隔(光のフィールドが重ならない程度の間隔)で並列に配置され、その出力光は合波器(例えばMMIカプラなど)202で合波された後、出力される。合波器202と各LDの出射端との間に光出力を増幅するために半導体光増幅器(Semiconductor Optical Amplifier:SOA)(不図示)を集積しても良い。TDA-DFBレーザアレイ200を構成する複数のTDA-DFBレーザは、同一基板上に2次元的または3次元的に配列される。
各LDは、図1に示したように、下部クラッド層1と上部クラッド層4との間に、活性層2と制御層3とがそれぞれ一定の長さで光の導波方向(x方向)に交互に周期的に配列された構造になっている。活性層2及び制御層3はそれぞれ一つの電極8、7に接続され、それぞれの電流値は単一電極で制御できるようになっている。各LDは、活性層2に電流(活性層電流)Iaを注入することでレーザ発振し、制御層3への注入電流(制御層電流)Itを制御することで、発振波長を変化させることができる。予め測定された制御層電流Itと発振波長の関係より、所望の発振波長が得られるように各電流値を設定する。
本実施形態に係るTDA-DFBレーザアレイ200は、隣り合うLD同士の活性層2と制御層3の配列順序が逆になっている。図2に示すように、LD1、3、5は、出射端側から順に制御層3、活性層2、制御層3、活性層2・・・が形成されている。これに対して、LD1、3、5と隣り合うLD2、4、6は、出射端側から順に活性層2、制御層3、活性層2、制御層3・・・が形成されている。また、本実施形態に係るTDA-DFBレーザアレイ200は、LD1、LD6のさらに外側の隣り合う位置には、各LDと同じ構造を有するメサ(TDC1、2)が形成されている。LD1、LD6の外側の隣り合う位置のメサは、合波器202には接続されず、熱補償機構(TDC: Thermal Drift Compensator)として使用される。LD1とTDC1のz方向の間隔、及びLD6とTLD2のz方向の間隔は、隣り合うLD同士のz方向の間隔と同じである。熱補償機構として使用されるTDC1、2は、活性層2を含まなくてもよく、あるいは活性層2の代りに制御層3を配置してもよい。
図2に示すように、あるLDの活性層2に着目すると、活性層2のz方向の隣り合う位置の一方または双方に、別のLDまたはTDCの制御層3が形成されている。
<動作方法>
上述したTDA-DFBレーザアレイ200を用いて高速且つ高精度な波長切替動作を行う方法について説明する。
ここでは、LD1に活性層電流Ia1及び制御層電流It1を注入して、LD1をλ1でレーザ発振させている状態(TDA-DFBレーザアレイ200の合波器202から、波長λ1のレーザが出射している状態)から、LD4に活性層電流Ia4及び制御相電流It4を注入し、LD4をλ2でレーザ発振させる状態に切り替えて、合波器202から出射する光の波長をλ1からλ2に変化させる場合を説明する。
LD4に活性層電流Ia4及び制御相電流It4を注入すると、LD4では、I4=Ia4+It4分の注入電流の変化に伴う熱ドリフトが発生し、切替時間の高速化が律速される。
ここで、LD1がλ1で動作している段階で、予めLD4の制御層にI4(=Ia4+It4)と同等の電流を注入することで、切替前後での電流量の変化をなくし、熱ドリフトを抑制することができる。すなわち、波長切替後にLD4の活性層2及び制御層3にそれぞれ注入される活性層電流Ia4及び制御相電流It4の合計と同等の電流(あるいは電力)を、波長切替前からLD4の制御層3に注入し予め熱を生じさせておくことで、波長切替時の熱ドリフトを抑制することができ、その結果、高速且つ高精度な波長切替動作を行うことができる。
LD4の活性層2へ活性層電流Ia4を供給する際に発生する発熱も波長ドリフトに寄与する。したがって、LD4の活性層2へ供給する活性層電流Ia4は、活性層2の波長変化の時定数と同等もしくはそれよりも小さい時定数を有する波形の活性層電流Ia4を形成して注入することが望ましい。
しかしながら、一般に、安定したレーザ発振を得るためには、活性層電流は制御層電流よりも大きくする。そのため、I4が大きくなりすぎた場合、波長切替前のLD4の制御層3への注入電流が過電流となり、素子を破損する可能性がある。
そこで、波長切替前に注入するI4を、LD4の制御層3と、LD4に隣接するLD5(もしくはLD3、もしくはその両方(LD3とLD5))の制御層3とに分配して注入することで、過電流による素子の破損を防ぐことができる。波長切替前に注入するI4の分配先を、LD4の制御層3を除く、LD4に隣接するLD5(もしくはLD3、もしくはその両方(LD3とLD5))の制御層3としてもよい。ここで、隣り合うTDA-DFBレーザ同士の活性層2と制御層3の配列順序が逆になっているので、配列順序が同じである場合よりも、波長切替後に最も電流変化が大きいLD4の活性層部2の発熱量の変化を、効率的に補償することができる。
ここで、LD4とLD5は光のフィールドが重ならない程度(例えば、10μm以上)離れている。そのため、活性層2の温度変化を効率的に抑制するには、LD4の制御層3に注入する補償電流を、LD5の制御層3に注入する補償電流より大きくすることが望ましい。
LD4が駆動するのと同時に、LD5(もしくはLD3、もしくはその両方(LD3とLD5))の制御層3への電流注入は、停止する。また、LD4の制御層3の制御層への電流注入は、It4となるように制御される。
切り替え先のLDの両側のLDを熱補償機構として使用する制御方法において、TDA-DFBレーザアレイ200の端に配置されたLD1またはLD6を切り替え先のLDとして動作させる場合は、その外側に形成されているTDC1または2を熱補償機構として使用することができる。
なお、ここでは、動作中のあるTDA-DFBレーザから別のTDA-DFBレーザへ連続的に波長を切り替える例を紹介したが、動作中のTDA-DFBレーザの発振を停止した後、時間をおいてから別のTDA-DFBレーザを動作させて波長を切り替える場合にも適用することができる。
上記制御方法は、LD内部の局所的な温度変動を抑制するのに効果的な手法である。一方で、チップ全体の温度変動も抑制する必要がある。例えば、発振中のLD以外の残りのLDの1つまたは複数の制御部に制御電流を注入して発熱させ、チップ全体の温度変動を抑制させることができる。この場合、波長切替の際に、チップ全体(TDA-DFBレーザアレイ全体)における注入電流(もしくは電力)が常に一定となるように、熱補償機構として機能するLDの制御部3へ注入する制御層電流や補償電流を設定することで、チップ全体の温度を安定化することができ、チップ全体の温度変動に伴う熱ドリフトを抑制することができる。
100 TDA-DFBレーザ
1 下部クラッド層
2 活性導波路層(活性層)
3 非活性導波路層(制御層)
4 上部クラッド層
5 回折格子
6 コンタクト層
7 制御層用電極
8 活性層用電極
9 電極
10 位相シフト領域
200 TDA-DFBレーザアレイ
202 合波器

Claims (5)

  1. 半導体基板内に光導波路が埋め込まれた構造の複数の半導体レーザを備えた波長可変半導体レーザアレイであって、
    前記複数の半導体レーザの各々は、光が導波する方向に配列された、
    活性層電流の注入により光利得を制御する活性層、及び
    制御電流の注入により導波する光に対する屈折率を変化させる制御層
    を含み、
    前記複数の半導体レーザのうちの隣り合う波長可変半導体レーザにおいて、一方の波長可変半導体レーザの活性層及び制御層は、他方の波長可変半導体レーザの制御層及び活性層とそれぞれ隣り合う位置に形成されている、ことを特徴とする波長可変半導体レーザアレイ。
  2. 半導体基板内に光導波路が埋め込まれた構造の複数の半導体レーザを備えた波長可変半導体レーザアレイであり、前記複数の半導体レーザの各々は、光が導波する方向に配列された、活性層電流の注入により光利得を制御する活性層、及び制御電流の注入により導波する光に対する屈折率を変化させる制御層を含み、前記複数の半導体レーザのうちの隣り合う波長可変半導体レーザにおいて、一方の波長可変半導体レーザの活性層及び制御層は、他方の波長可変半導体レーザの制御層及び活性層とそれぞれ隣り合う位置に形成されている、前記波長可変半導体レーザアレイの制御手法であって、
    駆動させる波長可変半導体レーザを、第1の波長可変半導体レーザから第2の波長可変半導体レーザに切り替える際に、
    前記第1の波長可変半導体レーザの動作中に、前記第2の波長可変半導体レーザと隣り合う第3の波長可変半導体レーザの制御層に制御電流を注入することと、
    前記第2の波長可変半導体レーザが駆動するのと同時に、前記第3の波長可変半導体レーザ3の制御層への電流注入を止めることと
    を含む、ことを特徴とする制御方法。
  3. 前記第1の波長可変半導体レーザの動作中に、前記第3の波長可変半導体レーザとは別に、前記第2の波長可変半導体レーザと隣り合う第4の波長可変半導体レーザの制御層にも制御電流を注入することと、
    前記第2の波長可変半導体レーザが駆動すると同時に、前記波長可変半導体レーザ3とは別に、前記第4の波長可変半導体レーザの制御層への電流注入も止めることと
    を含む、ことを特徴とする請求項2に記載の制御方法。
  4. 前記第1の波長可変半導体レーザから前記第2の波長可変半導体レーザへの切り替えの前後で、前記波長可変半導体レーザアレイのうちの前記波長可変半導体レーザに注入する電流量の合計が一定に制御される、ことを特徴とする請求項2または3に記載の制御方法。
  5. 前記第1の波長可変半導体レーザから前記第2の波長可変半導体レーザへの切り替えの前後で、前記波長可変半導体レーザアレイのうちの前記波長可変半導体レーザに注入する電力量の合計が一定に制御される、ことを特徴とする請求項2または3に記載の制御方法。
JP2016121732A 2016-06-20 2016-06-20 波長可変半導体レーザアレイ及び波長可変半導体レーザアレイの制御方法 Active JP6626412B2 (ja)

Priority Applications (1)

Application Number Priority Date Filing Date Title
JP2016121732A JP6626412B2 (ja) 2016-06-20 2016-06-20 波長可変半導体レーザアレイ及び波長可変半導体レーザアレイの制御方法

Applications Claiming Priority (1)

Application Number Priority Date Filing Date Title
JP2016121732A JP6626412B2 (ja) 2016-06-20 2016-06-20 波長可変半導体レーザアレイ及び波長可変半導体レーザアレイの制御方法

Publications (2)

Publication Number Publication Date
JP2017228564A true JP2017228564A (ja) 2017-12-28
JP6626412B2 JP6626412B2 (ja) 2019-12-25

Family

ID=60892018

Family Applications (1)

Application Number Title Priority Date Filing Date
JP2016121732A Active JP6626412B2 (ja) 2016-06-20 2016-06-20 波長可変半導体レーザアレイ及び波長可変半導体レーザアレイの制御方法

Country Status (1)

Country Link
JP (1) JP6626412B2 (ja)

Cited By (1)

* Cited by examiner, † Cited by third party
Publication number Priority date Publication date Assignee Title
WO2021009864A1 (ja) * 2019-07-17 2021-01-21 日本電信電話株式会社 触覚提示装置、および触覚提示方法

Citations (6)

* Cited by examiner, † Cited by third party
Publication number Priority date Publication date Assignee Title
WO2002065598A2 (en) * 2001-02-15 2002-08-22 Bookham Technology Plc Thermally stabilized semiconductor laser
JP2006011278A (ja) * 2004-06-29 2006-01-12 Hitachi Cable Ltd タンデム接続型多芯可変光減衰器
WO2008107975A1 (ja) * 2007-03-06 2008-09-12 Fujitsu Limited 半導体集積素子
JP2008218947A (ja) * 2007-03-08 2008-09-18 Nippon Telegr & Teleph Corp <Ntt> 波長可変半導体レーザ素子及びその制御装置、制御方法
JP2011198904A (ja) * 2010-03-18 2011-10-06 Nippon Telegr & Teleph Corp <Ntt> 光素子の波長制御方法および波長制御装置
JP2015207738A (ja) * 2014-04-23 2015-11-19 日本電信電話株式会社 波長可変レーザアレイ及び波長可変レーザアレイの波長制御方法

Patent Citations (6)

* Cited by examiner, † Cited by third party
Publication number Priority date Publication date Assignee Title
WO2002065598A2 (en) * 2001-02-15 2002-08-22 Bookham Technology Plc Thermally stabilized semiconductor laser
JP2006011278A (ja) * 2004-06-29 2006-01-12 Hitachi Cable Ltd タンデム接続型多芯可変光減衰器
WO2008107975A1 (ja) * 2007-03-06 2008-09-12 Fujitsu Limited 半導体集積素子
JP2008218947A (ja) * 2007-03-08 2008-09-18 Nippon Telegr & Teleph Corp <Ntt> 波長可変半導体レーザ素子及びその制御装置、制御方法
JP2011198904A (ja) * 2010-03-18 2011-10-06 Nippon Telegr & Teleph Corp <Ntt> 光素子の波長制御方法および波長制御装置
JP2015207738A (ja) * 2014-04-23 2015-11-19 日本電信電話株式会社 波長可変レーザアレイ及び波長可変レーザアレイの波長制御方法

Non-Patent Citations (1)

* Cited by examiner, † Cited by third party
Title
KANAI, TAKUYA ET AL.: "High-accuracy, sub-μs wavelength switching with thermal drift suppression in tunable distributed am", 2013 OPTICAL FIBER COMMUNICATION CONFERENCE AND EXPOSITION AND THE NATIONAL FIBER OPTIC ENGINEERS CO, vol. OTh3l.2, JPN6019013610, 17 March 2013 (2013-03-17), ISSN: 0004019055 *

Cited By (5)

* Cited by examiner, † Cited by third party
Publication number Priority date Publication date Assignee Title
WO2021009864A1 (ja) * 2019-07-17 2021-01-21 日本電信電話株式会社 触覚提示装置、および触覚提示方法
JPWO2021009864A1 (ja) * 2019-07-17 2021-01-21
US20220237995A1 (en) * 2019-07-17 2022-07-28 Nippon Telegraph And Telephone Corporation Tactile presentation device, and tactile presentation method
JP7238991B2 (ja) 2019-07-17 2023-03-14 日本電信電話株式会社 触覚提示装置、および触覚提示方法
US12020559B2 (en) * 2019-07-17 2024-06-25 Nippon Telegraph And Telephone Corporation Tactile presentation device, and tactile presentation method

Also Published As

Publication number Publication date
JP6626412B2 (ja) 2019-12-25

Similar Documents

Publication Publication Date Title
JP4945907B2 (ja) 波長可変レーザ
JP4850757B2 (ja) 波長可変半導体レーザ素子及びその制御装置、制御方法
JP5737777B2 (ja) 波長可変レーザアレイ素子の制御方法および制御装置
JP6443955B2 (ja) 半導体レーザ装置
JP2009231526A (ja) 半導体レーザの制御方法および半導体レーザの制御装置
US7656911B2 (en) External resonator type wavelength-variable laser
JP4290541B2 (ja) 波長可変光源および光送信器
US20180054038A1 (en) Semiconductor laser apparatus
JPWO2008107975A1 (ja) 半導体集積素子
JP2015115411A (ja) 高速波長掃引光源
JP5556137B2 (ja) 半導体レーザ装置
JP2012169499A (ja) 半導体レーザモジュール
JP6186864B2 (ja) 半導体レーザ
JP4864858B2 (ja) 波長可変レーザ光発生装置
JP6626412B2 (ja) 波長可変半導体レーザアレイ及び波長可変半導体レーザアレイの制御方法
JP2014203853A (ja) 高速波長可変レーザの制御方法及び波長制御装置
JP5457239B2 (ja) 光素子の波長制御方法および波長制御装置
JP2018060974A (ja) 半導体光集積素子
JP5899136B2 (ja) 波長可変レーザアレイ素子およびその制御方法
JP6231934B2 (ja) 波長可変レーザの波長制御装置
JP6180666B1 (ja) 波長可変光源および波長可変光源の波長切り替え制御方法
JP5638676B2 (ja) 光素子の波長制御方法および波長制御装置
GB2372376A (en) Semiconductor Laser
JP2012156414A (ja) 半導体レーザ素子および半導体レーザ装置
JP2004055647A (ja) 分布ブラッグ反射型半導体レーザ、集積型半導体レーザ、半導体レーザモジュール、光ネットワークシステム

Legal Events

Date Code Title Description
A621 Written request for application examination

Free format text: JAPANESE INTERMEDIATE CODE: A621

Effective date: 20180619

A977 Report on retrieval

Free format text: JAPANESE INTERMEDIATE CODE: A971007

Effective date: 20190327

A131 Notification of reasons for refusal

Free format text: JAPANESE INTERMEDIATE CODE: A131

Effective date: 20190423

A521 Request for written amendment filed

Free format text: JAPANESE INTERMEDIATE CODE: A523

Effective date: 20190618

TRDD Decision of grant or rejection written
A01 Written decision to grant a patent or to grant a registration (utility model)

Free format text: JAPANESE INTERMEDIATE CODE: A01

Effective date: 20191126

A61 First payment of annual fees (during grant procedure)

Free format text: JAPANESE INTERMEDIATE CODE: A61

Effective date: 20191129

R150 Certificate of patent or registration of utility model

Ref document number: 6626412

Country of ref document: JP

Free format text: JAPANESE INTERMEDIATE CODE: R150

S533 Written request for registration of change of name

Free format text: JAPANESE INTERMEDIATE CODE: R313533

R350 Written notification of registration of transfer

Free format text: JAPANESE INTERMEDIATE CODE: R350