JP2017194673A - 液晶表示装置 - Google Patents
液晶表示装置 Download PDFInfo
- Publication number
- JP2017194673A JP2017194673A JP2017030730A JP2017030730A JP2017194673A JP 2017194673 A JP2017194673 A JP 2017194673A JP 2017030730 A JP2017030730 A JP 2017030730A JP 2017030730 A JP2017030730 A JP 2017030730A JP 2017194673 A JP2017194673 A JP 2017194673A
- Authority
- JP
- Japan
- Prior art keywords
- liquid crystal
- polarizer
- optical compensation
- crystal display
- display device
- Prior art date
- Legal status (The legal status is an assumption and is not a legal conclusion. Google has not performed a legal analysis and makes no representation as to the accuracy of the status listed.)
- Granted
Links
Images
Classifications
-
- G—PHYSICS
- G02—OPTICS
- G02F—OPTICAL DEVICES OR ARRANGEMENTS FOR THE CONTROL OF LIGHT BY MODIFICATION OF THE OPTICAL PROPERTIES OF THE MEDIA OF THE ELEMENTS INVOLVED THEREIN; NON-LINEAR OPTICS; FREQUENCY-CHANGING OF LIGHT; OPTICAL LOGIC ELEMENTS; OPTICAL ANALOGUE/DIGITAL CONVERTERS
- G02F1/00—Devices or arrangements for the control of the intensity, colour, phase, polarisation or direction of light arriving from an independent light source, e.g. switching, gating or modulating; Non-linear optics
- G02F1/01—Devices or arrangements for the control of the intensity, colour, phase, polarisation or direction of light arriving from an independent light source, e.g. switching, gating or modulating; Non-linear optics for the control of the intensity, phase, polarisation or colour
- G02F1/13—Devices or arrangements for the control of the intensity, colour, phase, polarisation or direction of light arriving from an independent light source, e.g. switching, gating or modulating; Non-linear optics for the control of the intensity, phase, polarisation or colour based on liquid crystals, e.g. single liquid crystal display cells
- G02F1/133—Constructional arrangements; Operation of liquid crystal cells; Circuit arrangements
- G02F1/1333—Constructional arrangements; Manufacturing methods
- G02F1/1335—Structural association of cells with optical devices, e.g. polarisers or reflectors
- G02F1/133528—Polarisers
-
- G—PHYSICS
- G02—OPTICS
- G02B—OPTICAL ELEMENTS, SYSTEMS OR APPARATUS
- G02B5/00—Optical elements other than lenses
- G02B5/30—Polarising elements
-
- G—PHYSICS
- G02—OPTICS
- G02F—OPTICAL DEVICES OR ARRANGEMENTS FOR THE CONTROL OF LIGHT BY MODIFICATION OF THE OPTICAL PROPERTIES OF THE MEDIA OF THE ELEMENTS INVOLVED THEREIN; NON-LINEAR OPTICS; FREQUENCY-CHANGING OF LIGHT; OPTICAL LOGIC ELEMENTS; OPTICAL ANALOGUE/DIGITAL CONVERTERS
- G02F1/00—Devices or arrangements for the control of the intensity, colour, phase, polarisation or direction of light arriving from an independent light source, e.g. switching, gating or modulating; Non-linear optics
- G02F1/01—Devices or arrangements for the control of the intensity, colour, phase, polarisation or direction of light arriving from an independent light source, e.g. switching, gating or modulating; Non-linear optics for the control of the intensity, phase, polarisation or colour
- G02F1/13—Devices or arrangements for the control of the intensity, colour, phase, polarisation or direction of light arriving from an independent light source, e.g. switching, gating or modulating; Non-linear optics for the control of the intensity, phase, polarisation or colour based on liquid crystals, e.g. single liquid crystal display cells
- G02F1/133—Constructional arrangements; Operation of liquid crystal cells; Circuit arrangements
- G02F1/1333—Constructional arrangements; Manufacturing methods
- G02F1/133308—Support structures for LCD panels, e.g. frames or bezels
-
- G—PHYSICS
- G02—OPTICS
- G02F—OPTICAL DEVICES OR ARRANGEMENTS FOR THE CONTROL OF LIGHT BY MODIFICATION OF THE OPTICAL PROPERTIES OF THE MEDIA OF THE ELEMENTS INVOLVED THEREIN; NON-LINEAR OPTICS; FREQUENCY-CHANGING OF LIGHT; OPTICAL LOGIC ELEMENTS; OPTICAL ANALOGUE/DIGITAL CONVERTERS
- G02F1/00—Devices or arrangements for the control of the intensity, colour, phase, polarisation or direction of light arriving from an independent light source, e.g. switching, gating or modulating; Non-linear optics
- G02F1/01—Devices or arrangements for the control of the intensity, colour, phase, polarisation or direction of light arriving from an independent light source, e.g. switching, gating or modulating; Non-linear optics for the control of the intensity, phase, polarisation or colour
- G02F1/13—Devices or arrangements for the control of the intensity, colour, phase, polarisation or direction of light arriving from an independent light source, e.g. switching, gating or modulating; Non-linear optics for the control of the intensity, phase, polarisation or colour based on liquid crystals, e.g. single liquid crystal display cells
- G02F1/133—Constructional arrangements; Operation of liquid crystal cells; Circuit arrangements
- G02F1/1333—Constructional arrangements; Manufacturing methods
- G02F1/1335—Structural association of cells with optical devices, e.g. polarisers or reflectors
- G02F1/133528—Polarisers
- G02F1/133541—Circular polarisers
-
- G—PHYSICS
- G02—OPTICS
- G02F—OPTICAL DEVICES OR ARRANGEMENTS FOR THE CONTROL OF LIGHT BY MODIFICATION OF THE OPTICAL PROPERTIES OF THE MEDIA OF THE ELEMENTS INVOLVED THEREIN; NON-LINEAR OPTICS; FREQUENCY-CHANGING OF LIGHT; OPTICAL LOGIC ELEMENTS; OPTICAL ANALOGUE/DIGITAL CONVERTERS
- G02F1/00—Devices or arrangements for the control of the intensity, colour, phase, polarisation or direction of light arriving from an independent light source, e.g. switching, gating or modulating; Non-linear optics
- G02F1/01—Devices or arrangements for the control of the intensity, colour, phase, polarisation or direction of light arriving from an independent light source, e.g. switching, gating or modulating; Non-linear optics for the control of the intensity, phase, polarisation or colour
- G02F1/13—Devices or arrangements for the control of the intensity, colour, phase, polarisation or direction of light arriving from an independent light source, e.g. switching, gating or modulating; Non-linear optics for the control of the intensity, phase, polarisation or colour based on liquid crystals, e.g. single liquid crystal display cells
- G02F1/133—Constructional arrangements; Operation of liquid crystal cells; Circuit arrangements
- G02F1/1333—Constructional arrangements; Manufacturing methods
- G02F1/1335—Structural association of cells with optical devices, e.g. polarisers or reflectors
- G02F1/13363—Birefringent elements, e.g. for optical compensation
-
- G—PHYSICS
- G02—OPTICS
- G02F—OPTICAL DEVICES OR ARRANGEMENTS FOR THE CONTROL OF LIGHT BY MODIFICATION OF THE OPTICAL PROPERTIES OF THE MEDIA OF THE ELEMENTS INVOLVED THEREIN; NON-LINEAR OPTICS; FREQUENCY-CHANGING OF LIGHT; OPTICAL LOGIC ELEMENTS; OPTICAL ANALOGUE/DIGITAL CONVERTERS
- G02F1/00—Devices or arrangements for the control of the intensity, colour, phase, polarisation or direction of light arriving from an independent light source, e.g. switching, gating or modulating; Non-linear optics
- G02F1/01—Devices or arrangements for the control of the intensity, colour, phase, polarisation or direction of light arriving from an independent light source, e.g. switching, gating or modulating; Non-linear optics for the control of the intensity, phase, polarisation or colour
- G02F1/13—Devices or arrangements for the control of the intensity, colour, phase, polarisation or direction of light arriving from an independent light source, e.g. switching, gating or modulating; Non-linear optics for the control of the intensity, phase, polarisation or colour based on liquid crystals, e.g. single liquid crystal display cells
- G02F1/133—Constructional arrangements; Operation of liquid crystal cells; Circuit arrangements
- G02F1/1333—Constructional arrangements; Manufacturing methods
- G02F1/1335—Structural association of cells with optical devices, e.g. polarisers or reflectors
- G02F1/13363—Birefringent elements, e.g. for optical compensation
- G02F1/133638—Waveplates, i.e. plates with a retardation value of lambda/n
-
- G—PHYSICS
- G02—OPTICS
- G02F—OPTICAL DEVICES OR ARRANGEMENTS FOR THE CONTROL OF LIGHT BY MODIFICATION OF THE OPTICAL PROPERTIES OF THE MEDIA OF THE ELEMENTS INVOLVED THEREIN; NON-LINEAR OPTICS; FREQUENCY-CHANGING OF LIGHT; OPTICAL LOGIC ELEMENTS; OPTICAL ANALOGUE/DIGITAL CONVERTERS
- G02F1/00—Devices or arrangements for the control of the intensity, colour, phase, polarisation or direction of light arriving from an independent light source, e.g. switching, gating or modulating; Non-linear optics
- G02F1/01—Devices or arrangements for the control of the intensity, colour, phase, polarisation or direction of light arriving from an independent light source, e.g. switching, gating or modulating; Non-linear optics for the control of the intensity, phase, polarisation or colour
- G02F1/13—Devices or arrangements for the control of the intensity, colour, phase, polarisation or direction of light arriving from an independent light source, e.g. switching, gating or modulating; Non-linear optics for the control of the intensity, phase, polarisation or colour based on liquid crystals, e.g. single liquid crystal display cells
- G02F1/133—Constructional arrangements; Operation of liquid crystal cells; Circuit arrangements
- G02F1/1333—Constructional arrangements; Manufacturing methods
- G02F1/1343—Electrodes
- G02F1/134309—Electrodes characterised by their geometrical arrangement
-
- G—PHYSICS
- G02—OPTICS
- G02F—OPTICAL DEVICES OR ARRANGEMENTS FOR THE CONTROL OF LIGHT BY MODIFICATION OF THE OPTICAL PROPERTIES OF THE MEDIA OF THE ELEMENTS INVOLVED THEREIN; NON-LINEAR OPTICS; FREQUENCY-CHANGING OF LIGHT; OPTICAL LOGIC ELEMENTS; OPTICAL ANALOGUE/DIGITAL CONVERTERS
- G02F1/00—Devices or arrangements for the control of the intensity, colour, phase, polarisation or direction of light arriving from an independent light source, e.g. switching, gating or modulating; Non-linear optics
- G02F1/01—Devices or arrangements for the control of the intensity, colour, phase, polarisation or direction of light arriving from an independent light source, e.g. switching, gating or modulating; Non-linear optics for the control of the intensity, phase, polarisation or colour
- G02F1/13—Devices or arrangements for the control of the intensity, colour, phase, polarisation or direction of light arriving from an independent light source, e.g. switching, gating or modulating; Non-linear optics for the control of the intensity, phase, polarisation or colour based on liquid crystals, e.g. single liquid crystal display cells
- G02F1/133—Constructional arrangements; Operation of liquid crystal cells; Circuit arrangements
- G02F1/1333—Constructional arrangements; Manufacturing methods
- G02F1/133308—Support structures for LCD panels, e.g. frames or bezels
- G02F1/133331—Cover glasses
-
- G—PHYSICS
- G02—OPTICS
- G02F—OPTICAL DEVICES OR ARRANGEMENTS FOR THE CONTROL OF LIGHT BY MODIFICATION OF THE OPTICAL PROPERTIES OF THE MEDIA OF THE ELEMENTS INVOLVED THEREIN; NON-LINEAR OPTICS; FREQUENCY-CHANGING OF LIGHT; OPTICAL LOGIC ELEMENTS; OPTICAL ANALOGUE/DIGITAL CONVERTERS
- G02F1/00—Devices or arrangements for the control of the intensity, colour, phase, polarisation or direction of light arriving from an independent light source, e.g. switching, gating or modulating; Non-linear optics
- G02F1/01—Devices or arrangements for the control of the intensity, colour, phase, polarisation or direction of light arriving from an independent light source, e.g. switching, gating or modulating; Non-linear optics for the control of the intensity, phase, polarisation or colour
- G02F1/13—Devices or arrangements for the control of the intensity, colour, phase, polarisation or direction of light arriving from an independent light source, e.g. switching, gating or modulating; Non-linear optics for the control of the intensity, phase, polarisation or colour based on liquid crystals, e.g. single liquid crystal display cells
- G02F1/133—Constructional arrangements; Operation of liquid crystal cells; Circuit arrangements
- G02F1/1333—Constructional arrangements; Manufacturing methods
- G02F1/1335—Structural association of cells with optical devices, e.g. polarisers or reflectors
- G02F1/13356—Structural association of cells with optical devices, e.g. polarisers or reflectors characterised by the placement of the optical elements
- G02F1/133562—Structural association of cells with optical devices, e.g. polarisers or reflectors characterised by the placement of the optical elements on the viewer side
-
- G—PHYSICS
- G02—OPTICS
- G02F—OPTICAL DEVICES OR ARRANGEMENTS FOR THE CONTROL OF LIGHT BY MODIFICATION OF THE OPTICAL PROPERTIES OF THE MEDIA OF THE ELEMENTS INVOLVED THEREIN; NON-LINEAR OPTICS; FREQUENCY-CHANGING OF LIGHT; OPTICAL LOGIC ELEMENTS; OPTICAL ANALOGUE/DIGITAL CONVERTERS
- G02F2201/00—Constructional arrangements not provided for in groups G02F1/00 - G02F7/00
- G02F2201/38—Anti-reflection arrangements
-
- G—PHYSICS
- G02—OPTICS
- G02F—OPTICAL DEVICES OR ARRANGEMENTS FOR THE CONTROL OF LIGHT BY MODIFICATION OF THE OPTICAL PROPERTIES OF THE MEDIA OF THE ELEMENTS INVOLVED THEREIN; NON-LINEAR OPTICS; FREQUENCY-CHANGING OF LIGHT; OPTICAL LOGIC ELEMENTS; OPTICAL ANALOGUE/DIGITAL CONVERTERS
- G02F2202/00—Materials and properties
- G02F2202/28—Adhesive materials or arrangements
-
- G—PHYSICS
- G02—OPTICS
- G02F—OPTICAL DEVICES OR ARRANGEMENTS FOR THE CONTROL OF LIGHT BY MODIFICATION OF THE OPTICAL PROPERTIES OF THE MEDIA OF THE ELEMENTS INVOLVED THEREIN; NON-LINEAR OPTICS; FREQUENCY-CHANGING OF LIGHT; OPTICAL LOGIC ELEMENTS; OPTICAL ANALOGUE/DIGITAL CONVERTERS
- G02F2413/00—Indexing scheme related to G02F1/13363, i.e. to birefringent elements, e.g. for optical compensation, characterised by the number, position, orientation or value of the compensation plates
- G02F2413/06—Two plates on one side of the LC cell
Landscapes
- Physics & Mathematics (AREA)
- Nonlinear Science (AREA)
- General Physics & Mathematics (AREA)
- Optics & Photonics (AREA)
- Mathematical Physics (AREA)
- Chemical & Material Sciences (AREA)
- Crystallography & Structural Chemistry (AREA)
- Geometry (AREA)
- Liquid Crystal (AREA)
- Polarising Elements (AREA)
- Devices For Indicating Variable Information By Combining Individual Elements (AREA)
Abstract
Description
1つの実施形態においては、上記液晶表示装置は、上記カバーシートと上記第2の偏光子との間に、Re(550)が100nm〜180nmである第2の光学補償層をさらに備える。
1つの実施形態においては、上記第1の光学補償層および上記第3の偏光子により得られる円偏光の偏光方向と上記第2の偏光子および上記第2の光学補償層により得られる円偏光の偏光方向とは同じ方向である。
1つの実施形態においては、上記第1の光学補償層および上記第2の光学補償層は、Re(450)<Re(550)の関係を満たす。
1つの実施形態においては、上記カバーシートの上記透過部は開口部であり、該開口部は粘着剤で充填されている。
1つの実施形態においては、上記粘着剤の屈折率は1.30〜1.70である。
本明細書における用語および記号の定義は下記の通りである。
(1)屈折率(nx、ny、nz)
「nx」は面内の屈折率が最大になる方向(すなわち、遅相軸方向)の屈折率であり、「ny」は面内で遅相軸と直交する方向(すなわち、進相軸方向)の屈折率であり、「nz」は厚み方向の屈折率である。
(2)面内位相差(Re)
「Re(λ)」は、23℃における波長λnmの光で測定した面内位相差である。Re(λ)は、層(フィルム)の厚みをd(nm)としたとき、式:Re=(nx−ny)×dによって求められる。例えば、「Re(550)」は、23℃における波長550nmの光で測定した面内位相差である。
(3)厚み方向の位相差(Rth)
「Rth(λ)」は、23℃における波長λnmの光で測定した厚み方向の位相差である。Rth(λ)は、層(フィルム)の厚みをd(nm)としたとき、式:Rth=(nx−nz)×dによって求められる。例えば、「Rth(550)」は、23℃における波長550nmの光で測定した厚み方向の位相差である。
(4)Nz係数
Nz係数は、Nz=Rth/Reによって求められる。
(5)実質的に直交または平行
「実質的に直交」および「略直交」という表現は、2つの方向のなす角度が90°±10°である場合を包含し、好ましくは90°±7°であり、さらに好ましくは90°±5°である。「実質的に平行」および「略平行」という表現は、2つの方向のなす角度が0°±10°である場合を包含し、好ましくは0°±7°であり、さらに好ましくは0°±5°である。さらに、本明細書において単に「直交」または「平行」というときは、実質的に直交または実質的に平行な状態を含み得るものとする。
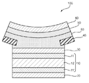
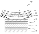
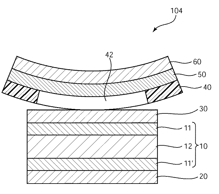
図1は、本発明の1つの実施形態による液晶表示装置の概略断面図である。液晶表示装置100は、液晶セル10と、液晶セル10の背面側に配置された第1の偏光子20と、液晶セル10の視認側に配置された第2の偏光子30と、第2の偏光子30の視認側に配置されたカバーシート40と、カバーシート40の視認側に配置された第1の光学補償層50と、第1の光学補償層50の視認側に配置された第3の偏光子60と、を備える。カバーシート40は、液晶セル10の表示領域に対応した位置に透過部42を有する。透過部は、物理的透過部(例えば、開口部)および光学的透過部(例えば、透明部)を包含する。図示例では開口部が示されている。第1の光学補償層50(および、結果として第3の偏光子60)は、カバーシート40の透過部42を覆うように配置されている。本発明の実施形態によれば、カバーシートの透過部を覆うようにして第3の偏光子を最表面側に配置することにより、装置最表面と表示画面との間の段差を認識しにくくし、結果として、液晶表示装置の視認性を改善することができる。より詳細には、偏光子に特有の透過率に起因して段差を認識しにくくすることができ、かつ、偏光子は所定方向の偏光光を効率よく透過し得るので、光を全体的に減少させる減光フィルタに比べて表示画面の明るさを維持することができる。さらに、カバーシートの透過部が開口部である場合には、当該開口部を覆うことにより最表面を平坦とすることにより段差を認識しにくくすることができる。以下、「段差を認識しにくくする」ことを、「視覚的段差を減少させる」と称する場合がある。
液晶セル10は、一対の基板11、11’と、当該基板間に挟持された表示媒体としての液晶層12とを有する。一般的な構成においては、一方の基板に、カラーフィルター及びブラックマトリクスが設けられており、他方の基板に、液晶の電気光学特性を制御するスイッチング素子と、このスイッチング素子にゲート信号を与える走査線及びソース信号を与える信号線と、画素電極及び対向電極とが設けられている。上記基板の間隔(セルギャップ)は、スペーサー等によって制御されている。上記基板の液晶層と接する側には、例えば、ポリイミドからなる配向膜等を設けることができる。
第1の偏光子、第2の偏光子および第3の偏光子(以下、まとめて単に偏光子と称する場合がある)としては、任意の適切な偏光子が採用され得る。例えば、偏光子を形成する樹脂フィルムは、単層の樹脂フィルムであってもよく、二層以上の積層体であってもよい。
カバーシート40は、代表的には、液晶表示装置が構造物に組み込まれて用いられる場合、当該液晶表示装置の保護および/またはデザイン上の要請から設けられ得る。したがって、カバーシート40は、代表的には、液晶表示装置の表示機能を妨げないよう、液晶セルの表示領域に対応した透過部42を有する。透過部は、上記のとおり、物理的透過部(例えば、開口部)および光学的透過部(例えば、透明部)を包含する。
第1の光学補償層50は、上記のとおり、面内位相差Re(550)が100nm〜180nmであり、好ましくは110nm〜170nmであり、より好ましくは120nm〜160nmである。第1の光学補償層の面内位相差がこのような範囲であれば、第1の光学補償層の遅相軸方向を第3の偏光子の吸収軸方向に対して上記のように35°〜55°(特に、約45°)または125°〜145°(特に、約135°)の角度をなすよう設定することにより、優れた円偏光機能および反射防止機能を実現することができる。その結果、実用上許容可能な表示画面の明るさを維持しつつ、視覚的段差を顕著に減少させることができる。
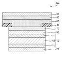
第2の光学補償層の光学特性、構成材料、厚み等は、第1の光学補償層に関して上記E項で説明したとおりである。第2の光学補償層は、第1の光学補償層と同一であってもよく、異なっていてもよい。
第1の光学補償層は、第1の光学補償層といわゆるλ/2板との積層体であってもよい。同様に、第2の光学補償層は、第2の光学補償層とλ/2板との積層体であってもよい。このような構成であれば、広い波長帯域にわたって優れた円偏光機能および反射防止機能を実現することができる。
1つの実施形態においては、上記のとおり、カバーシート40の透過部は開口部であり、当該開口部は粘着剤により充填されている。その結果、開口部により形成される空気層が排除されるので、層界面における反射および/または屈折が抑制され得る。結果として、表示画面の明るさを維持しつつ、視覚的段差をさらに顕著に減少させることができる。
実施例および比較例で得られた液晶表示装置について、視認側表面の凹凸の有無を確認した。
(2)視覚的段差
実施例および比較例で得られた液晶表示装置に実際に画像を表示させた状態で、段差を目視により確認した。以下の基準で評価した。
A:段差は実質的に認識されず、画像の視認に全く問題がない
B:段差は認識されるが、画像の視認に実質的に影響はない
C:画像の視認に違和感が生じるような段差が認識される
D:画像の視認に大きな影響を与えるほど段差が明確に認識される
(3)表示画面の明るさ
実施例および比較例で得られた液晶表示装置を全画面白表示としたときの輝度を測定した。比較例1の輝度を100%としたときの輝度比を用いて以下の基準で評価した。
A:輝度比が60%を超える
B:輝度比が40%〜60%
C:輝度比が20%〜40%
D:輝度比が20%未満
(i)偏光板
市販の偏光板(日東電工社製、製品名「CWQ1463VCUHC」)を3枚用意し、第1の偏光板(偏光子)、第2の偏光板(偏光子)および第3の偏光板(偏光子)とした。
特開2014−26266号公報の実施例1に準じた方法で位相差フィルムを得た。得られた位相差フィルムのRe(550)は147nmであり、Nz係数は1.0であり、Re(450)/Re(550)は0.89であり、厚みは40μmであった。
市販のメタクリル樹脂シート(日東樹脂工業社製、製品名「フラットN−885」、厚み1.0mm)を用い、後述の液晶セルの表示領域に対応する部分を打ち抜いて開口部とした。
Century社製、製品名「plus one」(IPSモード)から液晶パネルを取出し、さらに液晶セルの上下に貼り付けられていた光学フィルムを取り除き、光学フィルム除去面を洗浄した。このようにして得られた液晶セルを用いた。
液晶セルの一方の面に、上記(i)の偏光板(第2の偏光子)、上記(iii)のカバーシート、上記(ii)の位相差フィルム(第1の光学補償層)および上記(i)の偏光板(第3の偏光子)を、液晶セル側からこの順に貼り合わせた。カバーシートは開口部が液晶セルの表示領域に対応するよう貼り合わせた。位相差フィルム(第1の光学補償層)とカバーシートとは通常のアクリル系粘着剤により貼り合わせ、開口部を粘着剤で充填はしなかった。さらに、液晶セルの他方の面に上記(i)の偏光板(第1の偏光子)を貼り合わせた。ここで、第1の偏光子の吸収軸と第2の偏光子の吸収軸とが直交し、第2の偏光子の吸収軸と第3の偏光子の吸収軸とが平行であり、第1の光学補償層の遅相軸と第3の偏光子の吸収軸とのなす角度が45°となるようにして、それぞれの光学フィルムを貼り合わせた。さらに、上記(iv)の「plus one」から取り出したバックライトユニットを第1の偏光子の外側に組み込み、液晶表示装置を作製した。得られた液晶表示装置を上記(1)〜(3)の評価に供した。結果を表1に示す。
第2の偏光子とカバーシートとの間に第2の光学補償層をさらに設けたこと以外は実施例1と同様にして液晶表示装置を作製した。具体的には、実施例1の(ii)と同じ位相差フィルムを第2の光学補償層とし、第2の偏光子とカバーシートとの間に貼り合わせた。ここで、第1の光学補償層の遅相軸と第2の光学補償層の遅相軸とが実質的に直交するように貼り合わせた。得られた液晶表示装置を実施例1と同様の評価に供した。結果を表1に示す。
カバーシートの開口部を粘着剤で充填したこと以外は実施例1と同様にして液晶表示装置を作製した。得られた液晶表示装置を実施例1と同様の評価に供した。結果を表1に示す。
カバーシートの開口部を粘着剤で充填したこと以外は実施例2と同様にして液晶表示装置を作製した。得られた液晶表示装置を実施例1と同様の評価に供した。結果を表1に示す。
第3の偏光子および第1の光学補償層を設けなかったこと、すなわち、カバーシートを最外層としたこと以外は実施例1と同様にして液晶表示装置を作製した。得られた液晶表示装置を実施例1と同様の評価に供した。結果を表1に示す。
第3の偏光子および第1の光学補償層の代わりに市販の減光フィルタ(富士フイルム社製、製品名「ニュートラルデンシティフィルター ND−0.5」、透過率36%)を貼り合わせたこと以外は実施例1と同様にして液晶表示装置を作製した。得られた液晶表示装置を実施例1と同様の評価に供した。結果を表1に示す。
減光フィルタとして富士フイルム社製、製品名「ニュートラルデンシティフィルター ND−0.8」(透過率18%)を用いたこと以外は比較例2と同様にして液晶表示装置を作製した。得られた液晶表示装置を実施例1と同様の評価に供した。結果を表1に示す。
第1の光学補償層を設けなかったこと以外は実施例1と同様にして液晶表示装置を作製した。得られた液晶表示装置を実施例1と同様の評価に供した。結果を表1に示す。
20 第1の偏光子
30 第2の偏光子
40 カバーシート
50 第1の光学補償層
60 第3の偏光子
70 第2の光学補償層
80 粘着剤層
100 液晶表示装置
Claims (6)
- 液晶セルと、
該液晶セルの背面側に配置された第1の偏光子と、
該液晶セルの視認側に配置された第2の偏光子と、
該第2の偏光子の視認側に配置された、該液晶セルの表示領域に対応した位置に透過部を有するカバーシートと、
該カバーシートの視認側に該透過部を覆うように配置された、Re(550)が100nm〜180nmである第1の光学補償層と、
該第1の光学補償層の視認側に配置された第3の偏光子と、を備え、
該第1の光学補償層の遅相軸方向と該第3の偏光子の吸収軸方向とのなす角度が35°〜55°または125°〜145°である、
液晶表示装置。 - 前記カバーシートと前記第2の偏光子との間に、Re(550)が100nm〜180nmである第2の光学補償層をさらに備える、請求項1に記載の液晶表示装置。
- 前記第1の光学補償層および前記第3の偏光子により得られる円偏光の偏光方向と前記第2の偏光子および前記第2の光学補償層により得られる円偏光の偏光方向とが同じ方向である、請求項2に記載の液晶表示装置。
- 前記第1の光学補償層および前記第2の光学補償層が、Re(450)<Re(550)の関係を満たす、請求項2または3に記載の液晶表示装置。
- 前記カバーシートの前記透過部が開口部であり、該開口部が粘着剤で充填されている、請求項1から4のいずれかに記載の液晶表示装置。
- 前記粘着剤の屈折率が1.30〜1.70である、請求項5に記載の液晶表示装置。
Priority Applications (8)
| Application Number | Priority Date | Filing Date | Title |
|---|---|---|---|
| US15/766,096 US10338431B2 (en) | 2016-04-18 | 2017-04-10 | Liquid crystal display apparatus |
| KR1020227001677A KR20220012421A (ko) | 2016-04-18 | 2017-04-10 | 액정 표시 장치 |
| EP17785838.8A EP3447568A4 (en) | 2016-04-18 | 2017-04-10 | LIQUID CRYSTAL DISPLAY DEVICE |
| KR1020187013353A KR20180131526A (ko) | 2016-04-18 | 2017-04-10 | 액정 표시 장치 |
| PCT/JP2017/014640 WO2017183498A1 (ja) | 2016-04-18 | 2017-04-10 | 液晶表示装置 |
| CN201780004042.4A CN108292057A (zh) | 2016-04-18 | 2017-04-10 | 液晶显示装置 |
| KR1020237022400A KR20230107398A (ko) | 2016-04-18 | 2017-04-10 | 액정 표시 장치 |
| TW106112982A TWI718290B (zh) | 2016-04-18 | 2017-04-18 | 液晶顯示裝置 |
Applications Claiming Priority (2)
| Application Number | Priority Date | Filing Date | Title |
|---|---|---|---|
| JP2016083230 | 2016-04-18 | ||
| JP2016083230 | 2016-04-18 |
Publications (2)
| Publication Number | Publication Date |
|---|---|
| JP2017194673A true JP2017194673A (ja) | 2017-10-26 |
| JP7280009B2 JP7280009B2 (ja) | 2023-05-23 |
Family
ID=60156076
Family Applications (1)
| Application Number | Title | Priority Date | Filing Date |
|---|---|---|---|
| JP2017030730A Active JP7280009B2 (ja) | 2016-04-18 | 2017-02-22 | 液晶表示装置 |
Country Status (6)
| Country | Link |
|---|---|
| US (1) | US10338431B2 (ja) |
| EP (1) | EP3447568A4 (ja) |
| JP (1) | JP7280009B2 (ja) |
| KR (1) | KR20180131526A (ja) |
| CN (1) | CN108292057A (ja) |
| TW (1) | TWI718290B (ja) |
Families Citing this family (4)
| Publication number | Priority date | Publication date | Assignee | Title |
|---|---|---|---|---|
| CN109116623A (zh) * | 2018-09-30 | 2019-01-01 | 惠科股份有限公司 | 偏光结构、显示面板及显示装置 |
| KR102644207B1 (ko) * | 2019-10-15 | 2024-03-05 | 현대모비스 주식회사 | 듀얼 디스플레이 플라스틱 렌즈 및 이를 포함하는 디지털 클러스터 |
| WO2021150571A1 (en) | 2020-01-22 | 2021-07-29 | Nitto Denko Corporation | Light modulating device with polymer wall compartments and methods of making the same |
| TWI798019B (zh) * | 2022-03-09 | 2023-04-01 | 友達光電股份有限公司 | 顯示裝置 |
Citations (8)
| Publication number | Priority date | Publication date | Assignee | Title |
|---|---|---|---|---|
| WO2007055189A1 (ja) * | 2005-11-08 | 2007-05-18 | Nissha Printing Co., Ltd. | 意匠パネル |
| JP2007279756A (ja) * | 2004-02-20 | 2007-10-25 | Nissha Printing Co Ltd | 表示窓に保護パネルが付された電子機器 |
| JP2009020141A (ja) * | 2007-07-10 | 2009-01-29 | Seiko Epson Corp | 表示装置および電子機器 |
| JP2010079087A (ja) * | 2008-09-26 | 2010-04-08 | Casio Computer Co Ltd | 表示部を備えた電子機器 |
| JP2011127072A (ja) * | 2009-12-21 | 2011-06-30 | Casio Computer Co Ltd | 板状部品の接合方法及び接合部材 |
| JP2012047895A (ja) * | 2010-08-25 | 2012-03-08 | Sharp Corp | 液晶表示装置及びテレビ受像装置 |
| US20120105774A1 (en) * | 2010-11-03 | 2012-05-03 | Research In Motion Limited | Display devices containing a circular polarizing system and methods related thereto |
| WO2015129409A1 (ja) * | 2014-02-28 | 2015-09-03 | 富士通テン株式会社 | 画像表示装置 |
Family Cites Families (14)
| Publication number | Priority date | Publication date | Assignee | Title |
|---|---|---|---|---|
| JPH03204616A (ja) * | 1990-01-08 | 1991-09-06 | Hitachi Ltd | 液晶ディスプレイ |
| US6081312A (en) | 1997-03-10 | 2000-06-27 | Fuji Photo Film Co., Ltd. | Homeotropic liquid crystal cell with one or more compensator plates with a small birefringence |
| US7719745B2 (en) * | 2007-07-10 | 2010-05-18 | Seiko Epson Corporation | Display device and electronic apparatus |
| TW200907467A (en) * | 2007-08-02 | 2009-02-16 | Ind Tech Res Inst | Optically compensated bend mode liquid crystal display devices and fabrication methods thereof |
| JP5936538B2 (ja) * | 2010-03-10 | 2016-06-22 | 日東電工株式会社 | 光学用粘着シート |
| US8692948B2 (en) * | 2010-05-21 | 2014-04-08 | Apple Inc. | Electric field shielding for in-cell touch type thin-film-transistor liquid crystal displays |
| KR101752442B1 (ko) * | 2010-12-14 | 2017-07-04 | 삼성디스플레이 주식회사 | 평판 표시 장치 |
| JP5528606B2 (ja) * | 2012-06-21 | 2014-06-25 | 日東電工株式会社 | 偏光板および有機elパネル |
| GB2503884B (en) | 2012-07-09 | 2014-08-20 | Visteon Global Tech Inc | Display unit |
| WO2014017343A1 (ja) * | 2012-07-25 | 2014-01-30 | 富士フイルム株式会社 | 捩れ配向モード液晶表示装置 |
| JP2014052479A (ja) * | 2012-09-06 | 2014-03-20 | Calsonic Kansei Corp | タッチディスプレイ構造 |
| JP2016018002A (ja) * | 2014-07-04 | 2016-02-01 | Nltテクノロジー株式会社 | 液晶表示装置の導電テープ取付構造、液晶表示装置及びその製造方法 |
| CN204679980U (zh) * | 2015-03-20 | 2015-09-30 | 南昌欧菲光学技术有限公司 | 显示屏及终端 |
| CN104880869A (zh) * | 2015-06-19 | 2015-09-02 | 京东方科技集团股份有限公司 | 显示面板及其制作方法、显示装置 |
-
2017
- 2017-02-22 JP JP2017030730A patent/JP7280009B2/ja active Active
- 2017-04-10 CN CN201780004042.4A patent/CN108292057A/zh active Pending
- 2017-04-10 KR KR1020187013353A patent/KR20180131526A/ko not_active Ceased
- 2017-04-10 US US15/766,096 patent/US10338431B2/en active Active
- 2017-04-10 EP EP17785838.8A patent/EP3447568A4/en active Pending
- 2017-04-18 TW TW106112982A patent/TWI718290B/zh active
Patent Citations (8)
| Publication number | Priority date | Publication date | Assignee | Title |
|---|---|---|---|---|
| JP2007279756A (ja) * | 2004-02-20 | 2007-10-25 | Nissha Printing Co Ltd | 表示窓に保護パネルが付された電子機器 |
| WO2007055189A1 (ja) * | 2005-11-08 | 2007-05-18 | Nissha Printing Co., Ltd. | 意匠パネル |
| JP2009020141A (ja) * | 2007-07-10 | 2009-01-29 | Seiko Epson Corp | 表示装置および電子機器 |
| JP2010079087A (ja) * | 2008-09-26 | 2010-04-08 | Casio Computer Co Ltd | 表示部を備えた電子機器 |
| JP2011127072A (ja) * | 2009-12-21 | 2011-06-30 | Casio Computer Co Ltd | 板状部品の接合方法及び接合部材 |
| JP2012047895A (ja) * | 2010-08-25 | 2012-03-08 | Sharp Corp | 液晶表示装置及びテレビ受像装置 |
| US20120105774A1 (en) * | 2010-11-03 | 2012-05-03 | Research In Motion Limited | Display devices containing a circular polarizing system and methods related thereto |
| WO2015129409A1 (ja) * | 2014-02-28 | 2015-09-03 | 富士通テン株式会社 | 画像表示装置 |
Also Published As
| Publication number | Publication date |
|---|---|
| EP3447568A1 (en) | 2019-02-27 |
| US10338431B2 (en) | 2019-07-02 |
| EP3447568A4 (en) | 2019-10-02 |
| KR20180131526A (ko) | 2018-12-10 |
| CN108292057A (zh) | 2018-07-17 |
| JP7280009B2 (ja) | 2023-05-23 |
| TWI718290B (zh) | 2021-02-11 |
| US20180292710A1 (en) | 2018-10-11 |
| TW201802547A (zh) | 2018-01-16 |
Similar Documents
| Publication | Publication Date | Title |
|---|---|---|
| CN101441378B (zh) | 液晶面板和液晶显示装置 | |
| JP5261346B2 (ja) | 液晶パネル及び液晶表示装置 | |
| JP7280009B2 (ja) | 液晶表示装置 | |
| JP5633960B2 (ja) | 光学補償フィルム | |
| KR102574840B1 (ko) | 액정 표시 장치 | |
| JP2017194672A (ja) | 液晶表示装置 | |
| JP7280008B2 (ja) | 液晶表示装置 | |
| WO2017183498A1 (ja) | 液晶表示装置 | |
| JP5261317B2 (ja) | 液晶パネル及び液晶表示装置 | |
| JP2012145732A (ja) | 液晶パネルおよび液晶表示装置 | |
| KR20150118204A (ko) | 광학 보상 필름의 제조 방법 | |
| JP2012145731A (ja) | 液晶パネルおよび液晶表示装置 | |
| JP5497546B2 (ja) | 液晶パネルおよび液晶表示装置 | |
| WO2017183499A1 (ja) | 液晶表示装置 | |
| KR102633523B1 (ko) | 액정 표시 장치 | |
| KR20230033585A (ko) | 위상차층 부착 편광판 및 화상 표시 장치 |
Legal Events
| Date | Code | Title | Description |
|---|---|---|---|
| A621 | Written request for application examination |
Free format text: JAPANESE INTERMEDIATE CODE: A621 Effective date: 20191010 |
|
| A131 | Notification of reasons for refusal |
Free format text: JAPANESE INTERMEDIATE CODE: A131 Effective date: 20200811 |
|
| A521 | Request for written amendment filed |
Free format text: JAPANESE INTERMEDIATE CODE: A523 Effective date: 20201007 |
|
| A131 | Notification of reasons for refusal |
Free format text: JAPANESE INTERMEDIATE CODE: A131 Effective date: 20201201 |
|
| A131 | Notification of reasons for refusal |
Free format text: JAPANESE INTERMEDIATE CODE: A131 Effective date: 20210608 |
|
| A601 | Written request for extension of time |
Free format text: JAPANESE INTERMEDIATE CODE: A601 Effective date: 20210804 |
|
| A521 | Request for written amendment filed |
Free format text: JAPANESE INTERMEDIATE CODE: A523 Effective date: 20211004 |
|
| A02 | Decision of refusal |
Free format text: JAPANESE INTERMEDIATE CODE: A02 Effective date: 20220215 |
|
| C60 | Trial request (containing other claim documents, opposition documents) |
Free format text: JAPANESE INTERMEDIATE CODE: C60 Effective date: 20220506 |
|
| C22 | Notice of designation (change) of administrative judge |
Free format text: JAPANESE INTERMEDIATE CODE: C22 Effective date: 20230221 |
|
| A521 | Request for written amendment filed |
Free format text: JAPANESE INTERMEDIATE CODE: A523 Effective date: 20230328 |
|
| C13 | Notice of reasons for refusal |
Free format text: JAPANESE INTERMEDIATE CODE: C13 Effective date: 20230328 |
|
| C302 | Record of communication |
Free format text: JAPANESE INTERMEDIATE CODE: C302 Effective date: 20230403 |
|
| C23 | Notice of termination of proceedings |
Free format text: JAPANESE INTERMEDIATE CODE: C23 Effective date: 20230404 |
|
| A61 | First payment of annual fees (during grant procedure) |
Free format text: JAPANESE INTERMEDIATE CODE: A61 Effective date: 20230511 |
|
| R150 | Certificate of patent or registration of utility model |
Ref document number: 7280009 Country of ref document: JP Free format text: JAPANESE INTERMEDIATE CODE: R150 |
