JP2017193365A - 炭酸飲料の注出装置 - Google Patents

炭酸飲料の注出装置 Download PDF

Info

Publication number
JP2017193365A
JP2017193365A JP2016085858A JP2016085858A JP2017193365A JP 2017193365 A JP2017193365 A JP 2017193365A JP 2016085858 A JP2016085858 A JP 2016085858A JP 2016085858 A JP2016085858 A JP 2016085858A JP 2017193365 A JP2017193365 A JP 2017193365A
Authority
JP
Japan
Prior art keywords
flow
carbonated water
flow rate
carbonated
conical
Prior art date
Legal status (The legal status is an assumption and is not a legal conclusion. Google has not performed a legal analysis and makes no representation as to the accuracy of the status listed.)
Granted
Application number
JP2016085858A
Other languages
English (en)
Other versions
JP6636382B2 (ja
Inventor
賢次 井上
Kenji Inoue
賢次 井上
清剛 三輪
Kiyotaka Miwa
清剛 三輪
Current Assignee (The listed assignees may be inaccurate. Google has not performed a legal analysis and makes no representation or warranty as to the accuracy of the list.)
IGETA KK
Original Assignee
IGETA KK
Priority date (The priority date is an assumption and is not a legal conclusion. Google has not performed a legal analysis and makes no representation as to the accuracy of the date listed.)
Filing date
Publication date
Application filed by IGETA KK filed Critical IGETA KK
Priority to JP2016085858A priority Critical patent/JP6636382B2/ja
Publication of JP2017193365A publication Critical patent/JP2017193365A/ja
Application granted granted Critical
Publication of JP6636382B2 publication Critical patent/JP6636382B2/ja
Active legal-status Critical Current
Anticipated expiration legal-status Critical

Links

Images

Landscapes

  • Float Valves (AREA)
  • Devices For Dispensing Beverages (AREA)
  • Lift Valve (AREA)
  • Sliding Valves (AREA)

Abstract

【課題】強炭酸の炭酸飲料を注出する場合に炭酸水の流量を十分に減少して、溶け込んだ炭酸ガスの放出を極力抑え、また、流量を増加する場合でも、流量調整部材が不用意に脱落することがない炭酸飲料の注出装置を提供する。【解決手段】炭酸水の流路と飲料原液の流路とを独立して有し、その流路途中で少なくとも炭酸水の流量を調整可能としたフローコントロールベースと、前記炭酸水と前記飲料原液の各流路の出口を同時に開閉可能な開閉弁と、該開閉弁を開閉操作する操作レバーとを備え、前記フローコントロールベースから供給される所定流量の前記炭酸水と前記飲料原液とを混合して炭酸飲料を注出する装置であって、前記フローコントロールベースには、一端が開口して前記炭酸水の流路と直交する有底の円錐孔を設けると共に、先端側に前記円錐孔とテーパ角が一致する円錐弁体を有して、該円錐弁体を前記開口を介して前記円錐孔に出入可能な流量調整弁を設けた。【選択図】図5

Description

この発明は、炭酸水と飲料原液を混合して炭酸飲料を注出する装置に係り、炭酸濃度に応じた流量にて炭酸水を飲料原液と混合することができるように、炭酸水の流量調整機構を改良した構成に関する。
飲食店などで使用される炭酸飲料サーバーは、炭酸水を生成するカーボネータタンクと、ウイスキーや焼酎、あるいはジュース(シロップ)等、所望の飲料原液が入った原液タンクと、これら各タンクから供給される炭酸水と飲料原液とを混合して、炭酸飲料としてグラス等に注出する注出装置とから構成される。
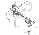
従来、炭酸飲料の注出装置としては、図12に示すものが公知である(非特許文献1)。同図に示す装置において、本発明に関係する構成を簡略的に説明すると、同装置は、カーボネータタンクと原液タンクとが接続される継手20a・20bを有し、出口となる供給口20c・20dとの間の流路で炭酸水と飲料原液それぞれの流量を別個独立に調整可能なフローコントロールベース20と、該ベース20の供給口20c・20dを開閉するバルブ21・22と、該バルブ21・22を介して前記供給口20a・20bに取り付けるオリフィスキャップ23・24と、該オリフィスキャップ22・24の二次側に取り付ける混合機構25とを備える。バルブ21・22は、各開閉レバー26・27によって別個に開閉操作される他、主レバー28を操作すれば同時に開閉できるようになっている。
そして、通常は、主レバー28にグラス等の容器を押しててバルブ21・22を同時に開き、フローコントロールベース20にて調整された流量の炭酸水と飲料原液がオリフィスキャップ23・24を通じて混合機構25にて混合され、ノズル29から炭酸飲料が注出される。
ところで、カーボネータタンクでは炭酸水の炭酸濃度の調整が可能で、強炭酸の炭酸飲料を提供する場合、カーボネータタンクへの炭酸ガスの印加圧力を高くして、強炭酸の炭酸水を生成し、これを図12に示した注出装置に供給する。
しかし、このようにしてカーボネータタンク内の圧力が高まると、これを受けたフローコントロールベース20から勢いよく炭酸水が混合機構25に向かって放出され、炭酸飲料の注出前に、せっかく溶け込んだ炭酸ガスが装置内部で抜けてしまったり、炭酸飲料をグラス等に注出する際、フォーミング現象が起きて必要以上に泡立ってしまうという問題がある。
そこで、図12に示した注出装置では、強炭酸の炭酸水が供給される場合は、その流量(流速)を抑えるために、図13に示したように、フローコントロールベース20の下面から内部流路30に対してピン状の弁体31を垂直にねじ込み、当該弁体31を締め込んだり、緩めたりして上下動させて、流路30内におけるピン31aの突出量を調整することによって、この部分の流路30の開度を調整し、もって、炭酸水の流量を調整していた。なお、飲料原液側も同様の流量調整機構を有している。
”マニュアルミキシングバルブ”、[online]、早川産機株式会社、[平成27年11月20日検索]、インターネット〈URL:http://www.hayakawa-sanki.co.jp/products/?id=1338290677-758575〉
図13に示すフローコントロールベース20に採用の流量調整機構は、ストレートな流路30に対して、これよりも直径が小さいストレートなピン31aを挿入しているだけである。したがって、ピン31aの上下によって調整できる流量の増減幅が小さい。つまり、弁体31を完全に締め込んで、流路30内でのピン31aの突出量を最大とし、最も炭酸水の流量を減少させたとしても、図14に示したように、流路30内におけるピン31aの突出部分の左右には必ず隙間が生じ、強炭酸の炭酸水が不用意に発泡しない程度にその流量を十分に減少させることができない場合があった。
この状態から流量を増加する場合は、弁体31を緩めてピン31aの突出量を小さくするが、このときピン31aの上方に新たな隙間が確保されるだけであり、流量を大幅に増加させるものではない。さらに、この増加操作ではフローコントロールベース20に対する弁体31のねじ込み量が小さくなり、過度に緩めると炭酸水の圧力によって弁体31が抜け出てしまう恐れもあった。
本発明は上述した課題を解決するためになされたもので、その目的とするところは、強炭酸の炭酸飲料を注出する場合に炭酸水の流量を十分に減少して、溶け込んだ炭酸ガスの放出を極力抑え、また、流量を増加する場合でも、流量調整部材が不用意に脱落することがない炭酸飲料の注出装置を提供することである。
上述した目的を達成するために本発明では、炭酸水の流路と飲料原液の流路とを独立して有し、前記流路途中で少なくとも前記炭酸水側の流量を調整可能としたフローコントロールベースと、前記炭酸水と前記飲料原液の各流路の出口を同時に開閉可能な開閉弁と、該開閉弁を開閉操作する操作レバーとを備え、前記フローコントロールベースから供給される所定流量の前記炭酸水と前記飲料原液とを混合して炭酸飲料を注出する装置であって、前記フローコントロールベースには、一端が開口して前記炭酸水の流路と直交する有底の円錐孔を設けると共に、先端側に前記円錐孔に対応したテーパ角を有する円錐弁体を備え、該円錐弁体が前記開口を介して前記円錐孔に出入可能な流量調整弁を設けるという手段を用いた。
この手段によれば、流量調整弁の円錐弁体が完全に円錐孔に嵌入した状態では炭酸水の流路が閉塞され、この状態から円錐弁体を変位させることによって、その外周面と円錐孔の内周面との間の隙間が徐々に拡大して、該隙間の大きさに見合った流量とすることができる。この隙間は円錐弁体を円錐孔に嵌入に近い状態とすることで限りなく小さくすることができるため、炭酸水の流量を極限に抑えることができる。なお、円錐孔や円錐弁体のテーパ角をより鋭角にすれば、円錐弁体の変位量に対して前記隙間の変化量が小さくなり、流量の増減率を小さくすることができるのに対し、前記テーパ角をより鈍角にすれば、円錐弁体の変位量に対して前記隙間の変化量も大きくなり、流量の増減率を大きくすることができる。
流量調整弁は円錐弁体の基端側を袋ナットによりフローコントロールベースに接続することが好ましい。円錐弁体を袋ナットの締め込みによって変位させることができ、また、流量増加方向に円錐弁体を極限に変位させたとしても袋ナットによって円錐弁体が圧力によって不用意に脱落することを防止できるからである。
さらに、フローコントロールベースには炭酸水の流路を水平方向に設けると共に、円錐孔は底を下側として上下方向に設けることが好ましい。フローコントロールベースに対する炭酸水の供給源の接続と、円錐弁体の変位操作とが容易となり、また、円錐弁体の取り付けも容易だからである。
さらにまた、飲料原液の流路にも、炭酸水の流路と同じ円錐孔及び流量調整弁を設けることが好ましい。飲料原液についても炭酸水と同様の流量調整が可能となり、また、最初に炭酸水と飲料原液の供給源と接続する際に、いずれを炭酸水とするか飲料原液とするかの区別なく接続することができるからである。
本発明によれば、炭酸水の流路について、該流路に直交して円錐孔を設けると共に、この円錐孔に嵌入可能な円錐弁体によって流量調整弁を構成したので、円錐弁体を限りなく円錐孔に嵌入に近い状態とすることで、炭酸水の流量を極限に小さくでき、カーボネータタンクから高圧の状態で強炭酸の炭酸水が供給される場合でも、その流量(流速)を抑えることによって溶解した炭酸ガスが抜けてしまうことを防止し、強炭酸の炭酸飲料を注出することができる。
また、円錐弁体を袋ナットによってフローコントロールベースに接続したので、円錐弁体を流量増加方向に変位させたとしても、袋ナットにより円錐弁体がフローコントロールベースから脱落することを防止することができる。
本発明の一実施形態に係る炭酸飲料の注出装置におけるフローコントロールベースの分解正面図 同、背面図 同、平面図 同、側面図 同、A−A線断面図 同、流量調整弁を装着した断面図(全閉状態) 同、流量調整弁を装着した断面図(絞り状態) 同、流量調整弁を装着した断面図(中間開度状態) 同、流量調整弁を装着した断面図(全開状態) 本発明の第二実施形態に係る要部断面図 本発明の第三実施形態に係る要部断面図 従来(非特許文献1)のバルブ装置の分解斜視図 同、フローコントロールベースの断面図 同、要部拡大断面図
以下、本発明の好ましい実施の形態を添付した図面に従って説明する。図1は本発明の一実施形態に係る炭酸飲料の注出装置について、フローコントロールベースを分解した正面図を示したものであり、図2は背面図、図3は平面図、図4は側面図、図5はA−A線断面図をそれぞれ示している。
これらの図において、1はベース本体、2・3は炭酸水と飲料原液の供給源に接続する継手部であり、継手部2・3からベース本体1の前面にかけては炭酸水と飲料原液の流路4・5がそれぞれ独立して水平に設けられている。このようなフローコントロールベースにおいて、流路4・5の出口(二次側開口)を同時に開閉する開閉弁や、該開閉弁を開閉操作する操作レバー、及びフローコントロールベースから供給される所定流量の炭酸水と飲料原液を混合する機構は従来装置と同じ構成を採用することができるため、詳細を割愛する。
また、流路4・5の何れを炭酸水の流路とするか飲料原液の流路とするか自由に選択でき、また、後述する流量調整機構についても同じ構成を有しているため、ここでは図5のA−A線断面図に示された流路4を炭酸水の流路と仮定して説明する。
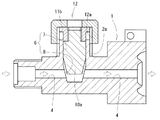
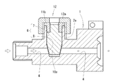
即ち、流量調整機構として、流路4を設けた継手部2の上面には雄ネジ部2aが上方に垂直に突設され、該雄ネジ部2aの上端から流路4にかけて有底の弁体挿入孔6が形成されている。この弁体挿入孔6は、流路4の上部までに設けた内径が全範囲均一な直線孔7と、この直線孔7の下端から流路4を貫通して設けた円錐孔8とからなる。
一方、9は弁体挿入孔6に装着する流量調整弁であって、弁体10と、パッキン11と、前記雄ネジ部2aに螺合する袋ナット12とからなる。
弁体10は、先端側(下端側)に円錐孔8の内周面とテーパ角が一致する外周面からなる円錐部10aを有し、これを直線孔7をガイド孔として上下にスライドする直線軸部10bと一体に形成すると共に、基端側(上端側)には前記パッキン11と螺合する雄ネジ軸部10cを設けている。
パッキン11は、弁体10の直線軸部10bと同径の取付部11aの上部に、継手部2の雄ネジ部2aとほぼ同径の拡径部11bを設けた二段構成であり、上下に前記雄ネジ軸部10cが螺合する雌ネジ孔11cを貫設している。
袋ナット12は、雄ネジ部2aに螺合する雌ネジ部12aを有し、その上面には通孔12bを設けている。
上記構成の流量調整弁9は、まず弁体10とパッキン11を一体化した状態で、円錐部10aを下向きにして弁体挿入孔6に挿入し、袋ナット12を雄ネジ部2aに螺合することで装着が完了する。ここで、フローコントロールベースに炭酸水の供給源(カーボネータタンク)を接続する前は、弁体10は自由落下によって弁体挿入孔6に落とし込まれた状態にあるが、前記供給源を接続して流路4が炭酸水によって充満すると、袋ナット12を緩めた状態では、浮力または/及び炭酸水の圧力によって、パッキン11が袋ナット12に密着する位置まで浮き上がろうとする。そして、流路4が炭酸水で充満しているときの弁体10の浮き上がり量は、袋ナット12の締め込み具合(緩め具合)によって調整される。
即ち、袋ナット12を完全に締め込んだ状態では弁体10の浮き上がり量はゼロとなり、図6に示したように、円錐部10aが円錐孔8に嵌入した状態となる。この状態では、円錐部10aの外周面全部が円錐孔8の内周面全部に密着して流路4を閉塞(寸断)するため、炭酸飲料の注出は不可となる。
一方、袋ナット12を緩めると弁体10が浮き上がり、図7〜9に示したように、円錐部10aの外周面と円錐孔8の内周面の間に隙間が生じる。袋ナット12の緩め方が大きいほど、この隙間は大きくなる。また、円錐部10aの端部と円錐孔8の底との間の隙間も大きくなる。したがって、これら隙間の大きさに応じた流量の炭酸水がフローコントロールベースの二次側に供給されることになる。
ここで、袋ナット12を完全に締め込んだ状態から僅かに緩めただけで、図7に示すように、円錐部10aが円錐孔8から浮き上がって、円錐孔8の内周面に形成される流路4の開口部4a・4bが開通するが、上述のように、弁体10の円錐部10aと円錐孔8との間の隙間は極めて小さく、ここを流れる炭酸水の流量を極限に抑えることができる。
一方、袋ナット12を緩めていけば弁体10の浮き上がり量が大きなり、流量を増加することができるが、最も袋ナット10を緩めた図9の全開状態としても、弁体10は袋ナット12に内蔵されているため、弁体挿入孔6から飛び出すには至らず、漏水することもない。
なお、上記実施形態では、流路4の下部に至るまで円錐孔8を設けたが、図10に示すように、流路4の下点に底が位置するように円錐孔8’を設けてもよく、また、図11に示すように、流路4の下点より下部側は小径の直線孔7’としてもよく、弁体10についても、これら円錐孔8’や直線孔7’に対応した形状とすることも本発明に含まれる。
さらに、円錐孔8や円錐部10aのテーパ角は図示したものに限らず、より鋭角にすることも、より鈍角にすることもある。
さらにまた、弁体挿入孔6や流量調整弁の向きは上から下に向かうものに限らず、流路4に直交する方向であれば、左右または下から上に向かう方向に構成することも可能である。
また、他方の流路5については説明を省略したが、流路4と同様の上記流量調整機構を設けることも可能である他、仮に、飲料原液の流路5で固定するならば、当該流路5については従来装置と同じ流量調整機構とし、流路4のみに本発明の流量調整機構を設けることも可能である。
1 ベース本体
2・3 継手部
2a 雄ネジ部
4・5 流路
6 弁体挿入孔
7 直線孔
8 円錐孔
9 流量調整弁
10 弁体
10a 円錐部
10b 直線軸部
10c 雄ネジ軸部
11 パッキン
11a 取付部
11b 拡径部
11c 雌ネジ孔
12 袋ナット
12a 雌ネジ部
12b 通孔

Claims (4)

  1. 炭酸水の流路と飲料原液の流路とを独立して有し、前記流路途中で少なくとも前記炭酸水側の流量を調整可能としたフローコントロールベースと、前記炭酸水と前記飲料原液の各流路の出口を同時に開閉可能な開閉弁と、該開閉弁を開閉操作する操作レバーとを備え、前記フローコントロールベースから供給される所定流量の前記炭酸水と前記飲料原液とを混合して炭酸飲料を注出する装置であって、前記フローコントロールベースには、一端が開口して前記炭酸水の流路と直交する有底の円錐孔を設けると共に、先端側に前記円錐孔に対応したテーパ角を有する円錐弁体を備え、該円錐弁体が前記開口を介して前記円錐孔に出入可能な流量調整弁を設けたことを特徴とする炭酸飲料の注出装置。
  2. 流量調整弁は円錐弁体の基端側を袋ナットによりフローコントロールベースに接続した請求項1記載の炭酸飲料の注出装置。
  3. フローコントロールベースには炭酸水の流路を水平方向に設けると共に、円錐孔は底を下側として上下方向に設けた請求項1または2記載の炭酸飲料の注出装置。
  4. 飲料原液の流路にも、炭酸水の流路と同じ円錐孔及び流量調整弁を設けた請求項1、2または3記載の炭酸飲料の注出装置。
JP2016085858A 2016-04-22 2016-04-22 炭酸飲料の注出装置 Active JP6636382B2 (ja)

Priority Applications (1)

Application Number Priority Date Filing Date Title
JP2016085858A JP6636382B2 (ja) 2016-04-22 2016-04-22 炭酸飲料の注出装置

Applications Claiming Priority (1)

Application Number Priority Date Filing Date Title
JP2016085858A JP6636382B2 (ja) 2016-04-22 2016-04-22 炭酸飲料の注出装置

Publications (2)

Publication Number Publication Date
JP2017193365A true JP2017193365A (ja) 2017-10-26
JP6636382B2 JP6636382B2 (ja) 2020-01-29

Family

ID=60154458

Family Applications (1)

Application Number Title Priority Date Filing Date
JP2016085858A Active JP6636382B2 (ja) 2016-04-22 2016-04-22 炭酸飲料の注出装置

Country Status (1)

Country Link
JP (1) JP6636382B2 (ja)

Cited By (1)

* Cited by examiner, † Cited by third party
Publication number Priority date Publication date Assignee Title
CN115823274A (zh) * 2022-12-16 2023-03-21 宁波英特灵气动科技有限公司 一种气动节流阀

Citations (6)

* Cited by examiner, † Cited by third party
Publication number Priority date Publication date Assignee Title
JPS563330U (ja) * 1979-06-20 1981-01-13
JPS6054872U (ja) * 1983-09-21 1985-04-17 前沢化成工業株式会社 ゲ−トバルブ装置
JPS6262698U (ja) * 1985-10-07 1987-04-18
JPH01146078U (ja) * 1988-03-30 1989-10-06
JPH0386132U (ja) * 1989-12-25 1991-08-30
JP2002106972A (ja) * 2000-09-29 2002-04-10 Fujii Gokin Seisakusho Co Ltd 温水回路接続用継手

Patent Citations (6)

* Cited by examiner, † Cited by third party
Publication number Priority date Publication date Assignee Title
JPS563330U (ja) * 1979-06-20 1981-01-13
JPS6054872U (ja) * 1983-09-21 1985-04-17 前沢化成工業株式会社 ゲ−トバルブ装置
JPS6262698U (ja) * 1985-10-07 1987-04-18
JPH01146078U (ja) * 1988-03-30 1989-10-06
JPH0386132U (ja) * 1989-12-25 1991-08-30
JP2002106972A (ja) * 2000-09-29 2002-04-10 Fujii Gokin Seisakusho Co Ltd 温水回路接続用継手

Cited By (2)

* Cited by examiner, † Cited by third party
Publication number Priority date Publication date Assignee Title
CN115823274A (zh) * 2022-12-16 2023-03-21 宁波英特灵气动科技有限公司 一种气动节流阀
CN115823274B (zh) * 2022-12-16 2024-02-20 宁波英特灵气动科技有限公司 一种气动节流阀

Also Published As

Publication number Publication date
JP6636382B2 (ja) 2020-01-29

Similar Documents

Publication Publication Date Title
EP3978424B1 (en) Cooled beverage dispensing nozzle with in-nozzle mixing
US4720076A (en) Dispense tap
CN100509608C (zh) 饮料分配装置和饮料分配系统
US7513398B2 (en) Beverage dispense valve
US10053351B2 (en) Valve for dispensing a liquid and optionally aerating it
EP1786722B1 (en) Beverage dispensing tap with spouts for the liquid and the foam
JP6660463B2 (ja) 飲料注出装置
EP1238941A1 (en) Tap
JP6636382B2 (ja) 炭酸飲料の注出装置
KR102241410B1 (ko) 음료 주출 콕, 밸브 로드 및 음료 디스펜서
JP6586062B2 (ja) 炭酸飲料の注出装置
GB2436558A (en) Beverage dispense valve
JP6704338B2 (ja) 炭酸水コック
JP6713228B2 (ja) 液体注出装置
ES3014280T3 (en) Carbonated beverage dispenser
US12448761B2 (en) Stream regulator
JPWO2016013151A1 (ja) 高炭酸飲料の供給装置
JP5002248B2 (ja) 発泡性飲料注出具
JP6511335B2 (ja) 発泡性飲料自動注出装置
JP4052183B2 (ja) 飲料注出ノズル
JP6503006B2 (ja) 炭酸飲料の注出装置
JP2020132174A (ja) ポストミックス式炭酸飲料サーバの注出ノズル
JP6994399B2 (ja) 水栓柱
JP6498963B2 (ja) 炭酸飲料用のピッチャー
JP5125603B2 (ja) 電気ポットの給湯バルブ

Legal Events

Date Code Title Description
A621 Written request for application examination

Free format text: JAPANESE INTERMEDIATE CODE: A621

Effective date: 20180305

A977 Report on retrieval

Free format text: JAPANESE INTERMEDIATE CODE: A971007

Effective date: 20190128

A131 Notification of reasons for refusal

Free format text: JAPANESE INTERMEDIATE CODE: A131

Effective date: 20190205

A521 Request for written amendment filed

Free format text: JAPANESE INTERMEDIATE CODE: A523

Effective date: 20190402

A131 Notification of reasons for refusal

Free format text: JAPANESE INTERMEDIATE CODE: A131

Effective date: 20190611

A521 Request for written amendment filed

Free format text: JAPANESE INTERMEDIATE CODE: A523

Effective date: 20190809

TRDD Decision of grant or rejection written
A01 Written decision to grant a patent or to grant a registration (utility model)

Free format text: JAPANESE INTERMEDIATE CODE: A01

Effective date: 20191203

A61 First payment of annual fees (during grant procedure)

Free format text: JAPANESE INTERMEDIATE CODE: A61

Effective date: 20191218

R150 Certificate of patent or registration of utility model

Ref document number: 6636382

Country of ref document: JP

Free format text: JAPANESE INTERMEDIATE CODE: R150

R250 Receipt of annual fees

Free format text: JAPANESE INTERMEDIATE CODE: R250

R250 Receipt of annual fees

Free format text: JAPANESE INTERMEDIATE CODE: R250

R250 Receipt of annual fees

Free format text: JAPANESE INTERMEDIATE CODE: R250