JP2017190850A - パッキン - Google Patents
パッキン Download PDFInfo
- Publication number
- JP2017190850A JP2017190850A JP2016082080A JP2016082080A JP2017190850A JP 2017190850 A JP2017190850 A JP 2017190850A JP 2016082080 A JP2016082080 A JP 2016082080A JP 2016082080 A JP2016082080 A JP 2016082080A JP 2017190850 A JP2017190850 A JP 2017190850A
- Authority
- JP
- Japan
- Prior art keywords
- packing
- outer edge
- reinforcing wall
- connection
- packing body
- Prior art date
- Legal status (The legal status is an assumption and is not a legal conclusion. Google has not performed a legal analysis and makes no representation as to the accuracy of the status listed.)
- Granted
Links
Images
Landscapes
- Flanged Joints, Insulating Joints, And Other Joints (AREA)
- Gasket Seals (AREA)
Abstract
Description
上述のパッキンでは、前記パッキン本体及び前記外縁補強壁の圧縮永久歪が0%以上70%以下であることが好ましい。
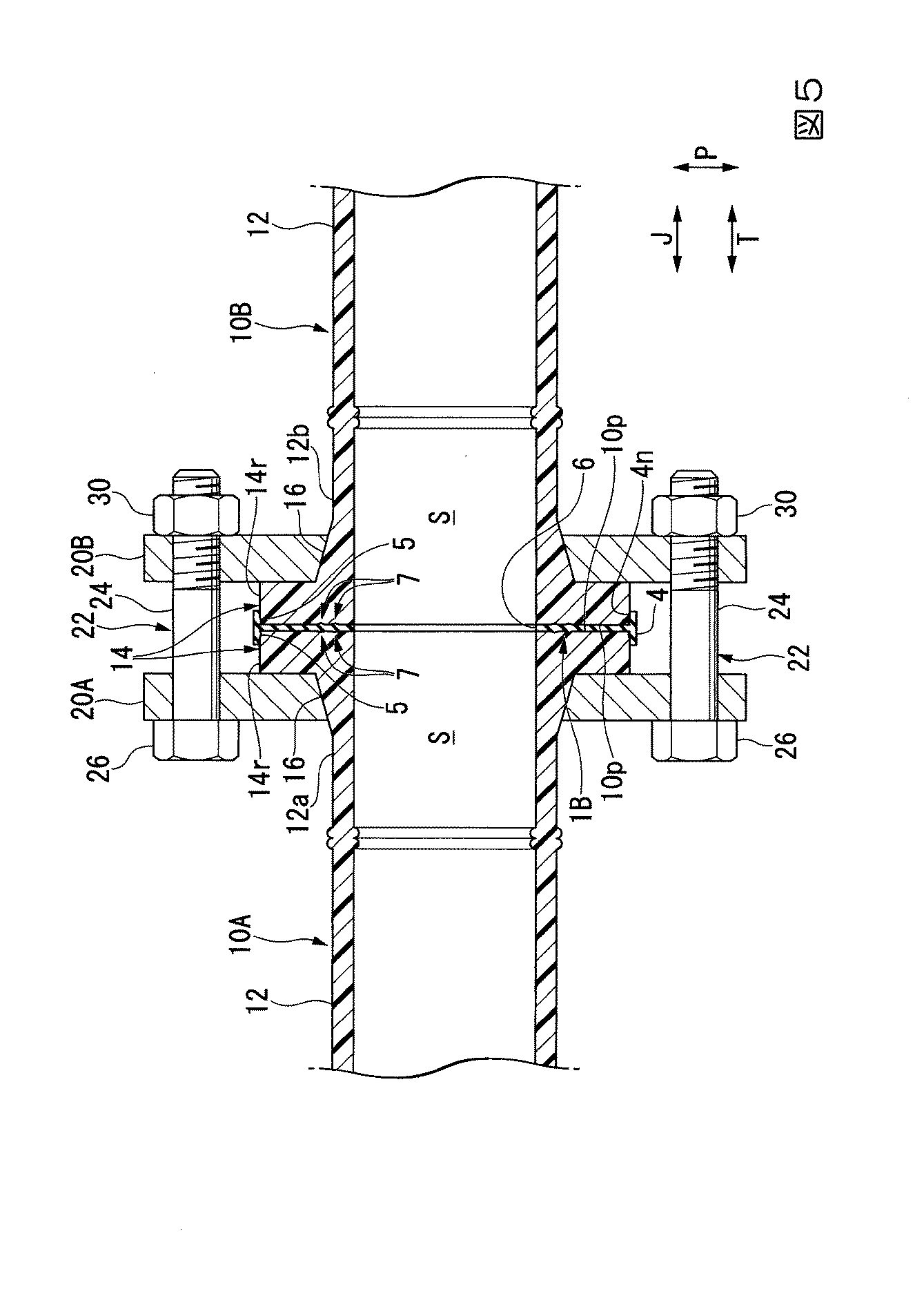
図1及び図2に示すように、第一実施形態のパッキン1Aは、管軸方向Jの一方の端面10pに接続フランジ14を有する樹脂製の接続管10A,10Bを密閉接続するために用いられるパッキンであって、端面10pに当接して配置可能とされ、接続管10A,10Bの中空部(内部)Sを通る媒体が通過可能な孔部6が形成された薄板状のパッキン本体2と、パッキン本体2の外周縁2eの全周からパッキン本体2の厚み方向Tの両側に延出し、接続管10A,10Bの接続フランジ14の外周面14rに当接される外縁補強壁4と、を備えている。
該多層構造は、内層と、中間層と、外層と、接着層と、ガスバリア層が接続管10A,10Bの内側から外側に向って積層されることで、構成されている。
内層は、接続管10A,10B内を流通するガス等の媒体(即ち、流体)が接する管状の層である。内層の材料としては、例えばポリオレフィン系樹脂が挙げられる。
中間層は、例えばポリオレフィン系樹脂と、ガラス繊維と、相溶化剤と、を含み、ポリオレフィン系樹脂とガラス繊維と相溶化剤とを含むポリオレフィン系樹脂組成物を用いた成形体である。
外層の材料としては、例えばポリオレフィン系樹脂が挙げられる。
ガスバリア層は、外部環境に晒され、該外部環境から内層と、中間層及び外層を保護するために設けられている。ガスバリア層の材料としては、例えばポリビニルアルコール、エチレンビニルアルコール共重合体、ポリ塩化ビニリデン樹脂及びポリアクリロニトリル等が挙げられる。
なお、上述の内層、中間層、外層、接着層、ガスバリア層の材料や厚み寸法(即ち、接続管10A,10Bの径方向の寸法)は、各層が接続管10A,10Bの径方向において隣接する物質及びその物質との相互作用等を勘案して、適宜選択されることが好ましい。
締結フランジ20A,20Bの径寸法は、少なくとも接続管10A,10Bの接続フランジ14の径寸法よりも大きい。これにより、締結フランジ20A,20Bにおいて接続フランジ14からはみ出ている部分に、フランジ接合用のボルト22の軸部24を挿通させるための挿通孔28が形成されている。挿通孔28は、締結フランジ20A,20Bの周方向において、少なくとも四個形成されており、六個又は八個形成されていることが好ましい。
また、70±1℃条件下でJIS K 6262:2013に準拠して測定されるパッキン本体2及び外縁補強壁4の圧縮永久歪が0%以上70%以下であることが好ましく、40%以下であることがより好ましい。
また、接続管10A,10Bがフランジ接合された状態では、パッキン1Aの第二封止リブ7が接続管10A,10Bの管軸方向L及びパッキン本体2の厚み方向Tに押し潰されている。これにより、第二封止リブ7の形成位置では、第二封止リブ7と接続管10A,10Bの端面10pとが互いに強く押圧し合っており、中空部S及び孔部6は密閉されている。
さらに、第一実施形態のパッキン1Aによれば、パッキン本体2及び外縁補強壁4の圧縮永久歪が0%以上70%以下であるため、パッキン1Aの全体の耐水圧性能を高めることができる。
次いで、第二実施形態のパッキン1Bについて説明する。なお、パッキン1Bの構成要素において、第一実施形態のパッキン1Aの構成要素と同一のものについては、同一の符号を付し、その説明を省略する。
第一、第二の実施形態においては、外縁補強壁4がパッキン本体2の外周縁2eに設けられていたが、板面方向Pにおいてパッキン本体2の外周縁2eが締結フランジ20A,20Bの外周縁まで延設され、このようなパッキン1Cの孔部6から外周縁2eの間のパッキン本体2から外縁補強壁4が厚み方向Tの両側に突出するよう設けられていてもよい。この場合、延設されたパッキン本体2にはボルト22の軸部24を挿通させるための挿通孔が形成される。
図4(a),(b)に示した第二実施形態のパッキン1B及び図5に示す接続構造を形成した。パッキン1Bの材料は、PU系とした。パッキン本体2の中空部Sの口径は100mmとし、外縁補強壁4の孔部6の口径も100mmとした。パッキン本体2及び外縁補強壁4の硬さは、JIS K 6253:1997準拠のタイプAデュロメータで75であった。パッキン本体2及び外縁補強壁4の圧縮永久歪みは65%とし、パッキン本体2の厚み寸法t2は、2mmとした。
上述の接続構造を0℃から60℃の環境下で冷熱繰り返した後、水圧試験を行った。この水圧試験では、一時間ごとの冷熱の繰り返しとし、水圧は4.0MPa×5分とし、2000回行った。媒体を水としたときの漏水有無を調べた結果、合格であった。
実施例1において、パッキン1Bの材料をSBRとし、パッキン本体2及び外縁補強壁4の硬さを50に変更し、圧縮永久歪みを65%に変更し、パッキン本体2の厚み寸法t2を5mmに変更すること以外は、実施例1と同様にして、第二実施形態のパッキン1B及び接続構造を形成した。
実施例1と同じ条件で漏水有無を調べた結果、合格であった。
また、接続フランジ14に変形は見られなかった。
実施例2において、パッキン本体2及び外縁補強壁4の硬さを55に変更したこと以外は、実施例1と同様にして、第二実施形態のパッキン1B及び接続構造を形成した。
実施例1と同じ条件で漏水有無を調べた結果、合格であった。
また、接続フランジ14に変形は見られなかった。
実施例2において、パッキン本体2及び外縁補強壁4の硬さを60に変更したこと以外は、実施例1と同様にして、第二実施形態のパッキン1B及び接続構造を形成した。
実施例1と同じ条件で漏水有無を調べた結果、合格であった。
また、接続フランジ14に変形は見られなかった。
実施例1において、パッキン1Bの材料をEPDMとし、パッキン本体2及び外縁補強壁4の硬さを55に変更し、圧縮永久歪みを40%に変更し、パッキン本体2の厚み寸法t2を5mmに変更したこと以外は、実施例1と同様にして、第二実施形態のパッキン1B及び接続構造を形成した。
実施例1と同じ条件で漏水有無を調べた結果、合格であった。
また、接続フランジ14に変形は見られなかった。
実施例1において、パッキン本体2の外周縁2eに外縁補強壁4を設けないこと以外は、実施例1と同様にして、第二実施形態のパッキン1B及び接続構造を形成した。
また、実施例1と同じ条件で漏水有無を調べた結果、水が漏れず、合格であったが、接続フランジ14に変形が見られた。
Claims (5)
- 金属製の締結フランジを備え、管軸方向の一方の端面に接続フランジを有する樹脂製の接続管同士をそれぞれの前記接続フランジ間に挟持させて密閉接続するためのパッキンであって、
前記一方の端面に当接して配置可能とされ、前記接続管の内部を通る媒体が通過可能な孔部が形成された薄板状のパッキン本体と、
前記パッキン本体の外周縁の全周から前記パッキン本体の厚み方向の両側に延出し、前記接続フランジの外周面に当接される外縁補強壁と、
を備えていることを特徴とするパッキン。 - 前記パッキン本体における前記孔部と前記外縁補強壁との間に前記パッキン本体の厚み方向に突出する封止リブが全周にわたって設けられていることを特徴とする請求項1に記載のパッキン。
- 前記パッキン本体の厚み寸法が2mmよりも大きいことを特徴とする請求項1又は2に記載のパッキン。
- 前記パッキン本体及び前記外縁補強壁の硬さが50以上90以下であることを特徴とする請求項1から請求項3の何れか一項に記載のパッキン。
- 前記パッキン本体及び前記外縁補強壁の圧縮永久歪が0%以上70%以下であることを特徴とする請求項1から請求項4の何れか一項に記載のパッキン。
Priority Applications (1)
| Application Number | Priority Date | Filing Date | Title |
|---|---|---|---|
| JP2016082080A JP6725303B2 (ja) | 2016-04-15 | 2016-04-15 | パッキン |
Applications Claiming Priority (1)
| Application Number | Priority Date | Filing Date | Title |
|---|---|---|---|
| JP2016082080A JP6725303B2 (ja) | 2016-04-15 | 2016-04-15 | パッキン |
Publications (2)
| Publication Number | Publication Date |
|---|---|
| JP2017190850A true JP2017190850A (ja) | 2017-10-19 |
| JP6725303B2 JP6725303B2 (ja) | 2020-07-15 |
Family
ID=60085836
Family Applications (1)
| Application Number | Title | Priority Date | Filing Date |
|---|---|---|---|
| JP2016082080A Active JP6725303B2 (ja) | 2016-04-15 | 2016-04-15 | パッキン |
Country Status (1)
| Country | Link |
|---|---|
| JP (1) | JP6725303B2 (ja) |
Cited By (4)
| Publication number | Priority date | Publication date | Assignee | Title |
|---|---|---|---|---|
| JP2021055742A (ja) * | 2019-09-30 | 2021-04-08 | 積水化学工業株式会社 | 管継手構造 |
| EP3805619A4 (en) * | 2018-05-31 | 2022-03-02 | Asahi Yukizai Corporation | Pinch valve |
| JP2023151118A (ja) * | 2022-03-31 | 2023-10-16 | 積水化学工業株式会社 | スタブエンドおよび接続構造 |
| JP7797291B2 (ja) | 2022-03-31 | 2026-01-13 | 積水化学工業株式会社 | スタブエンドおよび接続構造 |
Citations (9)
| Publication number | Priority date | Publication date | Assignee | Title |
|---|---|---|---|---|
| JPS525161U (ja) * | 1975-06-27 | 1977-01-13 | ||
| JPS60131784U (ja) * | 1984-02-14 | 1985-09-03 | 山浅鋳物株式会社 | 合成樹脂管と鉄管との接続部の構造 |
| JPH01118293U (ja) * | 1988-02-03 | 1989-08-10 | ||
| JPH0398362U (ja) * | 1990-01-26 | 1991-10-11 | ||
| JPH11182756A (ja) * | 1997-12-22 | 1999-07-06 | Kurimoto Ltd | ポリエチレン管用ルーズフランジ型管継手 |
| JP2000179693A (ja) * | 1998-12-21 | 2000-06-27 | Bridgestone Corp | パッキン材 |
| JP2008514957A (ja) * | 2004-09-30 | 2008-05-08 | ローズマウント インコーポレイテッド | 衛生プロセス流量計のためのガスケット構造 |
| JP2009257552A (ja) * | 2008-04-21 | 2009-11-05 | Ckd Corp | シール部材、流体機器接続構造及び流体機器ユニット |
| JP2015068424A (ja) * | 2013-09-30 | 2015-04-13 | 日本バルカー工業株式会社 | シール用樹脂製ガスケット |
-
2016
- 2016-04-15 JP JP2016082080A patent/JP6725303B2/ja active Active
Patent Citations (9)
| Publication number | Priority date | Publication date | Assignee | Title |
|---|---|---|---|---|
| JPS525161U (ja) * | 1975-06-27 | 1977-01-13 | ||
| JPS60131784U (ja) * | 1984-02-14 | 1985-09-03 | 山浅鋳物株式会社 | 合成樹脂管と鉄管との接続部の構造 |
| JPH01118293U (ja) * | 1988-02-03 | 1989-08-10 | ||
| JPH0398362U (ja) * | 1990-01-26 | 1991-10-11 | ||
| JPH11182756A (ja) * | 1997-12-22 | 1999-07-06 | Kurimoto Ltd | ポリエチレン管用ルーズフランジ型管継手 |
| JP2000179693A (ja) * | 1998-12-21 | 2000-06-27 | Bridgestone Corp | パッキン材 |
| JP2008514957A (ja) * | 2004-09-30 | 2008-05-08 | ローズマウント インコーポレイテッド | 衛生プロセス流量計のためのガスケット構造 |
| JP2009257552A (ja) * | 2008-04-21 | 2009-11-05 | Ckd Corp | シール部材、流体機器接続構造及び流体機器ユニット |
| JP2015068424A (ja) * | 2013-09-30 | 2015-04-13 | 日本バルカー工業株式会社 | シール用樹脂製ガスケット |
Cited By (5)
| Publication number | Priority date | Publication date | Assignee | Title |
|---|---|---|---|---|
| EP3805619A4 (en) * | 2018-05-31 | 2022-03-02 | Asahi Yukizai Corporation | Pinch valve |
| JP2021055742A (ja) * | 2019-09-30 | 2021-04-08 | 積水化学工業株式会社 | 管継手構造 |
| JP7372804B2 (ja) | 2019-09-30 | 2023-11-01 | 積水化学工業株式会社 | 管継手構造 |
| JP2023151118A (ja) * | 2022-03-31 | 2023-10-16 | 積水化学工業株式会社 | スタブエンドおよび接続構造 |
| JP7797291B2 (ja) | 2022-03-31 | 2026-01-13 | 積水化学工業株式会社 | スタブエンドおよび接続構造 |
Also Published As
| Publication number | Publication date |
|---|---|
| JP6725303B2 (ja) | 2020-07-15 |
Similar Documents
| Publication | Publication Date | Title |
|---|---|---|
| CA2913409C (en) | Coupling for range of pipe diameters | |
| JP2009281424A (ja) | メタルガスケット | |
| KR102149690B1 (ko) | 내압성강화와 누수방지 기능이 부여된 배관용 플랜지 가스켓 및 그 플랜지 가스켓의 제조방법 | |
| US20170074401A1 (en) | Press-in-place gasket | |
| JP2017190850A (ja) | パッキン | |
| JP2004052817A (ja) | フランジパッキン | |
| JP6962729B2 (ja) | 漏洩防止装置 | |
| US20130134707A1 (en) | Pipe coupling for the fluid-tight attachment of components in an air conditioning system | |
| JP3210602U (ja) | 小径配管用継手 | |
| KR101889092B1 (ko) | 가스켓 | |
| US9500305B2 (en) | Fitting mechanism for use with multilayer composite pipe | |
| JP4840690B2 (ja) | 管端防食部材および配管構造 | |
| KR102195335B1 (ko) | 배관 연결용 조인트 | |
| KR101555583B1 (ko) | 리버스 배관 연결장치 | |
| KR200323223Y1 (ko) | 테프론을 이용한 가스켓 | |
| KR20160128012A (ko) | 내부 압력에 의한 기밀 증가형 가스켓 및 그를 위한 플랜지 배관 | |
| JP5486817B2 (ja) | 配管のシール構造体 | |
| KR101555584B1 (ko) | 리버스 배관 연결방법 | |
| EP2990710B1 (en) | Ducting apparatus | |
| JP7688263B2 (ja) | シール構造 | |
| JP3206965U (ja) | ガスケット及びそれを備えた管継手 | |
| KR101941424B1 (ko) | Z자형 실링재를 이용한 배관 이음체 | |
| JP3189885U (ja) | ハウジング型管継手 | |
| KR100896962B1 (ko) | 압력배관을 2차적으로 밀봉하는 기밀구조가 구비된이중배관 | |
| TW202246683A (zh) | 密封件 |
Legal Events
| Date | Code | Title | Description |
|---|---|---|---|
| A621 | Written request for application examination |
Free format text: JAPANESE INTERMEDIATE CODE: A621 Effective date: 20190116 |
|
| A977 | Report on retrieval |
Free format text: JAPANESE INTERMEDIATE CODE: A971007 Effective date: 20200120 |
|
| A131 | Notification of reasons for refusal |
Free format text: JAPANESE INTERMEDIATE CODE: A131 Effective date: 20200128 |
|
| A521 | Request for written amendment filed |
Free format text: JAPANESE INTERMEDIATE CODE: A523 Effective date: 20200330 |
|
| TRDD | Decision of grant or rejection written | ||
| A01 | Written decision to grant a patent or to grant a registration (utility model) |
Free format text: JAPANESE INTERMEDIATE CODE: A01 Effective date: 20200602 |
|
| A61 | First payment of annual fees (during grant procedure) |
Free format text: JAPANESE INTERMEDIATE CODE: A61 Effective date: 20200625 |
|
| R151 | Written notification of patent or utility model registration |
Ref document number: 6725303 Country of ref document: JP Free format text: JAPANESE INTERMEDIATE CODE: R151 |
