JP2017166320A - 掘削装置のための磨耗アッセンブリ - Google Patents

掘削装置のための磨耗アッセンブリ Download PDF

Info

Publication number
JP2017166320A
JP2017166320A JP2017108914A JP2017108914A JP2017166320A JP 2017166320 A JP2017166320 A JP 2017166320A JP 2017108914 A JP2017108914 A JP 2017108914A JP 2017108914 A JP2017108914 A JP 2017108914A JP 2017166320 A JP2017166320 A JP 2017166320A
Authority
JP
Japan
Prior art keywords
wear member
lock
wear
socket
longitudinal axis
Prior art date
Legal status (The legal status is an assumption and is not a legal conclusion. Google has not performed a legal analysis and makes no representation as to the accuracy of the status listed.)
Granted
Application number
JP2017108914A
Other languages
English (en)
Other versions
JP6378803B2 (ja
JP2017166320A5 (ja
Inventor
オリンガー,チャールズ・ジー,ザ・フォース
G Ollinger Charles Iv
スナイダー,クリス・ディー
D Snyder Chris
クライツバーグ,ジョン・エス
S Kreitzberg John
Current Assignee (The listed assignees may be inaccurate. Google has not performed a legal analysis and makes no representation or warranty as to the accuracy of the list.)
Esco Corp
Original Assignee
Esco Corp
Priority date (The priority date is an assumption and is not a legal conclusion. Google has not performed a legal analysis and makes no representation as to the accuracy of the date listed.)
Filing date
Publication date
Family has litigation
First worldwide family litigation filed litigation Critical https://patents.darts-ip.com/?family=40002579&utm_source=google_patent&utm_medium=platform_link&utm_campaign=public_patent_search&patent=JP2017166320(A) "Global patent litigation dataset” by Darts-ip is licensed under a Creative Commons Attribution 4.0 International License.
Application filed by Esco Corp filed Critical Esco Corp
Publication of JP2017166320A publication Critical patent/JP2017166320A/ja
Publication of JP2017166320A5 publication Critical patent/JP2017166320A5/ja
Application granted granted Critical
Publication of JP6378803B2 publication Critical patent/JP6378803B2/ja
Expired - Fee Related legal-status Critical Current
Anticipated expiration legal-status Critical

Links

Images

Classifications

    • EFIXED CONSTRUCTIONS
    • E02HYDRAULIC ENGINEERING; FOUNDATIONS; SOIL SHIFTING
    • E02FDREDGING; SOIL-SHIFTING
    • E02F3/00Dredgers; Soil-shifting machines
    • E02F3/04Dredgers; Soil-shifting machines mechanically-driven
    • E02F3/88Dredgers; Soil-shifting machines mechanically-driven with arrangements acting by a sucking or forcing effect, e.g. suction dredgers
    • E02F3/90Component parts, e.g. arrangement or adaptation of pumps
    • E02F3/92Digging elements, e.g. suction heads
    • E02F3/9212Mechanical digging means, e.g. suction wheels, i.e. wheel with a suction inlet attached behind the wheel
    • E02F3/9225Mechanical digging means, e.g. suction wheels, i.e. wheel with a suction inlet attached behind the wheel with rotating cutting elements
    • EFIXED CONSTRUCTIONS
    • E02HYDRAULIC ENGINEERING; FOUNDATIONS; SOIL SHIFTING
    • E02FDREDGING; SOIL-SHIFTING
    • E02F3/00Dredgers; Soil-shifting machines
    • E02F3/04Dredgers; Soil-shifting machines mechanically-driven
    • E02F3/96Dredgers; Soil-shifting machines mechanically-driven with arrangements for alternate or simultaneous use of different digging elements
    • EFIXED CONSTRUCTIONS
    • E02HYDRAULIC ENGINEERING; FOUNDATIONS; SOIL SHIFTING
    • E02FDREDGING; SOIL-SHIFTING
    • E02F3/00Dredgers; Soil-shifting machines
    • E02F3/04Dredgers; Soil-shifting machines mechanically-driven
    • E02F3/96Dredgers; Soil-shifting machines mechanically-driven with arrangements for alternate or simultaneous use of different digging elements
    • E02F3/961Dredgers; Soil-shifting machines mechanically-driven with arrangements for alternate or simultaneous use of different digging elements with several digging elements or tools mounted on one machine
    • EFIXED CONSTRUCTIONS
    • E02HYDRAULIC ENGINEERING; FOUNDATIONS; SOIL SHIFTING
    • E02FDREDGING; SOIL-SHIFTING
    • E02F9/00Component parts of dredgers or soil-shifting machines, not restricted to one of the kinds covered by groups E02F3/00 - E02F7/00
    • E02F9/28Small metalwork for digging elements, e.g. teeth scraper bits
    • E02F9/2808Teeth
    • E02F9/2816Mountings therefor
    • E02F9/2833Retaining means, e.g. pins
    • E02F9/2841Retaining means, e.g. pins resilient
    • EFIXED CONSTRUCTIONS
    • E02HYDRAULIC ENGINEERING; FOUNDATIONS; SOIL SHIFTING
    • E02FDREDGING; SOIL-SHIFTING
    • E02F9/00Component parts of dredgers or soil-shifting machines, not restricted to one of the kinds covered by groups E02F3/00 - E02F7/00
    • E02F9/28Small metalwork for digging elements, e.g. teeth scraper bits
    • E02F9/2808Teeth
    • E02F9/2858Teeth characterised by shape
    • EFIXED CONSTRUCTIONS
    • E02HYDRAULIC ENGINEERING; FOUNDATIONS; SOIL SHIFTING
    • E02FDREDGING; SOIL-SHIFTING
    • E02F9/00Component parts of dredgers or soil-shifting machines, not restricted to one of the kinds covered by groups E02F3/00 - E02F7/00
    • E02F9/28Small metalwork for digging elements, e.g. teeth scraper bits
    • E02F9/2866Small metalwork for digging elements, e.g. teeth scraper bits for rotating digging elements
    • EFIXED CONSTRUCTIONS
    • E02HYDRAULIC ENGINEERING; FOUNDATIONS; SOIL SHIFTING
    • E02FDREDGING; SOIL-SHIFTING
    • E02F9/00Component parts of dredgers or soil-shifting machines, not restricted to one of the kinds covered by groups E02F3/00 - E02F7/00
    • E02F9/28Small metalwork for digging elements, e.g. teeth scraper bits
    • E02F9/2883Wear elements for buckets or implements in general

Landscapes

  • Engineering & Computer Science (AREA)
  • Mining & Mineral Resources (AREA)
  • Civil Engineering (AREA)
  • General Engineering & Computer Science (AREA)
  • Structural Engineering (AREA)
  • Mechanical Engineering (AREA)
  • Component Parts Of Construction Machinery (AREA)
  • Earth Drilling (AREA)
  • Organic Low-Molecular-Weight Compounds And Preparation Thereof (AREA)
  • Forging (AREA)
  • Bending Of Plates, Rods, And Pipes (AREA)
  • Clamps And Clips (AREA)
  • Finish Polishing, Edge Sharpening, And Grinding By Specific Grinding Devices (AREA)
  • Grinding-Machine Dressing And Accessory Apparatuses (AREA)
  • Shovels (AREA)
  • Braking Arrangements (AREA)
  • Mechanical Operated Clutches (AREA)
  • Rolls And Other Rotary Bodies (AREA)

Abstract

【課題】磨耗部材を掘削装置に強固に固定でき、長寿命、掘削抵抗低減を可能とする磨耗アッセンブリを提供する。
【解決手段】掘削装置のための磨耗アッセンブリ10であって、掘削装置に固定されたベース12と、ベース12に嵌合する磨耗部材と14、磨耗部材14をベース12に着脱可能に固定するためのロック16とを備える。磨耗部材14は、装置の抵抗を低減するために面の軽減を含む。磨耗部材14とベース12は、各々、半球形状の前端部と概ね台形状の後部分とを含む。ベース12は、ノーズ18とノーズ18から突出するストップとを含み、ノーズ18にロック16を受け入れるのに必要される開口を有しないでロック16と協働する。ロック16は、軸方向に概ね配置されると共に圧縮圧力で磨耗部材14をベース12に保持する軸方向に細長いロックである。
【選択図】図1

Description

本発明は、磨耗部材を掘削装置に固定するための磨耗アッセンブリに関し、特に、浚渫カッターヘッドへの取り付け及び浚渫カッターヘッドでの使用に非常に適した磨耗アッセンブリに関する。
浚渫カッターヘッドは、河床などの水中にある土成分を掘削するために使用される。一般に、浚渫カッターヘッド1は、ベースリング3からハブ4に前方に伸びる複数のアーム2を含む(図21)。複数のアームは、ベースリングの周囲を離間配置され、カッターヘッドの中央軸線を中心とした広いらせん状に形成されている。各アーム2は、地面の中に掘削するための一連の離間配置された歯5が提供されている。歯は、アームに固定されたアダプター叉はベース6と、ロック8によってベースに着脱可能に取り付けられたポイント7で構成される。
使用中、カッターヘッドは、土成分を掘削するためにその中央軸線を中心に回転される。浚渫物を取り除くために、吸引パイプがリング近傍に提供される。地面の所望の区画を掘削するために、カッターヘッドは、横方向及び前方に移動される。水の増量や水の他の運動のため、カッターヘッドは、上下に移動しがちであり、定期的に底面に衝突する。さらに、オペレータが水に下面にある掘削される地面を見ることができないことによって問題点が生じる。すなわち、最も多い他の掘削動作とは異なり、浚渫カッターヘッドは、掘削される土地に最も適合させるために路に沿って効果的に案内されることができない。重い荷重や厳しい環境にかんがみて、ポイントとベースの相互連結は、しっかりと固定される必要がある。
歯が高速で地面の中に及び地面中を駆動されるようにカッターヘッドは回転される。従って、特に岩を掘削する際に、大きな駆動力がカッターヘッドを回転させるために必要とされる。動力条件を最小にしようと努力して、浚渫ポイントは、一般的に、地面への容易な進入のために細長くてスレンダーなビットが提供される。しかしながら、ビットが磨耗のせいで短くなると、ポイントの取り付け区分は、切断動作中に地面と係合し始める。取り付け区分は、ビットよりも幅が広く、抵抗を小さくした形状ではない。生じた抵抗の増加のため、取り付け区分は、カッターヘッドに押し付けられ、ポイントは、ビットが完全に磨耗される前に通常同時に変化される。
本発明の一つの態様によれば、掘削装置のための磨耗部材は、掘削作業と関連した抵抗を最小にするため及び掘削装置を駆動するのに必要な駆動源を最小にするために、作用部分及び取り付け部分の面の軽減で形成される。低減された駆動源の消費は、より十分なオペレーション及び磨耗部材のより長い使用寿命に導く。
本発明によれば、前面の幅は対応する後面の幅よりも大きい横断形状を有し、磨耗部材の側壁は、抵抗を低減するために前面の影にならう。この小さい後面の使用は、作用端部だけでなく、取り付け端部の少なくとも一部分にも提供される。その結果、本発明の磨耗した磨耗部材によって生じた抵抗は、従来の磨耗部材の抵抗よりも小さい。小さな抵抗は、小さな駆動消費になり、取り替えられる必要がある前の磨耗部材の使用を長くする。従って、磨耗部材の作用端部は交換が必要とされる前にさらに磨耗されることができる。
本発明の他の態様によれば、磨耗部材は、ある掘削路でかつ地面中の運動方向で地面に進入する磨耗部材の部分の横断形状によって画定される掘削輪郭を有する。本発明の他の態様では、磨耗部材の面の軽減は、掘削作業中に生じた抵抗を小さくするために掘削輪郭に提供される。好適実施例では、面の軽減は、磨耗部材の寿命を通じて予期される各掘削輪郭に提供され、取り付け部分を取り囲むものを含む。
本発明の他の態様によれば、磨耗部材は、掘削装置に固定されたベースのノーズを受け入れるためのソケットを含む。ソケットは、磨耗部材の台形横断の外面に概ね対応する概ね台形横断形状で形成される。この取り付け部分の外面に対するソケットの全面的な接面は、製造を容易にし、ノーズのサイズを最小にし、重量比率に対する強度を高める。
好適な構成では、台形形状のノーズの上面、下面叉は側面の一つ以上及び対応するソケットの壁は、互いに合致するようにそれぞれ曲げられている。これらの面及び壁は、漸進的な湾曲を有し、取り付けを容易にし、磨耗部材の安定(性)を高め、使用中の縦軸線を中心とした磨耗部材の回転に抵抗する。
本発明の他の態様によれば、ソケット及びノーズは、それぞれ、磨耗部材の縦軸線に実質的に平行に伸び、かつ、全ての方向にかかる後方への圧力に抵抗するためにソケットの周囲及びノーズの周りに実質的に伸びる後安定化面を含む。
本発明の他の態様によれば、ソケット及びノーズは、構成要素のひずみを小さくすると共に磨耗部材とノーズとの間に生じるガタガタな動きをより制御するために実質的に半球状である相補的な前支持面で形成される。
本発明の他の態様によれば、ソケット及びノーズは、それらの前端部において湾曲した前支持面で、かつ、安定(性)を改善し、製造を容易にし、ノーズのサイズを最小にし、抵抗、ひずみ、磨耗を低減し、重量比率に対する強度を高めるために前端部の後方に概ね台形横断形状で、形成される。
本発明の他の態様によれば、磨耗アッセンブリは、ベースと、ベースに取り付ける磨耗部材と、安全で容易に使用でき容易に製造できベースへの磨耗部材の嵌合を締結できる、圧縮状態で磨耗部材をベースに保持する軸方向に配向されたロックとを含む。好適実施例では、磨耗アッセンブリは、調整可能な軸状のロックを含む。
本発明の他の態様によれば、磨耗部材は、ロックが受け入れられる開口と、ロックを安定にし、ロックの締結を容易にするロックの通路に適応する開口の後壁に形成された穴とを含む。
本発明の他の態様によれば、ベースは、単に突出したストップの使用でロックと相互作用する。その結果、ロックを受け入れるために典型的に提供されるようにノーズに穴、凹部叉は通路を必要としない。従って、ノーズの強度が高められる。
本発明の他の態様によれば、磨耗部材をロックに固定するためのロック構成は、ベース及び/叉は磨耗部材に存在するかもしれない磨耗量に関係なく予め決められた締結力を磨耗部材に安定してかけるために調整されることができる。
本発明の他の態様によれば、磨耗部材は、ロックが適当に締結されたときを確認するのに使用されることができるマーカーを含む。
本発明の他の態様によれば、軸状のロックを含む使用が容易で新規なプロセスを通じて
磨耗部材はベースに取り付けられて固定される。磨耗部材は、掘削装置に固定されたベースのノーズに嵌合する。ベースは、ノーズから外方に突出するストップを含む。軸状のロックは、磨耗部材の開口の中に受け入れられ、ストップと磨耗部材の支持面との間に伸びて磨耗部材をノーズに着脱可能に保持する。
本発明の他の態様によれば、磨耗部材は、最初に掘削装置に固定されたベース上を摺動される。軸方向に配向されたロックは、ロックが軸方向に圧縮されるように、ベースのストップに抗した支持面と、磨耗部材の支持壁に抗した他の支持面とに配置される。ロックは、磨耗部材をベースに対してぴったりに動かすように調整される。
本発明の他の態様によれば、磨耗部材をベースに着脱可能に保持するロックは、支持端部及びツールと係合する端部とを有する直線状の螺子付シャフトと、螺子付シャフトに螺合されるナットと、交互に配置されると共に、支持端部とナットの間でシャフトを中心にして嵌合した、複数の環状のエラストマーディスク及び環状のスペーサを含むスプリングとを含む。
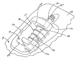
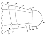
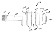
図1は、本発明にかかる磨耗部材である。 図2は、本発明にかかる磨耗部材の側面図である。 図2Aは、従来の磨耗部材の側面図である。 図3は、図2の線3−3で切断した断面図である。 図3Aは、図2Aの線3A−3Aで切断した断面図である。 図4は、図2の線4−4で切断した断面図である。 図5は、図2の線5−5で切断した断面図である。 図6は、図2の線6−6で切断した断面図である。 図6Aは、図2Aの線6A−6Aで切断した断面図である。 図7は、図2の線7−7で切断した断面図である。 図8は、図2の線8−8で切断した断面図である。 図9は、図1の線9−9で切断した断面図である。 図10は、磨耗部材の上面図である。 図11は、磨耗部材の背面図である。 図12は、本発明のベースのノーズの斜視図である。 図13は、ノーズの前面図である。 図14は、ノーズの側面図である。 図15は、磨耗アッセンブリの中にあるロックの拡大斜視図である。 図16は、締結される前の状態の磨耗アッセンブリの中にあるロックの拡大斜視図である。 図17は、ロックの斜視図である。 図18は、ロックの側面図である。 図19は、ロックの分解斜視図である。 図20は、(ポイントが省略された)ノーズを有するロックの斜視図である。 図21は、従来の浚渫カッターヘッドの側面図である。
本発明は、掘削装置のための磨耗アッセンブリ10に関し、特に、浚渫作業に非常に適する。このアプリケーションでは、本発明は、浚渫カッターヘッドに取り付けるために適合された浚渫歯の用語で記載される。それにもかかわらず、本発明の様々な形態が、他の種類の磨耗アッセンブリ(例えばシュラウド)に関連して、及び他の種類の掘削装置(例えばバケット)に対して、使用されることができる。
そのアッセンブリは、時々、上の、下の、水平の、垂直の、前方の、後方の、などの相対語で記載され、そのような用語は、本質的要素を考慮されず、単に記載を容易にするために提供される。掘削作業、特に浚渫作業での磨耗部材の方位は、著しく変更できる。これらの相対語は、別に述べられない限り、図1に示された磨耗アッセンブリ10の方位に関して理解されるべきである。
磨耗アッセンブリ10は、浚渫カッターヘッドに固定されたベース12と、磨耗部材14と、磨耗部材をベースに着脱可能に保持するロック16とを含む(図1乃至図10)。
ベース12は、その上に磨耗部材14が取り付けられる前方に突出するノーズ18と、浚渫カッターヘッドのアームに固定される取り付け端部(図示せず)を含む(図1乃至図9及び図11乃至図14)。ベースは、アームの部分として与えられ、アームに溶接され、あるいは機械的手段によって取り付けられることができる。単なる例として、米国特許第4470210号叉は米国特許第6729052号に開示されたなどのカッターヘッドに形成されかつ取り付けられることができる。
浚渫歯では、磨耗部材14は、細長いスレンダービットの形態の作用(working)部分
21と、ノーズ18を受け入れるためのソケット20を画定する取り付け部分23とが提供されたポイントである(図1乃至図10)。ポイント14は、それが各掘削路と概ね同じ方向に地面とかみ合うようにカッターヘッドによって回転される。その結果、ポイント14は、前面(a leading side)25と後面(a trailing side)27を含む。前面25
は、カッターヘッドの各回転で地面と最初にかみ合い、地面の貫通を案内する。本発明では、後面27は、ビット21(図5)を通じた(すなわちポイント14の縦軸線28に垂直な面に沿って)前面25と同じ幅と、少なくとも部分的に貫通した取り付け部分23(図4)とを有する。好適実施態様では、後面27は、ポイント14の長さの全体にわたって前面25よりも小さい幅を有する(図4、5及び7)。
好ましくは、ポイント14のビット21は、前面25が後面27よりも広い概ね台形の横断面形状を有する(図5)。用語“横断面形状”は、磨耗部材14の縦軸線28に垂直な平面に沿った二次元の形状を呼ぶのに使用される。ポイントが細いために、側壁29、31は、掘削中前面25の影にならい、それによって、切断作業中にわずかな抵抗を生じる。好適な構成では、側壁29、31は、約16度の角度θで後面27の方に互いに近寄る(図5)が、他の角度の形状が可能である。前面25、後面27及び側壁29、31は、平らに、湾曲に、あるいは不均整にすることができる。さらに、台形以外の形状が使用されることができ、面の軽減(side relief)を提供する。
使用中、浚渫ポイント14は、各掘削路で(すなわちカッターヘッドの各回転で)特定の深さまで地面を貫通する。ポイントの長い有効耐用期間中、ビットのみが地面を貫通する。一例として、ある掘削サイクルの地面のレベルは、掘削路の中央ポイントで線3−3(図2)に沿って概ね伸びる。ビットだけが地面を貫通し、そのビットは比較的薄いので、掘削作業でかけられた抵抗は、適度の限界内にある。それにもかかわらず、高速で地面中を常に駆動される多くの歯に関し、動力要件は、常に高く、そして特に岩盤を掘削するときに作業にビットが有益であっても抵抗を減少する。
好適な構成では、側壁29、31は、後面27の方に互いに近寄るだけでなく、その側壁が掘削輪郭で前面25の影内に存在するように形状付けられる。“掘削輪郭”は、(i)地面中の掘削路の中心ポイントで移動34の方向に平らで(ii)縦軸線に対して横方向に垂直な、平面に沿って地面を貫通するポイント14の部分の横断面形状を意味するのに使用される。掘削輪郭は、実際の横断面よりも、使用中にポイントにかけられる抵抗の良い表示である。掘削輪郭の面の軽減の提供は、側壁が後面の方に互いに近寄る角度及び
ポイントの軸方向のスロープ叉は拡張部が後方に表面をつける角度に依存する。本発明は、掘削輪郭の全体像から考えられる場合に前面から後面に概ね狭まる幅を提供することである。好ましくは、掘削輪郭の面の軽減は、予期されるカッターヘッドの掘削角度を横切って伸びるが、このような面の軽減が少なくとも一つの掘削角度に存在する場合には利益がさらに得られることができる。単に一例として、図3に図示された横断面形状は、地面中を駆動されるポイント14の一部分に対する一つの掘削輪郭を表す。見られるように、ビット21は、抵抗を減少させるために側壁29、31が後面27の方に互いに近寄るような掘削輪郭でも面の軽減がさらに提供される。
ビット21がどんどん磨耗すると、地面のレベルはだんだんと後方に漸動し、各掘削サイクルでポイント14の厚みのある部分が地面中をさらに後方に押される。従って、ポイントが磨耗するにつれてカッターヘッドを駆動するのにより大きな動力が必要とされる。結局、ポイント14の取り付け部分23が各掘削路で地面中を駆動されるほどビットは十分にどんどん磨耗する。本発明では、取り付け部分23は、取り付け部分の少なくとも前端部40(図4)、好ましくは取り付け部分の全体(図4及び図7)にわたっての面の軽減を含み続ける。図4に見られるように、取り付け部分23は、ソケット20へのノーズ18の受け入れに対応するために及びポイント14とベース12との間の相互連結のための十分な強度を提供するために、ビット21よりも大きい。側壁29、31は、後面27の方に互いに近寄るように傾斜される。この一例では、線4−4に沿った側壁29、31の傾斜は、約26度の角度αである(図4)が、他の傾斜が使用されることもできる。上述のように、掘削輪郭の所望の面の軽減は、側壁の横方向の傾斜とポイントの軸方向の拡張との間の関係に依存する。
ある従来のポイント14aでは、ビット21aは、後面27aよりも幅が広い前面25aをもつ台形の横断面形状を有する。しかしながら、ビット21aは、掘削輪郭の面の軽減を提供しない。図3Aに見られるように、図2Aの(すなわち線3A−Aで沿った)掘削輪郭35aは、後面27aの方に互いに近寄る側壁29a、31aを有しない(図2A及び図3A)。むしろ、掘削輪郭35aの側壁29a、31aは、その側壁が後面の方へ伸びるにつれてだんだん大きくなるスロープで外側へ拡張する。この側壁29a、31aの外側への広がりは、カッターヘッドの大きな抵抗を生じる。掘削輪郭に対するポイント14の面の軽減の効果的な使用は、横断形状に表す側壁を単に使用することよりも抵抗の減少が良い。
ある他の実施例では、ビット21は、線6−6(図2及び図6)に沿った取り付け部分23の部分が地面中を駆動された区域まで磨耗した。取り付け部分23は、抵抗を減少するための面の軽減を提供しても、すなわち、掘削輪郭45でさえも、側壁29、31は、後面の方に互いに近寄る。掘削輪郭45の面の軽減の存在は、少ない抵抗を負い、従って、地面中を駆動させる小さな動力が必要とする。次に、減少した抵抗は、カッターヘッドが、取り付け部分が地面を貫通する点までポイントが磨耗された状態で作動し続けることを可能とする。従来のポイント14aでは、取り付け部分23aは、後面27aの方に互いに近寄る側面29a、31aをもつ台形の横断面形状を有していない。さらに、図6Aに見られるように、取り付け部分23aの前端部40aを取り囲む線6a−6aで切った掘削輪郭45aの前面25aから外方へ広がる(発散する)。掘削輪郭の面の軽減の欠如は、本発明のポイント14と比較すると、特に地面を駆動されるときにポイント14aに大きな抵抗を負わせる。この状態でポイント14aによって生じる大きな抵抗で、多くのオペレーターは、たとえビット21aが完全にぼろぼろでなくても、取り付け部分23aが地面を駆動し始めると、ポイントを取り替えるであろう。本発明では、ポイント14は、ビット21がさらにぼろぼろになるまでベース12にとどまることができる。
好適な構成では、側壁29、31の先細りは、ポイント14の前端部37から後端部4
7まで続く。図7に見られるように、側壁29、31は、取り付け部分23の後部でさえも後面27の方に互いに近寄る。さらに、面の軽減は、線8−8(図2及び図8)で沿った掘削輪郭55でさえも提供され、すなわち、この後方の掘削輪郭55でさえも側壁29、31は、後面27の方に互いに近寄る。
上述のように、ビット21の面の軽減を有するポイント14及び取り付け端部23の使用は、実質的にあらゆるノーズ及びソケット形状に使用されることができる。それにもかかわらず、ある好適な構成では、ノーズ18の前端部58は、凸面でかつ二つの垂直軸線を中心にして湾曲した、前方に向いた支持面60を含む(図1、図9、図11−14)。同様に、ソケット20の前端部62は、支持面60と接面する相補的に凹面で湾曲した支持面64で形成される(図1、図7、図9及び図11)。図示の構成では、前支持面60、64は、それぞれ、球面部分と合致し、例えば参照により完全に本明細書に組み込まれた米国特許第6729052号に開示されたような非軸線荷重の適用で構成要素のひずみを小さくする。
好ましくは、前端部58、62は、それぞれ、ポイント14とベース12との間のガタガタするのを減少するための概ね半球形であり、全方向からの荷重をより効果的に耐える。ソケット20の前支持面64は、(すなわち、結合しないであるいは底を打たないで)さまざまなベースへのポイント14の取り付けを確実に適応させるためにその端部及び中心が半球よりもわずかに幅が広い方が望ましいが、それは、共通の荷重叉は伴う磨耗を受けてベース12の半球形状の球面に関する確実な半球形ソケットとして作用する。従来の歯10a(図2A)では、歯が地面に押し付けられるときにポイント14aは、ノーズ上であちこちに移動する。ソケット及びノーズの前端部は、平らな支持面及び鋭いコーナーで角張っている。使用中、ノーズの前端部に抗してその前端部の周りをガタガタ動くと共に、ソケット20aの後部がノーズの後端部に抗してその後端部の周りをガタガタ動くように、ポイント14aはノーズ上であちこちに移動する。この移動及びガタガタの動きは、ポイント及びノーズを磨耗させる。本発明では、概ね半球形状の前支持面60、64の使用は、ソケット20及びノーズ18の前端部でのガタガタな動きを減少する(図1及び図9)。むしろ、滑らかな連続した前支持面の使用は、ポイントがノーズを中心にして回転するのを許容し、磨耗を減少する。縦軸線28に実質的に平行な小さな帯部65は、磨耗しても所望の支持をまだ維持するノーズの付加的な能力を提供するために、概ね半球形状の支持面の後方に直線的に伸びるのが好ましい。用語“実質的に平行な”は、平行な面及び製造叉は他の目的のために(例えば、約1度乃至7度の)小さな角度で軸線28から後方に軸方向に外方へ広がる面を含むことを意味する。小さな帯部65は、軸線28に対してわずか5度で軸方向に傾斜されるのが好ましく、約2、3度で軸方向に傾斜されるのがさらに好ましい。
ノーズ18は、前端部58の後方に本体66を含む(図11乃至図14)。本体66は、上面68、下面69及び側面70、71によって画定される。好適な構成では、掘削の厳しさに耐えるより強度なノーズを提供するためにノーズ18が前端部58から外方に広がるように、本体の面68−71は、後方に発散する。それにもかかわらず、上面68及び下面69だけが互いから発散することができると共に、側面70、71が互いに対して実質的に平行に軸方向に伸びることができる。ソケット20は、本体66を受け入れるために前端部62の後方に主要部分76を有する。主要部分76は、本体の面68−71に適合する上壁78、下壁79及び側壁80、81を含む。好適な実施例では、本体66及び主要部分76は、それぞれ、台形状の横断面形状を有する。ノーズ18及びソケット20の長さに沿った、優れた台形形状の使用は、軸線28を中心とした磨耗部材14の回転に抵抗するために離間された隆起部として作用する四つの隅部67、77を提供する。
また、好適実施例では、本体の面68−71及びソケット78−81の少なくとも一つ
の面(好ましくはそれらの全ての面)は、相互に湾曲した形状を有し(図7、11及び13)、すなわち、本体の面68−71は、本体66の4つの面の各々に谷間84を画定するためにそれらの幅全体に実質的にわたってくぼんで曲がっているのが好ましい。同様に、ソケットの壁78−81は、谷間84に受け入れられる突出部86を画定するためにそれらの幅全体に実質的にわたって凸状に曲がっているのが好ましい。それらの幅全体に実質的にわたるノーズの面68−71及びソケットの壁78−81の好適な曲がりは、隅部67、77を強調し、動作中にベース12を中心としたポイント14の回転に対して増大した抵抗を提供する。また、谷間84及び突出部86は、ベース上のポイントの回転的なガタガタな動きを減少する。曲がった面68−71及び壁78−81が好ましいが、例えば参照により本明細書に組み込まれた米国特許出願第11/706582号に開示されたような他の谷間及び突出部の形状が使用されることができる。また、他の回転に抵抗する構成が使用されることができる。
谷間84及び突出部86の使用、及び、特に面68−71及び壁78−81の幅全体に実質的にわたって漸進的に曲がって伸びるものの使用は、ノーズ18へのポイント14の組み入れを容易にし、すなわち、組み入れ中に、谷間84及び突出部86は、ノーズ18の適切な組み入れ位置にポイント14を協働的に導く。例えば、ポイント14が、ノーズに嵌合する際にノーズに対して適切な整合から外れてノーズ18に初期に入れられた場合、ポイントがノーズ18の奥の方に入れられるに従って、谷間84に収容される突出部86の係合が適当な整合にポイントを回転させる。この谷間84及び突出部86の協働的作用は、隅部77への隅部67の取り付け及び設置を非常に容易にすると共に大きく促進する。また、いくつかの変形は、ソケットがノーズの形状と優越して適合する限り、ソケット及びノーズの形状間で使用されることができる。
谷間84を有するノーズの面68−71は、好ましくは各々が軸方向に傾斜し、ノーズ18の後方の安定化面85に届くまでノーズ18に強度を提供するために後方に伸びるように外方に広がる。同様に、突出部86を有するソケットの壁78−81もまた面68−71に合致するように各々が広がる。また、ソケットの壁78−81は、安定化面95を画定し、安定化面85に接面する。後方の安定化面85、95は、縦軸線28に対して実質的に平行である。好適実施例では、各安定化面85、95は、軸線28に対して約7度の角度で後方に軸方向に拡散する(広がる)。また、後方安定化面85、95は、軸方向でない荷重により耐えるために、ノーズ18及びソケット20を包囲する(あるいは少なくとも実質的に包囲する)のが好ましい。様々なソケット面とノーズとの間の接触は、掘削動作中おそらく生じるであろうが、対応する前支持面60、64と後方安定化面85、95との間の接触は、歯にかかった荷重に対する重要な抵抗を提供し、それによって、所望の安定(性)を提供する。安定化面85、95は短い軸方向の伸長部で形成されるのが好ましいが、これらは長くもできるし、異なる構成にもすることができる。また、ある環境では、例えば、少ない仕事量の稼動では、安定化面85、95なしで利益が達成されることができる。
前支持面60、64及び後方安定化面85、95は、ノーズに対してポイントを安定にすることを提供すると共に、構成要素のひずみを小さくすることを提供する。一般に、ノーズ18及びソケット20の前端部58、62の半球形の支持面60、64は、それらの力がかかる方向に関係なく荷重に直接対抗して軸方向及び軸方向でない後方への力に安定して抵抗することができる。この曲がった連続した前支持面の使用は、ノーズに対するポイントのガタガタの動きを低減し、隅部が存在するときに別に存在する圧力の集中を減少する。後方の安定化面85、95は、ポイントの後方でのガタガタな動きを減少すると共に、参照により本明細書に組み込まれた米国特許第5709043号に開示されたようなポイントの後方部分に安定した抵抗を提供することによって、前支持面60、64を相互補完する。ノーズ18の全周囲についてあるいは少なくとも実質的に全周囲について伸び
る安定化面85、95に関し(図7、9、11−14)、それらは、あらゆる方向にかかる軸方向に導かれていない荷重を抵抗することができる。
ソケット20の主要部分76は、適合的な形状のノーズ18を受け入れるために概ね台形形状の横断面形状を有する(図7及び図11)。ソケット20の概ね台形形状の横断面形状は、ポイント14の外面97の概ね台形形状の横断面形状を全体的にならう。このソケット20及び外面97の協働的形状は、ポイント14内に受け入れられることができるノーズ18のサイズを最小にし、鋳造プロセスでのポイント14の製造を容易にし、重量比率に対する強度を高める。
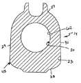
いろいろな種類の様々なロックが磨耗部材14をベース12に着脱可能に固定するのに使用されることができる。それにもかかわらず、好適実施例では、ロック16は、他の場所にも形成されることができるが好ましくは後壁27に形成された磨耗部材14の開口101の中に収容される(図1、9、15−20)。好ましくは、開口101は、軸方向に伸長した形状を有すると共に前壁103、後壁105及び側壁107、109を含む。リム111はロックの保護及び付加的な強度のために開口101の周囲に建てられている。また、リム111は、後壁105に沿って拡張されており、外面97のさらに外側に伸び、ロック16を通過するための穴113を画定する。その穴は、ロック16の位置を安定にし、オペレーターによってロックに容易にアクセスするのを許容する。
ノーズ18は、ノーズ18の上側68から外側に突出してロック16と係合するストップ115を含む。ストップ115は、好ましくは、ロック16の前端部123が受け入れられると共に使用中に保持される凹上に曲がった凹部121を有する後面119を有するが、他の構成がロックと協働するのに使用されることができる。好適な構成では、開口101は、十分に長く、後壁27は十分に傾斜して磨耗部材14がノーズ18に組み入れられたときにストップ115に対してクリアランスを提供する。それにもかかわらず、ストップ115の通路に対して必要であれば、クリアランスのレリーフ叉は他の形状がソケット20に提供されることができる。さらに、ストップ115の突出は、ロック16の一部分を受け入れるためにくぼみ118の提供によって制限されるのが好ましい。
ロック16は、概ね軸方向に配向された線状ロックであり、磨耗部材14をベース12に固定し、磨耗部材14のノーズ18への嵌合を締結する。概ね軸方向に配向された線状ロックは、磨耗部材14のノーズ18への嵌合を締結するロックの機能を増大し、すなわち、取り込みの大きな長さを提供する。好適な実施例では、ロック16は、前端部123とヘッド134を有する後端部とを有する螺子付きシャフト130と、シャフト130に螺合されたナット136と、スプリング138とを含む(図1、9、15−20)。スプリング138は、好ましくはワッシャーの形態であるスペーサ142によって分離された、発泡体、ゴムあるいは他の弾性材料で構成された一連のエラストマーディスク140で形成されるのが好ましい。複数のディスク140は、十分な力、弾性、取り込みを提供するのに使用される。ワッシャーは、エラストマーディスクが一連の個々のスプリング部材として作用するようにエラストマーディスクを分離する。ワッシャー142は、プラスチックで構成されるのが好ましいが、他の材料で作られることができる。さらに、好適な構成のスプリングは、シャフト130に作り組み入れるのに経済的である。それにもかかわらず、他の種類のスプリングが使用されることができる。スラストワッシャー142a叉は他の手段が十分な支持を提供するためにスプリングの端部に提供されるのが好ましい。
シャフト130は、スプリング138を中心的に貫通してナット136と係合する。シャフト130の前端部123は、凹部121の中に嵌り、シャフト130が支持のためのストップ115に設置される。ロック16の後端部134は、磨耗部材14の穴113を貫通し、使用者は、開口101の外部でロックを利用することができる。ヘッド134が
より容易に利用されるようにシャフトは軸線28に対して角度をなして設置されるのが好ましい。スプリング138は、ロックが締結されるときに磨耗部材に付勢力をかけることができるように後壁105とナット136との間に設定される。穴113はヘッド134がロック16のアッセンブリ10への取り付け中通過することができるためにヘッドよりも大きい方が好ましい。また、シャフト130を単に上方から挿入することに対応するために穴113は、オープンスロットとして形成されることができる。構造と係合する他の手段が図示のヘッド134の代わりに使用されることができる。
使用では、磨耗部材14は、ノーズ18上を摺動し、ノーズ18がソケット20の中に嵌合する(図1及び図9)。ロックは、開口101の外側にあるシャフト130に取り付けられる着脱可能なリテイナー(例えば単なるワイヤリボン)によって、出荷、保管及び/叉は設置のために穴113に暫定的に保持されることができ、あるいは、ロックは磨耗部材がノーズに嵌合された後に取り付けられることができる。とにかく、シャフト130は、穴113に挿入され、その先端はストップ115の凹部121に設置される。ロック16は、ノーズ18の外面に沿って横たわるように配置されるため、荷重に抵抗するためのロックを収容するために穴、スロットあるいは同様なものはノーズに形成される必要がない。ヘッド134は、ツールに係合されツールによって回転されて、磨耗部材を保持するために圧縮状態にロックを締結する。すなわち、シャフト130は、ナット136に対して回転させられ、前端部123がストップ115を押圧する。次に、この動きは、ナット136をスプリング138の後方に引き、スプリングはナット136と後壁105との間で圧縮される。このロックの締結は、使用中のきちんとした嵌合のため及び磨耗しないために、磨耗部材14をノーズ18上できつく(すなわち、前支持面60、64が係合された状態で)引っ張る。続けられたシャフト130の回転はさらにスプリング138を圧縮する。そして、圧縮されたスプリング138は、ノーズ及びソケットが磨耗し始めるにつれて磨耗部材14を後方に付勢する。好適なノーズ18及びポイント14の安定(性)は、軸方向のロックの使用を許容する。すなわち、実質的に曲げ(応)力がロックにかからず、ボルトの軸方向の高い圧縮力を磨耗部材をベースに保持するのに使用することができる。ロック16は、軽量で、打ち子がなく(ハンマーレス)、製造が容易であり、大きなスペースを使用とせず、そして、ノーズにあらゆる開口を必要としない。
好適な構成では、ロック16は、また、ナット136に関連してシャフト130に嵌合するインジケーター146を含む(図15−20)。インジケーター146は、鋼鉄あるいは他の強固な材料で形成されたプレートであるのが好ましく、側縁部148、149は、開口101の側壁107、109に接近して適合された側縁部148、149を有するが、開口101の中にぴったりと嵌合していない。インジケーター146は、シャフト130が回転されたときにナットの回転を防止するためにナット136を完全に叉は部分的に収容する開口を含む。側壁107、109に対する側縁部148、149の接近した受容は、インジケーター146が回転するのを防止する。代替的に、インジケーターは、ナットとして機能する螺子付ボアを有することができ、インジケーターが省略された場合には他の手段がナット136を回転しないように保持することが必要とされる。また、インジケーター146は、ナット136から分離することができる。
インジケーター146は、シャフト130及び/叉はスプリング138に過度の力をかけないで磨耗部材に所望の圧力をかけるためにシャフト130が適当に締結されたときの視覚的表示を提供する。好適な構成では、インジケーター146は、開口101に沿って、例えばリム111及び/叉は側壁107、109に沿って形成されたマーカー152と協働する。マーカー152は、側壁107、109の一方叉は双方に沿ってリム111にあるのが好ましいが他の構成を有することができる。マーカー146は、縁部あるいは単なる表示よりもすぐれた構造であるのが好ましく、初期の締結時と同様に、磨耗が発生し始めるときにロック16を再度締結するのに使用されることができる。
シャフト130が回転されてナット136が後方に引っ張られると、インジケーター146は、開口101内でナット136と共に(図16の位置から)後方に動く。インジケーター146がマーカー152と整合すると(図15)、オペレーターは締結を止めることがわかる。この位置で、ノーズ及び/叉はソケットの磨耗に関係なく、磨耗部材14に予め決められた力をかける。従って、ロックの締結不足及び過締結を容易に避けることができる。代替として、インジケーター146を省略することができ、シャフト130は、予め決められたトルク量まで締結されることができる。
本発明のさまざまな特徴が最適な実施及び利点に対して互いに使用されるのが好ましい。それにもかかわらず、さまざまな特徴が個々に使用されることができ、それらが各々提供する有益を提供する。
本発明のさまざまな特徴が最適な実施及び利点に対して互いに使用されるのが好ましい。それにもかかわらず、さまざまな特徴が個々に使用されることができ、それらが各々提供する有益を提供する。
以上説明したように、本発明は以下の形態を有する。
[形態1]
掘削装置のための磨耗部材であって、
縦軸線に沿って概ね整合された作用部分及び取り付け部分であって、取り付け部分は掘削装置に固定されたベースを受け入れるためのソケットを含む、作用部分及び取り付け部分と、
掘削作業中に地面中を磨耗部材が推進する間、前方面になるように適合された前面と、
地面中を磨耗部材が推進する間、後方面になるように適合された後面とを備え、
前面及び後面は、作用部分及び取り付け部分にわたって軸方向に伸び、取り付け部分の少なくとも一部に沿った縦軸線に垂直な横断面に関して前面は後面よりも大きな幅を有する磨耗部材。
[形態2]
形態1記載の磨耗部材において、
磨耗部材をベースに固定するためのロックを受け入れる開口を含む磨耗部材。
[形態3]
形態1記載の磨耗部材において、
作用部分は、細長いビットである磨耗部材。
[形態4]
形態1記載の磨耗部材において、
取り付け部分は、縦軸線に垂直な概ね台形の横断面形状を有する磨耗部材。
[形態5]
形態4記載の磨耗部材において、
作用部分は、縦軸線に垂直な概ね台形の横断面形状を有する磨耗部材。
[形態6]
形態4記載の磨耗部材において、
取り付け部分の実質的に全長さは、縦軸線に垂直な概ね台形の横断面形状を有する磨耗部材。
[形態7]
形態1記載の磨耗部材において、
ベースに形成された谷間に勘合する突出部を画定するために、ソケットの少なくとも一つの壁は内方に曲がっている磨耗部材。
[形態8]
形態1記載の磨耗部材において、
ソケットは、概ね台形の横断面形状を有する磨耗部材。
[形態9]
形態8記載の磨耗部材において、
台形形状を画定するソケットの各壁は、壁の幅全体に実質的にわたって概ね凸状に曲がった形状を有する磨耗部材。
[形態10]
形態1記載の磨耗部材において、
作用部分の少なくとも一部に沿った縦軸線に垂直な横断面に関して前面は後面よりも大きな幅を有する磨耗部材。
[形態11]
掘削装置のための磨耗部材であって、
縦軸線に沿って概ね整合された作用部分及び取り付け部分であって、取り付け部分は掘削装置に固定されたベースを受け入れるためのソケットを含む、作用部分及び取り付け部分と、
掘削作業中に地面中を磨耗部材が推進する間、前方面になるように適合された前面と、
地面中を磨耗部材が推進する間、後方面になるように適合された後面とを備え、
前面及び後面は、作用部分及び取り付け部分にわたって軸方向に伸び、前面と後面との間に伸びる側壁が、取り付け部分の少なくとも前部分の掘削輪郭の後面の方へ概ね互いに近寄り、掘削輪郭は、掘削路の中心ポイントで地面中の移動方向に平らに伸びると共に、少なくとも一つの掘削角度に対して縦軸線に対して横方向に垂直に伸びる横断面である磨耗部材。
[形態12]
形態11記載の磨耗部材において、
磨耗部材をベースに固定するためのロックを受け入れる開口を含む磨耗部材。
[形態13]
形態11記載の磨耗部材において、
側壁は、取り付け部分の長さ全体に実質的にわたる掘削輪郭の後面の方へ概ね互いに近寄る磨耗部材。
[形態14]
形態11記載の磨耗部材において、
作用部分は、細長いビットである磨耗部材。
[形態15]
掘削装置のための磨耗部材であって、
縦軸線に沿って概ね整合された作用部分及び取り付け部分を備え、
取り付け部分は掘削装置に固定されたベースを受け入れるためのソケットを含み、
ソケットは、縦軸線に対して概ね台形形状の横断面を有し、各々が内方に湾曲に曲がった面によって画定される磨耗部材。
[形態16]
形態15記載の磨耗部材において、
ソケットの面は、面の幅全体に実質的にわたって内方に曲がっている磨耗部材。
[形態17]
形態15記載の磨耗部材において、
ソケットの前端部は、概ね半球形の前支持面を含む磨耗部材。
[形態18]
形態15記載の磨耗部材において、
磨耗部材をベースに固定するためのロックを受け入れる開口を含む磨耗部材。
[形態19]
掘削装置のための磨耗部材であって、
縦軸線に沿って概ね整合された作用部分及び取り付け部分を備え、
取り付け部分は掘削装置に固定されたベースを受け入れるためのソケットを含み、
ソケットは、概ね半球形の前支持面を画定する前端部と、前端部の後方に主要部分とを含む磨耗部材。
[形態20]
形態19記載の磨耗部材において、
主要部分は、縦軸線に対して概ね台形形状の横断面を有する磨耗部材。
[形態21]
形態19記載の磨耗部材において、
主要部分は、縦軸線に対して実質的に平行に軸方向に伸びる少なくとも一つの安定化面を含む磨耗部材。
[形態22]
形態19記載の磨耗部材において、
磨耗部材をベースに固定するためのロックを受け入れる開口を含む磨耗部材。
[形態23]
掘削装置のための磨耗部材であって、
縦軸線に沿って概ね整合された作用部分及び取り付け部分を備え、
取り付け部分は掘削装置に固定されたベースを受け入れるためのソケットを含み、
ソケットは、縦軸線に対して垂直である二つの軸線を中心にして凹状に曲がった前支持面を画定する前端部と、縦軸線に対して概ね台形形状の横断面を有する前端部の後方に主要部分とを含む磨耗部材。
[形態24]
形態23記載の磨耗部材において、
磨耗部材をベースに固定するためのロックを受け入れる開口を含む磨耗部材。
[形態25]
掘削装置のための磨耗部材であって、
縦軸線に沿って概ね整合された作用部分及び取り付け部分を備え、
取り付け部分は掘削装置に固定されたベースを受け入れるためのソケットを含み、
ソケットは、概ね半球形の前支持面を画定する前端部と、前端部の後方に主要部分とを含み、
主要部分は、縦軸線に対して実質的に平行に軸方向に伸びると共にソケットの外周を実質的に横切って伸びる安定化面を含む磨耗部材。
[形態26]
形態25記載の磨耗部材において、
主要部分は、縦軸線に対して横切る概ね台形形状の横断面を有する磨耗部材。
[形態27]
形態25記載の磨耗部材において、
磨耗部材をベースに固定するためのロックを受け入れる開口を含む磨耗部材。
[形態28]
掘削装置のための磨耗部材であって、縦軸線に沿って概ね整合された作用部分及び取り付け部分を備え、
取り付け部分は、掘削装置に固定されたベースを受け入れるためのソケットと、磨耗部材を掘削装置に着脱可能に保持するロックを受け入れるためにソケットと連通した開口とを含み、
開口は、前壁及び後壁を有し、後壁は、ロックの締結のためにオペレーターが容易に利用するためにロックが縦軸線に対して傾斜した角度で開口から貫通する穴を含む磨耗部材。
[形態29]
形態28記載の磨耗部材において、
ロックが十分に締結されたときにオペレーターに視覚的表示を提供するためにマーカーが開口に隣接して提供される磨耗部材。
[形態30]
形態28記載の磨耗部材において、
ソケットは、穴の後方に配置された、縦軸線に対して実質的に平行に軸方向に伸びる後安定化面を含む磨耗部材。
[形態31]
掘削装置のための磨耗アッセンブリであって、
掘削装置に固定されたベースと、
縦軸線に沿って概ね整合された作用部分及び取り付け部分を有する磨耗部材とを備え、
取り付け部分は、掘削装置に固定されたベースを受け入れるためのソケットと、掘削作業中に地面中を磨耗部材が推進する間、前方面になるように適合された前面と、地面中を磨耗部材が推進する間、後方面になるように適合された後面とを含み、前面及び後面は、作用部分及び取り付け部分にわたって軸方向に伸び、取り付け部分の少なくとも一部に沿った縦軸線に垂直な横断面に関して前面は後面よりも大きな幅を有し、磨耗アッセンブリは、更に、磨耗部材をベースに着脱可能に固定するためのロックを備える磨耗アッセンブリ。
[形態32]
形態31記載の磨耗アッセンブリにおいて、
ベースは、ソケットの中に受け入れられたノーズを含み、ノーズ及びソケットは、各々、縦軸線に垂直な概ね台形の横断面形状を有する磨耗アッセンブリ。
[形態33]
形態31記載の磨耗アッセンブリにおいて、
ベースは、ソケットの中に受け入れられたノーズを含み、ノーズは複数の谷間を含み、ソケットは、谷間に受け入れられる複数の突出部を含む磨耗アッセンブリ。
[形態34]
掘削装置のための磨耗アッセンブリであって、
掘削装置に固定されたベースと、
縦軸線に沿って概ね整合された作用部分及び取り付け部分を有する磨耗部材とを備え、
取り付け部分は、掘削装置に固定されたベースを受け入れるためのソケットと、掘削作業中に地面中を磨耗部材が推進する間、前方面になるように適合された前面と、地面中を磨耗部材が推進する間、後方面になるように適合された後面とを含み、
前面と後面との間に伸びる側壁が、取り付け部分の少なくとも前部分の掘削輪郭の後面の方へ概ね互いに近寄り、掘削輪郭は、掘削路の中心ポイントで地面中の移動方向に平らに伸びると共に、少なくとも一つの掘削角度に対して縦軸線に対して横方向に垂直に伸びる横断面であり、磨耗アッセンブリは、更に、磨耗部材をベースに着脱可能に固定するためのロックを備える磨耗アッセンブリ。
[形態35]
掘削装置のための磨耗アッセンブリであって、
掘削装置に固定されたベースと、
縦軸線に沿って概ね整合された作用部分及び取り付け部分を有する磨耗部材とを備え、
取り付け部分は、縦軸線に対して概ね台形形状の横断面を有すると共に各々が内方に湾曲に曲がった面によって画定されるソケットを有し、磨耗アッセンブリは、更に、磨耗部材をベースに着脱可能に固定するためのロックを備える磨耗アッセンブリ。
[形態36]
形態31記載の磨耗アッセンブリにおいて、
ベースは、ソケットの形状に実質的に合致するために、縦軸線に対して概ね台形形状の横断面を有するノーズを含む磨耗アッセンブリ。
[形態37]
掘削装置のための磨耗アッセンブリであって、
掘削装置に固定されると共に、第1面を含むベースと、
縦軸線に沿って概ね整合された作用部分及び取り付け部分を有する磨耗部材とを備え、
取り付け部分は、ベースを受け入れるソケットと、第2面を有する開口とを有し、
磨耗アッセンブリは、更に、
縦軸線と概ね同じ方向に配向され、磨耗部材をベースに着脱可能に保持するために圧縮状態に第1面と第2面との間に嵌合する細長いロックを備える磨耗アッセンブリ。
[形態38]
形態37記載の磨耗アッセンブリにおいて、
ロックは、第1面に抗する螺子付シャフトと、螺子付シャフトに螺合されるナットと、第2面とナットの間で圧縮される、シャフトを中心としたスプリングとを含む磨耗アッセンブリ。
[形態39]
磨耗部材を掘削装置に取り付けるための方法であって、
ノーズがソケットの中に受け入れられるように掘削装置に固定されたノーズに、ソケットを有する磨耗部材を嵌合することと、
磨耗部材の開口に細長いロックを配置し、ロックの第1の支持面がノーズの支持面に合致し、ロックの第2の支持面が磨耗部材の支持面に合致し、ロックの縦軸線が、磨耗部材がノーズに嵌合する方向に概ね配向されることと、
ノーズへの磨耗部材の嵌合を締結するためにロックを調整し、磨耗部材をベースに保持するために圧縮状態にロックをすることとを備える方法。
[形態40]
形態39記載の方法において、
ロックは、第1面に抗する螺子付シャフトと、螺子付シャフトに螺合されるナットと、第2面とナットの間で圧縮される、シャフトを中心としたスプリングとを含む方法。
[形態41]
磨耗部材を掘削装置に取り付けるための方法であって、
ノーズの一方側から外方に突出するストップを有する、掘削装置に固定されたノーズを提供することと、
ノーズにソケットを有する磨耗部材を嵌合し、磨耗部材を貫通する開口がストップの後方にストップと概ね軸方向に整合して配置されることと、
ロックをストップと開口の壁に接するようにノーズの外面に沿って配置し、磨耗部材をノーズに着脱可能に保持することとを備える方法。
[形態42]
形態41記載の方法において、
ストップと開口の壁との間で圧縮状態にされるようにロックが締結される方法。
[形態43]
磨耗部材を掘削装置に取り付けるための方法であって、
ノーズがソケットの中に受け入れられるように掘削装置に固定されたノーズに、ソケットを有する磨耗部材を嵌合することと、
ロックの第1の支持面がノーズの支持面に合致し、ロックの第2の支持面が磨耗部材の支持面に合致するようにロックを配置することと、
ロックの視覚的インジケーターが磨耗部材のマーカーと概ね整合するまで、ノーズへの磨耗部材の嵌合を締結するためにロックを調整することとを備える方法。
[形態44]
磨耗部材を掘削装置に固定されたベースに着脱可能に固定するためのロックであって、
ロックは、支持端部及びツールと係合する端部とを有する直線状の螺子付シャフトと、螺子付シャフトに螺合されるナットと、交互に配置されると共に、支持端部とナットの間でシャフトを中心にして嵌合した、複数の環状のエラストマーディスク及び環状のスペーサを含むスプリングとを備えるロック。

Claims (44)

  1. 掘削装置のための磨耗部材であって、
    縦軸線に沿って概ね整合された作用部分及び取り付け部分であって、取り付け部分は掘削装置に固定されたベースを受け入れるためのソケットを含む、作用部分及び取り付け部分と、
    掘削作業中に地面中を磨耗部材が推進する間、前方面になるように適合された前面と、
    地面中を磨耗部材が推進する間、後方面になるように適合された後面とを備え、
    前面及び後面は、作用部分及び取り付け部分にわたって軸方向に伸び、取り付け部分の少なくとも一部に沿った縦軸線に垂直な横断面に関して前面は後面よりも大きな幅を有する磨耗部材。
  2. 請求項1記載の磨耗部材において、
    磨耗部材をベースに固定するためのロックを受け入れる開口を含む磨耗部材。
  3. 請求項1記載の磨耗部材において、
    作用部分は、細長いビットである磨耗部材。
  4. 請求項1記載の磨耗部材において、
    取り付け部分は、縦軸線に垂直な概ね台形の横断面形状を有する磨耗部材。
  5. 請求項4記載の磨耗部材において、
    作用部分は、縦軸線に垂直な概ね台形の横断面形状を有する磨耗部材。
  6. 請求項4記載の磨耗部材において、
    取り付け部分の実質的に全長さは、縦軸線に垂直な概ね台形の横断面形状を有する磨耗部材。
  7. 請求項1記載の磨耗部材において、
    ベースに形成された谷間に勘合する突出部を画定するために、ソケットの少なくとも一つの壁は内方に曲がっている磨耗部材。
  8. 請求項1記載の磨耗部材において、
    ソケットは、概ね台形の横断面形状を有する磨耗部材。
  9. 請求項8記載の磨耗部材において、
    台形形状を画定するソケットの各壁は、壁の幅全体に実質的にわたって概ね凸状に曲がった形状を有する磨耗部材。
  10. 請求項1記載の磨耗部材において、
    作用部分の少なくとも一部に沿った縦軸線に垂直な横断面に関して前面は後面よりも大きな幅を有する磨耗部材。
  11. 掘削装置のための磨耗部材であって、
    縦軸線に沿って概ね整合された作用部分及び取り付け部分であって、取り付け部分は掘削装置に固定されたベースを受け入れるためのソケットを含む、作用部分及び取り付け部分と、
    掘削作業中に地面中を磨耗部材が推進する間、前方面になるように適合された前面と、
    地面中を磨耗部材が推進する間、後方面になるように適合された後面とを備え、
    前面及び後面は、作用部分及び取り付け部分にわたって軸方向に伸び、
    前面と後面との間に伸びる側壁が、取り付け部分の少なくとも前部分の掘削輪郭の後面の方へ概ね互いに近寄り、
    掘削輪郭は、掘削路の中心ポイントで地面中の移動方向に平らに伸びると共に、少なくとも一つの掘削角度に対して縦軸線に対して横方向に垂直に伸びる横断面である磨耗部材。
  12. 請求項11記載の磨耗部材において、
    磨耗部材をベースに固定するためのロックを受け入れる開口を含む磨耗部材。
  13. 請求項11記載の磨耗部材において、
    側壁は、取り付け部分の長さ全体に実質的にわたる掘削輪郭の後面の方へ概ね互いに近寄る磨耗部材。
  14. 請求項11記載の磨耗部材において、
    作用部分は、細長いビットである磨耗部材。
  15. 掘削装置のための磨耗部材であって、
    縦軸線に沿って概ね整合された作用部分及び取り付け部分を備え、
    取り付け部分は掘削装置に固定されたベースを受け入れるためのソケットを含み、
    ソケットは、縦軸線に対して概ね台形形状の横断面を有し、各々が内方に湾曲に曲がった面によって画定される磨耗部材。
  16. 請求項15記載の磨耗部材において、
    ソケットの面は、面の幅全体に実質的にわたって内方に曲がっている磨耗部材。
  17. 請求項15記載の磨耗部材において、
    ソケットの前端部は、概ね半球形の前支持面を含む磨耗部材。
  18. 請求項15記載の磨耗部材において、
    磨耗部材をベースに固定するためのロックを受け入れる開口を含む磨耗部材。
  19. 掘削装置のための磨耗部材であって、
    縦軸線に沿って概ね整合された作用部分及び取り付け部分を備え、
    取り付け部分は掘削装置に固定されたベースを受け入れるためのソケットを含み、
    ソケットは、概ね半球形の前支持面を画定する前端部と、前端部の後方に主要部分とを含む磨耗部材。
  20. 請求項19記載の磨耗部材において、
    主要部分は、縦軸線に対して概ね台形形状の横断面を有する磨耗部材。
  21. 請求項19記載の磨耗部材において、
    主要部分は、縦軸線に対して実質的に平行に軸方向に伸びる少なくとも一つの安定化面を含む磨耗部材。
  22. 請求項19記載の磨耗部材において、
    磨耗部材をベースに固定するためのロックを受け入れる開口を含む磨耗部材。
  23. 掘削装置のための磨耗部材であって、
    縦軸線に沿って概ね整合された作用部分及び取り付け部分を備え、
    取り付け部分は掘削装置に固定されたベースを受け入れるためのソケットを含み、
    ソケットは、縦軸線に対して垂直である二つの軸線を中心にして凹状に曲がった前支持
    面を画定する前端部と、縦軸線に対して概ね台形形状の横断面を有する前端部の後方に主要部分とを含む磨耗部材。
  24. 請求項23記載の磨耗部材において、
    磨耗部材をベースに固定するためのロックを受け入れる開口を含む磨耗部材。
  25. 掘削装置のための磨耗部材であって、
    縦軸線に沿って概ね整合された作用部分及び取り付け部分を備え、
    取り付け部分は掘削装置に固定されたベースを受け入れるためのソケットを含み、
    ソケットは、概ね半球形の前支持面を画定する前端部と、前端部の後方に主要部分とを含み、
    主要部分は、縦軸線に対して実質的に平行に軸方向に伸びると共にソケットの外周を実質的に横切って伸びる安定化面を含む磨耗部材。
  26. 請求項25記載の磨耗部材において、
    主要部分は、縦軸線に対して横切る概ね台形形状の横断面を有する磨耗部材。
  27. 請求項25記載の磨耗部材において、
    磨耗部材をベースに固定するためのロックを受け入れる開口を含む磨耗部材。
  28. 掘削装置のための磨耗部材であって、
    縦軸線に沿って概ね整合された作用部分及び取り付け部分を備え、
    取り付け部分は、掘削装置に固定されたベースを受け入れるためのソケットと、磨耗部材を掘削装置に着脱可能に保持するロックを受け入れるためにソケットと連通した開口とを含み、
    開口は、前壁及び後壁を有し、後壁は、ロックの締結のためにオペレーターが容易に利用するためにロックが縦軸線に対して傾斜した角度で開口から貫通する穴を含む磨耗部材。
  29. 請求項28記載の磨耗部材において、
    ロックが十分に締結されたときにオペレーターに視覚的表示を提供するためにマーカーが開口に隣接して提供される磨耗部材。
  30. 請求項28記載の磨耗部材において、
    ソケットは、穴の後方に配置された、縦軸線に対して実質的に平行に軸方向に伸びる後安定化面を含む磨耗部材。
  31. 掘削装置のための磨耗アッセンブリであって、
    掘削装置に固定されたベースと、
    縦軸線に沿って概ね整合された作用部分及び取り付け部分を有する磨耗部材とを備え、
    取り付け部分は、
    掘削装置に固定されたベースを受け入れるためのソケットと、
    掘削作業中に地面中を磨耗部材が推進する間、前方面になるように適合された前面と、
    地面中を磨耗部材が推進する間、後方面になるように適合された後面とを含み、
    前面及び後面は、作用部分及び取り付け部分にわたって軸方向に伸び、取り付け部分の少なくとも一部に沿った縦軸線に垂直な横断面に関して前面は後面よりも大きな幅を有し、磨耗アッセンブリは、更に、
    磨耗部材をベースに着脱可能に固定するためのロックを備える磨耗アッセンブリ。
  32. 請求項31記載の磨耗アッセンブリにおいて、
    ベースは、ソケットの中に受け入れられたノーズを含み、ノーズ及びソケットは、各々、縦軸線に垂直な概ね台形の横断面形状を有する磨耗アッセンブリ。
  33. 請求項31記載の磨耗アッセンブリにおいて、
    ベースは、ソケットの中に受け入れられたノーズを含み、ノーズは複数の谷間を含み、ソケットは、谷間に受け入れられる複数の突出部を含む磨耗アッセンブリ。
  34. 掘削装置のための磨耗アッセンブリであって、
    掘削装置に固定されたベースと、
    縦軸線に沿って概ね整合された作用部分及び取り付け部分を有する磨耗部材とを備え、
    取り付け部分は、
    掘削装置に固定されたベースを受け入れるためのソケットと、
    掘削作業中に地面中を磨耗部材が推進する間、前方面になるように適合された前面と、
    地面中を磨耗部材が推進する間、後方面になるように適合された後面とを含み、
    前面と後面との間に伸びる側壁が、取り付け部分の少なくとも前部分の掘削輪郭の後面の方へ概ね互いに近寄り、掘削輪郭は、掘削路の中心ポイントで地面中の移動方向に平らに伸びると共に、少なくとも一つの掘削角度に対して縦軸線に対して横方向に垂直に伸びる横断面であり、
    磨耗アッセンブリは、更に、
    磨耗部材をベースに着脱可能に固定するためのロックを備える磨耗アッセンブリ。
  35. 掘削装置のための磨耗アッセンブリであって、
    掘削装置に固定されたベースと、
    縦軸線に沿って概ね整合された作用部分及び取り付け部分を有する磨耗部材とを備え、
    取り付け部分は、縦軸線に対して概ね台形形状の横断面を有すると共に各々が内方に湾曲に曲がった面によって画定されるソケットを有し、
    磨耗アッセンブリは、更に、
    磨耗部材をベースに着脱可能に固定するためのロックを備える磨耗アッセンブリ。
  36. 請求項31記載の磨耗アッセンブリにおいて、
    ベースは、ソケットの形状に実質的に合致するために、縦軸線に対して概ね台形形状の横断面を有するノーズを含む磨耗アッセンブリ。
  37. 掘削装置のための磨耗アッセンブリであって、
    掘削装置に固定されると共に、第1面を含むベースと、
    縦軸線に沿って概ね整合された作用部分及び取り付け部分を有する磨耗部材とを備え、
    取り付け部分は、ベースを受け入れるソケットと、第2面を有する開口とを有し、
    磨耗アッセンブリは、更に、
    縦軸線と概ね同じ方向に配向され、磨耗部材をベースに着脱可能に保持するために圧縮状態に第1面と第2面との間に嵌合する細長いロックを備える磨耗アッセンブリ。
  38. 請求項37記載の磨耗アッセンブリにおいて、
    ロックは、第1面に抗する螺子付シャフトと、螺子付シャフトに螺合されるナットと、第2面とナットの間で圧縮される、シャフトを中心としたスプリングとを含む磨耗アッセンブリ。
  39. 磨耗部材を掘削装置に取り付けるための方法であって、
    ノーズがソケットの中に受け入れられるように掘削装置に固定されたノーズに、ソケットを有する磨耗部材を嵌合することと、
    磨耗部材の開口に細長いロックを配置し、ロックの第1の支持面がノーズの支持面に合
    致し、ロックの第2の支持面が磨耗部材の支持面に合致し、ロックの縦軸線が、磨耗部材がノーズに嵌合する方向に概ね配向されることと、
    ノーズへの磨耗部材の嵌合を締結するためにロックを調整し、磨耗部材をベースに保持するために圧縮状態にロックをすることとを備える方法。
  40. 請求項39記載の方法において、
    ロックは、第1面に抗する螺子付シャフトと、螺子付シャフトに螺合されるナットと、第2面とナットの間で圧縮される、シャフトを中心としたスプリングとを含む方法。
  41. 磨耗部材を掘削装置に取り付けるための方法であって、
    ノーズの一方側から外方に突出するストップを有する、掘削装置に固定されたノーズを提供することと、
    ノーズにソケットを有する磨耗部材を嵌合し、磨耗部材を貫通する開口がストップの後方にストップと概ね軸方向に整合して配置されることと、
    ロックをストップと開口の壁に接するようにノーズの外面に沿って配置し、磨耗部材をノーズに着脱可能に保持することとを備える方法。
  42. 請求項41記載の方法において、
    ストップと開口の壁との間で圧縮状態にされるようにロックが締結される方法。
  43. 磨耗部材を掘削装置に取り付けるための方法であって、
    ノーズがソケットの中に受け入れられるように掘削装置に固定されたノーズに、ソケットを有する磨耗部材を嵌合することと、
    ロックの第1の支持面がノーズの支持面に合致し、ロックの第2の支持面が磨耗部材の支持面に合致するようにロックを配置することと、
    ロックの視覚的インジケーターが磨耗部材のマーカーと概ね整合するまで、ノーズへの磨耗部材の嵌合を締結するためにロックを調整することとを備える方法。
  44. 磨耗部材を掘削装置に固定されたベースに着脱可能に固定するためのロックであって、
    ロックは、
    支持端部及びツールと係合する端部とを有する直線状の螺子付シャフトと、
    螺子付シャフトに螺合されるナットと、
    交互に配置されると共に、支持端部とナットの間でシャフトを中心にして嵌合した、複数の環状のエラストマーディスク及び環状のスペーサを含むスプリングとを備えるロック。
JP2017108914A 2007-05-10 2017-06-01 掘削装置のための磨耗アッセンブリ Expired - Fee Related JP6378803B2 (ja)

Applications Claiming Priority (6)

Application Number Priority Date Filing Date Title
US92882107P 2007-05-10 2007-05-10
US92878007P 2007-05-10 2007-05-10
US60/928,821 2007-05-10
US60/928,780 2007-05-10
US93048307P 2007-05-15 2007-05-15
US60/930,483 2007-05-15

Related Parent Applications (1)

Application Number Title Priority Date Filing Date
JP2015046793A Division JP2015135052A (ja) 2007-05-10 2015-03-10 掘削装置のための磨耗アッセンブリ

Publications (3)

Publication Number Publication Date
JP2017166320A true JP2017166320A (ja) 2017-09-21
JP2017166320A5 JP2017166320A5 (ja) 2017-11-02
JP6378803B2 JP6378803B2 (ja) 2018-08-22

Family

ID=40002579

Family Applications (4)

Application Number Title Priority Date Filing Date
JP2010507591A Expired - Fee Related JP5620263B2 (ja) 2007-05-10 2008-05-06 掘削装置のための磨耗アッセンブリ
JP2013182932A Expired - Fee Related JP5813068B2 (ja) 2007-05-10 2013-09-04 掘削装置のための磨耗アッセンブリ
JP2015046793A Withdrawn JP2015135052A (ja) 2007-05-10 2015-03-10 掘削装置のための磨耗アッセンブリ
JP2017108914A Expired - Fee Related JP6378803B2 (ja) 2007-05-10 2017-06-01 掘削装置のための磨耗アッセンブリ

Family Applications Before (3)

Application Number Title Priority Date Filing Date
JP2010507591A Expired - Fee Related JP5620263B2 (ja) 2007-05-10 2008-05-06 掘削装置のための磨耗アッセンブリ
JP2013182932A Expired - Fee Related JP5813068B2 (ja) 2007-05-10 2013-09-04 掘削装置のための磨耗アッセンブリ
JP2015046793A Withdrawn JP2015135052A (ja) 2007-05-10 2015-03-10 掘削装置のための磨耗アッセンブリ

Country Status (22)

Country Link
EP (4) EP2865814B1 (ja)
JP (4) JP5620263B2 (ja)
KR (5) KR101618022B1 (ja)
CN (3) CN103147480A (ja)
AP (1) AP2751A (ja)
AU (1) AU2008251647C1 (ja)
BR (4) BR122015006394B1 (ja)
CA (2) CA2686620C (ja)
CO (1) CO6241176A2 (ja)
CY (4) CY1116392T1 (ja)
DK (4) DK2889434T3 (ja)
EA (1) EA015217B1 (ja)
ES (4) ES2711820T3 (ja)
HR (4) HRP20150541T1 (ja)
LT (3) LT2889434T (ja)
MX (1) MX2009012181A (ja)
MY (3) MY154678A (ja)
NZ (2) NZ581007A (ja)
PL (4) PL2160498T3 (ja)
PT (4) PT2889434T (ja)
SI (4) SI2160498T1 (ja)
WO (1) WO2008140993A1 (ja)

Families Citing this family (25)

* Cited by examiner, † Cited by third party
Publication number Priority date Publication date Assignee Title
AU2010252228B2 (en) * 2009-05-29 2016-02-04 Metalogenia, S.L. Wear element for earth/rock working operations with enhanced wear resistance
PE20121717A1 (es) * 2009-10-30 2012-12-17 Esco Corp Conjunto de desgaste para equipo de excavacion
NL2004771C2 (en) * 2010-05-26 2011-11-29 Ihc Holland Ie Bv Tooth system.
JP5210415B2 (ja) * 2011-05-09 2013-06-12 株式会社小松製作所 建設機械のバケットツース
JP5504205B2 (ja) * 2011-05-09 2014-05-28 株式会社小松製作所 建設機械のバケットツース組立体、およびこれを備えたバケット
JO3726B1 (ar) * 2011-07-14 2021-01-31 Esco Group Llc مجموعة بطانه
US9062436B2 (en) 2011-10-07 2015-06-23 Caterpillar Inc. Implement tooth assembly with tip and adapter
US8943717B2 (en) 2011-10-08 2015-02-03 Caterpillar Inc. Implement tooth assembly with tip and adapter
US9057177B2 (en) 2011-10-08 2015-06-16 Caterpillar Inc. Implement tooth assembly with tip and adapter
US8943716B2 (en) 2011-10-10 2015-02-03 Caterpillar Inc. Implement tooth assembly with tip and adapter
CN102535537B (zh) * 2012-01-12 2014-05-07 广西大学 一维转动动臂二维转动铲斗空间可控机构式装载机
CN102535547B (zh) * 2012-01-12 2014-06-25 广西大学 一种高承载能力可控机构式装载机
CN102535545B (zh) * 2012-01-12 2014-06-25 广西大学 一种可控机构式高承载能力重型装载机
JP6333808B2 (ja) * 2012-06-01 2018-05-30 エスコ・コーポレイションEsco Corporation 掘削バケット用のリップ
CA2907659C (en) * 2013-03-18 2021-03-02 Esco Corporation Wear cap for an earth working roll
US10508418B2 (en) 2016-05-13 2019-12-17 Hensley Industries, Inc. Stabilizing features in a wear member assembly
US10407880B2 (en) 2016-06-24 2019-09-10 Caterpillar Inc. Wear member retention system for an implement
CN108505580B (zh) * 2018-03-27 2023-12-26 浙江澳德耐磨零部件有限公司 一种挖掘机和疏浚机械用齿头结构
TW202033863A (zh) 2018-10-31 2020-09-16 美商艾斯克集團有限責任公司 磨耗總成
US11634892B2 (en) 2019-11-27 2023-04-25 Hensley Industries, Inc. Excavating tooth assembly with releasable lock pin assembly
AU2021394455B2 (en) * 2020-12-11 2024-04-11 Avtru Pty Ltd Coupling assembly
US12553222B2 (en) * 2021-01-29 2026-02-17 Esco Group Llc Wear assembly, digging edge and inserts for earth working equipment
JP2024510174A (ja) * 2021-03-12 2024-03-06 エスコ・グループ・エルエルシー 摩耗アセンブリ
WO2022221217A1 (en) * 2021-04-12 2022-10-20 Esco Group Llc Wear assembly
WO2022251915A1 (en) * 2021-06-04 2022-12-08 Talon Engineering SDN. BHD. Attachment of a lip shroud

Citations (13)

* Cited by examiner, † Cited by third party
Publication number Priority date Publication date Assignee Title
JPS5018701U (ja) * 1973-06-21 1975-03-01
JPS568662U (ja) * 1979-06-27 1981-01-24
JPS59220598A (ja) * 1983-05-25 1984-12-12 エスコ・コ−ポレ−シヨン 掘削器具のための取付け装置及び取付け方法
JPS6047128A (ja) * 1983-07-26 1985-03-14 アクチボラゲツト・ボツフオ−ス・ウエア・パ−ツ 磨耗部構造
JPS61191734A (ja) * 1984-11-20 1986-08-26 アクチボラゲツト・ボツフオ−ス・ウエア・パ−ツ 土工機械用の摩耗部品構造体
JPS61261598A (ja) * 1985-05-14 1986-11-19 リチヤ−ド ロイド ロ−ンダ− 掘削歯用取付組立体
US4949481A (en) * 1989-08-04 1990-08-21 Deere & Company Digging tooth assembly
JP2002520524A (ja) * 1998-07-17 2002-07-09 エイチ アンド エル トゥース カンパニー 複数部片掘削歯組立体
JP2003511587A (ja) * 1999-10-01 2003-03-25 メタロヘニア,エセ.ア. 掘削機の歯部の組立体における改良
JP2004522028A (ja) * 2001-07-06 2004-07-22 エスコ・コーポレイション 摩耗アセンブリ
JP2004522027A (ja) * 2001-07-06 2004-07-22 エスコ・コーポレイション 掘削摩耗部品用カップリング
JP2004532947A (ja) * 2001-06-18 2004-10-28 キーシュ キャスティングス オーストラリア プロプライエタリー リミテッド ロックアセンブリおよびロック方法
JP2005509099A (ja) * 2001-11-09 2005-04-07 エスコ・コーポレイション 摩耗部材を固定するためのアセンブリ

Family Cites Families (13)

* Cited by examiner, † Cited by third party
Publication number Priority date Publication date Assignee Title
US673589A (en) * 1901-01-05 1901-05-07 Anton Veit Scuttle-door.
US857863A (en) * 1906-09-05 1907-06-25 Charles H Booth Tool-head-attaching key or wedge.
US3225467A (en) * 1963-07-15 1965-12-28 Petersen Gerald A Tooth for digging equipment used in compacted soil
US3371437A (en) * 1965-04-28 1968-03-05 Mid Continent Steel Casting Co Locking device for digger tooth
US4727663A (en) * 1985-10-24 1988-03-01 Esco Corporation Excavating tooth having a lock including a basket spring
JPH04306329A (ja) * 1991-03-31 1992-10-29 Hitachi Constr Mach Co Ltd バケット用爪具
US5526593A (en) * 1994-07-15 1996-06-18 Mobile Pulley & Machine Works, Inc. Replaceable adapter for excavating cutterhead
US5653048A (en) * 1995-11-06 1997-08-05 Esco Corporation Wear assembly for a digging edge of an excavator
US5709043A (en) * 1995-12-11 1998-01-20 Esco Corporation Excavating tooth
AUPS134802A0 (en) * 2002-03-26 2002-05-09 Shark Abrasion Systems Pty Ltd Attachment system
SE522438C2 (sv) * 2002-12-23 2004-02-10 Combi Wear Parts Ab Slitdelssystem för lösbar montering av slitdelar till en markberedningsmaskins verktyg
ITUD20040021A1 (it) * 2004-02-10 2004-05-10 Italricambi Srl Dente per benne di escavatori o simili
MX355372B (es) * 2006-03-30 2018-04-17 Esco Corp Montaje de desgaste.

Patent Citations (13)

* Cited by examiner, † Cited by third party
Publication number Priority date Publication date Assignee Title
JPS5018701U (ja) * 1973-06-21 1975-03-01
JPS568662U (ja) * 1979-06-27 1981-01-24
JPS59220598A (ja) * 1983-05-25 1984-12-12 エスコ・コ−ポレ−シヨン 掘削器具のための取付け装置及び取付け方法
JPS6047128A (ja) * 1983-07-26 1985-03-14 アクチボラゲツト・ボツフオ−ス・ウエア・パ−ツ 磨耗部構造
JPS61191734A (ja) * 1984-11-20 1986-08-26 アクチボラゲツト・ボツフオ−ス・ウエア・パ−ツ 土工機械用の摩耗部品構造体
JPS61261598A (ja) * 1985-05-14 1986-11-19 リチヤ−ド ロイド ロ−ンダ− 掘削歯用取付組立体
US4949481A (en) * 1989-08-04 1990-08-21 Deere & Company Digging tooth assembly
JP2002520524A (ja) * 1998-07-17 2002-07-09 エイチ アンド エル トゥース カンパニー 複数部片掘削歯組立体
JP2003511587A (ja) * 1999-10-01 2003-03-25 メタロヘニア,エセ.ア. 掘削機の歯部の組立体における改良
JP2004532947A (ja) * 2001-06-18 2004-10-28 キーシュ キャスティングス オーストラリア プロプライエタリー リミテッド ロックアセンブリおよびロック方法
JP2004522028A (ja) * 2001-07-06 2004-07-22 エスコ・コーポレイション 摩耗アセンブリ
JP2004522027A (ja) * 2001-07-06 2004-07-22 エスコ・コーポレイション 掘削摩耗部品用カップリング
JP2005509099A (ja) * 2001-11-09 2005-04-07 エスコ・コーポレイション 摩耗部材を固定するためのアセンブリ

Also Published As

Publication number Publication date
LT2865814T (lt) 2019-02-25
MY184361A (en) 2021-04-01
PL2910692T3 (pl) 2020-01-31
DK2889434T3 (en) 2019-04-23
SI2865814T1 (sl) 2019-03-29
EP2865814B1 (en) 2019-01-02
KR20130079578A (ko) 2013-07-10
ES2711820T3 (es) 2019-05-07
DK2865814T3 (en) 2019-03-11
JP6378803B2 (ja) 2018-08-22
EP2160498A4 (en) 2011-12-28
ES2748327T3 (es) 2020-03-16
KR20150020674A (ko) 2015-02-26
AP2009005034A0 (en) 2009-12-31
CA2880205C (en) 2016-09-27
BR122015006403B1 (pt) 2018-10-23
MY154678A (en) 2015-07-15
BR122015006401B1 (pt) 2018-10-16
EP2865814A3 (en) 2015-10-28
CO6241176A2 (es) 2011-01-20
EP2160498B1 (en) 2015-02-25
PT2160498E (pt) 2015-06-08
HK1138893A1 (en) 2010-09-03
CY1122085T1 (el) 2020-11-25
HRP20191616T1 (hr) 2019-12-13
PT2910692T (pt) 2019-10-18
AP2751A (en) 2013-09-30
EA015217B1 (ru) 2011-06-30
DK2160498T3 (en) 2015-05-11
WO2008140993A1 (en) 2008-11-20
JP2014001625A (ja) 2014-01-09
EP2910692A3 (en) 2015-11-04
CN102720244A (zh) 2012-10-10
CN102720244B (zh) 2015-05-06
PL2160498T3 (pl) 2015-07-31
EP2889434A1 (en) 2015-07-01
KR101528984B1 (ko) 2015-06-15
DK2910692T3 (da) 2019-10-07
EP2910692A2 (en) 2015-08-26
PL2865814T3 (pl) 2019-05-31
KR101589007B1 (ko) 2016-01-26
BRPI0811427B1 (pt) 2018-10-16
JP5813068B2 (ja) 2015-11-17
JP2010526953A (ja) 2010-08-05
SI2910692T1 (sl) 2019-11-29
MY171629A (en) 2019-10-22
SI2160498T1 (sl) 2015-07-31
KR101651385B1 (ko) 2016-08-25
KR20150020673A (ko) 2015-02-26
HRP20190291T1 (hr) 2019-04-05
KR20100023857A (ko) 2010-03-04
HRP20150541T1 (hr) 2015-07-03
HRP20190616T1 (hr) 2019-05-31
EP2889434B1 (en) 2019-03-06
BR122015006394A2 (pt) 2018-04-03
AU2008251647C1 (en) 2016-12-22
BR122015006394B1 (pt) 2018-10-16
KR101618022B1 (ko) 2016-05-03
NZ597854A (en) 2013-05-31
NZ581007A (en) 2012-02-24
JP2015135052A (ja) 2015-07-27
PL2889434T3 (pl) 2019-07-31
PT2889434T (pt) 2019-05-03
SI2889434T1 (sl) 2019-06-28
MX2009012181A (es) 2009-12-09
CN101688385B (zh) 2013-08-14
CN103147480A (zh) 2013-06-12
ES2719133T3 (es) 2019-07-08
CY1121239T1 (el) 2020-05-29
BR122015006401A2 (pt) 2018-04-03
LT2910692T (lt) 2019-10-25
CA2880205A1 (en) 2008-11-20
AU2008251647A1 (en) 2008-11-20
CY1122000T1 (el) 2020-10-14
KR101595577B1 (ko) 2016-02-18
EP2910692B1 (en) 2019-08-07
PT2865814T (pt) 2019-02-25
EP2160498A1 (en) 2010-03-10
BRPI0811427A2 (pt) 2017-05-02
JP5620263B2 (ja) 2014-11-05
LT2889434T (lt) 2019-04-25
BR122015006403A2 (pt) 2018-04-03
ES2537085T3 (es) 2015-06-02
CY1116392T1 (el) 2017-02-08
AU2008251647B2 (en) 2012-12-06
CA2686620C (en) 2016-02-16
EA200901511A1 (ru) 2010-06-30
CN101688385A (zh) 2010-03-31
KR20150044974A (ko) 2015-04-27
EP2865814A2 (en) 2015-04-29
CA2686620A1 (en) 2008-11-20

Similar Documents

Publication Publication Date Title
JP6378803B2 (ja) 掘削装置のための磨耗アッセンブリ
US8578637B2 (en) Wear assembly for excavating equipment
US20090277050A1 (en) Wear Assembly For Excavating Equipment
AU2017202334B2 (en) Wear assembly for excavating equipment
AU2012201808A1 (en) Wear assembly for excavating equipment

Legal Events

Date Code Title Description
A521 Request for written amendment filed

Free format text: JAPANESE INTERMEDIATE CODE: A523

Effective date: 20170630

A621 Written request for application examination

Free format text: JAPANESE INTERMEDIATE CODE: A621

Effective date: 20170630

A521 Request for written amendment filed

Free format text: JAPANESE INTERMEDIATE CODE: A523

Effective date: 20170818

TRDD Decision of grant or rejection written
A01 Written decision to grant a patent or to grant a registration (utility model)

Free format text: JAPANESE INTERMEDIATE CODE: A01

Effective date: 20180628

A61 First payment of annual fees (during grant procedure)

Free format text: JAPANESE INTERMEDIATE CODE: A61

Effective date: 20180727

R150 Certificate of patent or registration of utility model

Ref document number: 6378803

Country of ref document: JP

Free format text: JAPANESE INTERMEDIATE CODE: R150

S111 Request for change of ownership or part of ownership

Free format text: JAPANESE INTERMEDIATE CODE: R313111

R350 Written notification of registration of transfer

Free format text: JAPANESE INTERMEDIATE CODE: R350

R250 Receipt of annual fees

Free format text: JAPANESE INTERMEDIATE CODE: R250

R250 Receipt of annual fees

Free format text: JAPANESE INTERMEDIATE CODE: R250

R250 Receipt of annual fees

Free format text: JAPANESE INTERMEDIATE CODE: R250

LAPS Cancellation because of no payment of annual fees