JP2017104978A - 無線通信装置を備えた携帯型電動工具 - Google Patents

無線通信装置を備えた携帯型電動工具 Download PDF

Info

Publication number
JP2017104978A
JP2017104978A JP2017010516A JP2017010516A JP2017104978A JP 2017104978 A JP2017104978 A JP 2017104978A JP 2017010516 A JP2017010516 A JP 2017010516A JP 2017010516 A JP2017010516 A JP 2017010516A JP 2017104978 A JP2017104978 A JP 2017104978A
Authority
JP
Japan
Prior art keywords
power tool
voltage source
wireless communication
voltage
tool
Prior art date
Legal status (The legal status is an assumption and is not a legal conclusion. Google has not performed a legal analysis and makes no representation as to the accuracy of the status listed.)
Granted
Application number
JP2017010516A
Other languages
English (en)
Other versions
JP6490116B2 (ja
Inventor
ヨハン エリク ウオルグレン,カール
Johan Carl Erik Wallgren
ヨハン エリク ウオルグレン,カール
Current Assignee (The listed assignees may be inaccurate. Google has not performed a legal analysis and makes no representation or warranty as to the accuracy of the list.)
Atlas Copco Industrial Technique AB
Original Assignee
Atlas Copco Industrial Technique AB
Priority date (The priority date is an assumption and is not a legal conclusion. Google has not performed a legal analysis and makes no representation as to the accuracy of the date listed.)
Filing date
Publication date
Family has litigation
First worldwide family litigation filed litigation Critical https://patents.darts-ip.com/?family=44483736&utm_source=google_patent&utm_medium=platform_link&utm_campaign=public_patent_search&patent=JP2017104978(A) "Global patent litigation dataset” by Darts-ip is licensed under a Creative Commons Attribution 4.0 International License.
Application filed by Atlas Copco Industrial Technique AB filed Critical Atlas Copco Industrial Technique AB
Publication of JP2017104978A publication Critical patent/JP2017104978A/ja
Application granted granted Critical
Publication of JP6490116B2 publication Critical patent/JP6490116B2/ja
Active legal-status Critical Current
Anticipated expiration legal-status Critical

Links

Images

Classifications

    • BPERFORMING OPERATIONS; TRANSPORTING
    • B25HAND TOOLS; PORTABLE POWER-DRIVEN TOOLS; MANIPULATORS
    • B25BTOOLS OR BENCH DEVICES NOT OTHERWISE PROVIDED FOR, FOR FASTENING, CONNECTING, DISENGAGING OR HOLDING
    • B25B21/00Portable power-driven screw or nut setting or loosening tools; Attachments for drilling apparatus serving the same purpose
    • BPERFORMING OPERATIONS; TRANSPORTING
    • B25HAND TOOLS; PORTABLE POWER-DRIVEN TOOLS; MANIPULATORS
    • B25FCOMBINATION OR MULTI-PURPOSE TOOLS NOT OTHERWISE PROVIDED FOR; DETAILS OR COMPONENTS OF PORTABLE POWER-DRIVEN TOOLS NOT PARTICULARLY RELATED TO THE OPERATIONS PERFORMED AND NOT OTHERWISE PROVIDED FOR
    • B25F5/00Details or components of portable power-driven tools not particularly related to the operations performed and not otherwise provided for
    • BPERFORMING OPERATIONS; TRANSPORTING
    • B25HAND TOOLS; PORTABLE POWER-DRIVEN TOOLS; MANIPULATORS
    • B25BTOOLS OR BENCH DEVICES NOT OTHERWISE PROVIDED FOR, FOR FASTENING, CONNECTING, DISENGAGING OR HOLDING
    • B25B23/00Details of, or accessories for, spanners, wrenches, screwdrivers
    • B25B23/14Arrangement of torque limiters or torque indicators in wrenches or screwdrivers
    • B25B23/147Arrangement of torque limiters or torque indicators in wrenches or screwdrivers specially adapted for electrically operated wrenches or screwdrivers
    • HELECTRICITY
    • H01ELECTRIC ELEMENTS
    • H01MPROCESSES OR MEANS, e.g. BATTERIES, FOR THE DIRECT CONVERSION OF CHEMICAL ENERGY INTO ELECTRICAL ENERGY
    • H01M10/00Secondary cells; Manufacture thereof
    • H01M10/42Methods or arrangements for servicing or maintenance of secondary cells or secondary half-cells
    • H01M10/46Accumulators structurally combined with charging apparatus
    • HELECTRICITY
    • H02GENERATION; CONVERSION OR DISTRIBUTION OF ELECTRIC POWER
    • H02JCIRCUIT ARRANGEMENTS OR SYSTEMS FOR SUPPLYING OR DISTRIBUTING ELECTRIC POWER; SYSTEMS FOR STORING ELECTRIC ENERGY
    • H02J9/00Circuit arrangements for emergency or stand-by power supply, e.g. for emergency lighting
    • H02J9/002Circuit arrangements for emergency or stand-by power supply, e.g. for emergency lighting in which a reserve is maintained in an energy source by disconnecting non-critical loads, e.g. maintaining a reserve of charge in a vehicle battery for starting an engine
    • YGENERAL TAGGING OF NEW TECHNOLOGICAL DEVELOPMENTS; GENERAL TAGGING OF CROSS-SECTIONAL TECHNOLOGIES SPANNING OVER SEVERAL SECTIONS OF THE IPC; TECHNICAL SUBJECTS COVERED BY FORMER USPC CROSS-REFERENCE ART COLLECTIONS [XRACs] AND DIGESTS
    • Y02TECHNOLOGIES OR APPLICATIONS FOR MITIGATION OR ADAPTATION AGAINST CLIMATE CHANGE
    • Y02EREDUCTION OF GREENHOUSE GAS [GHG] EMISSIONS, RELATED TO ENERGY GENERATION, TRANSMISSION OR DISTRIBUTION
    • Y02E60/00Enabling technologies; Technologies with a potential or indirect contribution to GHG emissions mitigation
    • Y02E60/10Energy storage using batteries

Landscapes

  • Engineering & Computer Science (AREA)
  • Mechanical Engineering (AREA)
  • Business, Economics & Management (AREA)
  • Emergency Management (AREA)
  • Power Engineering (AREA)
  • Chemical & Material Sciences (AREA)
  • Manufacturing & Machinery (AREA)
  • Chemical Kinetics & Catalysis (AREA)
  • Electrochemistry (AREA)
  • General Chemical & Material Sciences (AREA)
  • Portable Power Tools In General (AREA)
  • Transceivers (AREA)
  • Charge And Discharge Circuits For Batteries Or The Like (AREA)
  • Battery Mounting, Suspending (AREA)

Abstract

【課題】内蔵制御ユニット及び無線通信装置を備えた携帯型電動工具において、電圧源の遮断時に、工具と据置式データ処理ユニットとの間の無線通信における遅れ及び工具動作状態を再構築する際の遅れを減少する。【解決手段】電圧源22の接続用の接続端子20を備えたハウジング10と、電動機14と、内蔵動作制御ユニット16と、内蔵動作制御ユニット16及び据置式データ処理ユニット18の間で工具動作データ及び動作結果データを通信する無線通信装置17とを有し、電圧源22の遮断の発生時に、内蔵動作制御ユニット16及び無線通信装置17へ電圧を供給し続けるようにバックアップ電圧蓄積装置25が設けられる携帯型電動工具。【選択図】図1

Description

本発明は、電圧源を接続する接続端子を備えたハウジングと、電動機と、内蔵動作制御ユニットと、該動作制御ユニット及び据置式データ処理ユニットの間で工具動作データ及び動作結果データを通信する無線通信装置とを備えた携帯型電動工具に関するものである。
本発明は、無線通信装置及び動作制御ユニットが一時的に如何なる電圧供給もない状態に置かれるような時々電圧源が遮断されるバッテリー及び主電源接続型電動工具に関する。
先行技術の電動工具、例えばバッテリー給電型工具においては、電圧源すなわち電力バッテリーユニットを工具から外して、別の充電済みのバッテリーユニットを工具に接続し動力電圧供給を回復するまで、無線通信装置の動作及び工具動作の立ち上げを再構築する際の望ましくない遅れに関する問題があった。これは、無線通信装置及び制御ユニットが据置式データ処理ユニットとの無線通信を立ち上げ、そして新しいバッテリーユニットを接続して電圧を再び供給した後に工具を始動するのに10〜15秒を要するためである。電動工具の動作状態を再構築する際のこの遅れは、組立ラインに応用した場合には工具の生産性に負の影響を及ぼすので、あまりにも長すぎると考えられる。
本発明の目的は、内蔵制御ユニット及び無線通信装置を備えた携帯型電動工具において、電圧源の遮断時に、工具と据置式データ処理ユニットとの間の無線通信における遅れ及び工具動作状態を再構築する際の遅れを実質的に減少することにより工具の生産性を改善することにある。
本発明の別の目的は、内蔵制御ユニット及び無線通信装置を備えた携帯型電動工具において、電圧源の遮断時に、動作制御ユニット及び無線通信装置への電圧供給を連続して維持することによりバッテリーユニットの交換後の立ち上げにおける遅れを実質的に減少する携帯型電動工具を提供することにある。
本発明のさらに別の目的及び利点は明細書の以下の説明及び特許請求の範囲の記載から明らかとなる。
以下、添付図面を参照して本発明の一実施形態について説明する。
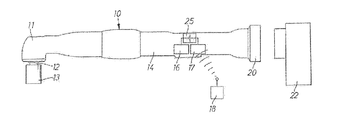
図面は電気アングルレンチの形態の電動工具を示す。
図面には電気アングルレンチの形態の電動工具を示し、該電動工具は、アングルヘッド11を備えたハウジング10と、ナットソケット13を備えた出力軸12と、電動機14とを有している。工具はさらに、略示した動作制御ユニット16及び電動工具と離れた位置に据え付けたデータ処理ユニット18との間で動作データ及び動作結果データを通信する無線通信装置17を有している。図示したパワーレンチのハウジング10は、再充電可能なバッテリーユニット22を受けるドッキング部分20を備えている。再充電可能なバッテリーユニット22は、使用期間後にバッテリーユニットを再充電できる一つ以上の同じバッテリーユニットと交換可能である。
バッテリーユニット22の取り外し時に、無線通信装置17及び制御ユニット16に電圧を供給(給電)し続けるために、バックアップ電圧蓄積装置25が設けられる。このバックアップ電圧蓄積装置25は補助バッテリーユニット又は任意の他の形式の利用可能な電圧蓄積手段例えばコンデンサ、スーパーCAP或いは任意の他の同様な装置であってもよい。
図示した電動工具はバッテリーユニットで給電されるが、本発明は主電源接続型の工具にも関するものであり、工具ハウジング10には、バッテリードッキング部分20の代わりに、主電源接続ケーブル用の図示していない接続装置が設けられる。また、電圧源として据置式の主給電網を備える電動工具では、無線通信装置17及び制御ユニット16に電圧供給(給電)をし続けて電圧供給(給電)ケーブルの一時的な分離の後でも工具を動作状態に戻す際の遅れを避けるようにすることは、電動工具による生産性を維持するために本質的なことである。従って、バックアップ電圧蓄積装置25は、本発明のこの図示していない実施形態においても本質的な部分である。
本発明による電動工具はいずれも電圧源としてバッテリーユニットか又は主給電を使用しており、バックアップ電圧蓄積装置25は、給電源が単に切り離されている期間中に無線通信装置17及び制御ユニット16に給電するように設けられるが、しかし給電源の再接続時には再充電されることになる。従って、バックアップ電圧蓄積装置25は、給電源が次の機会に分離される際に、無線通信装置17及び制御ユニット16への給電を維持できるように常に十分に充電される。上記のように、バックアップ電圧蓄積装置25は、補助バッテリーユニットの形態であることができ、そして工具のハウジングに内蔵構成要素として設けることができ、或いは工具を分解する必要なしに容易に交換できる取外し可能なモジュールとして設けることができる。
10:ハウジング
11:アングルヘッド
12:出力軸
13:ナットソケット
14:電動機
16:動作制御ユニット
17:無線通信装置
18:データ処理ユニット
20:ドッキング部分
22:再充電可能なバッテリーユニット
25:バックアップ電圧蓄積装置

Claims (5)

  1. 電圧源(22)の接続用の接続端子(20)を備えたハウジング(10)と、
    電動機(14)と、
    内蔵動作制御ユニット(16)と、
    電動工具及び据置式データ処理ユニット(18)の間で動作データ及び動作結果データを通信する無線通信装置(17)と
    を有する携帯型電動工具において、
    電圧源(22)の遮断の発生時に、電圧源(22)の再接続後の工具の動作状態を再構築するための遅れを減らすように内蔵動作制御ユニット(16)及び無線通信装置(17)へ電圧を供給し続けるよう電動工具にバックアップ電圧蓄積装置(25)が設けられる
    ことを特徴とする携帯型電動工具。
  2. 前記バックアップ電圧蓄積装置(25)が、
    電圧源(22)が単に遮断された時に電圧を供給し、かつ、
    電圧源(22)が再接続された時に電圧源(22)によって再充電される
    ように設けられている
    ことを特徴とする請求項1記載の携帯型電動工具。
  3. 電圧源(22)が再充電可能なバッテリーユニットであり、また
    接続端子(20)が
    ハウジング(10)に形成したドッキング部分から成り、かつ、
    少なくとも二つの交換可能なバッテリーユニット(22)の一つを受けるようにされている
    ことを特徴とする請求項1又は2記載の携帯型電動工具。
  4. バックアップ電圧蓄積装置(25)が、ハウジング(10)に取外し可能に装着した補助バッテリーユニットから成っている
    ことを特徴とする請求項1〜3のいずれか一項記載の携帯型電動工具。
  5. 電圧源がケーブルを介して電動工具に接続した主給電システムであり、また接続端子がケーブル接続装置である
    ことを特徴とする請求項1又は2記載の携帯型電動工具。
JP2017010516A 2010-09-30 2017-01-24 無線通信装置を備えた携帯型電動工具 Active JP6490116B2 (ja)

Applications Claiming Priority (2)

Application Number Priority Date Filing Date Title
SE1051017A SE535458C2 (sv) 2010-09-30 2010-09-30 Portabelt elektriskt verktyg med en reservspänningsackumulerande anordning
SE1051017-0 2010-09-30

Related Parent Applications (1)

Application Number Title Priority Date Filing Date
JP2013530636A Division JP6144624B2 (ja) 2010-09-30 2011-06-29 無線通信装置を備えた携帯型電力工具

Publications (2)

Publication Number Publication Date
JP2017104978A true JP2017104978A (ja) 2017-06-15
JP6490116B2 JP6490116B2 (ja) 2019-03-27

Family

ID=44483736

Family Applications (2)

Application Number Title Priority Date Filing Date
JP2013530636A Active JP6144624B2 (ja) 2010-09-30 2011-06-29 無線通信装置を備えた携帯型電力工具
JP2017010516A Active JP6490116B2 (ja) 2010-09-30 2017-01-24 無線通信装置を備えた携帯型電動工具

Family Applications Before (1)

Application Number Title Priority Date Filing Date
JP2013530636A Active JP6144624B2 (ja) 2010-09-30 2011-06-29 無線通信装置を備えた携帯型電力工具

Country Status (12)

Country Link
US (1) US20130277078A1 (ja)
EP (1) EP2621683B1 (ja)
JP (2) JP6144624B2 (ja)
KR (1) KR101868175B1 (ja)
CN (1) CN103097083B (ja)
BR (1) BR112013007568B1 (ja)
CA (1) CA2810536C (ja)
ES (1) ES2533029T3 (ja)
MX (1) MX2013003272A (ja)
RU (1) RU2564371C2 (ja)
SE (1) SE535458C2 (ja)
WO (1) WO2012041547A1 (ja)

Families Citing this family (18)

* Cited by examiner, † Cited by third party
Publication number Priority date Publication date Assignee Title
DE102010056523B4 (de) * 2010-12-29 2022-02-10 Robert Bosch Gmbh Tragbares akkubetriebenes Werkzeug mit elektrischem Pufferelement und Verfahren zum Auswechseln des Akkumulators
EP3954505B1 (en) * 2011-07-24 2024-10-02 Makita Corporation Adapter for power tools
DE102012017376B4 (de) * 2012-06-13 2024-07-11 Robert Bosch Gmbh Werkzeug und Verfahren zu dessen Betrieb
DE102013212003A1 (de) * 2013-06-25 2015-01-08 Robert Bosch Gmbh Handwerkzeugmaschine
JP6408304B2 (ja) * 2014-08-29 2018-10-17 株式会社マキタ 電動機械器具
US9756402B2 (en) 2015-05-04 2017-09-05 Milwaukee Electric Tool Corporation Power tool and method for wireless communication
CN107921618B (zh) 2015-06-15 2022-10-28 米沃奇电动工具公司 电动工具通信系统
DE102016208128A1 (de) * 2015-12-04 2017-06-08 Robert Bosch Gmbh Elektrotechnisches Erzeugnis
US10078322B2 (en) 2016-01-08 2018-09-18 Newfrey Llc Power tool system having in-station verification utilizing radio frequency signal strength
TWI811718B (zh) 2016-03-16 2023-08-11 澳門商創科(澳門離岸商業服務)有限公司 具有無線通訊的電動工具蓄電池組
DE102016204629A1 (de) * 2016-03-21 2017-09-21 Robert Bosch Gmbh Handwerkzeugmaschine
CN105945329B (zh) * 2016-05-07 2018-03-27 孙挺 一种采用无线遥控技术的用于石油勘探的钻探装置
US11622392B2 (en) * 2016-06-06 2023-04-04 Milwaukee Electric Tool Corporation System and method for establishing a wireless connection between power tool and mobile device
EP3857654A4 (en) 2018-09-28 2022-06-01 Hubbell Incorporated POWER TOOL WITH CRIMP LOCATION
MX2022016042A (es) 2020-06-21 2023-02-02 Hubbell Inc Herramienta electrica con imagen de engaste.
CN115788919A (zh) 2021-09-09 2023-03-14 创科无线普通合伙 潜水泵
JP7759025B2 (ja) * 2022-04-08 2025-10-23 マックス株式会社 電動工具
JP2023155042A (ja) * 2022-04-08 2023-10-20 マックス株式会社 電動工具

Citations (3)

* Cited by examiner, † Cited by third party
Publication number Priority date Publication date Assignee Title
JP2006203295A (ja) * 2005-01-18 2006-08-03 Sharp Corp 無線装置とそれに用いられる無線親機
JP2007274595A (ja) * 2006-03-31 2007-10-18 Mitsumi Electric Co Ltd 通信チャンネル設定方法、及び、それを用いた通信システム、並びに、通信装置
JP2009515718A (ja) * 2005-11-17 2009-04-16 アトラス・コプコ・ツールス・アクチボラグ バッテリー駆動型携帯動力工具

Family Cites Families (46)

* Cited by examiner, † Cited by third party
Publication number Priority date Publication date Assignee Title
US3801963A (en) * 1972-09-28 1974-04-02 Burroughs Corp Method and apparatus for transferring data from a volatile data store upon the occurrence of a power failure in a computer
US3859638A (en) * 1973-05-31 1975-01-07 Intersil Inc Non-volatile memory unit with automatic standby power supply
FR2261694A5 (ja) * 1973-09-05 1975-09-12 Honeywell Bull Soc Ind
US3980935A (en) * 1974-12-16 1976-09-14 Worst Bernard I Volatile memory support system
US3978457A (en) * 1974-12-23 1976-08-31 Pitney-Bowes, Inc. Microcomputerized electronic postage meter system
US4306299A (en) * 1976-06-10 1981-12-15 Pitney-Bowes, Inc. Postage meter having means transferring data from a working memory to a non-volatile memory under low power conditions
US4884242A (en) * 1988-05-26 1989-11-28 Applied Automation, Inc. Backup power system for dynamic memory
US7613590B2 (en) * 1992-11-17 2009-11-03 Health Hero Network, Inc. Modular microprocessor-based power tool system
DE4429206C2 (de) * 1994-08-18 1998-04-09 Atlas Copco Tools Ab Einrichtung zur Betriebssperre bzw. Betriebsfreigabe einer elektrischen Handwerkzeugmaschine
SE9600933D0 (sv) * 1996-03-11 1996-03-11 Atlas Copco Tools Ab Power nutrunner
EP1032964A2 (en) * 1997-11-17 2000-09-06 Lifestyle Technologies Universal power supply
US6536536B1 (en) * 1999-04-29 2003-03-25 Stephen F. Gass Power tools
US6104162A (en) * 1999-09-11 2000-08-15 Sainsbury; Simon R. Method and apparatus for multi-power source for power tools
JP2001188689A (ja) * 2000-01-04 2001-07-10 Mitsubishi Electric Corp データ処理装置
US6172478B1 (en) * 2000-02-23 2001-01-09 Telxon Corporation Power distribution in a portable device
US7443137B2 (en) * 2000-08-11 2008-10-28 Milwaukee Electric Tool Corporation Adapter for a power tool battery
SE519367C2 (sv) * 2000-11-29 2003-02-18 Atlas Copco Tools Ab Portabelt verktyg med utbytbar modul fastsatt med multikontakt för signalering och manövrering
US7110954B2 (en) * 2001-03-12 2006-09-19 University Of Hong Kong Wireless purchase and on-line inventory apparatus and method for vending machines
JP3783576B2 (ja) * 2001-05-25 2006-06-07 日立工機株式会社 充電機能付き直流電源装置
JP4250907B2 (ja) * 2002-04-23 2009-04-08 パナソニック電工株式会社 電動工具
US20040070369A1 (en) * 2002-10-11 2004-04-15 Makita Corporation Adapters for battery chargers
JP4329369B2 (ja) * 2003-03-20 2009-09-09 パナソニック電工株式会社 電動工具の使用支援方法及びその装置
US7385374B2 (en) * 2003-05-27 2008-06-10 William Marsh Rice University Adaptive power system
US7113127B1 (en) * 2003-07-24 2006-09-26 Reynolds And Reynolds Holdings, Inc. Wireless vehicle-monitoring system operating on both terrestrial and satellite networks
US7045975B2 (en) * 2003-10-14 2006-05-16 Cyberlux Corporation Apparatus and methods for providing emergency safety lighting
EP1533767B1 (en) * 2003-11-24 2007-01-10 BLACK & DECKER INC. Wireless asset monitoring and security system
US6845279B1 (en) * 2004-02-06 2005-01-18 Integrated Technologies, Inc. Error proofing system for portable tools
US7777612B2 (en) * 2004-04-13 2010-08-17 Midtronics, Inc. Theft prevention device for automotive vehicle service centers
US7750509B2 (en) * 2004-05-10 2010-07-06 Gary Anderson Power tool lockdown device
US7176656B2 (en) * 2004-06-22 2007-02-13 Campbell Hausfeld/Scott Fetzer Company Tool with battery pack
JP2006224208A (ja) * 2005-02-15 2006-08-31 Max Co Ltd 工具及び工程管理データ収集システム
SE530667C2 (sv) * 2007-01-15 2008-08-05 Atlas Copco Tools Ab Portabelt motordrivet verktyg med trådlös kommunikation med en stationär styrenhet
JP2008213069A (ja) * 2007-03-01 2008-09-18 Matsushita Electric Works Ltd 電動工具
JP2008260118A (ja) * 2007-03-20 2008-10-30 Hitachi Koki Co Ltd コードレス電動工具およびその収納ケース
US20080252446A1 (en) * 2007-04-16 2008-10-16 Credo Technology Corporation Power hand tool with data collection and storage and method of operating
US7825615B2 (en) * 2007-10-16 2010-11-02 Glj, Llc Intelligent motorized appliances with multiple power sources
CN201161377Y (zh) * 2008-02-03 2008-12-10 姜卫亮 两用便携式移动电动工具、园林工具、木工工具
SE532224C2 (sv) * 2008-02-15 2009-11-17 Atlas Copco Tools Ab Pneumatiskt kraftverktyg försett med indikeringsorgan för arbetsparametervärden
DE102008040061A1 (de) * 2008-07-02 2010-01-07 Robert Bosch Gmbh Elektrowerkzeugmaschine
DE102008040524B4 (de) * 2008-07-18 2022-10-20 Robert Bosch Gmbh Elektrowerkzeug mit einer Vorrichtung zur pulsweitenmodulierten Stromregelung
JP5210776B2 (ja) * 2008-09-25 2013-06-12 株式会社日立製作所 リチウムイオン二次電池の充放電制御装置
JP5245699B2 (ja) * 2008-09-30 2013-07-24 日立工機株式会社 電動工具
SE533612C2 (sv) * 2009-03-27 2010-11-02 Atlas Copco Tools Ab Tryckluftsdriven motorenhet med en integrerad spänningsalstrande anordning
TW201126296A (en) * 2009-09-25 2011-08-01 Panasonic Elec Works Co Ltd Monitoring and control system and monitoring and control device
JP5740563B2 (ja) * 2009-09-25 2015-06-24 パナソニックIpマネジメント株式会社 電動工具
DE102011105306A1 (de) * 2011-06-22 2012-12-27 Robert Bosch Gmbh Tragbares Werkzeug mit drahtloser Messwertübertragung

Patent Citations (3)

* Cited by examiner, † Cited by third party
Publication number Priority date Publication date Assignee Title
JP2006203295A (ja) * 2005-01-18 2006-08-03 Sharp Corp 無線装置とそれに用いられる無線親機
JP2009515718A (ja) * 2005-11-17 2009-04-16 アトラス・コプコ・ツールス・アクチボラグ バッテリー駆動型携帯動力工具
JP2007274595A (ja) * 2006-03-31 2007-10-18 Mitsumi Electric Co Ltd 通信チャンネル設定方法、及び、それを用いた通信システム、並びに、通信装置

Also Published As

Publication number Publication date
BR112013007568A2 (pt) 2020-06-02
SE1051017A1 (sv) 2012-03-31
KR101868175B1 (ko) 2018-06-15
RU2564371C2 (ru) 2015-09-27
US20130277078A1 (en) 2013-10-24
CN103097083B (zh) 2015-03-11
BR112013007568B1 (pt) 2021-01-19
EP2621683B1 (en) 2015-02-25
CA2810536A1 (en) 2012-04-05
JP6490116B2 (ja) 2019-03-27
CN103097083A (zh) 2013-05-08
MX2013003272A (es) 2013-08-21
WO2012041547A1 (en) 2012-04-05
SE535458C2 (sv) 2012-08-14
JP2013538700A (ja) 2013-10-17
EP2621683A1 (en) 2013-08-07
RU2013119998A (ru) 2014-11-10
JP6144624B2 (ja) 2017-06-07
CA2810536C (en) 2016-04-19
KR20130116246A (ko) 2013-10-23
ES2533029T3 (es) 2015-04-07

Similar Documents

Publication Publication Date Title
JP6490116B2 (ja) 無線通信装置を備えた携帯型電動工具
EP2870672B1 (en) Cordless power tool with usb charging
JP7009457B2 (ja) 軌道上を手動で摺動可動な、軌道を処理するための機械
WO2009035000A1 (ja) 電池パック
EP2641783A3 (en) Battery pack and method of controlling the same
MX2010001272A (es) Aparatos electricos portatiles de funciones multiples.
RU2011143370A (ru) Электрическая система электроинструмента
WO2012172263A3 (fr) Procede pour alimenter un accessoire electrique d'un vehicule automobile comportant une batterie electrique a laquelle ledit accessoire est raccorde
JP2018530447A (ja) 電動工具のモータを駆動する方法、電力供給システムおよび電動工具
US10170928B2 (en) Power transfer system, power supply system and charging combination
JP2011097681A (ja) 電動装置の電源システム
JP5895188B2 (ja) 電動工具
JP6406568B2 (ja) 電動工具を駆動制御する電源システムの駆動操作方法
JP2018506941A (ja) 電動工具用の非常停止装置、パワーパック、電動工具、システムおよび方法
JP5826614B2 (ja) エアコンプレッサ
US20250372791A1 (en) Rechargeable battery having a holding and receiving apparatus and spring-loaded connection elements
JP2010263669A (ja) キャパシタ電源装置およびこれを使用する電動工具並びにその駆動方法
CN202388479U (zh) 电动工具
CN104731261A (zh) 一种带踏板发电的电脑主机
KR20210105663A (ko) 분리형 볼트 국부 가열장치
US20070210753A1 (en) Adding a second battery to the equipment of any vehicle which requires a battery to start the engine
TW200621560A (en) An electric power supply system for vehicle
CN102866762A (zh) 具有备用电源的电脑系统

Legal Events

Date Code Title Description
A131 Notification of reasons for refusal

Free format text: JAPANESE INTERMEDIATE CODE: A131

Effective date: 20171122

A601 Written request for extension of time

Free format text: JAPANESE INTERMEDIATE CODE: A601

Effective date: 20180222

A601 Written request for extension of time

Free format text: JAPANESE INTERMEDIATE CODE: A601

Effective date: 20180423

A131 Notification of reasons for refusal

Free format text: JAPANESE INTERMEDIATE CODE: A131

Effective date: 20180808

TRDD Decision of grant or rejection written
A01 Written decision to grant a patent or to grant a registration (utility model)

Free format text: JAPANESE INTERMEDIATE CODE: A01

Effective date: 20190220

A61 First payment of annual fees (during grant procedure)

Free format text: JAPANESE INTERMEDIATE CODE: A61

Effective date: 20190226

R150 Certificate of patent or registration of utility model

Ref document number: 6490116

Country of ref document: JP

Free format text: JAPANESE INTERMEDIATE CODE: R150

R250 Receipt of annual fees

Free format text: JAPANESE INTERMEDIATE CODE: R250

R250 Receipt of annual fees

Free format text: JAPANESE INTERMEDIATE CODE: R250

R250 Receipt of annual fees

Free format text: JAPANESE INTERMEDIATE CODE: R250

R250 Receipt of annual fees

Free format text: JAPANESE INTERMEDIATE CODE: R250