JP2017040407A - 空気調和機 - Google Patents

空気調和機 Download PDF

Info

Publication number
JP2017040407A
JP2017040407A JP2015161254A JP2015161254A JP2017040407A JP 2017040407 A JP2017040407 A JP 2017040407A JP 2015161254 A JP2015161254 A JP 2015161254A JP 2015161254 A JP2015161254 A JP 2015161254A JP 2017040407 A JP2017040407 A JP 2017040407A
Authority
JP
Japan
Prior art keywords
cooling operation
humidity
operation mode
air
ceiling
Prior art date
Legal status (The legal status is an assumption and is not a legal conclusion. Google has not performed a legal analysis and makes no representation as to the accuracy of the status listed.)
Pending
Application number
JP2015161254A
Other languages
English (en)
Inventor
吉田 和正
Kazumasa Yoshida
和正 吉田
幸範 田中
Yukinori Tanaka
幸範 田中
羽生 博之
Hiroyuki Hanyu
博之 羽生
Current Assignee (The listed assignees may be inaccurate. Google has not performed a legal analysis and makes no representation or warranty as to the accuracy of the list.)
Johnson Controls Hitachi Air Conditioning Technology Hong Kong Ltd
Original Assignee
Johnson Controls Hitachi Air Conditioning Technology Hong Kong Ltd
Priority date (The priority date is an assumption and is not a legal conclusion. Google has not performed a legal analysis and makes no representation as to the accuracy of the date listed.)
Filing date
Publication date
Application filed by Johnson Controls Hitachi Air Conditioning Technology Hong Kong Ltd filed Critical Johnson Controls Hitachi Air Conditioning Technology Hong Kong Ltd
Priority to JP2015161254A priority Critical patent/JP2017040407A/ja
Publication of JP2017040407A publication Critical patent/JP2017040407A/ja
Pending legal-status Critical Current

Links

Images

Landscapes

  • Air Conditioning Control Device (AREA)

Abstract

【課題】室内環境に応じて適切に天井への送風をすることができる空気調和機を提供する。
【解決手段】空気調和機は、気流を吹き出す吹出し口と、吹出し口から吹き出す気流の風向を上下方向に変える上下風向板と、室内の湿度を検知する湿度センサと、湿度センサで検知された湿度に基づいて、上下風向板の風向を制御する空調制御部と、を有するとともに、水平方向または下方向に風向を制御する第1の冷房運転モードと、水平方向より上方向へ風向を制御する第2の冷房運転モードを有し、空調制御部は、冷房運転時に、第1の冷房運転モードで運転を開始し、湿度センサで検知された湿度が所定湿度以下の場合、第2の冷房運転モードに切り替える。
【選択図】図13

Description

本発明は、空気調和機に関し、特に冷房時の風向制御に関するものである。
空気調和機による冷房運転において、部屋の空気温度を冷やすことが優先事項であるが、人体が感じる温度には、周囲の空気温度と合わせて、部屋全体(天井・壁・床)から受ける輻射熱の影響が大きい。特に夏の昼間など日射を強く受ける場合は、天井から受ける輻射熱は、人体が感じる温度に大きく影響をしている。このため、天井からの輻射の影響を抑えるために、天井に向けて気流を送ることが各種提案されている。
特許文献1では、上下方向の風向を制御する上下羽根の室内機本体から離れた側の外表面端部を通る接線を、吹出し口の下端を通る水平線に対して上方向へ傾斜させて運転するモードと、下方向へ傾斜させて運転するモードとを有するとともに、前記両モードの切り換えを行う場合に、送風ファンの回転速度を低下させ、モード切り換え時の風速感の急変による違和感を抑制することが開示されている。
特許第4735377号
実際に、天井への送風が実現できれば、室温をあまり下げずに、しかも、気流を、例えば、直接人体に当てなくても、涼しくなり、高い快適性を実現することが可能となる。この天井への気流を実現することは、上下風向板を天井方向へ、斜め上に向けることで可能である。この場合、上下風向板を上向きにすると、吹出し空気により冷えた前面パネルの一部に、周囲の空気が流れ込み水滴となって付着する。そして、その水滴が、床に落ちる恐れがある。
また、上下風向板が上部上下風向板と下部上下風向板で構成されている場合、下部上下風向板の下側にわずかに流れていた吹出し空気が、上部・下部上下風向板を上向きにすることにより遮断され、下部上下風向板の下側に吹出し空気が流れなくなる。この現象により、下部上下風向板の下側に水滴が発生し、その水滴が、床に落ちる恐れがある。
さらに、室内機のケーシング、室内ファン、上下風向板、前面パネルの形状により、水滴の発生する位置は違ってくるので、天井への送風を実現するには、十分な考慮が必要である。
本発明は、前記の課題を解決するための発明であって、室内環境に応じて適切に天井への送風をすることができる空気調和機を提供することを目的とする。
前記目的を達成するため、本発明の空気調和機は、気流を吹き出す吹出し口と、吹出し口から吹き出す気流の風向を上下方向に変える上下風向板と、室内の湿度を検知する湿度センサと、湿度センサで検知された湿度に基づいて、上下風向板の風向を制御する空調制御部と、を有するとともに、水平方向または下方向に風向を制御する第1の冷房運転モードと、水平方向より上方向へ風向を制御する第2の冷房運転モードを有し、空調制御部は、冷房運転時に、第1の冷房運転モードで運転を開始し、湿度センサで検知された湿度が所定湿度以下の場合、第2の冷房運転モードに切り替えることを特徴とする。本発明のその他の態様については、後記する実施形態において説明する。
本発明によれば、室内環境に応じて適切に天井への送風をすることができる。
実施形態に係る空気調和機の外観構成を示す図である。 実施形態に係る通常冷房運転モード時の室内機の側断面構成を示す図である。 実施形態に係る天井冷房運転モード時の室内機の側断面構成を示す図である。 実施形態に係る空気調和機の制御部の構成を示す図である。 実施形態1の通常冷房運転モード時の制御を示すフローチャートである。 実施形態1の天井冷房運転モード時の制御を示すフローチャートである。 実施形態1の通常冷房運転モードと天井冷房運転モードの切り替え制御を示すグラフである。 実施形態2の通常冷房運転モード時の制御を示すフローチャートである。 実施形態2の天井冷房運転モード時の制御を示すフローチャートである。 実施形態2の通常冷房運転モードと天井冷房運転モードの切り替え制御を示すグラフである。 温度検知部(天井温度センサ)を有する室内機の外観構成を示す図である。 実施形態3の通常冷房運転モード時の制御を示すフローチャートである。 実施形態3の人の不在時における通常冷房運転モードと天井冷房運転モードの切り替え制御を示すグラフである。 通常冷房運転モードと天井冷房運転モードの切り替え判定に使用している判定湿度を示す図である。 通常冷房運転モードおよび天井冷房運転モードの気流を示す図である。
本発明を実施するための実施形態について、適宜図面を参照しながら詳細に説明する。
<<構造>>
<全体>
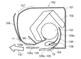
図1は、実施形態に係る空気調和機の外観構成を示す図である。空気調和機ACは、例えばヒートポンプ技術などを用い、冷房、暖房など室内の空気調和を行う装置である。空気調和機ACは、大別して、室内の壁、天井、床などに設置される室内機100と、屋外などに設置される室外機200と、赤外線、電波、通信線などにより室内機と通信してユーザが空気調和機ACを操作するためのリモコン40(空調制御端末)と、室温、外気温などの空気調和機ACの制御または表示に用いる情報を入手するためのセンサ部50(図4参照)とを有してなる。また、室内機100と室外機200とは、冷媒配管と通信ケーブルで接続されている。室内機100には、撮像部110が、左右方向中央に配置されている。なお、撮像部110の詳細については後記する。リモコン受信部Qは、室内機100の前方下部付近のリモコン信号を受信しやすい位置に配置している。
<室内機>
図2は、実施形態に係る通常冷房運転モード(第1の冷房運転モード)時の室内機の側断面構成を示す図である。室内機100は、熱交換器102、送風ファン103、左右風向板104、上下風向板105(上部上下風向板105a、下部上下風向板105b)、前面パネル106、電装品、各種のセンサなどを、筐体101内に収容している。熱交換器102は複数本の伝熱管を有し、送風ファン103により室内機内に取り込まれた室内の空気を、伝熱管を通流する冷媒と熱交換させ、当該空気を冷却、加熱などするように構成されている。なお、伝熱管は、前記した冷媒配管に通じていて、公知の冷媒サイクルの一部を構成している。また、送風ファン103は風速を調節可能である。
左右風向板104は、その基端側が室内機100の下部に設けた回転軸を支点にして左右風向板104用モータにより正逆回転される。そして、左右風向板104の先端側が室内側を向いていて、これにより左右風向板104の先端側は水平方向に振れるように動作可能である。上下風向板105は、室内機100の長手方向両端部に設けられた回転軸を支点にして上下風向板105用モータにより正逆回転される。これにより、上下風向板105の先端側は上下方向に振れるように動作可能である。前面パネル106は、室内機100の前面を覆うように設置されており、下端部の回転軸を支点として前面パネル106用モータにより正逆回転可能である。ちなみに、前面パネル106は、回転動作を行うことなく、室内機の下端に固定されたものとしてもよい。
室内機100は、送風ファン103が回転することによって、空気の吸込口107およびフィルタ(図示せず)を介して室内の空気を室内機内に取り込み、この空気を熱交換器102で熱交換する。これにより、当該熱交換後の空気は、熱交換器102で冷却され、あるいは、加熱される。この熱交換後の空気は吹出し風路109aに導かれる。さらに、吹出し風路109aに導かれた空気は、空気の吹出し口109bから室内機外部に送り出されて室内を空気調和する。そして、この熱交換後の空気が吹出し口から室内に吹き出す際には、その水平方向の風向きは左右風向板104により調節され、その上下方向の風向きは上下風向板105により調節される。その他に、空気調和機ACは、冷媒を圧縮する圧縮機、高圧の冷媒を減圧する膨張弁、冷媒の流路を切り替える四方弁、外気と冷媒とを熱交換する室外機の熱交換器などの装置を備えているが、これらの装置構成および作用については公知であるため、図示、説明は省略する。
図2においては、通常冷房運転モード時の状態を示しており、送風ファン103からの送風130は、下部ケーシング108に沿って流れ、上部上下風向板105a・下部上下風向板105bによって、吹出し空気131がほぼ水平方向に出るようにしている。
図3は、実施形態に係る天井冷房運転モード(第2の冷房運転モード)時の室内機の側断面構成を示す図である。上部上下風向板105a・下部上下風向板105bを、図2で示した通常冷房運転モードに比べ、上方向に向け、吹出し空気131が天井方向に流れるように設定している。
従来、この上下風向板105の角度で冷房運転を続けると室内が高湿度の場合、室内機の吹出し口付近に露が付き、床に滴下する恐れがある。具体的には、下部上下風向板105bの下側にわずかに流れていた吹出し空気が、上部上下風向板105a・下部上下風向板105bを上向きにすることにより遮断され、下部上下風向板105bの下側に吹出し空気が流れなくなる。この現象により、下部上下風向板105bの下側に水滴10が発生し、その水滴が溜まり、床に落ちる恐れがある。また、前面パネル106の下部に、水滴11が溜まり、床に落ちる恐れがある。
そこで、本実施形態では後記する制御方法を採用することにより、天井冷房運転モード時においても、露付ならびに床への滴下を回避することを可能とした。
なお、図2、図3においては、上下風向板を2枚使用している例を示しているが、もちろん1枚であっても同様の動作により天井方向への気流は実現可能である。
<室外機>
室外機200(図1参照)は、仕切り板と電装品箱とリード線支持部品とにより、熱交換器室と機械室とを区分(分割)している。熱交換器室には、冷媒配管を循環する冷媒の外気との熱交換を促進するプロペラファンとその駆動用のモータ、プロペラファンを回転自在に支持するプロペラファン支柱、および外気と循環する冷媒の熱交換を行う熱交換器が配設されている。機械室には、循環する冷媒を高温高圧のガス冷媒にする圧縮機、常温・高圧の液状冷媒を低温・低圧の液状冷媒にする電動膨張弁、電気部品のリアクタ、および、冷媒が流れる冷媒配管の伝熱管が配設されている。電装品箱には、室外機を制御する電装品が収納されており、その上部には電装品蓋が被せられている。
<リモコン>
リモコン40(図1参照)は、ユーザによって操作され、室内機100のリモコン受信部Q(図1参照)に対して赤外線信号を送信する。当該信号の内容は、運転要求、設定温度の変更、タイマ、運転モードの変更、停止要求などの様々な指令である。空気調和機ACは、これらの信号に基づいて、少なくとも室内の冷房、暖房、除湿などを行うことができる。また、空気清浄など、その他の空気調和の機能を備えていてもよい。すなわち、空気調和機ACは、室内の空気を様々に調整することができる。
<センサ部>
図4は、実施形態に係る空気調和機の制御部の構成を示す図である。センサ部50は、室内機100と室外機200に備えられている。センサ部50は、室温センサ51、湿度センサ52、時計、撮像部110(実施形態3で適用)、温度検知部120(実施形態2で適用)、外気温センサ、圧縮温度センサ、冷媒配管温度センサなどにより構成される。
撮像部110が、CCD(Charge Coupled Device)イメージセンサである場合、前面パネル106(図1参照)の左右方向中央の下部に設置されている。これ以外にも、サーモパイル、赤外線センサ、近赤外線センサ、サーモグラフィー、焦電型センサ、超音波センサ、騒音センサを使用してもよい。撮像部110で検出するのは、人の有無、位置に限られず、人の活動量、生活シーン、間取りなどを検出してもよい。
温度検知部120が、サーモパイルである場合、例えば横×縦が1×1画素、4×4画素、1×8画素、8×8画素で構成され、前面パネル106の左右方向中央の下部に設置されている。これ以外にも、赤外線センサ、近赤外線センサ、サーモグラフィーを使用してもよい。温度検知部120で検出するのは、実施形態2で後記する天井温度(例えば、天井の室内の平均的な表面温度)に限られず、検出範囲の内の人を除いた領域の室内の表面温度、人の着衣の表面温度、人の皮膚の温度、床の表面温度、足の温度、足付近の温度、人の各部位の温度でもよい。
<制御部>
制御部60は、送受信部45を介するリモコン40からの情報と、センサ部50からの情報に基づき、室内機100の送風ファン103、左右風向板104、上下風向板105を駆動し、室外機200の圧縮機202、プロペラファン207を駆動する。制御部60は、撮像部110を制御する撮像制御部61と、撮像部110で撮影された画像に基づいて、室内の人体の位置を検出する人体検出部62と、空調制御部63と、記憶部64を備えている。
(実施形態1)
図5は、実施形態1の通常冷房運転モード時の制御を示すフローチャートである。図5に示す例では、空調制御部63は、冷房運転が開始されると、通常冷房運転モード(図15参照)で運転を開始し(ステップS501)、所定の切替禁止期間を経て(ステップS502)、室温センサ51から室温、湿度センサ52から室内湿度を検出する(ステップS503)。空調制御部63は、検出した室温が設定室温に2℃(第1の所定値)を加算した値(設定室温+2℃)以下(ステップS504,Yes)、かつ、検出した室内湿度が所定湿度以下になった場合に(ステップS505,Yes)、天井冷房運転モードに切り替える(選択する)(ステップS506)。
ステップS504で室温が設定室温に2℃を加算した値を超える場合(ステップS504,No)、または、ステップ505で室内湿度が所定湿度を超える場合(ステップS505,No)、ステップS503に戻る。すなわち、天井を冷やすよりも、通常冷房運転モードを維持し、適宜、室温・室内湿度を検出し、条件確定次第天井冷房運転モードに切り替える。なお、ステップS504でNoの場合は、冷房開始から間がないので、室温が高く、天井を冷房するよりも、人に近い方を冷やした方がユーザは快適だからである。
図15は、通常冷房運転モード(第1の冷房運転モード)および天井冷房運転モード(第2の冷房運転モード)の気流を示す図である。室内機100は、壁331に設置されている。通常冷房運転モードの場合、吹出し口109b(図2参照)から水平方向に吹出した気流Aは、壁331の対向壁である壁334、床333、壁331の面を順次伝わって、室内機100の吸込口107(図2参照)に吸い込まれる。これに対し、天井冷房運転モードの場合、吹出し口109bから、通常冷房運転モードに比べ、上方向に向けて吹出した気流Bは、天井332、壁334、床333、壁331の面を順次伝わって、室内機100の吸込口107(図2参照)に吸い込まれる。気流Bの場合、気流Aと比較して、天井332が優先的に冷却される。
図6は、実施形態1の天井冷房運転モード時の制御を示すフローチャートである。空調制御部63は、通常冷房運転モードから天井冷房運転モードに切り替える際と同様に、所定の切替禁止期間を経て(ステップS601)、室温センサ51から室温、湿度センサ52から室内湿度を検出する(ステップS602)。空調制御部63は、検出した室温が設定室温に2℃(第1の所定値)を加算した値(設定室温+2℃)以下(ステップS603,Yes)、かつ、検出した室内湿度が所定湿度以下の場合に(ステップS604,Yes)、ステップS602に戻り、天井冷房運転モードを維持する。すなわち、天井を冷却した方が、ユーザの快適性が向上すると考えられるからである。
ステップS603で室温が設定室温に2℃(第1の所定値)を加算した値を超える場合(ステップS603,No)、ステップ604で室内湿度が所定湿度を超える場合(ステップS604,No)に通常冷房運転モードに切り替える(選択する)(ステップS605)。すなわち、通常冷房運転モードから天井冷房運転モードに切り替えるときの条件を1つでも満たさない場合は、通常冷房運転モードに切り替える。これは、天井よりもユーザに近い方に風を向けた方が、ユーザの快適性が向上すると考えられるからである。
なお、ステップS501およびステップS601における切替禁止期間は、風向の変化等により一時的に大きく変化した室温、室内湿度の読込値により、正確な動作を妨げることがないように定めている。判定室温および判定湿度にヒステリシスによる不感帯を設けても同様の動作は可能である。
また、天井冷房運転モードに、最長時間を設け、ある所定時間経過後に、通常冷房運転モードに切り替えてもよい。最長時間を設け、通常冷房運転モードに戻すことにより、天井の冷やしすぎ防止や、温度センサ・湿度センサの誤読込防止にもつながる。
図7は、実施形態1の通常冷房運転モードと天井冷房運転モードの切り替え制御を示すグラフである。横軸に時間、縦軸に上から室温、室内湿度、そして上下風向板位置を示している。
時間経過に合わせて、動作を説明する。運転開始後、時刻T1で室内湿度が判定湿度以下となる。その後、時刻T2で室温も判定値の設定室温+2℃に到達し、判定条件が整うため、天井冷房運転モードに切り替える。天井冷房運転モードに切り替えると、上下風向板105は天井方向へ向く。
また、時刻T3では、室内湿度が上昇した場合を想定しており、湿度が高い場合は、通常冷房運転モードに切り替える。さらに時刻T4で湿度が下がれば、また天井冷房運転モードに切り替える。
本実施形態においては、室内環境に応じて制御しているので、露付による滴下といった問題を生じず、天井冷房への切り替えを適切に行うことができる。また、ユーザにとっても不快感を生じさせない。
(実施形態2)
実施形態2においては、さらに、天井温度を検出可能な天井温度センサを追加することにより、省エネ性改善が可能となる。
天井冷房を実施する受益は、2つあり、1つは、天井冷房を実施することにより、通常の冷房運転に比べ、人体に与える気流感を抑えることが可能である。天井温度に関係なく天井冷房運転を実施しても、この受益は受けられる。もう1つの受益は天井温度を下げ、人体に受ける輻射熱を抑えることにある。そのため、天井温度が下がった、または、元々天井温度が上昇していない場合は、天井冷房運転モードに切り替える必要はなく、冷やしても人体に受ける輻射熱の変化が少ない場所を冷やすエネルギーを節約する方法も考えられる。ここでは、省エネ性改善のため、室内機に天井温度を検出可能な天井温度センサを追加した場合の実施例を示す。
図8は、実施形態2の通常冷房運転モード時の制御を示すフローチャートである。図8は、図5と比較して、温度検知部120(図4参照)からの天井温度検出(ステップS803)および天井温度判定(ステップS806)を追加している。
図8に示す例では、空調制御部63は、冷房運転が開始されると、通常冷房運転モードで運転を開始し(ステップS801)、所定の切替禁止期間を経て(ステップS802)、室温センサ51から室温、湿度センサ52から湿度、温度検知部120から天井温度を検出する(ステップS803)。空調制御部63は、検出した室温が設定室温に2℃(第1の所定値)を加算した値(設定室温+2℃)以下(ステップS804,Yes)、かつ、検出した室内湿度が所定湿度以下(ステップS805,Yes)、かつ、検出した天井温度が設定室温に1℃(第2の所定値)を加算した値(設定室温+1℃)以上(ステップS806,Yes)の場合に、天井冷房運転モードに切り替える(ステップS807)。
ステップS804で条件を満たさない場合(ステップS804,No)、または、ステップ805で条件を満たさない場合(ステップS805,No)、または、ステップS806で条件を満たさない場合(ステップS806,No)、ステップS803に戻る。すなわち、通常冷房運転モードを維持し、常時、室温・室内湿度・天井温度を検出し、条件確定次第天井冷房運転モードに切り替える。
図9は、実施形態2の天井冷房運転モード時の制御を示すフローチャートである。図9は、図6と比較して、温度検知部120(図4参照)からの天井温度検出(ステップS902)および天井温度判定(ステップS905)を追加している。
空調制御部63は、通常冷房運転モードから天井冷房運転モードに切り替える際と同様に、所定の切替禁止期間を経て(ステップS901)、室温センサ51から室温、湿度センサ52から室内湿度、温度検知部120からの天井温度を検出する(ステップS902)。空調制御部63は、検出した室温が設定室温に2℃(第1の所定値)を加算した値以下(ステップS903,Yes)、かつ、検出した室内湿度が所定湿度以下(ステップS904,Yes)、かつ、検出した天井温度が設定温度に1℃(第2の所定値)を加算した値(設定温度+1℃)以上(ステップS905、Yes)の場合に、ステップS902に戻る。
ステップS903で室温が設定室温に2℃を加算した値(設定温度+2℃)を超える場合(ステップS903,No)、または、ステップS904で室内湿度が所定湿度を超える場合(ステップS904,No)、または、ステップS905で天井温度が設定温度に1℃を加算値(設定温度+1℃)未満(ステップS905、No)の場合に、通常冷房運転モードに切り替える(ステップS906)。すなわち、天井冷房運転モードを維持し、通常冷房運転モードから天井冷房運転モードに切り替えるときの条件を1つでも満たさない場合は、通常冷房運転モードに切り替える。
図10は、実施形態2の通常冷房運転モードと天井冷房運転モードの切り替え制御を示すグラフである。横軸に時間、縦軸に上から室温、天井温度、室内湿度、そして上下風向板位置を示している。
時間経過に合わせて、動作を説明する。ただし、時刻T1から時刻T4は、図7と同一であるため、説明を省略する。最後に時刻T5では、天井冷房運転を実施することにより、天井温度が下がり、判定値の設定室温+1℃を下回るため、通常冷房運転モードに戻し、無駄に天井を冷やすことをやめる。
本実施形態の制御により、輻射熱を抑え、設定温度を無駄に下げることなく、省エネ性にも考慮した天井冷房運転が可能となる。
この実施形態で使用する天井温度センサは、温度検知部120(図4参照)であり、サーモパイルである。これ以外にも、赤外線センサ、近赤外線センサ、サーモグラフィーを使用してもよい。または、天井に直接温度センサを取り付けておく方法でもよい。
天井温度の検知は、1×1画素のサーモパイルを天井方向に向けて設置し、天井表面温度を検出することで可能である。ただし、天井には照明が存在し、サーモパイルで点灯している照明器具を検出すると、高温に検出してしまう。天井温度を検出するのに前記検出方法では、誤検出の可能性がある。そこで、1×1画素のサーモパイルを使用する場合は、広角サーモパイルとすることで、誤検出を回避できる。
または、ステッピングモータを使用してサーモパイルを回転させながら熱画像取得を行うことにより、例えば1×1画素または、1×8画素の画角5°を150°の範囲で横方向に回転させることにより、横方向で30画素の熱画像の取得が可能である。その取得した熱画像の温度データの平均値を使用することで、実際の天井表面温度に近い値で判定が可能となる。もしくは、取得した熱画像の温度データの内、全体の平均値に対して、所定の閾値(例えば+5℃)以上差がある熱画像の温度データは取り除いて平均することにより、より正確な天井温度の平均値を検出可能となる。
図11は、温度検知部(天井温度センサ)を有する室内機の外観構成を示す図である。図1に示した室内機100と比較して、図11の場合、撮像部110の横に、天井温度センサとなる温度検知部120が設けられている。また、上部上下風向板105aは、左右方向に概略3分割され、左側羽根105aa、中央羽根105ab、右側羽根105acとで構成されている。下部上下風向板105bも、同様に、左右方向に概略3分割され、左側羽根105ba、中央羽根105bb、右側羽根105bcとで構成されている。
図11に示すように、左右方向に3分割されて上下風向板105を有している場合は、通常冷房モード運転モードから天井冷房モード運転モードへの切り替え制御(選択制御)する際に、例えば、中央羽根105ab,105bbのみを、天井方向に向けてもよい。このようにすることにより、中央羽根105ab,105bbからの送風で天井を冷却するとともに、通常冷房運転モードを維持している左側羽根105aa,105baと、右側羽根105ac、105bcとの送風で、室内の冷房をすることができる。
(実施形態3)
実施形態3は、実施形態2に対して、部屋に人がいないことを検出した場合は、室温および天井温度に関係なく、天井冷房運転モードに切り替える制御を行う。これにより、人が不在時には輻射を抑制する運転を行っておくことが可能である。
図12は、実施形態3の通常冷房運転モード時の制御を示すフローチャートである。空調制御部63は、冷房運転が開始されると、通常冷房運転モードで運転を開始し(ステップS1201)、所定の切替禁止期間を経て(ステップS1202)、人体検出部62から人体の検出情報を受理し(ステップS1203)、人体の有無を判定する(ステップS1204)。人体の検出が無い場合(ステップS1204,無)、空調制御部63は、湿度センサ52から湿度を検出する(ステップS1205)。空調制御部63は、検出した室内湿度が所定湿度以下(ステップS1206,Yes)の場合に、天井冷房運転モードに切り替える(ステップS1207)。ステップS1206で室内湿度が所定湿度を超える場合(ステップS1206,No)、ステップS1205に戻る。
ステップS1204で、人体の検出が有る場合(ステップS1204,有)、ステップS803に移行し、室温・湿度・天井温度に応じて運転モードを切り替えるか否かを判定する。ステップS803〜S806の処理内容は、図8と同様であるので説明を省略する。
人が不在時にはこの制御に加え、設定温度を2℃程度上昇させ、それに合わせて風速を上昇させることにより、消費電力を抑えながら天井や壁の温度を室温に近い温度まで下げることが可能である。本制御により、輻射熱を抑制し、人が戻ってきたときには、風速・設定温度ならびに上下風向板を元に戻すことにより、短時間で室温は設定温度に到達し、天井・壁からの輻射も抑制され快適な空調環境を形成できる。
図13は、実施形態3の人の不在時における通常冷房運転モードと天井冷房運転モードの切り替え制御を示すグラフである。横軸に時間、縦軸に上から室温、天井温度、室内湿度、そして上下風向板位置を示している。
時間経過に合わせて、動作を説明する。運転開始後、時刻T1で室内湿度が判定湿度以下となる。ここでは、人がいないため、上下風向板105を天井方向へ向ける。その後、時刻T2で室温も判定値の設定室温+2℃に到達するが、ここでは制御の変更は実施しない。
時刻T3では、室内湿度が上昇した場合を想定しており、湿度が高い場合は、通常冷房運転モードに切り替える。さらに時刻T4で湿度が下がれば、また天井冷房運転モードに切り替える。時刻T5で天井温度が設定室温+1℃まで低下したため、通常冷房運転モードに切り替える。このときに人が入ってきたことを検出した場合は、通常冷房運転モードに一時的に切り替え、室温を下げることを優先するとよい。
実施形態1〜3において、所定湿度と検出した湿度とを比較して条件が合致するか否かを判定している。この判定に用いる湿度(判定湿度)は、必ずしも一定である必要はない。図14を用いて、判定湿度の選定方法を説明する。
図14は、通常冷房運転モードと天井冷房運転モードの切り替え判定に使用している判定湿度を示す図である。基準としているのは、例えば室温27℃湿度60%である。この基準としている室温時の湿度に対して、室温が変化した場合、基準の湿度に対して、判定湿度を変更することにより、より適正な判定値を決定すること可能となる。
図14に示すように、室温が上昇した場合は、同一相対湿度の場合は、絶対湿度が上昇し、水滴が発生しやすくなるため、判定湿度を下げる。反対に温度が低下した場合に、判定湿度を上げることが可能となる。もちろん室温による判定湿度の調整を実施しなくても、動作として大きく不利になることはない。
基準とする湿度は、空気調和機の能力クラスや、室内機の形状により、水滴の付き方が変わるため、それぞれの空気調和機の特性に合わせて決定することが好ましいため、必ずしも27℃のときに60%とは限らない。
また、室温だけでなく、外気の温度によっても、能力は変化するため、それに合わせて判定湿度を調整することも可能であるが、現在一般的に販売しているインバータエアコンにおいては、外気温度が変化した分の能力は圧縮機の回転数を変化させる等により調整しているため、特に配慮する必要はない。
本実施形態では、冷房運転時の制御方法について説明したが、除湿運転時においても、同様に適用することができる。なお、前記説明した実施形態は、個々に限定されることはなく、また、前記した実施形態を適宜組み合わせてもよい。
40 リモコン(空調制御端末)
45 送受信部
50 センサ部
51 室温センサ
52 湿度センサ
60 制御部
61 撮像制御部
62 人体検出部
63 空調制御部
64 記憶部
110 撮像部
100 室内機
101 筐体
102 熱交換器
103 送風ファン
104 左右風向板
105 上下風向板
105a 上部上下風向板
105b 下部上下風向板
106 前面パネル
107 吸込口
108 下部ケーシング
109a 吹出し風路
109b 吹出し口
110 撮像部
120 温度検知部(天井温度センサ)
130 送風
131 吹出し空気
200 室外機
202 圧縮機
207 プロペラファン
331,332 壁
332 天井
333 床
AC 空気調和機
A 気流(通常冷房運転モード(第1の冷房運転モード)時の気流)
B 気流(天井冷房運転モード(第2の冷房運転モード)時の気流)
Q リモコン受信部

Claims (5)

  1. 気流を吹き出す吹出し口と、
    前記吹出し口から吹き出す気流の風向を上下方向に変える上下風向板と、
    室内の湿度を検知する湿度センサと、
    前記湿度センサで検知された湿度に基づいて、前記上下風向板の風向を制御する空調制御部と、を有するとともに、
    水平方向または下方向に風向を制御する第1の冷房運転モードと、水平方向より上方向へ風向を制御する第2の冷房運転モードを有し、
    前記空調制御部は、冷房運転時に、前記第1の冷房運転モードで運転を開始し、前記湿度センサで検知された湿度が所定湿度以下の場合、前記第2の冷房運転モードに切り替える
    ことを特徴とする空気調和機。
  2. 気流を吹き出す吹出し口と、
    前記吹出し口から吹き出す気流の風向を上下方向に変える上下風向板と、
    室内の湿度を検知する湿度センサと、
    前記湿度センサで検知された湿度に基づいて、前記上下風向板の風向を制御する空調制御部と、を有するとともに、
    水平方向または下方向に風向を制御する第1の冷房運転モードと、水平方向より上方向へ風向を制御する第2の冷房運転モードを有し、
    前記空調制御部は、冷房運転時に、室内の温度を検知する室温センサで検知された室温が、空調制御端末で設定された設定温度に第1の所定値を加算した値以下で、かつ、前記湿度センサで検知された湿度が所定湿度以下の場合、前記第2の冷房運転モードを選択する
    ことを特徴とする空気調和機。
  3. 前記空気調和機は、室内の天井の温度を検知する天井温度センサを有し、
    前記空調制御部は、冷房運転時に、前記室温センサで検知された温度が、空調制御端末で設定された設定温度に第1の所定値を加算した値以下で、かつ、前記湿度センサで検知された湿度が所定湿度以下で、かつ、前記天井温度センサで検知された温度が、前記設定温度に第2の所定値を加算した値以上の場合、前記第2の冷房運転モードを選択する
    ことを特徴とする請求項2に記載の空気調和機。
  4. 前記空気調和機は、人体を検出する人体検出部を有し、
    前記人体検出部が人の不在を検出した場合、
    前記空調制御部は、前記室温センサで検知された室温に関わりなく、前記湿度センサで検知された湿度が所定湿度以下の場合、前記第2の冷房運転モードを選択する
    ことを特徴とする請求項2に記載の空気調和機。
  5. 前記空調制御部は、前記第2の冷房運転モードを選択後、所定時間後に、前記第1の冷房運転モードに切り替える
    ことを特徴とする請求項2から請求項4のいずれか1項に記載の空気調和機。
JP2015161254A 2015-08-18 2015-08-18 空気調和機 Pending JP2017040407A (ja)

Priority Applications (1)

Application Number Priority Date Filing Date Title
JP2015161254A JP2017040407A (ja) 2015-08-18 2015-08-18 空気調和機

Applications Claiming Priority (1)

Application Number Priority Date Filing Date Title
JP2015161254A JP2017040407A (ja) 2015-08-18 2015-08-18 空気調和機

Publications (1)

Publication Number Publication Date
JP2017040407A true JP2017040407A (ja) 2017-02-23

Family

ID=58202719

Family Applications (1)

Application Number Title Priority Date Filing Date
JP2015161254A Pending JP2017040407A (ja) 2015-08-18 2015-08-18 空気調和機

Country Status (1)

Country Link
JP (1) JP2017040407A (ja)

Cited By (4)

* Cited by examiner, † Cited by third party
Publication number Priority date Publication date Assignee Title
CN107421083A (zh) * 2017-07-29 2017-12-01 佛山市毅力机械制造有限公司 一种家用空调的温度管理系统
WO2019078067A1 (ja) 2017-10-20 2019-04-25 三菱重工サーマルシステムズ株式会社 制御装置、制御装置による制御方法及びプログラム
WO2019163164A1 (ja) * 2018-02-26 2019-08-29 シャープ株式会社 空気調和機の室内機
CN111868489A (zh) * 2018-03-28 2020-10-30 松下知识产权经营株式会社 红外线传感器模块、空调机和空调机控制系统

Cited By (8)

* Cited by examiner, † Cited by third party
Publication number Priority date Publication date Assignee Title
CN107421083A (zh) * 2017-07-29 2017-12-01 佛山市毅力机械制造有限公司 一种家用空调的温度管理系统
WO2019078067A1 (ja) 2017-10-20 2019-04-25 三菱重工サーマルシステムズ株式会社 制御装置、制御装置による制御方法及びプログラム
WO2019163164A1 (ja) * 2018-02-26 2019-08-29 シャープ株式会社 空気調和機の室内機
JPWO2019163164A1 (ja) * 2018-02-26 2021-02-04 シャープ株式会社 空気調和機の室内機
JP7273021B2 (ja) 2018-02-26 2023-05-12 シャープ株式会社 空気調和機の室内機
CN111868489A (zh) * 2018-03-28 2020-10-30 松下知识产权经营株式会社 红外线传感器模块、空调机和空调机控制系统
US11988404B2 (en) 2018-03-28 2024-05-21 Panasonic Intellectual Property Management Co., Ltd. Infrared sensor module, air conditioner, and air conditioner control system
CN111868489B (zh) * 2018-03-28 2024-07-02 松下知识产权经营株式会社 红外线传感器模块、空调机和空调机控制系统

Similar Documents

Publication Publication Date Title
JP5585556B2 (ja) 空気調和機
CN107255307B (zh) 空调
JP6125040B2 (ja) 空調制御装置
CN107255337B (zh) 空调的送风方法
CN101191652B (zh) 空调器和控制该空调器的气流的方法
JP5112031B2 (ja) 空気調和機
JP6596269B2 (ja) 空気調和機
KR20110103235A (ko) 공기조화기 및 그 제어방법
CN107305035B (zh) 空调机
CN107013978A (zh) 空调室内机及其送风方法
JP2016008796A (ja) 空気調和装置の室内機及び空気調和装置
JP5396223B2 (ja) 空気調和機
CN104566780A (zh) 空气调节器的室内机及使用该室内机的空气调节器
JP2018185055A (ja) 空気調和機
JP2017166762A (ja) 空気調和機
CN104006446A (zh) 室内机和空气调节装置
JP2017040407A (ja) 空気調和機
CN103673210A (zh) 空调机及空调机的控制方法
JP2013231550A (ja) 空気調和システム
JP2015206483A (ja) 空気調和機
US20150184884A1 (en) Efficient Combination of Ambient Air and Heating, Ventilating, and Air Conditioning (HVAC) System
KR20130082424A (ko) 공기 조화기의 실내기
JP2007183032A (ja) 環境制御用ロボット装置及びシステム
CN108980987A (zh) 空调的控制方法
JP2016176653A (ja) 空気調和機

Legal Events

Date Code Title Description
A711 Notification of change in applicant

Free format text: JAPANESE INTERMEDIATE CODE: A711

Effective date: 20160407

A711 Notification of change in applicant

Free format text: JAPANESE INTERMEDIATE CODE: A711

Effective date: 20171011

A621 Written request for application examination

Free format text: JAPANESE INTERMEDIATE CODE: A621

Effective date: 20180727

A977 Report on retrieval

Free format text: JAPANESE INTERMEDIATE CODE: A971007

Effective date: 20190513

A131 Notification of reasons for refusal

Free format text: JAPANESE INTERMEDIATE CODE: A131

Effective date: 20190521

A521 Written amendment

Free format text: JAPANESE INTERMEDIATE CODE: A523

Effective date: 20190618

A131 Notification of reasons for refusal

Free format text: JAPANESE INTERMEDIATE CODE: A131

Effective date: 20191008

A521 Written amendment

Free format text: JAPANESE INTERMEDIATE CODE: A523

Effective date: 20191113

A02 Decision of refusal

Free format text: JAPANESE INTERMEDIATE CODE: A02

Effective date: 20200107