JP2016171908A - 成分濃度測定装置 - Google Patents
成分濃度測定装置 Download PDFInfo
- Publication number
- JP2016171908A JP2016171908A JP2015053505A JP2015053505A JP2016171908A JP 2016171908 A JP2016171908 A JP 2016171908A JP 2015053505 A JP2015053505 A JP 2015053505A JP 2015053505 A JP2015053505 A JP 2015053505A JP 2016171908 A JP2016171908 A JP 2016171908A
- Authority
- JP
- Japan
- Prior art keywords
- light
- measured
- concentration measuring
- component concentration
- optical
- Prior art date
- Legal status (The legal status is an assumption and is not a legal conclusion. Google has not performed a legal analysis and makes no representation as to the accuracy of the status listed.)
- Granted
Links
Images
Landscapes
- Measurement Of The Respiration, Hearing Ability, Form, And Blood Characteristics Of Living Organisms (AREA)
- Ultra Sonic Daignosis Equipment (AREA)
Abstract
【解決手段】レーザダイオード1−1〜1−4のうちの2つは、異なる波長の2波の光を同一周波数で且つ異なる位相の信号により強度変調して照射する。光ファイバ20−1〜20−4は、レーザダイオード1−1〜1−4からの光を独立に被測定物13に導く。光ファイバ20−1〜20−4の出射端は互いに近接して配置されている。音響センサ8は、光音響効果によって被測定物13から発生する光音響信号を検出し、音圧に比例した電気信号に変換する。情報処理装置12は、光のパワーを変化させて、ロックインアンプ11から出力される電気信号の強度が最低となったときの光のパワーの測定結果に基づいて、被測定物13に含まれる測定対象の成分の濃度を導出する。
【選択図】図1
Description
(a)光音響法は、連続的な血液グルコースモニタリングを提供する。
(b)糖尿病患者にとって無痛で、血液サンプルを必要とせず、糖尿病患者に不快感を与えることがない。
(c)他の光学的な技術と比べて、光散乱による測定精度劣化の影響が小さい。
(d)光学と音響学の結合により高感度の特性を得ることができる。
また、本発明の成分濃度測定装置の1構成例において、前記光導波手段のn個の出射端と前記被測定物との間隔は、前記被測定物に照射される2波の光が互いに重なる領域の体積が所定値以上となるように設定されることを特徴とするものである。
また、本発明の成分濃度測定装置の1構成例は、さらに、前記光導波手段のn個の出射端と前記被測定物との間に前記n個の出射端を固定するように設けられた、光を透過する材料からなるスペーサを備えることを特徴とするものである。
また、本発明の成分濃度測定装置の1構成例において、前記光導波手段は、少なくとも前記被測定物に近い部分がマルチコアファイバで構成され、このマルチコアファイバのn個のコアの出射端が前記被測定物と対向するように配置されることを特徴とするものである。
また、本発明の成分濃度測定装置の1構成例は、さらに、前記光導波手段のn個の出射端と前記被測定物との間に、前記光導波手段からの光を前記被測定物に集光するための光学系を備えることを特徴とするものである。
また、本発明の成分濃度測定装置の1構成例において、前記光学系は、前記光導波手段からの光を平行に出射するものである。
以下、本発明の実施の形態について図面を参照して説明する。図1は本発明の第1の実施の形態に係る成分濃度測定装置の構成を示すブロック図であり、図18〜図21と同様の構成には同一の符号を付してある。本実施の形態の成分濃度測定装置は、レーザ光を放射する光源となるレーザダイオード1−1〜1−4と、レーザダイオード1−1〜1−4を駆動するレーザドライバ2と、光音響効果によって被測定物13から発生する光音響信号を検出し、音圧に比例した電気信号に変換する光音響信号検出手段となる音響センサ8と、音響センサ8から出力された電気信号を増幅する増幅器9と、参照信号を発生するファンクションジェネレータ10と、増幅器9の出力信号とファンクションジェネレータ10から出力された参照信号とを入力として、増幅器9の出力信号から所望の周波数の測定信号を検出するロックインアンプ11と、ファンクションジェネレータ10およびロックインアンプ11を制御すると共に、ロックインアンプ11が検出した測定信号を処理して特定の成分濃度を導出するコンピュータからなる情報処理装置12と、レーザダイオード1−1〜1−4から放射されたレーザ光をそれぞれ独立に被測定物13に導く光導波手段となる光ファイバ20−1〜20−4とから構成される。
こうして、選択し得る2つのレーザダイオードの全ての組み合わせについて測定を終えるまで(ステップS7においてYES)、ステップS1〜S6の処理を繰り返す。
OPBS(λ1,λ2)=Qaλ1,λ2Ca+Qbλ1,λ2Cb+Qcλ1,λ2Cc
+・・・+Qtλ1,λ2T
OPBS(λ1,λ3)=Qaλ1,λ3Ca+Qbλ1,λ3Cb+Qcλ1,λ3Cc
+・・・+Qtλ1,λ3T
OPBS(λ1,λ4)=Qaλ1,λ4Ca+Qbλ1,λ4Cb+Qcλ1,λ4Cc
+・・・+Qtλ1,λ4T
・・・
OPBS(λn-1,λn)=Qaλn-1,λnCa+Qbλn-1,λnCb+Qcλn-1,λnCc
+・・・+Qtλn-1,λnT ・・・(7)
r=1.22(d/λ)z ・・・(8)
次に、本発明の第2の実施の形態について説明する。図8は本発明の第2の実施の形態に係る成分濃度測定装置の構成を示すブロック図であり、図1と同一の構成には同一の符号を付してある。本実施の形態の成分濃度測定装置は、レーザダイオード1−1〜1−4と、レーザドライバ2と、音響センサ8と、増幅器9と、ファンクションジェネレータ10と、ロックインアンプ11と、情報処理装置12と、光ファイバ20−1〜20−4と、光ファイバ20−1〜20−4と共に光導波手段を構成するファイバアレイ22とから構成される。
次に、本発明の第3の実施の形態について説明する。図9は本発明の第3の実施の形態に係る成分濃度測定装置の構成を示すブロック図であり、図1と同一の構成には同一の符号を付してある。本実施の形態の成分濃度測定装置は、レーザダイオード1−1〜1−4と、レーザドライバ2と、音響センサ8と、増幅器9と、ファンクションジェネレータ10と、ロックインアンプ11と、情報処理装置12と、光ファイバ20−1〜20−4と、光ファイバ20−1〜20−4と共に光導波手段を構成する平面光波回路(PLC:Planar Lightwave Circuit)23とから構成される。
次に、本発明の第4の実施の形態について説明する。図10は本発明の第4の実施の形態に係る成分濃度測定装置の構成を示すブロック図であり、図1と同一の構成には同一の符号を付してある。本実施の形態の成分濃度測定装置は、レーザダイオード1−1〜1−4と、レーザドライバ2と、音響センサ8と、増幅器9と、ファンクションジェネレータ10と、ロックインアンプ11と、情報処理装置12と、光ファイバ20−1〜20−4と、光ファイバ20−1〜20−4と共に光導波手段を構成するマルチコアファイバ24とから構成される。
次に、本発明の第5の実施の形態について説明する。図11は本発明の第5の実施の形態に係る成分濃度測定装置の構成を示すブロック図であり、図1と同一の構成には同一の符号を付してある。本実施の形態の成分濃度測定装置は、レーザダイオード1−1〜1−4と、レーザドライバ2と、音響センサ8と、増幅器9と、ファンクションジェネレータ10と、ロックインアンプ11と、情報処理装置12と、光ファイバ20−1〜20−4とから構成される。
次に、本発明の第6の実施の形態について説明する。図12は本発明の第6の実施の形態に係る成分濃度測定装置の構成を示すブロック図であり、図1と同一の構成には同一の符号を付してある。本実施の形態の成分濃度測定装置は、レーザドライバ2aと、音響センサ8と、増幅器9と、ファンクションジェネレータ10と、ロックインアンプ11と、情報処理装置12と、光ファイバ20−1〜20−4と、垂直共振器型面発光レーザ(VCSEL:Vertical Cavity Surface Emitting Laser)25−1〜25−4とから構成される。
次に、本発明の第7の実施の形態について説明する。図13は本発明の第7の実施の形態に係る成分濃度測定装置の構成を示すブロック図であり、図1と同一の構成には同一の符号を付してある。本実施の形態の成分濃度測定装置は、ドライバ2bと、音響センサ8と、増幅器9と、ファンクションジェネレータ10と、ロックインアンプ11と、情報処理装置12と、光ファイバ20−1〜20−4と、発光ダイオード(LED:Light Emitting Diode)26−1〜26−4とから構成される。
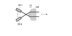
次に、本発明の第8の実施の形態について説明する。図14は本発明の第8の実施の形態に係る成分濃度測定装置の構成を示すブロック図であり、図1と同一の構成には同一の符号を付してある。本実施の形態の成分濃度測定装置は、レーザダイオード1−1〜1−4と、レーザドライバ2と、音響センサ8と、増幅器9と、ファンクションジェネレータ10と、ロックインアンプ11と、情報処理装置12と、光ファイバ20−1〜20−4と、光ファイバ20−1〜20−4から照射された光を被測定物13に集光するための光学系27とから構成される。
次に、本発明の第9の実施の形態について説明する。図17は本発明の第9の実施の形態に係る成分濃度測定装置の構成を示すブロック図であり、図1、図18と同一の構成には同一の符号を付してある。本実施の形態の成分濃度測定装置は、レーザダイオード1−1〜1−4と、レーザドライバ2と、光ファイバ3−1〜3−4と、光カプラ4−1,4−2と、音響センサ8と、増幅器9と、ファンクションジェネレータ10と、ロックインアンプ11と、情報処理装置12と、光ファイバ28−1,28−2とから構成される。
Claims (8)
- 互いに波長が異なるn波(nは3以上の整数)の光のうち2波の光を同一の周波数で且つ異なる位相の信号によりそれぞれ強度変調して放射する光源と、
この光源からの2波の光をそれぞれ独立に被測定物に導く光導波手段と、
前記2波の光のうち少なくとも一方の光のパワーを変化させる光パワー制御手段と、
光照射によって前記被測定物から発生する光音響信号を検出して電気信号を出力する光音響信号検出手段と、
前記2波の光のうち少なくとも一方の光のパワーを測定する光強度測定手段と、
前記電気信号の強度を測定する信号強度測定手段と、
光のパワーを変化させて前記電気信号の強度が最低となったときの前記光強度測定手段の測定結果に基づいて、前記被測定物に含まれる測定対象の成分の濃度を導出する濃度導出手段とを備え、
前記光導波手段は、前記光源からのn波の光を前記被測定物に独立に照射するためのn個の出射端が互いに近接して配置されたものであり、
前記濃度導出手段は、前記n波の光の中から選択し得る2波の組み合わせのうち少なくとも一部の組み合わせの各々について求めた前記光強度測定手段の測定結果に基づいて、前記測定対象の成分の濃度を導出することを特徴とする成分濃度測定装置。 - 請求項1記載の成分濃度測定装置において、
前記光導波手段のn個の出射端の間隔は、前記被測定物に照射される2波の光が互いに重なる領域の体積が所定値以上となるように設定されることを特徴とする成分濃度測定装置。 - 請求項1または2記載の成分濃度測定装置において、
前記光導波手段のn個の出射端と前記被測定物との間隔は、前記被測定物に照射される2波の光が互いに重なる領域の体積が所定値以上となるように設定されることを特徴とする成分濃度測定装置。 - 請求項1乃至3のいずれか1項に記載の成分濃度測定装置において、
さらに、前記光導波手段のn個の出射端と前記被測定物との間に前記n個の出射端を固定するように設けられた、光を透過する材料からなるスペーサを備えることを特徴とする成分濃度測定装置。 - 請求項1乃至4のいずれか1項に記載の成分濃度測定装置において、
前記光導波手段は、少なくとも前記被測定物に近い部分がファイバアレイで構成され、このファイバアレイのn本のファイバの出射端が前記被測定物と対向するように配置されることを特徴とする成分濃度測定装置。 - 請求項1乃至4のいずれか1項に記載の成分濃度測定装置において、
前記光導波手段は、少なくとも前記被測定物に近い部分がマルチコアファイバで構成され、このマルチコアファイバのn個のコアの出射端が前記被測定物と対向するように配置されることを特徴とする成分濃度測定装置。 - 請求項1乃至6のいずれか1項に記載の成分濃度測定装置において、
さらに、前記光導波手段のn個の出射端と前記被測定物との間に、前記光導波手段からの光を前記被測定物に集光するための光学系を備えることを特徴とする成分濃度測定装置。 - 請求項7記載の成分濃度測定装置において、
前記光学系は、前記光導波手段からの光を平行に出射するものであることを特徴とする成分濃度測定装置。
Priority Applications (1)
| Application Number | Priority Date | Filing Date | Title |
|---|---|---|---|
| JP2015053505A JP6290807B2 (ja) | 2015-03-17 | 2015-03-17 | 成分濃度測定装置 |
Applications Claiming Priority (1)
| Application Number | Priority Date | Filing Date | Title |
|---|---|---|---|
| JP2015053505A JP6290807B2 (ja) | 2015-03-17 | 2015-03-17 | 成分濃度測定装置 |
Publications (2)
| Publication Number | Publication Date |
|---|---|
| JP2016171908A true JP2016171908A (ja) | 2016-09-29 |
| JP6290807B2 JP6290807B2 (ja) | 2018-03-07 |
Family
ID=57008538
Family Applications (1)
| Application Number | Title | Priority Date | Filing Date |
|---|---|---|---|
| JP2015053505A Expired - Fee Related JP6290807B2 (ja) | 2015-03-17 | 2015-03-17 | 成分濃度測定装置 |
Country Status (1)
| Country | Link |
|---|---|
| JP (1) | JP6290807B2 (ja) |
Cited By (2)
| Publication number | Priority date | Publication date | Assignee | Title |
|---|---|---|---|---|
| JP2022130159A (ja) * | 2021-02-25 | 2022-09-06 | シチズン時計株式会社 | 成分濃度推定装置、成分濃度推定装置の制御方法及び成分濃度推定装置の制御プログラム |
| WO2022246979A1 (zh) * | 2021-05-26 | 2022-12-01 | 南京微纳科技研究院有限公司 | 基于光波导传感器的检测系统、方法、设备及存储介质 |
Citations (8)
| Publication number | Priority date | Publication date | Assignee | Title |
|---|---|---|---|---|
| JPH11235331A (ja) * | 1997-11-25 | 1999-08-31 | Trw Inc | 光音響による血液中グルコースの非侵襲性測定のための方法と装置 |
| JP2010125260A (ja) * | 2008-12-01 | 2010-06-10 | Canon Inc | 生体検査装置 |
| JP2012168094A (ja) * | 2011-02-16 | 2012-09-06 | Fujifilm Corp | 光音響撮像装置およびそれに用いられるプローブユニット |
| JP2012179212A (ja) * | 2011-03-01 | 2012-09-20 | Nippon Telegr & Teleph Corp <Ntt> | 成分濃度測定方法および装置 |
| JP2013106874A (ja) * | 2011-11-24 | 2013-06-06 | Nippon Telegr & Teleph Corp <Ntt> | 成分濃度測定方法および装置 |
| JP2014050563A (ja) * | 2012-09-07 | 2014-03-20 | Nippon Telegr & Teleph Corp <Ntt> | 成分濃度測定方法 |
| JP2014161484A (ja) * | 2013-02-25 | 2014-09-08 | Canon Inc | 音響波取得装置およびその制御方法 |
| JP2014183894A (ja) * | 2013-03-22 | 2014-10-02 | Nippon Telegr & Teleph Corp <Ntt> | 温度測定方法および装置 |
-
2015
- 2015-03-17 JP JP2015053505A patent/JP6290807B2/ja not_active Expired - Fee Related
Patent Citations (8)
| Publication number | Priority date | Publication date | Assignee | Title |
|---|---|---|---|---|
| JPH11235331A (ja) * | 1997-11-25 | 1999-08-31 | Trw Inc | 光音響による血液中グルコースの非侵襲性測定のための方法と装置 |
| JP2010125260A (ja) * | 2008-12-01 | 2010-06-10 | Canon Inc | 生体検査装置 |
| JP2012168094A (ja) * | 2011-02-16 | 2012-09-06 | Fujifilm Corp | 光音響撮像装置およびそれに用いられるプローブユニット |
| JP2012179212A (ja) * | 2011-03-01 | 2012-09-20 | Nippon Telegr & Teleph Corp <Ntt> | 成分濃度測定方法および装置 |
| JP2013106874A (ja) * | 2011-11-24 | 2013-06-06 | Nippon Telegr & Teleph Corp <Ntt> | 成分濃度測定方法および装置 |
| JP2014050563A (ja) * | 2012-09-07 | 2014-03-20 | Nippon Telegr & Teleph Corp <Ntt> | 成分濃度測定方法 |
| JP2014161484A (ja) * | 2013-02-25 | 2014-09-08 | Canon Inc | 音響波取得装置およびその制御方法 |
| JP2014183894A (ja) * | 2013-03-22 | 2014-10-02 | Nippon Telegr & Teleph Corp <Ntt> | 温度測定方法および装置 |
Cited By (3)
| Publication number | Priority date | Publication date | Assignee | Title |
|---|---|---|---|---|
| JP2022130159A (ja) * | 2021-02-25 | 2022-09-06 | シチズン時計株式会社 | 成分濃度推定装置、成分濃度推定装置の制御方法及び成分濃度推定装置の制御プログラム |
| JP7546500B2 (ja) | 2021-02-25 | 2024-09-06 | シチズン時計株式会社 | 成分濃度推定装置、成分濃度推定装置の制御方法及び成分濃度推定装置の制御プログラム |
| WO2022246979A1 (zh) * | 2021-05-26 | 2022-12-01 | 南京微纳科技研究院有限公司 | 基于光波导传感器的检测系统、方法、设备及存储介质 |
Also Published As
| Publication number | Publication date |
|---|---|
| JP6290807B2 (ja) | 2018-03-07 |
Similar Documents
| Publication | Publication Date | Title |
|---|---|---|
| JP7723631B2 (ja) | 光測定用光源装置、分光測定装置及び分光測定方法 | |
| JP7477882B2 (ja) | ハイブリッド光学システム | |
| JP6862712B2 (ja) | 光ファイバ評価方法及び光ファイバ評価装置 | |
| JP5759692B2 (ja) | 温度測定装置及び温度測定方法 | |
| US10241003B2 (en) | Method of measuring time delays with respect to differential mode delay (DMD) of a multi-mode fiber (MMF) or a few-mode fiber (FMF) | |
| US20020131049A1 (en) | Broadband light source system and method thereof | |
| CN1055061A (zh) | 光纤干涉传感器 | |
| US8896833B2 (en) | Device and method for determining a piece of polarization information and polarimetric imaging device | |
| CN111381199B (zh) | 一种脉冲强磁场光学测量系统及方法 | |
| EP2718666A1 (en) | Coupled multi-wavelength confocal systems for distance measurements | |
| JP6290807B2 (ja) | 成分濃度測定装置 | |
| JP5839489B2 (ja) | 成分濃度測定方法 | |
| GB2200986A (en) | Optical fibre measuring system | |
| US20180058938A1 (en) | Light measurement device | |
| WO1998043069A1 (en) | Optical measuring instrument | |
| JPH0450639A (ja) | 光学式試料分析装置 | |
| US10969281B2 (en) | Illumination apparatus | |
| JP6404741B2 (ja) | 成分濃度測定装置および測定方法 | |
| JP2016154607A (ja) | 成分濃度測定装置および測定方法 | |
| JP2021086838A (ja) | レーザ装置 | |
| KR101730445B1 (ko) | 위상광 측정 시스템 | |
| TWI559636B (zh) | 光源裝置 | |
| KR102826240B1 (ko) | 멀티스펙트럼 형광 이미징 장치 | |
| KR101622026B1 (ko) | 저 결맞음 간섭계 기반 단층 촬영 장치 | |
| KR102566737B1 (ko) | 광 계측 장치 |
Legal Events
| Date | Code | Title | Description |
|---|---|---|---|
| A621 | Written request for application examination |
Free format text: JAPANESE INTERMEDIATE CODE: A621 Effective date: 20170307 |
|
| A977 | Report on retrieval |
Free format text: JAPANESE INTERMEDIATE CODE: A971007 Effective date: 20180117 |
|
| TRDD | Decision of grant or rejection written | ||
| A01 | Written decision to grant a patent or to grant a registration (utility model) |
Free format text: JAPANESE INTERMEDIATE CODE: A01 Effective date: 20180206 |
|
| A61 | First payment of annual fees (during grant procedure) |
Free format text: JAPANESE INTERMEDIATE CODE: A61 Effective date: 20180208 |
|
| R150 | Certificate of patent or registration of utility model |
Ref document number: 6290807 Country of ref document: JP Free format text: JAPANESE INTERMEDIATE CODE: R150 |
|
| LAPS | Cancellation because of no payment of annual fees |
