JP2015536070A - 拡張物理ダウンリンク制御チャネル(epdcch)メッセージをマッピングするための方法及び通信ノード - Google Patents
拡張物理ダウンリンク制御チャネル(epdcch)メッセージをマッピングするための方法及び通信ノード Download PDFInfo
- Publication number
- JP2015536070A JP2015536070A JP2015533012A JP2015533012A JP2015536070A JP 2015536070 A JP2015536070 A JP 2015536070A JP 2015533012 A JP2015533012 A JP 2015533012A JP 2015533012 A JP2015533012 A JP 2015533012A JP 2015536070 A JP2015536070 A JP 2015536070A
- Authority
- JP
- Japan
- Prior art keywords
- epdcch
- aggregation level
- message
- communication node
- bits
- Prior art date
- Legal status (The legal status is an assumption and is not a legal conclusion. Google has not performed a legal analysis and makes no representation as to the accuracy of the status listed.)
- Granted
Links
Images
Classifications
-
- H—ELECTRICITY
- H04—ELECTRIC COMMUNICATION TECHNIQUE
- H04L—TRANSMISSION OF DIGITAL INFORMATION, e.g. TELEGRAPHIC COMMUNICATION
- H04L5/00—Arrangements affording multiple use of the transmission path
- H04L5/003—Arrangements for allocating sub-channels of the transmission path
- H04L5/0048—Allocation of pilot signals, i.e. of signals known to the receiver
-
- H—ELECTRICITY
- H04—ELECTRIC COMMUNICATION TECHNIQUE
- H04L—TRANSMISSION OF DIGITAL INFORMATION, e.g. TELEGRAPHIC COMMUNICATION
- H04L5/00—Arrangements affording multiple use of the transmission path
- H04L5/003—Arrangements for allocating sub-channels of the transmission path
- H04L5/0053—Allocation of signalling, i.e. of overhead other than pilot signals
-
- H—ELECTRICITY
- H04—ELECTRIC COMMUNICATION TECHNIQUE
- H04L—TRANSMISSION OF DIGITAL INFORMATION, e.g. TELEGRAPHIC COMMUNICATION
- H04L5/00—Arrangements affording multiple use of the transmission path
- H04L5/003—Arrangements for allocating sub-channels of the transmission path
- H04L5/0053—Allocation of signalling, i.e. of overhead other than pilot signals
- H04L5/0055—Physical resource allocation for ACK/NACK
-
- H—ELECTRICITY
- H04—ELECTRIC COMMUNICATION TECHNIQUE
- H04W—WIRELESS COMMUNICATION NETWORKS
- H04W72/00—Local resource management
- H04W72/20—Control channels or signalling for resource management
- H04W72/23—Control channels or signalling for resource management in the downlink direction of a wireless link, i.e. towards a terminal
-
- H—ELECTRICITY
- H04—ELECTRIC COMMUNICATION TECHNIQUE
- H04L—TRANSMISSION OF DIGITAL INFORMATION, e.g. TELEGRAPHIC COMMUNICATION
- H04L1/00—Arrangements for detecting or preventing errors in the information received
- H04L1/004—Arrangements for detecting or preventing errors in the information received by using forward error control
- H04L1/0056—Systems characterized by the type of code used
- H04L1/0071—Use of interleaving
Landscapes
- Engineering & Computer Science (AREA)
- Signal Processing (AREA)
- Computer Networks & Wireless Communication (AREA)
- Mobile Radio Communication Systems (AREA)
Abstract
Description
3×N×k=2×Tavail×m (2)
ここで、Nは曖昧性のあるペイロードサイズであり、m及びkは共に整数である。PDCCHについて、CCE別の変調シンボル数は、上で議論したように、Tavail=36個であり得る。よって、PDCCHについて、等式(2)を以下の等式(2´)に示したように簡略化し得る。
N×k=24×m (2´)
{12,14,16,20,24,26,32,40,44,56} (3)
ここでの実施形態によれば、通信ノード110は、EPDCCHメッセージのシンボルを、eCCEのセットに対応する複数のeREGを構成するREのセットへとマッピングする。EPDCCHシンボルがREのセットへとマッピングされる順序は、アグリゲーションレベルに依存する。これは、アグリゲーションレベルの暗黙的な標識となるEPDCCHメッセージに帰結する。UE120がその標識を伴うEPDCCHメッセージを受信する場合、アグリゲーションレベルのいかなる誤解釈も回避される。
これはオプションとしてのアクションである。通信ノード110は、EPDCCHメッセージのアグリゲーションレベル固有のスクランブリングを実行し得る。
これはオプションとしてのアクションである。いくつかの実施形態において、通信ノード110は、マッピングされたEPDCCHメッセージをUE120へ送信し、EPDCCHメッセージの当該マッピングは、EPDCCHペイロードの、UE120による受信時の使用されるアグリゲーションレベルを、UE120が検出することを可能とする。
情報ビットを含むEPDCCHペイロード及び付加される巡回冗長検査(CRC)ビットを、符号化ビットへと符号化することと;
上記符号化ビットを複数の出力シーケンスへと並び替えることと;
上記出力シーケンスをバッファへと収集することと;
レートマッチング回路により、上記出力シーケンスを、上記EPDCCHにより割当てられる制御チャネルエレメントを満たしていくように読み取ることと;
上記EPDCCHのアグリゲーションレベル固有のスクランブリングを実行することと、
を含む。
Claims (30)
- 拡張物理ダウンリンク制御チャネル(EPDCCH)メッセージのシンボルをマッピングするための、通信ノード(110)における方法であって、前記EPDCCHは、1つ以上のアグリゲーションレベルを含み、各アグリゲーションレベルについて、EPDCCHメッセージは、制御チャネルエレメント(eCCE)のセットにより構成され、各eCCEは、複数の拡張リソースエレメントグループ(eREG)のセットへとマッピングされ、各eREGは、物理リソースブロック(PRB)ペア内のリソースエレメント(RE)のグループであり、前記方法は、
前記EPDCCHメッセージの前記シンボルを、前記eCCEのセットに対応する前記複数のeREGを構成する前記REのセットへとマッピングすること(1007)と、
前記EPDCCHシンボルが前記REのセットへとマッピングされる順序は、前記アグリゲーションレベルに依存することと、
を特徴とする、方法。 - 前記マッピング(1007)は、前記EPDCCHシンボルを、複数のPRBペアのEPDCCHセットの割当てられる前記eREGにわたって、サブキャリア優先方式でマッピングし、次に時間にわたってマッピングすることにより、実行される、請求項1に記載の方法。
- 前記EPDCCHメッセージの前記シンボルをREのセットへとマッピングすること(1007)は、前記EPDCCHシンボルを、各PRBペアの範囲内の割当てられる前記eREGにわたって、サブキャリア優先方式でマッピングし、次に時間にわたってマッピングし、次に前記EPDCCHセット内の複数のPRBペアにわたってマッピングすることにより、実行される、請求項1〜2のいずれかに記載の方法。
- 前記EPDCCHメッセージの前記シンボルをREのセットへとマッピングすること(1007)は、前記EPDCCHシンボルを、EPDCCHセットに属する全てのPRBペア内の割当てられる前記eREGにわたって、サブキャリア優先方式でマッピングし、次に時間にわたってマッピングすることにより、実行される、請求項1〜2のいずれかに記載の方法。
- 巡回冗長検査(CRC)ビットを付加し(1001)、EPDCCHペイロードビット及びCRCビットを符号化ビットの3つの出力パリティストリームへと符号化すること(1002)と、
前記複数の出力シーケンスの各々をインターリーブすること(1003)と、
前記EPDCCHへ割当てられる物理チャネルビットの数に適合するように、前記複数の出力シーケンスを読み取ること(1005)と、
ビットの前記出力シーケンスをスクランブリングすること(1006)と、
をさらに含む、請求項1〜4のいずれかに記載の方法。 - 前記EPDCCHメッセージのアグリゲーションレベル固有のスクランブリングを実行すること(1008)、
をさらに含む、請求項1〜5のいずれかに記載の方法。 - マッピングされた前記EPDCCHメッセージをユーザ機器(UE)(120)へ送信すること(1009)と、前記EPDCCHメッセージの当該マッピングは、前記EPDCCHペイロードの前記UE(120)による受信時の使用される前記アグリゲーションレベルを、前記UE(120)が検出することを可能とすることと、
をさらに含む、請求項1〜6のいずれかに記載の方法。 - 前記EPDCCHメッセージのアグリゲーションレベル固有のスクランブリングを実行すること(1008)は、
1つ以上のビットを含む等サイズ又は別サイズのビットチャンクへと前記符号化ビットをグループ化することと、
前記アグリゲーションレベルに依存する順序で、前記ビットチャンクを並び替えることと、
をさらに含む、請求項6〜7のいずれかに記載の方法。 - 前記EPDCCHメッセージのアグリゲーションレベル固有のスクランブリングを実行すること(1008)は、
1つ以上のシンボルを含む等サイズ又は別サイズのシンボルチャンクへと変調EPDCCHシンボルをグループ化することと、
前記アグリゲーションレベルに依存する順序で、前記チャンクを並び替えることと、
をさらに含む、請求項6〜7のいずれかに記載の方法。 - 前記EPDCCHの前記アグリゲーションレベル固有のスクランブリングを実行すること(1008)は、前記EPDCCHの各ダウンリンク制御情報(DCI)メッセージを、その対応するアグリゲーションレベル固有のスクランブリングシーケンスでスクランブリングすること、をさらに含む、請求項6〜7のいずれかに記載の方法。
- 前記EPDCCHメッセージの前記アグリゲーションレベル固有のスクランブリングを実行するためのスクランブリングシーケンスの初期化は、前記アグリゲーションレベルに依存する、請求項6〜10のいずれかに記載の方法。
- 前記EPDCCHメッセージのアグリゲーションレベル固有のスクランブリングを実行すること(1008)は、前記符号化ビットを巡回シフトすること、をさらに含み、前記符号化ビットの前記巡回シフトは、アグリゲーションレベル依存の巡回シフトである、請求項6〜11のいずれかに記載の方法。
- 前記巡回シフトは、変調シンボル又はプリコーディングされた変調シンボルについて実行される、請求項12に記載の方法。
- 前記出力シーケンスを循環バッファであるバッファへと収集すること(1004)、
をさらに含む、請求項1〜13のいずれかに記載の方法。 - 前記通信ノード(110)は、eNodeB又はリレーノードである、請求項1〜14のいずれかに記載の方法。
- 拡張物理ダウンリンク制御チャネル(EPDCCH)メッセージのシンボルをマッピングするための通信ノード(110)であって、前記EPDCCHは、1つ以上のアグリゲーションレベルを含み、各アグリゲーションレベルについて、EPDCCHメッセージは、制御チャネルエレメント(eCCE)のセットにより構成され、各eCCEは、複数の拡張リソースエレメントグループ(eREG)のセットへとマッピングされ、各eREGは、物理リソースブロック(PRB)ペア内のリソースエレメント(RE)のグループであり、前記通信ノードは、
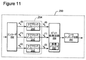
前記EPDCCHメッセージの前記シンボルを、前記eCCEのセットに対応する前記複数のeREGを構成する前記REのセットへとマッピングするように構成されるチャネル符号化回路(250)、
を含むことと、
前記EPDCCHシンボルが前記REのセットへとマッピングされる順序は、前記アグリゲーションレベルに依存することと、
を特徴とする、通信ノード(110)。 - 前記チャネル符号化回路(250)は、前記EPDCCHシンボルを、複数のPRBペアのEPDCCHセットの割当てられる前記eREGにわたって、サブキャリア優先方式でマッピングし、次に時間にわたってマッピングする、ようにさらに構成される、請求項16に記載の通信ノード(110)。
- 前記チャネル符号化回路(250)は、前記EPDCCHシンボルを、各PRBペアの範囲内の割当てられる前記eREGにわたって、サブキャリア優先方式でマッピングし、次に時間にわたってマッピングし、次に前記EPDCCHセット内の複数のPRBペアにわたってマッピングすることにより、前記EPDCCHメッセージの前記シンボルをREのセットへとマッピングする、ようにさらに構成される、請求項16〜17のいずれかに記載の通信ノード(110)。
- 前記チャネル符号化回路(250)は、前記EPDCCHシンボルを、EPDCCHセットに属する全てのPRBペア内の割当てられる前記eREGにわたって、サブキャリア優先方式でマッピングし、次に時間にわたってマッピングすることにより、前記EPDCCHメッセージの前記シンボルをREのセットへとマッピングする、ようにさらに構成される、請求項16〜17のいずれかに記載の通信ノード(110)。
- 巡回冗長検査(CRC)ビットを付加し、EPDCCHペイロードビット及びCRCビットを符号化ビットの3つの出力パリティストリームへと符号化する、ように構成されるエンコーダ(252)と、
前記複数の出力シーケンスの各々をインターリーブするように構成されるインターリーブ回路(254)と、
前記EPDCCHへ割当てられる物理チャネルビットの数に適合するように、前記複数の出力シーケンスを読み取るように構成されるレートマッチング回路であって、当該レートマッチング回路のビットの前記出力シーケンスをスクランブリングするように構成される当該レートマッチング回路(262)と、
をさらに含む、請求項16〜19のいずれかに記載の通信ノード(110)。 - 前記チャネル符号化回路(250)は、前記EPDCCHメッセージのアグリゲーションレベル固有のスクランブリングを実行する、ようにさらに構成される、請求項16〜20のいずれかに記載の通信ノード(110)。
- マッピングされた前記EPDCCHメッセージをユーザ機器(UE)(120)へ送信するように構成される通信用インタフェース(308)、をさらに含み、
前記EPDCCHメッセージの当該マッピングは、前記EPDCCHペイロードの前記UE(120)による受信時の使用される前記アグリゲーションレベルを、前記UE(120)が検出することを可能とする、
請求項16〜21のいずれかに記載の通信ノード(110)。 - 前記チャネル符号化回路(250)は、1つ以上のビットを含む等サイズ又は別サイズのビットチャンクへと前記符号化ビットをグループ化し、前記アグリゲーションレベルに依存する順序で、前記ビットチャンクを並び替えることにより、前記EPDCCHメッセージの前記アグリゲーションレベル固有のスクランブリングを実行する、ようにさらに構成される、請求項21〜22のいずれかに記載の通信ノード(110)。
- 前記チャネル符号化回路(250)は、1つ以上のシンボルを含む等サイズ又は別サイズのシンボルチャンクへと変調EPDCCHシンボルをグループ化し、前記アグリゲーションレベルに依存する順序で、前記チャンクを並び替えることにより、前記EPDCCHメッセージの前記アグリゲーションレベル固有のスクランブリングを実行する、ようにさらに構成される、請求項21〜22のいずれかに記載の通信ノード(110)。
- 前記チャネル符号化回路(250)は、前記EPDCCHの各ダウンリンク制御情報(DCI)メッセージを、その対応するアグリゲーションレベル固有のスクランブリングシーケンスでスクランブリングすることにより、前記EPDCCHメッセージの前記アグリゲーションレベル固有のスクランブリングを実行する、ようにさらに構成される、請求項21〜22のいずれかに記載の通信ノード(110)。
- 前記EPDCCHメッセージの前記アグリゲーションレベル固有のスクランブリングを実行するためのスクランブリングシーケンスの初期化は、前記アグリゲーションレベルに依存する、請求項21〜25のいずれかに記載の通信ノード(110)。
- 前記チャネル符号化回路(250)は、前記符号化ビットを巡回シフトすることにより、前記EPDCCHメッセージの前記アグリゲーションレベル固有のスクランブリングを実行する、ようにさらに構成され、前記符号化ビットの前記巡回シフトは、アグリゲーションレベル依存の巡回シフトである、請求項21〜26のいずれかに記載の通信ノード(110)。
- 前記巡回シフトは、変調シンボル又はプリコーディングされた変調シンボルについて実行される、請求項27に記載の通信ノード(110)。
- 前記出力シーケンスをバッファへと収集するように構成されるビット収集回路(258)、をさらに含み、
前記バッファは、前記通信ノード(110)の循環バッファである、
請求項16〜28のいずれかに記載の通信ノード(110)。 - 前記通信ノード(110)は、eNodeB又はリレーノードである、請求項16〜29のいずれかに記載の通信ノード(110)。
Applications Claiming Priority (3)
| Application Number | Priority Date | Filing Date | Title |
|---|---|---|---|
| US201261702817P | 2012-09-19 | 2012-09-19 | |
| US61/702,817 | 2012-09-19 | ||
| PCT/SE2013/050078 WO2014046591A1 (en) | 2012-09-19 | 2013-01-30 | Method and communication node for mapping an enhanced physical downlink control channel, epdcch, message |
Publications (2)
| Publication Number | Publication Date |
|---|---|
| JP2015536070A true JP2015536070A (ja) | 2015-12-17 |
| JP5956688B2 JP5956688B2 (ja) | 2016-07-27 |
Family
ID=47741239
Family Applications (1)
| Application Number | Title | Priority Date | Filing Date |
|---|---|---|---|
| JP2015533012A Active JP5956688B2 (ja) | 2012-09-19 | 2013-01-30 | 拡張物理ダウンリンク制御チャネル(epdcch)メッセージをマッピングするための方法及び通信ノード |
Country Status (10)
| Country | Link |
|---|---|
| EP (1) | EP2898621B1 (ja) |
| JP (1) | JP5956688B2 (ja) |
| CN (1) | CN104756434B (ja) |
| AR (1) | AR094444A1 (ja) |
| AU (1) | AU2013318674B2 (ja) |
| ES (1) | ES2567292T3 (ja) |
| IN (1) | IN2014DN06712A (ja) |
| MX (1) | MX343395B (ja) |
| PL (1) | PL2898621T3 (ja) |
| WO (1) | WO2014046591A1 (ja) |
Families Citing this family (12)
| Publication number | Priority date | Publication date | Assignee | Title |
|---|---|---|---|---|
| WO2016190790A1 (en) * | 2015-05-22 | 2016-12-01 | Telefonaktiebolaget Lm Ericsson (Publ) | Method and system relating to handover |
| CN108028740B (zh) * | 2015-09-14 | 2021-07-13 | Lg 电子株式会社 | 在无线通信系统中从v2x终端收发消息的方法和装置 |
| DE112015006961B4 (de) | 2015-09-26 | 2025-02-06 | Intel Corporation | Verbindungsfehlerdetektion in mehrfachchipgehäusen |
| CN106656894A (zh) * | 2015-10-30 | 2017-05-10 | 中兴通讯股份有限公司 | 一种发送增强物理下行链路控制信道的方法和装置 |
| US10791548B2 (en) | 2016-05-02 | 2020-09-29 | Qualcomm Incorporated | Search space design for control channel in wireless communication |
| MX2019009167A (es) * | 2017-02-03 | 2019-11-05 | Idac Holdings Inc | Códigos polares avanzados para canal de control. |
| US10992433B2 (en) * | 2017-10-25 | 2021-04-27 | Qualcomm Incorporated | Symbol mapping for a downlink control channel |
| CN110198200A (zh) * | 2018-02-24 | 2019-09-03 | 华为技术有限公司 | 一种无线通信方法及装置 |
| WO2020034336A1 (en) * | 2018-09-28 | 2020-02-20 | Zte Corporation | Systems and methods for bit level signal processing |
| WO2021120135A1 (zh) * | 2019-12-19 | 2021-06-24 | 华为技术有限公司 | 一种资源确定方法及资源确定装置 |
| CN112636873B (zh) * | 2020-12-18 | 2023-03-24 | 浙江三维利普维网络有限公司 | 数据传输方法、装置、存储介质及电子装置 |
| CN116156628A (zh) * | 2021-06-07 | 2023-05-23 | 上海推络通信科技合伙企业(有限合伙) | 一种用于无线通信的节点中的方法和装置 |
Citations (6)
| Publication number | Priority date | Publication date | Assignee | Title |
|---|---|---|---|---|
| JP2006510333A (ja) * | 2002-12-16 | 2006-03-23 | インターディジタル テクノロジー コーポレイション | ターボ符号を実装する場合に使用するパリティビットのストリームにおける問題のあるパンクチャパターンの検出、回避および/または訂正 |
| WO2008136469A1 (ja) * | 2007-05-01 | 2008-11-13 | Ntt Docomo, Inc. | 移動通信システムにおける基地局装置及び方法 |
| JP2010529766A (ja) * | 2007-06-08 | 2010-08-26 | テレフオンアクチーボラゲット エル エム エリクソン(パブル) | レートマッチングによる計算効率の高い畳み込み符号化 |
| JP2010537509A (ja) * | 2007-08-14 | 2010-12-02 | クゥアルコム・インコーポレイテッド | 無線通信システムにおける基準信号生成 |
| JP2011023942A (ja) * | 2009-07-15 | 2011-02-03 | Ntt Docomo Inc | 無線基地局装置及び変調・符号化方式選択方法 |
| WO2012109542A1 (en) * | 2011-02-11 | 2012-08-16 | Interdigital Patent Holdings, Inc | Systems and methods for an enhanced control channel |
Family Cites Families (1)
| Publication number | Priority date | Publication date | Assignee | Title |
|---|---|---|---|---|
| WO2010150512A1 (ja) * | 2009-06-22 | 2010-12-29 | パナソニック株式会社 | 無線通信基地局装置、無線通信端末装置、制御チャネル送信方法および制御チャネル受信方法 |
-
2013
- 2013-01-30 PL PL13705279.1T patent/PL2898621T3/pl unknown
- 2013-01-30 ES ES13705279.1T patent/ES2567292T3/es active Active
- 2013-01-30 MX MX2015003437A patent/MX343395B/es active IP Right Grant
- 2013-01-30 WO PCT/SE2013/050078 patent/WO2014046591A1/en not_active Ceased
- 2013-01-30 IN IN6712DEN2014 patent/IN2014DN06712A/en unknown
- 2013-01-30 JP JP2015533012A patent/JP5956688B2/ja active Active
- 2013-01-30 CN CN201380056537.3A patent/CN104756434B/zh active Active
- 2013-01-30 EP EP13705279.1A patent/EP2898621B1/en active Active
- 2013-01-30 AU AU2013318674A patent/AU2013318674B2/en active Active
- 2013-09-18 AR ARP130103356A patent/AR094444A1/es active IP Right Grant
Patent Citations (6)
| Publication number | Priority date | Publication date | Assignee | Title |
|---|---|---|---|---|
| JP2006510333A (ja) * | 2002-12-16 | 2006-03-23 | インターディジタル テクノロジー コーポレイション | ターボ符号を実装する場合に使用するパリティビットのストリームにおける問題のあるパンクチャパターンの検出、回避および/または訂正 |
| WO2008136469A1 (ja) * | 2007-05-01 | 2008-11-13 | Ntt Docomo, Inc. | 移動通信システムにおける基地局装置及び方法 |
| JP2010529766A (ja) * | 2007-06-08 | 2010-08-26 | テレフオンアクチーボラゲット エル エム エリクソン(パブル) | レートマッチングによる計算効率の高い畳み込み符号化 |
| JP2010537509A (ja) * | 2007-08-14 | 2010-12-02 | クゥアルコム・インコーポレイテッド | 無線通信システムにおける基準信号生成 |
| JP2011023942A (ja) * | 2009-07-15 | 2011-02-03 | Ntt Docomo Inc | 無線基地局装置及び変調・符号化方式選択方法 |
| WO2012109542A1 (en) * | 2011-02-11 | 2012-08-16 | Interdigital Patent Holdings, Inc | Systems and methods for an enhanced control channel |
Non-Patent Citations (1)
| Title |
|---|
| JPN6016017738; LG Electronics: 'Remaining details of ECCE and EREG resource mapping' 3GPP TSG-RAN WG1#70b R1-124320 , 20121012 * |
Also Published As
| Publication number | Publication date |
|---|---|
| EP2898621A1 (en) | 2015-07-29 |
| EP2898621B1 (en) | 2016-03-30 |
| AR094444A1 (es) | 2015-08-05 |
| CN104756434A (zh) | 2015-07-01 |
| MX2015003437A (es) | 2015-06-22 |
| WO2014046591A1 (en) | 2014-03-27 |
| ES2567292T3 (es) | 2016-04-21 |
| AU2013318674A1 (en) | 2015-04-02 |
| PL2898621T3 (pl) | 2016-09-30 |
| IN2014DN06712A (ja) | 2015-05-22 |
| MX343395B (es) | 2016-11-04 |
| CN104756434B (zh) | 2018-02-02 |
| JP5956688B2 (ja) | 2016-07-27 |
| AU2013318674B2 (en) | 2016-04-07 |
Similar Documents
| Publication | Publication Date | Title |
|---|---|---|
| JP5956688B2 (ja) | 拡張物理ダウンリンク制御チャネル(epdcch)メッセージをマッピングするための方法及び通信ノード | |
| US9369248B2 (en) | Method and communication node for mapping an enhanced physical downlink control channel, EPDCCH, message | |
| US11716740B2 (en) | Transmissions of downlink control channels for low cost UEs | |
| US11129140B2 (en) | Search process for physical downlink control channels in a communication system | |
| CN110447278B (zh) | 用于支持异步上行链路harq和多个同时传输的系统和方法 | |
| KR102149758B1 (ko) | Harq-ack 신호의 송신 및 수신 방법 및 장치 | |
| CN105940630B (zh) | 增强harq机制的方法、用户设备及存储器 | |
| US9591635B2 (en) | Systems and methods for UE-specific search space and ePDCCH scrambling | |
| KR101932184B1 (ko) | 통신 시스템에서 물리 하향링크 제어 시그널링의 확장 | |
| US11528091B2 (en) | Method and apparatus for performing channel coding and decoding in communication or broadcasting system | |
| CN105897373B (zh) | 一种在下行控制信道传送传输块的方法和系统 | |
| EP2747306A1 (en) | Method and device for indicating control channel | |
| CN102113261A (zh) | 无线通信系统中的调度许可信息的信号发送 | |
| KR20190035788A (ko) | 데이터 송신 방법 및 장치 | |
| CN102833056A (zh) | 一种进行信道处理的方法、基站及用户设备 | |
| CN103379632A (zh) | 一种信号发送方法和装置 |
Legal Events
| Date | Code | Title | Description |
|---|---|---|---|
| A621 | Written request for application examination |
Free format text: JAPANESE INTERMEDIATE CODE: A621 Effective date: 20150416 |
|
| A131 | Notification of reasons for refusal |
Free format text: JAPANESE INTERMEDIATE CODE: A131 Effective date: 20160119 |
|
| A521 | Request for written amendment filed |
Free format text: JAPANESE INTERMEDIATE CODE: A523 Effective date: 20160414 |
|
| TRDD | Decision of grant or rejection written | ||
| A01 | Written decision to grant a patent or to grant a registration (utility model) |
Free format text: JAPANESE INTERMEDIATE CODE: A01 Effective date: 20160517 |
|
| A61 | First payment of annual fees (during grant procedure) |
Free format text: JAPANESE INTERMEDIATE CODE: A61 Effective date: 20160616 |
|
| R150 | Certificate of patent or registration of utility model |
Ref document number: 5956688 Country of ref document: JP Free format text: JAPANESE INTERMEDIATE CODE: R150 |
|
| R250 | Receipt of annual fees |
Free format text: JAPANESE INTERMEDIATE CODE: R250 |
|
| R250 | Receipt of annual fees |
Free format text: JAPANESE INTERMEDIATE CODE: R250 |
|
| R250 | Receipt of annual fees |
Free format text: JAPANESE INTERMEDIATE CODE: R250 |
|
| R250 | Receipt of annual fees |
Free format text: JAPANESE INTERMEDIATE CODE: R250 |
|
| R250 | Receipt of annual fees |
Free format text: JAPANESE INTERMEDIATE CODE: R250 |
|
| R250 | Receipt of annual fees |
Free format text: JAPANESE INTERMEDIATE CODE: R250 |
|
| R250 | Receipt of annual fees |
Free format text: JAPANESE INTERMEDIATE CODE: R250 |
