JP2015014792A - 多層透過型ディスプレイの駆動 - Google Patents

多層透過型ディスプレイの駆動 Download PDF

Info

Publication number
JP2015014792A
JP2015014792A JP2014138661A JP2014138661A JP2015014792A JP 2015014792 A JP2015014792 A JP 2015014792A JP 2014138661 A JP2014138661 A JP 2014138661A JP 2014138661 A JP2014138661 A JP 2014138661A JP 2015014792 A JP2015014792 A JP 2015014792A
Authority
JP
Japan
Prior art keywords
layer
transmissive
transmissive display
content
display
Prior art date
Legal status (The legal status is an assumption and is not a legal conclusion. Google has not performed a legal analysis and makes no representation as to the accuracy of the status listed.)
Granted
Application number
JP2014138661A
Other languages
English (en)
Other versions
JP6296928B2 (ja
Inventor
エイ ナガラ ウェス
A Nagara Wes
エイ ナガラ ウェス
Current Assignee (The listed assignees may be inaccurate. Google has not performed a legal analysis and makes no representation or warranty as to the accuracy of the list.)
Visteon Global Technologies Inc
Original Assignee
Visteon Global Technologies Inc
Priority date (The priority date is an assumption and is not a legal conclusion. Google has not performed a legal analysis and makes no representation as to the accuracy of the date listed.)
Filing date
Publication date
Application filed by Visteon Global Technologies Inc filed Critical Visteon Global Technologies Inc
Publication of JP2015014792A publication Critical patent/JP2015014792A/ja
Application granted granted Critical
Publication of JP6296928B2 publication Critical patent/JP6296928B2/ja
Active legal-status Critical Current
Anticipated expiration legal-status Critical

Links

Images

Classifications

    • GPHYSICS
    • G09EDUCATION; CRYPTOGRAPHY; DISPLAY; ADVERTISING; SEALS
    • G09GARRANGEMENTS OR CIRCUITS FOR CONTROL OF INDICATING DEVICES USING STATIC MEANS TO PRESENT VARIABLE INFORMATION
    • G09G3/00Control arrangements or circuits, of interest only in connection with visual indicators other than cathode-ray tubes
    • G09G3/20Control arrangements or circuits, of interest only in connection with visual indicators other than cathode-ray tubes for presentation of an assembly of a number of characters, e.g. a page, by composing the assembly by combination of individual elements arranged in a matrix no fixed position being assigned to or needed to be assigned to the individual characters or partial characters
    • G09G3/22Control arrangements or circuits, of interest only in connection with visual indicators other than cathode-ray tubes for presentation of an assembly of a number of characters, e.g. a page, by composing the assembly by combination of individual elements arranged in a matrix no fixed position being assigned to or needed to be assigned to the individual characters or partial characters using controlled light sources
    • G09G3/30Control arrangements or circuits, of interest only in connection with visual indicators other than cathode-ray tubes for presentation of an assembly of a number of characters, e.g. a page, by composing the assembly by combination of individual elements arranged in a matrix no fixed position being assigned to or needed to be assigned to the individual characters or partial characters using controlled light sources using electroluminescent panels
    • G09G3/32Control arrangements or circuits, of interest only in connection with visual indicators other than cathode-ray tubes for presentation of an assembly of a number of characters, e.g. a page, by composing the assembly by combination of individual elements arranged in a matrix no fixed position being assigned to or needed to be assigned to the individual characters or partial characters using controlled light sources using electroluminescent panels semiconductive, e.g. using light-emitting diodes [LED]
    • GPHYSICS
    • G09EDUCATION; CRYPTOGRAPHY; DISPLAY; ADVERTISING; SEALS
    • G09GARRANGEMENTS OR CIRCUITS FOR CONTROL OF INDICATING DEVICES USING STATIC MEANS TO PRESENT VARIABLE INFORMATION
    • G09G3/00Control arrangements or circuits, of interest only in connection with visual indicators other than cathode-ray tubes
    • G09G3/001Control arrangements or circuits, of interest only in connection with visual indicators other than cathode-ray tubes using specific devices not provided for in groups G09G3/02 - G09G3/36, e.g. using an intermediate record carrier such as a film slide; Projection systems; Display of non-alphanumerical information, solely or in combination with alphanumerical information, e.g. digital display on projected diapositive as background
    • G09G3/003Control arrangements or circuits, of interest only in connection with visual indicators other than cathode-ray tubes using specific devices not provided for in groups G09G3/02 - G09G3/36, e.g. using an intermediate record carrier such as a film slide; Projection systems; Display of non-alphanumerical information, solely or in combination with alphanumerical information, e.g. digital display on projected diapositive as background to produce spatial visual effects
    • GPHYSICS
    • G09EDUCATION; CRYPTOGRAPHY; DISPLAY; ADVERTISING; SEALS
    • G09GARRANGEMENTS OR CIRCUITS FOR CONTROL OF INDICATING DEVICES USING STATIC MEANS TO PRESENT VARIABLE INFORMATION
    • G09G2300/00Aspects of the constitution of display devices
    • G09G2300/02Composition of display devices
    • G09G2300/023Display panel composed of stacked panels
    • GPHYSICS
    • G09EDUCATION; CRYPTOGRAPHY; DISPLAY; ADVERTISING; SEALS
    • G09GARRANGEMENTS OR CIRCUITS FOR CONTROL OF INDICATING DEVICES USING STATIC MEANS TO PRESENT VARIABLE INFORMATION
    • G09G2340/00Aspects of display data processing
    • G09G2340/12Overlay of images, i.e. displayed pixel being the result of switching between the corresponding input pixels
    • GPHYSICS
    • G09EDUCATION; CRYPTOGRAPHY; DISPLAY; ADVERTISING; SEALS
    • G09GARRANGEMENTS OR CIRCUITS FOR CONTROL OF INDICATING DEVICES USING STATIC MEANS TO PRESENT VARIABLE INFORMATION
    • G09G2360/00Aspects of the architecture of display systems
    • G09G2360/04Display device controller operating with a plurality of display units
    • GPHYSICS
    • G09EDUCATION; CRYPTOGRAPHY; DISPLAY; ADVERTISING; SEALS
    • G09GARRANGEMENTS OR CIRCUITS FOR CONTROL OF INDICATING DEVICES USING STATIC MEANS TO PRESENT VARIABLE INFORMATION
    • G09G2380/00Specific applications
    • G09G2380/10Automotive applications

Landscapes

  • Engineering & Computer Science (AREA)
  • Physics & Mathematics (AREA)
  • Computer Hardware Design (AREA)
  • General Physics & Mathematics (AREA)
  • Theoretical Computer Science (AREA)
  • Controls And Circuits For Display Device (AREA)
  • Digital Computer Display Output (AREA)
  • User Interface Of Digital Computer (AREA)

Abstract

【課題】多層透過型ディスプレイであって、第1の透過型ディスプレイ層及び第2の透過型ディスプレイ層を含む、多層透過型ディスプレイを駆動するためのシステム及び方法の提供。
【解決手段】本システムは、多層透過型ディスプレイを介して内容を提示する刺激を受け取る入力モジュールと、内容を第1の透過型ディスプレイ層を介して提示するか、第2の透過型ディスプレイ層を介して提示するかを判定するディスプレイモジュールと、状態に応じて、内容を第1の透過型ディスプレイ層を介して表示するか、第2の透過型ディスプレイ層を介して表示するかを判定する層ドライバとを含む。
【選択図】図1

Description

本発明は、多層透過型ディスプレイの駆動に関するものである。
(関連出願の相互参照)
本米国特許出願は、2013年7月5日に出願された、名称「Driving A Multi-Layer Transparent Display」の米国仮特許出願第61/843,179号の利益を主張するものであり、この出願の開示全体が、本出願の開示の一部とみなされ、参照により本明細書に組み込まれる。
透過型発光ディスプレイ(light emitting display:LED)等の透過型ディスプレイは、既存のディスプレイユニットを拡張するために提供されることがある。透過型ディスプレイは、ディスプレイ上に提示される情報が提示される際に、見る人が透過型ディスプレイを通して同時に見ることを可能にする。
透過型ディスプレイは、車両内に実装されてもよい。車両は、透過型ディスプレイにとって理想的であり、その理由は、透過型ディスプレイ上に情報が提供された際に、車両の運転者が、同時にディスプレイの後方の機械的な要素(例えば、ゲージ)を見ることが可能になるからである。
透過型ディスプレイは、道路状況、天候、車両状態等を対象とする情報を伝達できる。したがって、車両の運転者は、安全かつ効率的に車両を運転するために透過型ディスプレイの表示を信頼してもよい。
既存の表示を更に拡張するために、複数の透過型ディスプレイが提供されることがある。機械式ディスプレイとともに複数の透過型ディスプレイを提供することに加えて、複数の透過型ディスプレイは、スタンドアロンユニットとして提供されてもよい。
複数の透過型ディスプレイは、相互に重ね合わせたときに、3次元(3D)効果を提供することができる。具体的には、画像は、第1の層上に、及び僅かに変化させて第2の層上に提供されて、合成画像を生成する。合成画像は、見る人に3Dとして現れる。複数の透過型ディスプレイは、本開示の全体を通して多層透過型ディスプレイと称される。
したがって、3D画像を見る人に提供することによって、複数の透過型ディスプレイは、単なる2次元(2D)のグラフィカルな提示よりもよりグラフィカルで刺激的な体験を達成することができる。3D合成画像は、複数の透過型ディスプレイと関連付けられる情報を見る人に報知する際に、より強力である。
車両のダッシュボードディスプレイ等の、ある応用例において、3D多層透過型ディスプレイを提示することは、高められたユーザ体験をもたらす。例えば、3D多層透過型ディスプレイは、車両の一部として一体化された機械式ゲージの上に配置される。3D多層透過型ディスプレイは、機械式ゲージを3Dのように見せることができる。この3Dの外観は、高められたユーザ体験としての役割を果たす。
第1の透過型ディスプレイ層及び第2の透過型ディスプレイ層を含む多層透過型ディスプレイであって、多層透過型ディスプレイを駆動するためのシステム及び方法が提供される。本システムは、多層透過型ディスプレイを介して内容を提示する刺激を受け取る入力モジュールと、内容を、前記第1の透過型ディスプレイ層を介して提示するか、前記第2の透過型ディスプレイ層を介して提示するかを判定するディスプレイモジュールと、状態に応じて、内容を、第1の透過型ディスプレイ層を介して表示するか、第2の透過型ディスプレイ層を介して表示するかを判定するための層ドライバと、を含む。
詳細な説明は、以下の図面を参照し、同じ数字は、同じ項目を指す。
例示的なコンピュータを示すブロック図である。 多層透過型ディスプレイを駆動するためのシステムの実施例を示す。 多層透過型ディスプレイを駆動するための方法を示す。 本発明の実施例を示す。 本発明の実施例を示す。 本発明の実施例を示す。 本発明の実施例を示す。 本発明の実施例を示す。
標準の、非透過型ディスプレイは、表示を見る人へ情報を表示することができる。しかしながら、情報が平面的に提示されるため、情報が見る人に報知されない可能性がある。
本明細書の開示は、多層透過型ディスプレイを駆動するための方法及びシステムである。方法及びシステムは、実装体に多層透過型ディスプレイの各層を個別に駆動させる。一部の情報が、見る人により近い層で表示されるため、本明細書で対象とする方法及びシステムは、実装体が、最も近い層又はその次の層上に選択的に情報を提供することを可能にする。
したがって、本明細書で開示される方法及びシステムの実装体に、多層透過型ディスプレイの各個別層を個別に制御させることによって、強力なユーザ体験が、多層透過型ディスプレイの見る人により体験される。例えば、多層透過型ディスプレイは、見る人の注意を向けさせる又は惹く点でより効果的であるため、車両に実装されている多層透過型ディスプレイに応じて、安全車両運転が実現される。
図1は、例示的なコンピュータ100を示すブロック図である。コンピュータ100は、チップセット104に連結される、少なくとも1つのプロセッサ102を含む。チップセット104は、メモリコントローラハブ120と、入力/出力(I/O)コントローラハブ122とを含む。メモリ106及びグラフィックスアダプタ112は、メモリコントローラハブ120に連結され、ディスプレイ118は、グラフィックスアダプタ112に連結される。記憶デバイス108、キーボード110、ポインティングデバイス114、及びネットワークアダプタ116は、I/Oコントローラハブ122に連結される。コンピュータ100の他の実施形態は、異なるアーキテクチャを有してもよい。
記憶デバイス108は、ハードドライブ、コンパクトディスクリードオンリーメモリ(CD−ROM)、DVD、又は固体メモリデバイス等の、非一時的なコンピュータ読出し可能な記憶媒体である。メモリ106は、プロセッサ102によって使用される命令及びデータを保持する。ポインティングデバイス114は、マウス、トラックボール、又は他のタイプのポインティングデバイスであり、また、データをコンピュータシステム100に入力するためにキーボード110と組み合わせて使用される。グラフィックスアダプタ112は、画像及び他の情報をディスプレイ118上に表示する。ネットワークアダプタ116は、コンピュータシステム100を1つ以上のコンピュータネットワークに連結する。
コンピュータ100は、本明細書で説明される機能を提供するためのコンピュータプログラムモジュールを実行するように適合される。本明細書で使用される「モジュール」という用語は、指定された機能を提供するために使用されるコンピュータプログラム論理を指す。したがって、モジュールは、ハードウェア、ファームウェア、及び/又はソフトウェアに実装することができる。一実施形態において、プログラムモジュールは、記憶デバイス108に記憶され、メモリ106の中へロードされ、そして、プロセッサ102によって実行される。
本明細書で開示されるエンティティ及びプロセスによって使用されるコンピュータのタイプは、実施形態、及びエンティティによって必要とされる処理能力に応じて変えることができる。コンピュータ100は、モバイルデバイス、タブレット、スマートフォン、又は任意の種類の上で列記した要素を有するコンピューティング要素である。例えば、ハードディスク、固体メモリ、又は記憶デバイス等のビデオコーパスは、本明細書で説明される機能を提供するために協働する複数のブレードサーバを備える、分散型データベースシステムに記憶される。コンピュータには、キーボード110、グラフィックスアダプタ112、及びディスプレイ118等の、上述した構成要素のうちのいくつかが存在しない場合がある。
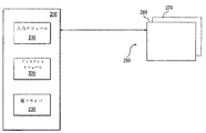
図2は、多層透過型ディスプレイ250を駆動するためのシステム200の実施例を示す。システム200は、コンピュータ100等のデバイスとして組み込まれる。システム200は、入力モジュール210、ディスプレイジュール220、及び層ドライバ230を含む。システム200はまた、多層透過型ディスプレイ250が設置されるいかなる場所で用いられてもよい。例えば、システム200は、車両の場所(車両のダッシュボード付近又は周辺等)に実装されてもよい。
多層透過型ディスプレイ250は、少なくとも2つのディスプレイ(透過型ディスプレイ260及び透過型ディスプレイ270)を含む。例示的な目的のために、2つのディスプレイが示される。しかしながら、当業者は、2つ以上のディスプレイでシステム200に実装できる。一実施形態において、示されるように、ディスプレイ260及び270は、重なり合う。重なり合いは、全体的な重なり合いでもよいし、部分的な重なり合いであってもよい。
入力モジュール210は、多層透過型ディスプレイ250が設置される場所で多様なシステム及びセンサと通信する。例えば、多層透過型ディスプレイ250が車両に設置される場合、入力モジュール210は、速度制御、エンジン制御、外部環境センサ、ユーザ入力等の、車両と関連付けられる多様なモジュールと通信する。多層透過型ディスプレイ250と関連付けられるいかなる種類のモジュール又はセンサが、入力モジュール210と通信するように構成されてもよい。
入力モジュール210は、多層透過型ディスプレイ250の多様な層が、特定の方法で内容を表示するように要求されることを示す多様な信号のような、刺激を受け取る。入力モジュール210は、複数の特定の刺激に基づいて特別な表示を引き起こすように構成されてもよい。多様な実施例が、以下で更に詳細に論議される。
ディスプレイモジュール220は、入力モジュール210から入力を受け取り、多層透過型ディスプレイ250の現在のディスプレイとインターフェースをとり、各個別層のための表示を判定する。例えば、入力が、車両が危険な道路状況に近付きつつあるという検出である場合、ディスプレイモジュール220は、多層透過型ディスプレイ250が選択的に第1の層(透過型層260)上に画像を表示することを判定し得、第1の層(透過型層260)上に表示されている画像を削除し、次いで、第2の層(透過型層270)上に画像を表示する。この表示は、所定のリフレッシュレートで繰り返されてもよい。したがって、第1の層から第2の層へ(動的な様式で)表示を変更することの影響は、車両の運転者へ危険な道路状況を注意して横断するべきであると示す際に効果的である。
層ドライバ230は、ディスプレイモジュール220から情報を受け取り、ディスプレイモジュール220により判定され、命令された画像に従って個別に各層を駆動する。以下で多様な実施例で論議されるように、多層透過型ディスプレイ250は、2つの層、透過型ディスプレイ260及び透過型ディスプレイ270を含む。しかしながら、当業者は、多層透過型ディスプレイ250をより多くの層で実装してもよい。
システム200の1つの実施例で、システム200がある項目をより重要な優先順位と判定した場合、システム200は、その特定の項目(指示、グラフィック、又はアイコン等)を、複数の層上に複製(二重に)し、及び/又は、単一の非透過型ディスプレイでは達成できない独自の様式で表すと判定するとよい。したがって、特定の項目を複数の層上で複製し、又は変更することによって、その特定の項目に、その特定の項目の多層透過型ディスプレイ250を見る人の注意をより上手く惹きつけることができる。
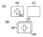
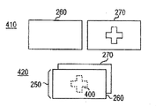
図4A〜図4Cに示されるように、上で論議した実施形態の実施例が示される。図4A〜図4Cの全てにおいて、警告物体400は、ディスプレイ250の観察者へメッセージを示す。図4A〜図4Cにおいて、ディスプレイ260及び270の第1の画像表示410は、個別に提示される。第2の画像表示420は、重なり合うディスプレイ260及び270を示す。
図4Aにおいて、警告物体400は、ディスプレイ260上に現れるように駆動される。警告物体400は、任意の電子実装に関連付けられてもよい。例えば、システム200が、車両内に実装される場合、警告物体400は、ハザード信号、又は物体が車両に近付きつつあるという指示である。
図4Bにおいて、警告物体400は、ディスプレイ270上に現れるように駆動される。したがって、警告物体400が第1のディスプレイ260から、第2のディスプレイ270に遷移することにより、警告物体400は、動的様式で提示される。図4Cに示されるように、警告物体400は、現在、ディスプレイ260上に提示される。図4A〜図4Cに示されるサイクルは、警告物体400がこれ以上必要でなくなるまで、又は、変形例として、運転者が提示を無効にするまで、継続される。
システム200の別の実施例において、(多層透過型ディスプレイ250上でか)、又はユーザが、最前面層としての多様な層の内容の表示を簡単に切り替えることを可能にする外部入力として、ユーザボタンが提供される。したがって、単一のボタンの押下で、最前面層(ディスプレイ260)上の内容が、バックグラウンド層(ディスプレイ270)へ切り替えられてもよい。
図5Aにおいて、選択オプション500は、ディスプレイ260上に提示される。変形例として、選択ボタンが、多層透過型ディスプレイ250に関連した、ベゼル等のエリア上又はその周辺に存在してもよい。選択オプション500への接触を行うユーザに応答して、ディスプレイ260上の内容は、(図5Bに示されるように)ディスプレイ270へ切り替えられる。
システム200の別の実施例では、着信電話等の動的に要求される動作に応じて、システム200は、多層透過型ディスプレイ250の最前面層に報知メッセージを選択的に提示してもよい。その後に、動作がそれ以上要求されなくなったら、システム200は、その報知メッセージを削除するとよい。
上述した実施形態において、ユーザは、多層透過型ディスプレイ250及びシステム200を所望の機能で作動するように選択的に構成してもよい。したがって、ユーザは、多層透過型ディスプレイ250のどの構成要素が複数の層(又は、単一の層)を用いるか、ユーザの好み又はニーズに応じて選択的にプログラム又は構成してもよい。
したがって、本明細書で開示された態様に従って、多層透過型ディスプレイ250は、多層透過型ディスプレイを見る人に、動的で深く強化されたユーザ体験を提供するように、各層上に種々の画像を選択的に表示するように用いられてもよい。
システム200は、多層透過型ディスプレイ250の動作に関連した突出機能を促進するように使用されてもよい。突出機能は、ユーザ/ドライバ、センサ、及び他のソースから生成された情報から、最大限に適した情報から最小限に適した情報までの順位付けを原則的に作成する。より適した情報は、現在の又は今後の状態に基づいて、前側の層が重要な情報を伝達する、最前面へ提供されるのがよい。入力は、現在の及び/又は今後の状態に基づいて機能を起動する又は更新を要求するドライバにより引き起こされる。
多層透過型ディスプレイ250への入力はまた、センサ等の他のソースから供給されてもよい。報知(警告)は、重要かつ時間依存である。報知(警告)は、多層透過型ディスプレイ250に注意する見る人を惹きつけるように、前側の層に提供されるか、及び/又は、後側の層上にも複製される。よって、見る人が報知(警告)を生成した状況に応答しなければいけない時間を、最大化する。後側の層は、より少ない関連情報を表示してもよいが、報知(警告)によって生成された事例の間中、後側の層は、二重(複製)、異なるフォントサイズ、色、点滅等によりメッセージ又は警告を複製することによって補助してもよい。
以下の例は、本明細書に開示されたシステムに顕著な機能を適用することができるシナリオを示した。
1)ゲージ上の速度を拡大し、速度を前側の層へ移動させて被写界深度効果を作り出すこと、
2)警告指示器を表示すること、
3)ラジオがオンのとき、ドライバの注意を惹く種々の層を介して、前後の間を行き来して点滅信号を起動すること、
4)電話が着信中の場合に、テキストメッセージに重ね合わせて電話メニューを前側の層に提供すること、
5)例えば、注視点、到着時刻、方位等の、ナビゲーション情報のために、常時露出されるように並置する際に機能を隠蔽すること/情報を重ね合わせること、
6)ディスプレイ層の1つの上のドライバの進路(矢印、正方形等)及び他のディスプレイ層の上のカメラにおいて物体又は障害物を指摘するように、超音波式センサ及びカメラ付きのインターフェースを用いること、
7)側部カメラでの側部物体検出のために前側の層上に警告マスクを重ね合わせること、である。
図3は、多層透過型ディスプレイを駆動するための方法300を示す。方法300は、システム200のようなデバイス上に実装されてもよい。多層透過型ディスプレイは、図2で上述したものと同じであるのがよい。
動作310において、多層透過型ディスプレイを介して表示される内容が受け取られる。内容は、車両に関連付けられるコンピュータのような、関連のある電子デバイスから供給されてもよい。
動作320において、多層透過型ディスプレイに関連した参照テーブルが、優先順位又は所定の命令と相互参照され、決定は、優先順位又は所定の命令に基づいて、多層透過型ディスプレイのどれかのディスプレイが駆動されるように行われる。例えば、多層透過型ディスプレイが2つのディスプレイを有する場合、最前面のディスプレイが、現在表示されている内容より高い優先順位を有する内容を表示するように命令される。
別の実施例において、図2で説明したように、内容は、ディスプレイのうちのそれぞれから回転又は遷移されてもよい(そのことにより動的な提示を提示する)。
動作330において、動作320で確認された情報に基づいて、内容が駆動される。例えば、内容が、第1の透過型ディスプレイ(331)、第2の透過型ディスプレイ(332)、又は両方(333)上で提示されてもよい。
方法300は、関連する電子デバイスを介して受け取られる命令に応じて動作310に戻って続行してもよい。
図1に示すある種のデバイスは、コンピューティングシステムを含む。コンピューティングシステムは、プロセッサ(CPU)と、システムバスとを含み、該システムバスは、リードオンリーメモリ(read only memory:ROM)及びランダムアクセスメモリ(RAM)等のシステムメモリを含む、種々なシステム構成要素をプロセッサに連結する。他のシステムメモリも、同様に利用可能である。コンピューティングシステムは、より大きい処理能力を提供するために、1つを超えるプロセッサ、又はともにネットワーク化された一群もしくは一団のコンピューティングシステムを含む。システムバスは、メモリバス又はメモリコントローラ、周辺バス、及び様々なバスアーキテクチャのうちのいずれかを使用するローカルバスを含む、いくつかのタイプのバス構造のうちのいずれかである。ROM等に記憶される基本入力/出力システム(basic input/output:BIOS)は、起動中等に、コンピューティングシステム内の要素間で情報を転送するのを補助する、基本的なルーチンを提供する。コンピューティングシステムはさらに、既知のデータベース管理システムに従ってデータベースを維持する、データストアを含む。データストアは、ハードディスクドライブ、磁気ディスクドライブ、光ディスクドライブ、テープドライブ、又は磁気カセット、フラッシュメモリカード、デジタル多用途ディスク、カートリッジ、ランダムアクセスメモリ(random access memory:RAM)、及びリードオンリーメモリ(ROM)等の、プロセッサがアクセス可能であるデータを記憶することができる別のタイプのコンピュータ読出し可能な媒体等の、数多くの形態で具現化される。データストアは、ドライブインターフェースによってシステムバスに接続される。データストアは、コンピューティングシステムのための、コンピュータ読出し可能な命令、データ構造、プログラムモジュール、及び他のデータの不揮発性記憶を提供する。
人間の(及びいくつかの事例では機械の)ユーザ対話を可能にするために、コンピューティングシステムは、音声及び音響用のマイクロホン、ジェスチャー又はグラフィカル入力用の接触感知画面、キーボード、マウス、運動入力等の、入力デバイスを含むとよい。出力デバイスは、複数の出力機構のうちの1つ以上を含むことができる。いくつかの事例において、多モードシステムは、ユーザが、コンピューティングシステムと通信するための複数のタイプの入力を提供することを可能にする。通信インターフェースは、全般的に、コンピューティングデバイスシステムが、種々の通信及びネットワークプロトコルを使用して、1つ以上の他のコンピューティングデバイスと通信することを可能にする。
本明細書で開示される実施形態は、本明細書で開示される構造及びそれらの均等物を含む、デジタル電子回路で、又はコンピュータソフトウェア、ファームウェア、もしくはハードウェアで実現することができる。いくつかの実施形態は、1つ以上のコンピュータプログラムとして、すなわち、1つ以上のプロセッサによって実行するために有形のコンピュータ記憶媒体上にコード化される、コンピュータプログラム命令の1つ以上のモジュールとして実現することができる。コンピュータ記憶媒体は、コンピュータ読出し可能な記憶デバイス、コンピュータ読出し可能な記憶基板、又はランダムアクセスメモリもしくはシリアルアクセスメモリとすること、又はそれらの中に含むことができる。コンピュータ記憶媒体はまた、複数のCD、ディスク、又は他の記憶デバイス等の、1つ以上の別個の有形の構成要素又は媒体とすること、又はそれらの中に含むことができる。コンピュータ記憶媒体は、一時的信号を含まない。
本明細書で使用されるプロセッサという用語は、一例として、プログラマブルプロセッサ、コンピュータ、チップ上のシステム、又は複数のそれらもしくはそれらの組み合わせを含む、データを処理するためのあらゆる種類の装置、デバイス、及び機械を包含する。プロセッサは、特殊用途論理回路、例えば、FPGA(field programmable gate array:フィールドプログラマブルゲートアレイ)又はASIC(application-specific integrated circuit:特定用途向け集積回路)を含むことができる。プロセッサは又はドウェアに加えて、関心のあるコンピュータプログラムの実行環境を作成するコード、例えば、プロセッサファームウェア、プロトコルスタック、データベース管理システム、オペレーティングシステム、クロスプラットフォーム実行時環境、仮想機械、又はそれらのうちの1つ以上の組み合わせを構成するコードを含むことができる。
コンピュータプログラム(プログラム、モジュール、エンジン、ソフトウェア、ソフトウェアアプリケーション、スクリプト、又はコードとしても知られる)は、コンパイル型言語もしくはインタプリタ型言語、宣言型言語もしくは手続き型言語を含む、任意の形態のプログラム言語で書くことができ、また、プログラムは、スタンドアロンプログラムとしての形態、もしくはモジュール、構成要素、サブルーチン、オブジェクト、又はコンピューティング環境での使用に好適な他のユニットとしての形態を含む、任意の形態で展開することができる。コンピュータプログラムは、必ずしも必要としないが、ファイルシステムのファイルに対応してもよい。プログラムは、他のプログラム又はデータ(例えば、マークアップ言語の文書に記憶される1つ以上のスクリプト)を保持するファイルの一部分に、関心のあるプログラム専用の単一のファイルに、又は複数の連携ファイル(例えば、1つ以上のモジュール、サブプログラム、又はコードの一部分を記憶するファイル)に記憶することができる。コンピュータプログラムは、1つのコンピュータ上で、又は1つのサイトに位置するか、もしくは複数のサイトにわたって分散され、また、通信ネットワークによって相互接続される複数のコンピュータ上で実行されるように展開することができる。
個人との相互作用を提供するために、本明細書で開示される実施形態は、グラフィカルユーザインターフェース(graphical user interface:GUI)等の対話型ディスプレイを使用して実現することができる。そのようなGUIは、ポップアップ又はプルダウンのメニュー又はリスト、選択タブ、走査可能な特徴、及び人間の入力を受け取ることができる他の特徴等の、対話的特徴を含むことができる。
本明細書で開示されるコンピューティングシステムは、クライアント及びサーバを含むことができる。クライアント及びサーバは、全般的に、互いから遠隔であり、一般的に、通信ネットワークを通して相互作用する。クライアントとサーバの関係は、それぞれのコンピュータ上で動作するコンピュータプログラムにより、及びクライアントとサーバの関係を互いに有することにより生じる。いくつかの実施形態において、(例えば、クライアントデバイスと対話するユーザにデータを表示し、そのユーザからユーザ入力を受け取る目的で)サーバは、データ(例えば、HTMLページ)をクライアントデバイスに伝送する。クライアントデバイスで生成されるデータ(例えば、ユーザ対話の結果)は、サーバのクライアントデバイスから受け取ることができる。
100 コンピュータ
102 プロセッサ
104 チップセット
106 メモリ
108 記憶デバイス
110 キーボード
112 グラフィックスアダプタ
114 ポインティングデバイス
116 ネットワークアダプタ
118 ディスプレイ
120 メモリコントローラハブ
122 入力/出力(I/O)コントローラハブ
200 システム
210 入力モジュール
220 ディスプレイジュール
230 層ドライバ
250 多層透過型ディスプレイ
260 透過型ディスプレイ
270 透過型ディスプレイ
400 警告物体
500 選択オプション

Claims (16)

  1. 第1の透過型ディスプレイ層と第2の透過型ディスプレイ層とを含む多層透過型ディスプレイを駆動するためのシステムであって、
    前記多層透過型ディスプレイを駆動するための命令のプログラムを記憶する、コンピュータ読出し可能な媒体を備える、データストアと、
    前記命令のプログラムを実行する、プロセッサと、
    前記多層透過型ディスプレイを介して内容を提示するように刺激を受け取る入力モジュールと、
    前記内容を前記第1の透過型ディスプレイ層を介して提示するか、前記第2の透過型ディスプレイ層を介して提示するかを判定するディスプレイモジュールと、
    状態に応じて、前記内容を前記第1の透過型ディスプレイ層を介して表示するか、前記第2の透過型ディスプレイ層を介して表示するかを判定する層ドライバと
    を備える、システム。
  2. 前記ディスプレイモジュールは、参照テーブルに基づいて、前記内容を前記第1の透過型ディスプレイ層を介して提示するか、又は前記第2の透過型ディスプレイ層を介して提示するかを判定し、前記参照テーブルは、前記内容に関連付けられる対応する優先順位を含む、請求項1に記載のシステム。
  3. 前記層ドライバは、前記第1の透過型ディスプレイ層及び前記第2の透過型ディスプレイ層を介して所定の速度で、前記内容を切り替えるように構成される、請求項1に記載のシステム。
  4. 選択オプションの決定に応じて、前記層ドライバが、前記第1の透過型層と前記第2の透過型層との間で前記内容提示を切り替える、請求項1に記載のシステム。
  5. 前記第1の透過型層及び前記第2の透過型層が重なり合う、請求項1に記載のシステム。
  6. 前記多層透過型層が、自動車に内蔵される、請求項5に記載のシステム。
  7. 前記第1の透過型層又は前記第2の透過型層のうちの少なくとも1つは、接触に基づく検出が可能である、請求項6に記載のシステム。
  8. 前記入力モジュールにより受け取られた第2の内容項目に応じて、前記第2の内容項目の優先順位が、前記内容より高いか低いかを判定し、前記判定に基づいて、前記第1又は第2の透過型層を介して前記第2の内容項目を表示する、請求項2に記載のシステム。
  9. 多層透過型ディスプレイを駆動するための方法であって、前記多層透過型ディスプレイが、第1の透過型ディスプレイ層及び第2の透過型ディスプレイ層を含み、
    前記多層透過型ディスプレイを介して内容を提示するための刺激を受け取ることと、
    前記内容を前記第1の透過型ディスプレイ層を介して提示するか、前記第2の透過型ディスプレイ層を介して提示するかを判定することと、
    状態に応じて、前記内容を前記第1の透過型ディスプレイ層を介して表示するか、前記第2の透過型ディスプレイ層を介して表示するかを切り替えることと、を含む、方法。
  10. 前記判定は、前記内容を前記第1の透過型ディスプレイ層を介して提示されるか、前記第2の透過型ディスプレイ層を介して提示するかを参照テーブルに基づいて判定することを更に含み、前記参照テーブルは、前記内容に関連付けられる対応する優先順位を含む、請求項9に記載の方法。
  11. 前記切り替えは、前記第1の透過型ディスプレイ層及び前記第2の透過型ディスプレイ層を介して所定の速度で、前記内容を切り替えることを更に含む、請求項9に記載の方法。
  12. 選択オプションの決定に応じて、前記第1の透過型層と前記第2の透過型層との間で前記内容提示を切り替える、請求項9に記載の方法。
  13. 前記第1の透過型層と前記第2の透過型層とが重なり合う、請求項9に記載の方法。
  14. 前記多層透過型層が、自動車に内蔵される、請求項13に記載の方法。
  15. 前記第1の透過型層又は前記第2の透過型層のうちの少なくとも1つが、接触に基づく検出が可能である、請求項14に記載の方法。
  16. 前記入力モジュールにより受け取られた第2の内容項目に応じて、前記第2の内容項目の優先順位が、前記内容より高いか低いかを判定し、前記判定に基づいて、前記第1又は第2の透過型層を介して前記第2の内容項目を表示する、請求項15に記載の方法。
JP2014138661A 2013-07-05 2014-07-04 多層透過型ディスプレイの駆動 Active JP6296928B2 (ja)

Applications Claiming Priority (4)

Application Number Priority Date Filing Date Title
US201361843179P 2013-07-05 2013-07-05
US61/843,179 2013-07-05
US14/282,844 US9437131B2 (en) 2013-07-05 2014-05-20 Driving a multi-layer transparent display
US14/282,844 2014-05-20

Publications (2)

Publication Number Publication Date
JP2015014792A true JP2015014792A (ja) 2015-01-22
JP6296928B2 JP6296928B2 (ja) 2018-03-20

Family

ID=52132495

Family Applications (1)

Application Number Title Priority Date Filing Date
JP2014138661A Active JP6296928B2 (ja) 2013-07-05 2014-07-04 多層透過型ディスプレイの駆動

Country Status (3)

Country Link
US (1) US9437131B2 (ja)
JP (1) JP6296928B2 (ja)
CN (1) CN104281429B (ja)

Cited By (4)

* Cited by examiner, † Cited by third party
Publication number Priority date Publication date Assignee Title
JP2017016248A (ja) * 2015-06-29 2017-01-19 カシオ計算機株式会社 携帯型電子装置、ディスプレイ制御システム、ディスプレイ制御方法及びディスプレイ制御プログラム
JP2018198006A (ja) * 2017-05-24 2018-12-13 京セラ株式会社 携帯電子機器、制御方法、及び制御プログラム
JP2021189542A (ja) * 2020-05-26 2021-12-13 株式会社ビーティス 情報表示装置
JP2022188084A (ja) * 2017-03-06 2022-12-20 ユニバーサル シティ スタジオズ リミテッド ライアビリティ カンパニー 遊園地環境における層状仮想特徴のためのシステム及び方法

Families Citing this family (18)

* Cited by examiner, † Cited by third party
Publication number Priority date Publication date Assignee Title
KR101551206B1 (ko) * 2013-12-13 2015-09-09 현대자동차주식회사 차량 데이터 제어 시스템 및 제어 방법
US10565925B2 (en) * 2014-02-07 2020-02-18 Samsung Electronics Co., Ltd. Full color display with intrinsic transparency
US10554962B2 (en) 2014-02-07 2020-02-04 Samsung Electronics Co., Ltd. Multi-layer high transparency display for light field generation
US10375365B2 (en) 2014-02-07 2019-08-06 Samsung Electronics Co., Ltd. Projection system with enhanced color and contrast
US10453371B2 (en) 2014-02-07 2019-10-22 Samsung Electronics Co., Ltd. Multi-layer display with color and contrast enhancement
US9666118B2 (en) * 2015-10-01 2017-05-30 Chunghwa Picture Tubes, Ltd. Transparent display apparatus
CN105280111B (zh) * 2015-11-11 2018-01-09 武汉华星光电技术有限公司 透明显示器
CN106274488B (zh) * 2016-08-25 2019-01-08 上海伟世通汽车电子系统有限公司 全数字汽车仪表的报警信息安全保护方法
EP3509890B1 (en) * 2016-09-06 2025-08-27 Aptiv Technologies AG Multi-layer display for vehicle dash
US11079995B1 (en) 2017-09-30 2021-08-03 Apple Inc. User interfaces for devices with multiple displays
DE102017217591A1 (de) * 2017-10-04 2019-04-04 Audi Ag Bediensystem mit dreidimensionaler Anzeige für ein Fahrzeug
US11422765B2 (en) * 2018-07-10 2022-08-23 Apple Inc. Cross device interactions
US10829039B2 (en) * 2019-02-18 2020-11-10 Visteon Global Technologies, Inc. Display arrangement for an instrument cluster
CN115755397A (zh) 2019-04-26 2023-03-07 苹果公司 具有低光操作的头戴式显示器
US10852915B1 (en) 2019-05-06 2020-12-01 Apple Inc. User interfaces for sharing content with other electronic devices
CN111564115A (zh) * 2020-05-09 2020-08-21 深圳奇屏科技有限公司 一种间距可调的多层显示屏幕
DE102021104330A1 (de) 2021-02-23 2022-08-25 Bayerische Motoren Werke Aktiengesellschaft Anwenderschnittstelle, Fortbewegungsmittel sowie Lenkrad für ein Fortbewegungsmittel mit transparenter Anzeigeeinrichtung
CN115048071A (zh) * 2022-06-30 2022-09-13 安波福电子(苏州)有限公司 具有图层映射的多层显示器

Citations (2)

* Cited by examiner, † Cited by third party
Publication number Priority date Publication date Assignee Title
US20060197716A1 (en) * 2005-03-02 2006-09-07 Yoshinori Tanaka Liquid crystal display device
JP2011248209A (ja) * 2010-05-28 2011-12-08 Ntt Docomo Inc 表示装置及びプログラム

Family Cites Families (31)

* Cited by examiner, † Cited by third party
Publication number Priority date Publication date Assignee Title
US6275236B1 (en) * 1997-01-24 2001-08-14 Compaq Computer Corporation System and method for displaying tracked objects on a display device
JP3478192B2 (ja) * 1999-08-20 2003-12-15 日本電気株式会社 画面重畳表示型情報入出力装置
NZ517713A (en) * 2002-06-25 2005-03-24 Puredepth Ltd Enhanced viewing experience of a display through localised dynamic control of background lighting level
US20040183659A1 (en) * 2003-03-19 2004-09-23 Eddie Somuah Digital message display for vehicles
US8118674B2 (en) 2003-03-27 2012-02-21 Wms Gaming Inc. Gaming machine having a 3D display
NZ525956A (en) * 2003-05-16 2005-10-28 Deep Video Imaging Ltd Display control system for use with multi-layer displays
US7271815B2 (en) * 2004-10-21 2007-09-18 International Business Machines Corporation System, method and program to generate a blinking image
US20070150906A1 (en) * 2005-12-09 2007-06-28 Art Richards Method for integration of functionality of computer programs and substitute user interface for transportation environment
JP4764231B2 (ja) * 2006-03-31 2011-08-31 キヤノン株式会社 画像処理装置、制御方法、コンピュータプログラム
US8248462B2 (en) 2006-12-15 2012-08-21 The Board Of Trustees Of The University Of Illinois Dynamic parallax barrier autosteroscopic display system and method
CA2679358C (en) * 2007-03-09 2015-12-01 International Business Machines Corporation Determining request destination
WO2009026457A1 (en) 2007-08-22 2009-02-26 Pure Depth Limited Determining a position for an interstitial diffuser for a multi-component display
EP2229576B1 (en) * 2007-12-05 2016-04-13 Visteon Global Technologies, Inc. Vehicle user interface systems and methods
DE102009004432B4 (de) * 2008-01-25 2016-12-08 Denso Corporation Kraftfahrzeuganzeigevorrichtung zum Anzeigen eines ein vorderes Hindernis umkreisenden Bildflecks
WO2010023537A1 (en) * 2008-08-26 2010-03-04 Puredepth Limited Improvements in multi-layered displays
US20100057566A1 (en) * 2008-09-03 2010-03-04 Oded Itzhak System and method for multiple layered pay-per-click advertisements
US9495876B2 (en) * 2009-07-27 2016-11-15 Magna Electronics Inc. Vehicular camera with on-board microcontroller
KR101066990B1 (ko) 2010-03-04 2011-09-22 주식회사 토비스 다층 영상 표시 장치
US20110291918A1 (en) * 2010-06-01 2011-12-01 Raytheon Company Enhancing Vision Using An Array Of Sensor Modules
US8896684B2 (en) * 2010-06-24 2014-11-25 Tk Holdings Inc. Vehicle display enhancements
US9466173B2 (en) 2011-09-30 2016-10-11 Igt System and method for remote rendering of content on an electronic gaming machine
KR20130088686A (ko) * 2012-01-31 2013-08-08 삼성전자주식회사 디스플레이 장치, 디스플레이 패널 및 디스플레이 방법
US20130342696A1 (en) * 2012-06-25 2013-12-26 Hon Hai Precision Industry Co., Ltd. Monitoring through a transparent display of a portable device
EP2693331A3 (en) * 2012-08-01 2014-04-16 Samsung Electronics Co., Ltd Transparent display apparatus and display method thereof
JP5622818B2 (ja) * 2012-09-28 2014-11-12 富士重工業株式会社 視線誘導システム
JP2014080098A (ja) * 2012-10-16 2014-05-08 Calsonic Kansei Corp 車両用表示装置
SE1251304A1 (sv) * 2012-11-19 2014-05-20 Scania Cv Ab Bränsleförbrukningsanalys i ett fordon
CN103051711B (zh) 2012-12-21 2015-09-02 广州杰赛科技股份有限公司 基于spice协议的嵌入式云终端系统的构建方法
US8976323B2 (en) * 2013-01-04 2015-03-10 Disney Enterprises, Inc. Switching dual layer display with independent layer content and a dynamic mask
US20140282182A1 (en) * 2013-03-15 2014-09-18 Honda Moror Co., Ltd. Multi-layered vehicle display system and method
JP6148887B2 (ja) * 2013-03-29 2017-06-14 富士通テン株式会社 画像処理装置、画像処理方法、及び、画像処理システム

Patent Citations (3)

* Cited by examiner, † Cited by third party
Publication number Priority date Publication date Assignee Title
US20060197716A1 (en) * 2005-03-02 2006-09-07 Yoshinori Tanaka Liquid crystal display device
JP2006276822A (ja) * 2005-03-02 2006-10-12 Hitachi Displays Ltd 表示装置
JP2011248209A (ja) * 2010-05-28 2011-12-08 Ntt Docomo Inc 表示装置及びプログラム

Cited By (6)

* Cited by examiner, † Cited by third party
Publication number Priority date Publication date Assignee Title
JP2017016248A (ja) * 2015-06-29 2017-01-19 カシオ計算機株式会社 携帯型電子装置、ディスプレイ制御システム、ディスプレイ制御方法及びディスプレイ制御プログラム
JP2022188084A (ja) * 2017-03-06 2022-12-20 ユニバーサル シティ スタジオズ リミテッド ライアビリティ カンパニー 遊園地環境における層状仮想特徴のためのシステム及び方法
US12153723B2 (en) 2017-03-06 2024-11-26 Universal City Studios Llc Systems and methods for layered virtual features in an amusement park environment
JP7655887B2 (ja) 2017-03-06 2025-04-02 ユニバーサル シティ スタジオズ リミテッド ライアビリティ カンパニー 遊園地環境における層状仮想特徴のためのシステム及び方法
JP2018198006A (ja) * 2017-05-24 2018-12-13 京セラ株式会社 携帯電子機器、制御方法、及び制御プログラム
JP2021189542A (ja) * 2020-05-26 2021-12-13 株式会社ビーティス 情報表示装置

Also Published As

Publication number Publication date
CN104281429A (zh) 2015-01-14
US9437131B2 (en) 2016-09-06
JP6296928B2 (ja) 2018-03-20
CN104281429B (zh) 2020-03-31
US20150009189A1 (en) 2015-01-08

Similar Documents

Publication Publication Date Title
JP6296928B2 (ja) 多層透過型ディスプレイの駆動
JP6791822B2 (ja) 複数のビークルディスプレイデバイスのためのヒューマンマシンインターフェイス(hmi)制御ユニット
CN110506231B (zh) 用于包括多个显示器的显示系统中的对象涟漪的方法和系统
JP6986699B2 (ja) 表示制御システム、表示システム、移動体、表示制御方法及びプログラム
US9865224B2 (en) Transparent display apparatus and display method thereof
CN104395935B (zh) 用于基于环境信息的视觉复杂度来修改信息呈现的方法和装置
JP2018165148A (ja) 自動運転インターフェイス
CN105786172A (zh) 使用相关联的感觉反馈进行跟踪的系统和方法
KR20170126963A (ko) 시뮬레이터 멀미를 예방하기 위해 뷰포인트 전환들을 포함하는 가상 현실 컨텐츠 제시
EP3304273B1 (en) User terminal device, electronic device, and method of controlling user terminal device and electronic device
US12482191B2 (en) Parallel renderers for electronic devices
WO2019103991A1 (en) Depth based alerts in multi-display system
US10922885B2 (en) Interface deploying method and apparatus in 3D immersive environment
WO2020014038A2 (en) Ghost multi-layer and single layer display systems
CN115527015A (zh) 通知消息的显示方法、装置、电子设备和存储介质
CN109683755B (zh) 用户界面显示方法及装置、电子设备及存储介质
EP3190503A1 (en) An apparatus and associated methods
US20240019928A1 (en) Gaze and Head Pose Interaction
US11962743B2 (en) 3D display system and 3D display method
JP6355444B2 (ja) 画像取込みデバイスによる透過型ディスプレイの調整
JP7266556B2 (ja) Arナビゲーションの表示方法、装置、電子機器及び記憶媒体
JP2023066645A (ja) 表示制御装置、表示制御方法、及び、プログラム
WO2021124729A1 (ja) 表示制御システム、移動体、表示制御方法、表示装置、表示方法及びプログラム
JP6956376B2 (ja) 表示制御システム、表示システム、表示制御方法、プログラム、及び移動体
CN116048646B (zh) 进程处理方法及电子设备

Legal Events

Date Code Title Description
A977 Report on retrieval

Free format text: JAPANESE INTERMEDIATE CODE: A971007

Effective date: 20150520

A131 Notification of reasons for refusal

Free format text: JAPANESE INTERMEDIATE CODE: A131

Effective date: 20150622

A601 Written request for extension of time

Free format text: JAPANESE INTERMEDIATE CODE: A601

Effective date: 20150910

A521 Request for written amendment filed

Free format text: JAPANESE INTERMEDIATE CODE: A523

Effective date: 20151020

A131 Notification of reasons for refusal

Free format text: JAPANESE INTERMEDIATE CODE: A131

Effective date: 20160404

A521 Request for written amendment filed

Free format text: JAPANESE INTERMEDIATE CODE: A523

Effective date: 20160704

A02 Decision of refusal

Free format text: JAPANESE INTERMEDIATE CODE: A02

Effective date: 20161221

A521 Request for written amendment filed

Free format text: JAPANESE INTERMEDIATE CODE: A523

Effective date: 20170421

A911 Transfer to examiner for re-examination before appeal (zenchi)

Free format text: JAPANESE INTERMEDIATE CODE: A911

Effective date: 20170501

A912 Re-examination (zenchi) completed and case transferred to appeal board

Free format text: JAPANESE INTERMEDIATE CODE: A912

Effective date: 20170728

A61 First payment of annual fees (during grant procedure)

Free format text: JAPANESE INTERMEDIATE CODE: A61

Effective date: 20180220

R150 Certificate of patent or registration of utility model

Ref document number: 6296928

Country of ref document: JP

Free format text: JAPANESE INTERMEDIATE CODE: R150

R250 Receipt of annual fees

Free format text: JAPANESE INTERMEDIATE CODE: R250

R250 Receipt of annual fees

Free format text: JAPANESE INTERMEDIATE CODE: R250

R250 Receipt of annual fees

Free format text: JAPANESE INTERMEDIATE CODE: R250

R250 Receipt of annual fees

Free format text: JAPANESE INTERMEDIATE CODE: R250

R250 Receipt of annual fees

Free format text: JAPANESE INTERMEDIATE CODE: R250