JP2014217618A - 美容機器 - Google Patents

美容機器 Download PDF

Info

Publication number
JP2014217618A
JP2014217618A JP2013099309A JP2013099309A JP2014217618A JP 2014217618 A JP2014217618 A JP 2014217618A JP 2013099309 A JP2013099309 A JP 2013099309A JP 2013099309 A JP2013099309 A JP 2013099309A JP 2014217618 A JP2014217618 A JP 2014217618A
Authority
JP
Japan
Prior art keywords
heat
heat transfer
supply body
cold
heat supply
Prior art date
Legal status (The legal status is an assumption and is not a legal conclusion. Google has not performed a legal analysis and makes no representation as to the accuracy of the status listed.)
Granted
Application number
JP2013099309A
Other languages
English (en)
Other versions
JP6139967B2 (ja
Inventor
岡本 祐介
Yusuke Okamoto
祐介 岡本
Current Assignee (The listed assignees may be inaccurate. Google has not performed a legal analysis and makes no representation or warranty as to the accuracy of the list.)
Maxell Ltd
Original Assignee
Hitachi Maxell Ltd
Priority date (The priority date is an assumption and is not a legal conclusion. Google has not performed a legal analysis and makes no representation as to the accuracy of the date listed.)
Filing date
Publication date
Application filed by Hitachi Maxell Ltd filed Critical Hitachi Maxell Ltd
Priority to JP2013099309A priority Critical patent/JP6139967B2/ja
Publication of JP2014217618A publication Critical patent/JP2014217618A/ja
Application granted granted Critical
Publication of JP6139967B2 publication Critical patent/JP6139967B2/ja
Active legal-status Critical Current
Anticipated expiration legal-status Critical

Links

Images

Classifications

    • AHUMAN NECESSITIES
    • A61MEDICAL OR VETERINARY SCIENCE; HYGIENE
    • A61FFILTERS IMPLANTABLE INTO BLOOD VESSELS; PROSTHESES; DEVICES PROVIDING PATENCY TO, OR PREVENTING COLLAPSING OF, TUBULAR STRUCTURES OF THE BODY, e.g. STENTS; ORTHOPAEDIC, NURSING OR CONTRACEPTIVE DEVICES; FOMENTATION; TREATMENT OR PROTECTION OF EYES OR EARS; BANDAGES, DRESSINGS OR ABSORBENT PADS; FIRST-AID KITS
    • A61F7/00Heating or cooling appliances for medical or therapeutic treatment of the human body

Landscapes

  • Health & Medical Sciences (AREA)
  • Thermotherapy And Cooling Therapy Devices (AREA)
  • Engineering & Computer Science (AREA)
  • Biomedical Technology (AREA)
  • Heart & Thoracic Surgery (AREA)
  • Vascular Medicine (AREA)
  • Life Sciences & Earth Sciences (AREA)
  • Animal Behavior & Ethology (AREA)
  • General Health & Medical Sciences (AREA)
  • Public Health (AREA)
  • Veterinary Medicine (AREA)

Abstract

【課題】肌処理ヘッドを接触させた肌面の中央部とその周囲部とに、少ない手間で同時に異なる温度の熱刺激を与えることができる美容機器を提供する。目元ケア用の美容機器として構成する場合には、眼球とまぶたの周辺の肌面に、それぞれ異なる温度の熱刺激を与えて目元部分に美容効果を発揮することができる目元ケア用の美容機器を提供する。
【解決手段】肌処理ヘッド2に、温熱生成手段13および冷熱生成手段14と、温熱生成手段13または冷熱生成手段14で生成された熱を肌面に伝導する第1熱供給体30と、冷熱生成手段14または温熱生成手段13で生成された熱を肌面に伝導する第2熱供給体20とを設ける。第1熱供給体30の周囲を囲む状態で第2熱供給体20を配置する。
【選択図】図1

Description

本発明は、肌面に対して異なる温度の熱刺激を付与できる肌処理ヘッドを備えた美容機器に関する。美容機器は例えば目元ケア用の美容機器として使用することができる。
肌面に冷熱刺激または温熱刺激を与える美容機器は、例えば特許文献1の冷温美顔器に開示されている。そこでは、本体部の一側面に、ペルチェ素子で冷却される冷熱部と、ヒーターで加熱される温熱部とが左右に隣接する状態で設けてある。冷熱部および温熱部の各面は、互いの面が所定の角度で交わるように配設されている。使用時には、冷熱部と温熱部とを肌面に交互に接触させて、冷熱刺激と温熱刺激を肌面に与える。
目元に冷熱刺激を与える美容機器は、例えば特許文献2の人体冷却器に開示されている。そこでは、左右一対の熱伝導手段が、ケース本体のインナーケースの外部に露出するように配設されており、熱伝導手段には、それぞれペルチェ素子が面接触状に配置されている。ケース本体には、頭部を抱持するバンドが着脱可能に設けられている。ペルチェ素子で発生した温熱は、放熱板に伝導し、ケース本体内に設けた冷却ファンにより、アウターケースに形成した開口部からケース本体の外部に排出される。使用時には、熱伝導手段がまぶたの肌面に密着するようにバンドでケース本体を頭部に装着して、ペルチェ素子を駆動することにより、冷熱刺激をまぶたの肌面に与える。
また、目元に温熱刺激を与える美容機器は、例えば特許文献3の目元ケア装置に開示されている。そこでは、目の周りを覆う一対の凹所を備えたゴーグル状のハウジングと、凹所の内奥に配置される水保持部と、ハウジングに埋設されて水保持部を加熱する加熱部などで美容機器を構成している。ハウジングの下縁寄りの左右には、下まぶたの周辺を加熱する第2の加熱部が設けてある。使用時には、スポンジ状の水保持部に水を含浸させ、バンドを後頭部に掛けてハウジングを顔面に密着させ、目元の周囲を凹所で覆う。この状態で、加熱部のヒーターに通電し、ヒーターの熱で水保持部の水を気化させ、凹所に充満する水蒸気で温熱刺激を目の周囲の皮膚や筋肉に与える。
特開昭63−257556号公報(第3頁左上欄、図7) 特開平11−128261号公報(段落番号0018、0021、0023、図2、図6) 特開2011−045394号公報(段落番号0031〜0033、図2)
特許文献1の美容機器では、冷熱部および温熱部の各面が、本体の一側面に隣接させてあるので、本体の傾きを変更するだけで、肌面にそれぞれの面を交互に接触させて、冷熱と温熱の刺激を交互に与えることができる。また、肌面に冷熱部および温熱部の両面を同時に接触させた状態で、各面が隣接する方向に本体を移動させることにより、各面の移動方向の肌面に対して、順次冷熱と温熱を連続して交互に与えることができる。しかし、本体を垂直に移動させた場合には、各面の移動方向の肌面に対して、いずれか一方の刺激のみを連続して与えるだけである。また、円を描くように本体部を移動させた場合には、冷熱と温熱とが与えられる部分と、冷熱と温熱とのいずれか一方のみが与えられる部分とが発生し、肌面に対して均一に両熱刺激を与えることができない。
特許文献2および3の美容機器では、目元部分の肌面に冷熱あるいは温熱のいずれか一方の刺激しか与えることができない点に改良の余地がある。
本発明の目的は、肌処理ヘッドを接触させた肌面の中央部とその周囲部とに、少ない手間で同時に異なる温度の熱刺激を与えることができる美容機器を提供することにある。
本発明の目的は、広範囲の肌面に対して熱刺激を与える場合でも、肌処理ヘッドの姿勢を変更することなく、肌面に対して簡便に異なる温度の熱刺激を交互に与えることができる美容機器を提供することにある。
本発明の目的は、眼球とまぶたの周辺の肌面に、それぞれ異なる温度の熱刺激を与えて目元部分に美容効果を発揮することができる目元ケア用の美容機器を提供することにある。
本発明に係る美容機器は、肌処理ヘッド2に、温熱生成手段13および冷熱生成手段14と、温熱生成手段13または冷熱生成手段14で生成された熱を肌面に伝導する第1熱供給体30と、冷熱生成手段14または温熱生成手段13で生成された熱を肌面に伝導する第2熱供給体20とが設けられている。第2熱供給体20が、第1熱供給体30の周囲を囲む状態で配置してあることを特徴とする。なお、本発明における温熱生成手段13および冷熱生成手段14における「温熱」および「冷熱」とは、人の感覚を基準にした温熱あるいは冷熱ではなく、異なる温度のうち温度が高い側を温熱とし、温度が低い側を冷熱とする相対的な概念である。
第2熱供給体20を、肌面との接触部分の側へ向かって開口するカップ形状に形成する。
第2熱供給体20は、ベース壁21と、ベース壁21に連続して形成される湾曲壁22とを備えている。湾曲壁22を、カップ開口縁へ向かって徐々に拡開するラッパ状に形成する。
第1熱供給体30に肌面と接触する第1伝熱面34を設ける。第1伝熱面34を、第2熱供給体20のカップ開口縁の第2伝熱面23よりカップ内奥側へ凹んだ位置に配置する。
温熱生成手段13または冷熱生成手段14と第1熱供給体30とを、第1伝熱体37を介して熱移動可能に接続する。冷熱生成手段14または温熱生成手段13と第2熱供給体20とを、第2伝熱体24を介して熱移動可能に接続する。第1伝熱体37と第2伝熱体24との間に、両伝熱体37・24の間の熱移動を阻止するスペーサー46を配置する。
第2熱供給体20のベース壁21に形成した連通開口27に断熱筒壁47を配置する。第1伝熱体37を前記断熱筒壁47の内部空間を介して第1熱供給体30に接続する。
断熱筒壁47をスペーサー46と一体に形成する。
第1伝熱体37と前記断熱筒壁47との間に、断熱空間Sを形成する。
第2熱供給体20の外面に配置したスペーサー46を、第2締結体44で第2熱供給体20に締結固定する。第1伝熱体37は、断熱筒壁47に挿通される伝熱軸部38と、温熱生成手段13または冷熱生成手段14に接触する第1受熱部39とを一体に備えている。第1伝熱体37は、その第1受熱部39が位置決めされた状態でスペーサー46に接合されて、伝熱軸部38が断熱筒壁47を前後に貫通している。伝熱軸部38にねじ込んだ第1締結体43で、第1熱供給体30と第1伝熱体37とを締結固定した状態において、伝熱軸部38と前記断熱筒壁47との間に筒状の断熱空間Sを形成する。
温熱生成手段13および冷熱生成手段14を1個の熱電変換素子15で構成する。第1熱供給体30は、熱電変換素子15の温熱面16と冷熱面17とのいずれか一方と第1伝熱体37を介して接続する。第2熱供給体20は、熱電変換素子15の冷熱面17と温熱面16とのいずれか一方と第2伝熱体24を介して接続する。第1伝熱面34を、環状に形成した第2伝熱面23の内部に配置する。
肌処理ヘッド2に、まぶたを介して眼球に熱刺激を付与する第1熱供給体30と、まぶたの周辺の肌面に熱刺激を付与する第2熱供給体20とを設け、まぶたおよびまぶたの周辺の肌面に熱刺激を与える目元ケア用の美容機器として構成する。
第1熱供給体30の第1伝熱面34をまぶた形状に対応して横長楕円状に形成する。第2熱供給体20の第2伝熱面23を第1伝熱面34の周囲を囲む横長の楕円リング状に形成する。第2伝熱面23の長軸方向の中心位置を、第1伝熱面34の長軸方向の中心位置に対して、鼻梁から離れる側に偏寄させる。
まぶたと接触する第1熱供給体30の第1伝熱面34を、第1伝熱面34の長軸方向の中心位置が前側に向かって凹む凹曲面状に形成する。
熱電変換素子15の作動状態を制御する制御手段6を備える。熱電変換素子15に供給される駆動電流の極性を、制御手段6で所定時間ごとに反転して、第1熱供給体30および第2熱供給体20による熱刺激態様を、温熱刺激態様と冷熱刺激態様とに交互に切換えるように構成する。
本発明においては、肌処理ヘッド2に、温熱生成手段13および冷熱生成手段14と、それぞれの熱生成手段13・14で生成された熱を肌面に伝導する、第1熱供給体30と、第2熱供給体20とを設け、第1熱供給体30の周囲を囲むように第2熱供給体20を配置した。これによれば、第1熱供給体30と、その周囲を囲む第2熱供給体20とを肌面に接触させて熱を伝導することができ、少ない手間で広範囲の肌面に同時に異なる温度の熱刺激を与えることができる。また、肌面に接触させた状態で、両熱供給体20・30を任意の方向へスライド移動させることにより、順次冷熱刺激と温熱刺激を連続して交互に与えることができ、広範囲の肌面に対して異なる温度の熱刺激を簡便に与えることができる。さらに、1方向に連続して肌処理ヘッド2をスライド移動させる場合には、肌処理ヘッド2が移動する方向の肌面に、第2熱供給体20、第1熱供給体30、第2熱供給体20を、交互に接触させて熱刺激を与えることができる利点もある。
肌面との接触部分の側へ向かって開口するカップ形状に第2熱供給体20を形成すると、第1熱供給体30と第2熱供給体20を3次元空間を介して隣接させて、両熱供給体20・30が互いに熱干渉しあうのを防止できる。また、冷熱側の熱供給体の温度が周囲温度よりも充分に低い場合においては、冷熱側の熱供給体の表面に結露による水滴が発生するのを防いで、肌面を濡らすことなく快適に美容機器を使用することができる。詳しくは、冷熱側の熱供給体の温度が周囲温度よりも充分に低いと、周辺空気が冷却されて熱供給体の表面に結露が生じやすくなる。しかし、肌面とカップ形状の第2熱供給体20で囲まれる密閉空間内の空気は、温熱側の熱供給体で加熱されて、冷熱側の熱供給体で過度に冷却されることがない。これにより、第1熱供給体30および第2熱供給体20のいずれの熱供給体が冷熱を伝導する場合であっても、冷熱側の熱供給体の密閉空間に臨む表面における結露の発生を解消できるので、快適に美容機器を使用することができる。
第2熱供給体20が備える湾曲壁22を、カップ開口縁へ向かって徐々に拡開するラッパ状に形成すると、第2熱供給体20の湾曲壁22の内面を立体的な肌面に沿わせて、湾曲壁22と肌面との接触面積を大きくすることができる。従って、第2熱供給体20を肌面に強く押し当てた場合でも、押し付け力を分散させて肌面への接触刺激を軽減することができ、快適に美容機器を使用することができる。
第2熱供給体20の第2伝熱面23よりカップ内奥側へ凹んだ位置に、第1熱供給体30の第1伝熱面34を配置すると、肌処理ヘッド2の肌面に対する押し付け具合を加減することで、肌面に付与される熱刺激を異ならせることができる。例えば、肌処理ヘッド2を肌面に軽く押し付けた場合には、第2伝熱面23だけを肌面に接触させて、一方の熱刺激のみを肌面に与えることができる。肌処理ヘッド2をさらに押し付けると、第1伝熱面34と第2伝熱面23の両方を肌面に接触させることができ、異なる熱刺激を肌面に与えることができる。従って、肌処理ヘッド2の肌面への押し付け具合の違いによって、冷温いずれか一方の熱刺激または冷温の両熱刺激を選択して肌面に与えることができる。
第1伝熱体37と第2伝熱体24との間にスペーサー46を配置すると、両伝熱体37・24の間の熱移動をスペーサー46の断熱作用で阻止できる。従って、温熱生成手段13で生成した温熱、および冷熱生成手段14で生成した冷熱を、それぞれ第1伝熱体37と第2伝熱体24を介して、第1熱供給体30または第2熱供給体20に効果的に伝導して、熱伝導経路における熱の無駄な消費を防止できる。また、熱の無駄な消費を防止することで、両熱供給体30・20が所定の温度に達するまでの待機時間を短縮できる利点もある。
ベース壁21に形成した連通開口27に配置した断熱筒壁47の内部空間を介して、第1伝熱体37を第1熱供給体30に接続すると、断熱筒壁47で、第2熱供給体20のベース壁21と、第1伝熱体37との間の熱移動を阻止できる。従って、第1伝熱体37から第1熱供給体30への熱移動、および第2伝熱体24から第2熱供給体20への熱移動を、さらに効果的に行って、熱伝導経路における熱の無駄な消費を確実に防止できる。
断熱筒壁47をスペーサー46と一体に形成すると、断熱筒壁47を独立した部品として形成する場合に比べて、断熱構造の構成部品点数を少なくできるので、その分だけ肌処理ヘッド2の製造に要するコストを削減できる。
第1伝熱体37と断熱筒壁47との間に断熱空間Sを形成すると、断熱筒壁47に加え、断熱空間S部分の空気で、第2熱供給体20のベース壁21と第1伝熱体37との間の熱移動をさらに効果的に阻止できる。従って、第1伝熱体37から第1熱供給体30への熱移動、および第2伝熱体24から第2熱供給体20への熱移動を、さらに効果的に行って、熱伝導経路における熱の無駄な消費をさらに確実に防止できる。
スペーサー46を第2熱供給体20に締結し、第1熱供給体30と第1伝熱体37をスペーサー46に締結固定した状態において、第1伝熱体37の伝熱軸部38と前記断熱筒壁47との間に筒状の断熱空間Sが形成されるようにした。これによれば、スペーサー46と第1伝熱体37とが位置ずれすることなく、伝熱軸部38と断熱筒壁47との間に筒状の断熱空間Sを確実に形成して、断熱筒壁47および断熱空間Sでベース壁21と伝熱軸部38との間の熱移動を効果的に阻止することができる。また、第2熱供給体20と、断熱筒壁47を一体に形成したスペーサー46と、第2熱供給体20および第1伝熱体37とを、第1締結体43と第2締結体44とで強固に固定して一体化することができ、肌処理ヘッド2を1個のユニット部品として構成することができる。
温熱生成手段13および冷熱生成手段14を1個の熱電変換素子15で構成すると、温熱生成手段13と冷熱生成手段14を個別に設ける場合に比べて、熱生成構造を簡素化して肌処理ヘッド2の製造に要するコストを削減できる。また、熱電変換素子15で生成される温熱と冷熱の双方を利用して肌面に熱刺激を付与するので、熱電変換素子15で生成した温熱と冷熱を無駄なく有効に活用できる。
まぶたを介して眼球に熱刺激を付与する第1熱供給体30と、まぶたの周辺の肌面に熱刺激を付与する第2熱供給体20とを肌処理ヘッド2に設けて、目元ケア用の美容機器を構成した。この美容機器によれば、眼球およびまぶたの周辺の肌面に異なる温度の熱刺激を与えて、美容効果を発揮することができる。
楕円リング状に形成された第2伝熱面23の長軸方向の中心位置C2を、横長楕円状に形成された第1伝熱面34の長軸方向の中心位置C1に対して、鼻梁から離れる側に偏寄させると、第1伝熱面34と、第2伝熱面23とで、眼球およびまぶたの周辺の肌面に的確に温度が異なる熱刺激を与えることができる。詳しくは、第2伝熱面23でまぶた全体を覆った状態において、まぶたおよびまぶたの周辺の肌面に、第1伝熱面34と第2伝熱面23とを確りとフィットさせて、眼球およびまぶたの周辺の肌面に温度が異なる熱刺激を的確に与えることができる。これは、まぶたの左右方向の中心位置が、眼球の左右方向の中心位置より鼻梁から離れる側に偏寄していることに対応して、第1伝熱面34の中心位置C1と、第2伝熱面23の中心位置C2を適合した対応位置に設定するからである。
長軸方向の中心位置が前側に向かって凹む凹曲面状に第1伝熱面34を形成すると、まぶたと第1伝熱面34との接触面積を大きくすることができ、より多くの熱刺激をまぶたを介して眼球に与えることができる。また、第1伝熱面34をまぶたにあてがった状態において、眼球に作用する圧迫力を分散させることができる。
制御手段6で熱電変換素子15に供給される駆動電流の極性を所定時間ごとに反転して、第1熱供給体30および第2熱供給体20による熱刺激態様を、温熱刺激態様と冷熱刺激態様とに交互に切換えるように構成した。これによれば、第1伝熱面34と第2伝熱面23とに接触する肌面に冷熱刺激と温熱刺激を交互に与えて、美容効果を発揮することができる。
本発明の第1実施例に係る美容機器の肌処理ヘッドの横断平面図である。 本発明の第1実施例に係る美容機器の使用状態を示す正面図である。 本発明の第1実施例に係る美容機器の全体を示す平面図である。 肌処理ヘッドの分解斜視図である。 肌処理ヘッドの要部拡大断面図である。 図1におけるA−A線断面図である。 肌処理ヘッドの背面図である。 美容機器の回路構成を示す模式図である。 本発明の第2実施例に係る美容機器の概略平面図である。 本発明の第3実施例に係る肌処理ヘッドの横断平面図である。 肌処理ヘッドの分解斜視図である。 本発明の第4実施例に係る肌処理ヘッドの横断平面図である。 肌処理ヘッドの分解斜視図である。 本発明の第5実施例に係る美容機器の肌処理ヘッドの横断平面図である。 本発明の第5実施例に係る美容機器の使用状態を示す正面図である。 アジャスト枠を装着した肌処理ヘッドの横断平面図である。 本発明の第6実施例に係る美容機器の肌処理ヘッドの横断平面図である。 美容機器の使用状態を示す正面図である。 美容機器の全体を示す概略横断平面図である。 肌処理ヘッドの概略正面図である。 本発明の第7実施例に係る美容機器の全体を示す概略横断平面図である。
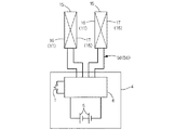
(第1実施例) 図1から図8に、本発明に係る美容機器を目元ケア用の美容機器に適用した第1実施例を示す。なお、本発明における前後、左右、上下とは、図中に示す交差矢印と、各矢印の近傍に表記した前後、左右、上下の表示に従う。図2において美容機器は、ゴーグル状に形成される本体部1と、本体部1に固定される左右一対の目元ヘッド(肌処理ヘッド)2・2と、本体部1を頭部に固定する固定バンド3と、本体部1とは別体に構成されて各目元ヘッド2に駆動電流を供給し制御するコントローラ4などで構成する。コントローラ4は、電源となる電池5と、目元ヘッド2に供給される駆動電流を生成し制御する制御基板(制御手段)6と、制御基板6の動作を切換えるスイッチ7などを備えている。
図2および図3に示すように、本体部1は、左右一対のハウジング10・10と、各ハウジング10を連結するヒンジ体11とからなり、一対のハウジング10・10には、目元ヘッド2がそれぞれ固定してある。ヒンジ体11は3個の回動軸を有する3軸ヒンジからなり、一対のハウジング10・10の相対距離および相対角度が所定の範囲内で変更可能に構成してある。これにより、ユーザーの眼球間の距離や目元部分の形状に応じて、各目元ヘッド2を目元部分の肌面に適正に接触させることができる。本体部1は、各ハウジング10の外側に連結した左右一対の固定バンド3・3で頭部に装着できるようになっており、後頭部側で一方の固定バンド3に縫着した雌側の面ファスナーに、他方の固定バンド3に縫着した雄側の面ファスナーを固定して頭部に装着することができる。
図1に示すように、目元ヘッド2には、温熱生成手段13および冷熱生成手段14と、温熱生成手段13または冷熱生成手段14で生成された熱を肌面に伝導するアイプレート(第1熱供給体)30と、冷熱生成手段14または温熱生成手段13で生成された熱を肌面に伝導するアイカップ(第2熱供給体)20とが設けてある。図1、図4および図6に示すように、アイカップ20は、肌面との接触部分の側へ向かって開口するカップ状に形成して、アイプレート30の周囲を囲む状態で配置してある。温熱生成手段13および冷熱生成手段14は1個の熱電変換素子15で構成してあり、その温熱を生成する温熱面16と、冷熱を生成する冷熱面17とが、それぞれ温熱生成手段13および冷熱生成手段14として機能する。熱電変換素子15は、各面16・17が前後に指向する状態で配置してあり、制御基板6で熱電変換素子15に順方向の駆動電流を供給したとき、前面側が温熱面16に、後面側が冷熱面17になるように配置してある。このように、温熱生成手段13および冷熱生成手段14を1個の熱電変換素子15で構成すると、温熱生成手段13と冷熱生成手段14を個別に設ける場合に比べて、熱生成構造を簡素化して肌処理ヘッド2の製造に要するコストを削減できる。また、熱電変換素子15で生成される温熱と冷熱の双方を利用して肌面に熱刺激を付与するので、熱電変換素子15で生成した温熱と冷熱を無駄なく有効に活用できる。
図1および図4に示すように、アイカップ20は、楕円板状のベース壁21と、ベース壁21に連続して形成される湾曲壁22とで全体がカップ状に形成してある。湾曲壁22は、カップ開口縁へ向かって徐々に拡開するラッパ状に形成してあり、湾曲壁22のカップ開口縁に第2伝熱面23が設けてある。図7に示すように、アイカップ20は、背面視において横長の楕円状に形成してあり、その第2伝熱面23は楕円リング状に形成してある。また、第2伝熱面23は、平面視においてまぶたの周辺の肌面形状に対応して、左右中央部が前側に向かって凹む凹曲面状に形成してあり、第2伝熱面23の全体が、まぶたの周辺の肌面に接触するようになっている。
上記のように、アイカップ20の湾曲壁22をカップ開口縁へ向かって徐々に拡開するラッパ状に形成すると、第2熱供給体20の湾曲壁22の内面をまぶた周辺の肌面に沿わせて、湾曲壁22と肌面との接触面積を大きくすることができ、接触圧を分散させて接触による肌面への刺激を軽減でき、快適に美容機器を使用することができる。
図5および図6に示すように、アイカップ20のベース壁21の前面中央部には、熱電変換素子15の冷熱面17と接触して熱を受取る第2伝熱体24が一体に突出形成してある。第2伝熱体24の中央には、熱電変換素子15の外形形状と一致する凹部25が形成してあり、凹部25の底面は、冷熱面17と接触して冷熱を受取る受熱面26となっている。このように、アイカップ20は第2伝熱体24を介して熱電変換素子15の冷熱面17と接続されているので、冷熱面17から伝導された冷熱で、アイカップ20の全体を冷却できる。また、第2伝熱面23をまぶたの周辺の肌面に接触させることにより、接触する肌面に冷熱刺激を与えることができる。冷熱面17と受熱面26とは、シリコーンゴム製の伝熱シートを介して密着させて、熱の伝導効率を向上させている。
図1および図6に示すように、ベース壁21の第2伝熱体24の左右には、円形の連通開口27・27がそれぞれ開設してあり、第2伝熱体24の上下には、ねじボス28・28がそれぞれ前方に向かって突設してある。連通開口27は、後述する断熱筒壁47を係合するために形成してあり、ねじボス28は、後述する断熱ホルダー46を締結するために設けてある。
図1および図4に示すようにアイプレート30は、背面視においてまぶたの外郭形状に対応して横長楕円状に形成した伝熱ベース31と、伝熱ベース31の前面左右にそれぞれ突設される締結ボス32・32とを一体に形成してある。各締結ボス32部には、段付穴状の締結穴が前後に貫通する状態で形成してあり、この締結穴に締結ビス(第1締結体)43が挿通される。伝熱ベース31の後面は、楕円状の第1伝熱面34として形成してあり、第1伝熱面34は、眼球の膨らみ形状に対応して凹曲面状に形成してある。これにより、まぶたと第1伝熱面34との接触面積を大きくすることができ、より多くの熱刺激をまぶたを介して眼球に与えることができる。また、第1伝熱面34をまぶたにあてがった状態において、眼球に作用する圧迫力を分散させることができる。図1において、符号35は、第1伝熱面34と接触するまぶたの刺激を緩和するシリコーンゴム製のカバーである。
図1および図4に示すように、第1伝熱体37は、連結軸(伝熱軸部)38と、熱電変換素子15の温熱面16に接触する受熱プレート(第1受熱部)39とを一体に備えている。受熱プレート39の四隅は丸めてあり、その後面中央には受熱座41が突設してある。また、前面左右には左右一対の連結軸38が突設してある。受熱座41は、熱電変換素子15の外形形状より僅かに大きな四角形状に形成してあり、受熱座41の後面は、温熱面16と接触して温熱を受取る受熱面42となっている。温熱面16と受熱面42とは、シリコーンゴム製の伝熱シートを介して密着させて、熱の伝導効率を向上させている。
図5に示すように、各連結軸38にはねじ穴が形成してあり、連結軸38の後端をアイプレート30の締結ボス32に挿入した状態で、締結ビス43を締結穴の側からねじ穴にねじ込むことにより、アイプレート30と第1伝熱体37とを一体化できる。このように、アイプレート30は第1伝熱体37を介して熱電変換素子15の温熱面16と接続されているので、温熱面16から伝導された温熱で、アイプレート30および第1伝熱体37の全体を加熱できる。また、第1伝熱面34をまぶたの肌面に接触させることにより、まぶたを介して眼球に温熱刺激を与えることができる。
アイカップ20、アイプレート30、および第1伝熱体37は、アルミニウム、真鍮、銅などの熱伝導率の高い金属材料を素材として形成することができる。本実施例では、アルミニウムを素材としたダイキャスト成形品に切削加工を施して、先の各部材20・30・37を形成した。熱伝導率の高いアルミニウムを素材としてアイカップ20、アイプレート30、および第1伝熱体37を形成するので、それぞれの全体に素早く熱を伝導して、より短い時間で所定の温度に冷却および加熱することができる。
図1、図4および図6に示すように、第1伝熱体37と第2伝熱体24との間に、両伝熱体24・37間の熱移動を阻止する断熱ホルダー(スペーサー)46が配置してある。断熱ホルダー46は、左右一対の断熱筒壁47と、両筒壁47の間に形成される四角枠状の断熱枠48と、断熱枠48の上下枠部に形成される一対の締結座51・51とを一体に備えた、断熱性に優れたフッ素樹脂を素材とする射出成形品からなる。一対の断熱筒壁47は断熱枠48の左右枠部と一体に形成されており、各断熱筒壁47には、アイカップ20のベース壁21を受止める半円弧状の受止座52が形成してある。断熱筒壁47の内径寸法は、連結軸38の外径寸法よりも大きく設定してある。上記のように、断熱ホルダー46と断熱筒壁47とを一体に形成すると、断熱筒壁47を独立した部品として形成する場合に比べて、断熱構造の構成部品点数を少なくできるので、目元ヘッド2の構造を簡素化し、目元ヘッド2の製造に要するコストを削減できる。各断熱筒壁47には、ハウジング10に固定するための筒軸状の固定部53がそれぞれ設けてある。
断熱ホルダー46は、上下の締結座51・51をそれぞれ締結ビス(第2締結体)44でベース壁21に形成したねじボス28・28に締結固定することにより、アイカップ20と一体に固定してある。図6に示すように、断熱ホルダー46の上下の締結座51に、ベース壁21のねじボス28をあてがった状態で、締結ビス44をねじボス28のねじ穴にねじ込むことにより、アイカップ20が断熱ホルダー46と一体化される。この締結状態では、各断熱筒壁47が各連通開口27と係合しており、また、両受止座52・52が、連通開口27の周囲のベース壁21を受止めるので、アイカップ20と断熱ホルダー46とを強固に固定できる。
第1伝熱体37は、その受熱プレート39が断熱ホルダー46に位置決めされた状態で接合してある。詳しくは、受熱座41は、断熱枠48に嵌め込まれて、その内周面で位置決めされている。また、受熱プレート39と断熱枠48とが密着して、第1伝熱体37と断熱ホルダー46とが位置決めされており、この状態の連結軸38は断熱筒壁47を前後に貫通している。上記の位置決め状態において、締結ビス43を締結穴を介して連結軸38のねじ穴にねじ込むことにより、アイプレート30および第1伝熱体37と断熱ホルダー46とを強固に固定できる。この状態における断熱筒壁47は、伝熱ベース31と受熱プレート39とで、強固に挟持固定される。このとき、熱電変換素子15は、その温熱面16が第1伝熱体37の受熱面42と密着し、冷熱面17がアイカップ20の受熱面26と密着する状態で、アイカップ20と第1伝熱体37とで挟持固定されている。また、連結軸38の外周面と断熱筒壁47の内周面との間には、互いの面が全周囲において接触しない状態の断熱空間Sが形成されている。
上記のように、アイカップ20と、断熱ホルダー46と、アイプレート30および第1伝熱体37とは、締結ビス43・44で強固に固定された状態で一体化してある。この組立状態において、まぶたに接触する第1伝熱面34は、まぶたの周辺の肌面に接触する第2伝熱面23よりも、カップ内奥側、すなわちベース壁21に近接する側へ凹んだ位置に配置してある。このように、第1伝熱面34を第2伝熱面23よりも凹んだ位置に配置するのは、眼を閉じた状態におけるまぶたが、まぶたの周辺の肌面よりも前側に位置することに対応したものである。これにより、両伝熱面34・23をまぶたとまぶたの周辺の肌面に確りとフィットさせることができる。また、アイプレート30の周囲を囲む状態でカップ状のアイカップ20を配置していると、アイプレート30とアイカップ20を3次元空間を介して隣接させながら、両者20・30が互いに熱干渉しあうことを防止できる。
図7に示すように、楕円リング状に形成された第2伝熱面23の長軸方向の中心位置C2を、横長楕円状に形成された第1伝熱面34の長軸方向の中心位置C1に対して、鼻梁から離れる側に偏寄させて配置してある。これは、まぶたの左右方向の中心位置が、眼球の左右方向の中心位置より鼻梁から離れる側に偏寄しているので、そのため、先のように中心位置C1・C2をずらしておくことにより、第2伝熱面23でまぶた全体を覆った状態において、第1伝熱面34を眼球およびまぶたに確りとフィットさせることができる。さらに、第2伝熱面23を、まぶたとまぶたの周辺の肌面に確りとフィットさせることができ、全体として眼球およびまぶたの周辺の肌面に的確に冷温の熱刺激を与えることができる。
第1伝熱体37と第2伝熱体24との間に断熱ホルダー46を配置すると、両伝熱体37・24の間の熱移動を断熱ホルダー46の断熱作用で阻止できる。従って、温熱生成手段13で生成した温熱、および冷熱生成手段14で生成した冷熱を、それぞれ第1伝熱体37と第2伝熱体24を介して、アイプレート30またはアイカップ20に効果的に伝導して、熱伝導経路における熱の無駄な消費を防止できる。また、断熱筒壁47に加えて、断熱空間S部分の空気で、アイカップ20のベース壁21と第1伝熱体37との間の熱移動をさらに効果的に阻止できる。従って、第1伝熱体37からアイプレート30への熱移動、および第2伝熱体24からアイカップ20への熱移動を、さらに効果的に行って、熱伝導経路における熱の無駄な消費をさらに確実に防止できる。
ここで、目元ヘッド2の組立て手順を説明する。まず、アイカップ20の凹部25に、熱電変換素子15の冷熱面17が伝熱シートを介して受熱面26と密着するように配置する。断熱ホルダー46をアイカップ20の前面側から断熱筒壁47を連通開口27に挿通し、2個の締結ビス44を締結座51を介してねじボス28にねじ込み、アイカップ20と断熱ホルダー46を一体に固定する。このとき熱電変換素子15の接続リード56は、第2伝熱体24と断熱枠48との隙間に通してある(図6参照)。次に、固定したアイカップ20と断熱ホルダー46との前側から連結軸38を断熱筒壁47に挿通しながら、断熱枠48に受熱座41を嵌め込んで、第1伝熱体37を断熱ホルダー46に位置決めした状態で組付ける。さらに、アイプレート30を2個の締結ビス43を締結穴を介して連結軸38のねじ穴にねじ込んで、断熱ホルダー46と、アイプレート30および第1伝熱体37とを一体に固定して、目元ヘッド2を1個のユニット部品として一体化する。
図3に示すように、1個のユニット部品とされた目元ヘッド2は、固定ビス55でハウジング10に固定してある。ハウジング10は、前ハウジング10aと、左右に分割できる後ハウジング10bとで構成してある。目元ヘッド2は、固定部53を間にして前後から前ハウジング10aおよび後ハウジング10bを装着し、前側から固定ビス55をねじ込むことによりハウジング10に固定される。左右の熱電変換素子15の接続リード56は、右側のハウジング10に設けた入力端子57(図2参照)に接続してあり、入力端子57に給電リード58の先端のプラグ59を差し込むことで、コントローラ4から熱電変換素子15に駆動電流を供給することができる。熱電変換素子15は、制御基板6から供給される駆動電流により温熱と冷熱を生成する。左右のハウジング10・10は、基本的には同一部材であり、入力端子57の有無で構造の差異がある。また、左右の目元ヘッド2・2も同一部材である。
次に、目元ケア用の美容機器の使用方法を説明する。まず、本体部1を固定バンド3で目元に装着する。詳しくは、左右のアイプレート30およびアイカップ20のそれぞれを、まぶたとまぶたの周辺の肌面に接触するように本体部1を目元にあてがい、左右の固定バンド3・3を後頭部側で重ねて、面ファスナーで固定する。このとき、左右のハウジング10・10は、ヒンジ体11で連結されているので、装着するユーザーの顔形状に合致するようにハウジング10・10の相対距離と相対角度を調整することができる。
コントローラ4のスイッチ7を押下すると、制御基板6が熱電変換素子15に順方向の駆動電流を供給し、その温熱面16および冷熱面17で温熱と冷熱が生成される。温熱面16で生成された温熱は、第1伝熱体37を介してアイプレート30に伝導され、その第1伝熱面34でまぶたを介して眼球に温熱刺激を与える。また、冷熱面17で生成された冷熱は、第2伝熱体24を介してアイカップ20に伝導され、その第2伝熱面23でまぶたの周辺の肌面に冷熱刺激を与える。これにより、眼球およびまぶたの周辺の肌面に異なる温度の熱刺激を与えて、美容効果を発揮することができる。制御基板6が供給する駆動電流は、予め設定された時間が経過し、あるいは再度スイッチ7を押下することで停止し、これにより熱刺激の付与が終了する。
本実施形態では、第1伝熱面34での温熱刺激の温度は、35℃から45℃に設定してある。温度が35℃より低いと、体表面とほぼ同温度であるため、加熱による肌面の温熱刺激効果が得られないからである。また、温度が45℃より高いと、肌面に低温やけどを生じるおそれがあるためである。第2伝熱面23での冷熱刺激の温度は、15℃から20℃に設定してある。温度が15℃より低いと、過度の冷却により肌面に痛みを生じるおそれがあるからである。また、温度が20℃より高いと、冷却による肌面の冷熱刺激効果が得られ難いからである。
熱電変換素子15は、制御基板6で逆方向の駆動電流を供給することで、順方向の駆動電流が供給された場合とは逆の発熱状態にすることができる。詳しくは、熱電変換素子15に逆方向の駆動電流を供給すると、熱電変換素子15の前面側を冷熱を生成する冷熱面17として機能させ、後面側を温熱を生成する温熱面16として機能させることができる。これにより、第1伝熱面34で冷熱刺激を与え、第2伝熱面23で温熱刺激を与えることができる。また、制御基板6で駆動電流の極性を所定時間ごとに反転して交互に供給することで、アイプレート30およびアイカップ20による熱刺激態様を、温熱刺激態様と冷熱刺激態様とに交互に切換えるようにすることができる。これによれば、目元ヘッド2を目元部分に装着した状態のままで、眼球およびまぶたの周辺の肌面に冷熱刺激と温熱刺激を交互に与えて、美容効果を発揮することができる。
制御基板6による駆動電流の供給形態は、スイッチ7を押下するごとに順方向供給、逆方向供給、反転供給の3種の形態を順次切換え可能とすることができる。この場合には、ユーザーの好みに応じた熱刺激付与態様を選択して、眼球およびまぶたの周辺の肌面に熱刺激を与えることができる。
上記のように、熱刺激を付与するアイプレート30と、まぶたの周辺の肌面に熱刺激を付与するアイカップ20とを肌処理ヘッド2に設けて、目元用の美容機器を構成した。この美容機器によれば、眼球およびまぶたの周辺の肌面に異なる温度の熱刺激を与えて、美容効果を発揮することができる。
目元ヘッド2のアイプレート30およびアイカップ20を、まぶたとまぶたの周辺の肌面に接触させると、カップ形状のアイカップ20と肌面とにより密閉空間が形成される。アイカップ20の温度が周囲温度よりも充分に低い場合には、この密閉空間内の空気が冷却されて、アイカップ20の内面に結露による水滴が生じる。しかし、密閉空間内の空気は、アイプレート30により加熱されるので、アイカップ20で過度に冷却されることがない。これにより、密閉空間に面したアイカップ20の内面に結露による水滴が生じるのを防ぐことができ、肌面が濡れることがなく、快適に美容機器を使用することができる。
(第2実施例) 図9に、本発明に係る美容機器の第2実施例を示す。本実施例では、美容機器を手持ち式の美容機器として構成した点と、肌処理ヘッド2に設けた第1熱供給体30の第1伝熱面37の形状、および第2熱供給体20の第2伝熱面23の形状を変更する点とが第1実施例と異なっている。他は第1実施例と同じであるので、同じ部材に同じ符号を付してその説明を省略する。図9において、本実施例の美容機器は、グリップを兼ねる左右に長い本体部63の右端後面に1個の肌処理ヘッド2が固定してある。電源となる電池5と、目元ヘッド2に供給される駆動電流を生成し制御する制御基板(制御手段)6と、制御基板6の動作を切換えるスイッチ7などは、本体部63の内部に設けてある。
肌処理ヘッド2には、センターヘッド(第1熱供給体)30の周囲を囲む状態でラウンドヘッド(第2熱供給体20)が配置してある。ラウンドヘッド20は、楕円板状のベース壁21と、ベース壁21に連続して形成される湾曲壁22とを備え、全体がカップ状に形成してある。湾曲壁22は、カップ開口縁へ向かって徐々に拡開するラッパ状に形成してあり、湾曲壁22のカップ開口縁に第2伝熱面23が設けてある。ラウンドヘッド20は、背面視において横長の楕円状に形成する。また、カップ開口縁は同一平面状に位置させ、その第2伝熱面23を楕円リング状に形成する。センターヘッド30は、背面視において横長楕円状に形成した伝熱ベース31の後面を第1伝熱面34としており、第1伝熱面34は左右方向の中央位置が後面に向かって膨らむ凸曲面状に形成してある。第1伝熱面34は、肌処理ヘッド2を肌面に接触させたときに、第1伝熱面34が肌面にフィットし易く、的確に温熱刺激を与えることができる。第1伝熱面34は、ラウンドヘッド20の第2伝熱面23よりカップ内奥側へ僅かに凹んだ位置に配置してある。
上記のように、センターヘッド30の周囲を囲む状態でラウンドヘッド20を配置すると、両ヘッド20・30を肌面に接触させた状態において、センターヘッド30で肌面に温熱刺激を与え、ラウンドヘッド20で肌面に冷熱刺激を与えることができる。これにより、少ない手間で広範囲の肌面に同時に異なる温度の熱刺激を与えることができる。また、両ヘッド20・30を肌面に接触させた状態で、任意の方向へスライド移動させることにより、順次冷熱刺激と温熱刺激を連続して交互に与えることができ、簡便に広範囲の肌面に対して冷温の熱刺激を簡便に与えることができる。さらに、1方向に連続して肌処理ヘッド2をスライド移動させる場合には、肌処理ヘッド2が移動する方向の肌面に、第2熱供給体20、第1熱供給体30、第2熱供給体20を、交互に接触させて熱刺激を与えることができる利点もある。
また、第2伝熱面23よりカップ内奥側へ凹んだ位置に、第1伝熱面34を配置すると、肌処理ヘッド2の肌面に対する押し付け具合を加減することで、肌面に付与される熱刺激を異ならせることができる。例えば、肌処理ヘッド2を肌面に軽く押し付けた場合には、第2伝熱面23だけを肌面に接触させて、一方の熱刺激のみを肌面に与えることができる。肌処理ヘッド2をさらに押し付けると、第1伝熱面34と第2伝熱面23の両方を肌面に接触させることができ、冷温の熱刺激を肌面に与えることができる。従って、肌処理ヘッド2の肌面への押し付け具合の違いによって、冷温いずれか一方の熱刺激または冷温の両熱刺激を選択して肌面に与えることができる。
(第3実施例) 図10および図11に、本発明に係る美容機器の第3実施例を示す。本実施例では、肌処理ヘッド2に設けた熱電変換素子15を、その冷熱面17と温熱面16とが左右に指向する状態で配置した点が第2実施例と大きく異なる。他は第2実施例と同じであるので、同じ部材に同じ符号を付してその説明を省略する。肌処理ヘッド2には、センターヘッド(第1熱供給体)30の周囲を囲む状態でラウンドヘッド(第2熱供給体)20を配置してある。
図10および図11に示すように、ラウンドヘッド20が備えるベース壁21の前面の左端側には、熱電変換素子15の冷熱面17と接触して熱を受取る板状の第2伝熱体24が前方に向かって一体に突出形成してあり、第2伝熱体24の右面には、受熱面26が形成してある。これにより、ラウンドヘッド20は、第2伝熱体24を介して熱電変換素子15の冷熱面17と接続されている。第2伝熱体24の受熱面26に伝導した冷熱面17の熱は、ラウンドヘッド20全体を冷却する。ベース壁21には、右端側に断熱筒壁47が挿通される円状の連通開口27が開設してあり、第2伝熱体24のベース壁21の左右端には、締結ビス(第2締結体)44をねじ込むためのねじボス28・28がそれぞれ前方に向かって突設してある。
センターヘッド30は、背面視において横長楕円状に形成した伝熱ベース31と、伝熱ベース31の前面右側に突設される連結軸(伝熱軸部)38とを一体に形成してある。伝熱ベース31の後面は、第1伝熱面34として形成してあり、第1伝熱面34は、左右方向の中央位置が後面に向かって膨らむ凸曲面状に形成してある。
第1伝熱体37は、受熱プレート(第1受熱部)39と、受熱プレート39の後端に一体に形成される連結壁65とでL字状に形成してある。連結壁65の後面には締結ボス32が形成してあり、そのリング中央を前後に貫通するように締結穴が形成してある。受熱プレート39の左面は、温熱面16と接触して温熱を受取る受熱面42となっている。
センターヘッド30の連結軸38には、締結ビス43をねじ込むためのねじ穴が形成してある。連結壁65に形成した締結ボス32に、連結軸38の先端を挿入した状態で、締結穴を介して締結ビス43をねじ穴にねじ込むことにより、センターヘッド30と第1伝熱体37とを一体化できる。これにより、センターヘッド30は、第1伝熱体37を介して熱電変換素子15の温熱面16と接続されている。第1伝熱体37の受熱面42で受取った温熱面16の熱は、センターヘッド30および第1伝熱体37の全体を加熱する。
断熱ホルダー46は、横臥T字状に形成してあり、四角枠状に形成された断熱枠48と、断熱枠48の後端と一体に形成される枠ベース66と、枠ベース66の左右端に形成される左右一対の締結座51・51とで構成してある。枠ベース66の後面の中央部には、断熱筒壁47が一体に形成してあり、左端には第2伝熱体24を受け入れる開口67が前後に貫通する状態で開設してある。
(第4実施例) 図12および図13に、本発明に係る美容機器の第4実施例を示す。本実施例では、肌処理ヘッド2に温熱生成手段13および冷熱生成手段14をそれぞれ設けた点が第2実施例と大きく異なる。他は第2実施例と同じであるので、同じ部材に同じ符号を付してその説明を省略する。肌処理ヘッド2には、センターヘッド(第1熱供給体)30の周囲を囲む状態でラウンドヘッド(第2熱供給体)20を配置してある。
図12および図13に示すように、温熱生成手段13は、PTCヒーター70で構成してあり、冷熱生成手段14は、熱電変換素子15の冷熱面17で構成してある。熱電変換素子15の温熱面16にはヒートシンク71が配置してあり、温熱面16で生成される温熱は、ヒートシンク71で放熱するようになっている。
ラウンドヘッド20が備えるベース壁21の右端側には、ベース壁21から湾曲壁22にわたってスリット状の連通開口27が形成してある。これにより、湾曲壁22のカップ開口端に形成される第2伝熱面23は、不連続な楕円リング状になっている。ベース壁21の前面の左端側には、熱電変換素子15の冷熱面17と接触して熱を受取る第2伝熱体24が一体に突出形成してあり、ラウンドヘッド20は、第2伝熱体24を介して熱電変換素子15の冷熱面17と接続されている。第2伝熱体24の受熱面26で受取った冷熱面17の熱は、ラウンドヘッド20全体を冷却する。ベース壁21の中央部には、締結ビス(第2締結体)44がねじ込まれるねじボス28が前方に向かって突設してある。
本実施例においては、センターヘッド30と第1伝熱体37を一体に形成した。詳しくは、背面視において横長楕円状に形成した伝熱ベース31と、伝熱ベース31の前面右側に突設される連結軸(伝熱軸部)38と、連結軸38の前端に形成される受熱プレート(第1受熱部)39とを一体に形成してある。伝熱ベース31の後面は、第1伝熱面34として機能しており、第1伝熱面34は平坦な面で形成してある。受熱プレート39の前面は、PTCヒーター70と接触して温熱を受取る受熱面42となっている。PTCヒーター70は、受熱プレート39に取付金具72と固定ビス73とで固定してある。
断熱ホルダー46は、四角枠状に形成された断熱枠48と、断熱枠48の右枠部に形成されるホルダー腕69と、ホルダー腕69の基部に形成される締結座51とで構成してある。ホルダー腕69には、スリットを設けて3/4円弧状に形成された断熱筒壁47が一体に形成してある。断熱枠48には、ヒートシンク71が固定ビス74で固定してある。
一体に形成したセンターヘッド30および第1伝熱体37の断熱ホルダー46への固定は、まず、ラウンドヘッド20に断熱ホルダー46を固定する。こののち、連結軸38をラウンドヘッド20の連通開口27に差し込むようにスライドさせながら挿入し、連結軸38を断熱筒壁47部分に配置した状態で、PTCヒーター70を固定する取付金具72とともに、固定ビス73で断熱ホルダー46に固定する。
(第5実施例) 図14から図16に、本発明に係る美容機器を目元ケア用の美容機器に適用した第5実施例を示す。本実施例では、目元ヘッド2を目元に固定した状態で前方が視認できるように視認窓76を形成した点と、まぶたと第1伝熱面34とを離間させるためにアジャスト枠77を設けた点が第1実施例と異なっている。他は第1実施例と同じであるので、同じ部材に同じ符号を付してその説明を省略する。
熱電変換素子15はドーナツ状に構成してあり、その温熱面16および冷熱面17は円リング状に形成されている。アイカップ(第2熱供給体)20には、ベース壁21および第2伝熱体24を前後に貫通するカップ開口78が開設してある。アイプレート(第1熱供給体)30には、伝熱ベース31を前後に貫通するプレート開口79が開設してあり、第1伝熱体37には、受熱プレート39および受熱座41を前後に貫通する伝熱体開口80が開設してある。これら各開口78・79・80と、ドーナツ状に形成した熱電変換素子15とにより、目元ヘッド2には、前後に貫通するヘッド窓81が形成されている。また、前ハウジング10aには、ヘッド窓81に対応してハウジング窓82が開設してあり、これら両窓81・82で目元ヘッド2およびハウジング10を貫通する視認窓76が形成されている。
目元ヘッド2を目元に固定した状態で、まぶたを第1伝熱面34から離間させるためのアジャスト枠77が設けてある。アジャスト枠77は、第2伝熱面23に対応した楕円枠状に形成してあり、その前面側には、湾曲壁22のカップ開口縁に嵌合装着するための嵌合凹部83が周回状に凹み形成してある。アジャスト枠77は、カップ開口縁に嵌合凹部83を嵌合させることにより、目元ヘッド2に着脱自在に装着できる。目元ヘッド2にアジャスト枠77を装着することにより、アジャスト枠77がまぶたの周辺の肌面に接触して、まぶたと第1伝熱面34とが離間した状態で、目元ヘッド2を目元に固定することができ、これにより、目を開けて視認窓76から前方を見ることができる。アジャスト枠77は、熱伝導率の高いアルミニウムで形成してあり、装着時に接触する第2伝熱面23を介して熱電変換素子15の冷熱面17と接続され、冷熱面17から伝導された冷熱で、アジャスト枠77を冷却できる。
本実施例の目元ケア用の美容機器においては、アジャスト枠77を装着しない状態では、プレート開口79の周囲の第1伝熱面34および第2伝熱面23で、眼球およびまぶたの周辺の肌面に異なる温度の熱刺激を与えて、美容効果を発揮することができる。また、アジャスト枠77を装着した状態では、まぶたが第1伝熱面34から離間するので、目を開けて視認窓76から前方を見ることができる。これにより、テレビや本等を見ながらまぶたの周辺の肌面に冷熱刺激を与えて、美容効果を発揮することができる。
上記の第1から第5実施例では、第1伝熱面34を楕円状に形成したが、円状や多角形状に形成することができる。第2伝熱面23は楕円リング状である必要はなく、円形リング状、多角形リング状、あるいは直線と曲線を組み合わせた枠状などに適宜形成することができる。また、第2伝熱面23は連続した面である必要はなく、断続的に形成して第1伝熱面34の周囲を囲むようにしてもよい。
(第6実施例) 図17から図20に、本発明に係る美容機器を目元ケア用の美容機器に適用した第6実施例を示す。図18において美容機器は、両目元部を覆うように形成される本体部101と、本体部101に固定される目元ヘッド(肌処理ヘッド)102と、本体部101を頭部に固定する固定バンド103と、本体部101とは別体に構成されて、後述する温熱生成手段113および冷熱生成手段114に駆動電流を供給し制御するコントローラ104などで構成する。コントローラ104は、電源となる電池105と、温熱生成手段113および冷熱生成手段114に供給される駆動電流を生成し制御する制御基板(制御手段)106と、制御基板106の動作を切換えるスイッチ107などを備えている。
図18および図19に示すように、本体部101は、左右に長い長円状のハウジング110で構成されており、ハウジング110には、前後に貫通する左右一対のハウジング窓112が形成してある。本体部101は、ハウジング110の外側に連結した左右一対の固定バンド103・103で頭部に装着できるようになっており、後頭部側で一方の固定バンド103に縫着した雌側の面ファスナーに、他方の固定バンド103に縫着した雄側の面ファスナーを固定して頭部に装着することができる。
図19および図20に示すように、目元ヘッド102は、温熱生成手段113および冷熱生成手段114と、温熱生成手段113または冷熱生成手段114で生成された熱を肌面に伝導する内リング体(第1熱供給体)130と、冷熱生成手段114または温熱生成手段113で生成された熱を肌面に伝導する外リング体(第2熱供給体)120とを含んで構成してある。外リング体120および内リング体130は、ハウジング110の左右に1対ずつ設けてある。
図20に示すように、内リング体130および外リング体120は、正面視において卵型の環状に形成してあり、それぞれに前後に貫通する窓118・119が形成してある。内リング体130と外リング体120とは径の異なる相似形状に形成してあり、両リング体130・120は同心状に配置してある。両リング体130・120は、外リング体120の窓119の内方空間に、内リング体130が隙間を介して対向する状態で配置してある。これにより、外リング体120は内リング体130の周囲を囲む状態で配置されている。このように、両リング体130・120を同心状に配置すると、まぶたの周囲の肌面に対して同心状に異なる熱刺激を与えることができる。
内リング体130と外リング体120との隙間には、両リング体130・120間の熱移動を阻止する断熱枠体(スペーサー)146が配置してある。断熱枠体146は、両リング体130・120を保持する保持体を兼ねている。内リング体130の後端面には第1伝熱面134が設けてあり、外リング体120の後端面には第2伝熱面123が設けてある。両伝熱面134・123は、それぞれ卵型の楕円リング状に形成してあり、断熱枠体146の後端面と、第1および第2の伝熱面134・123は、面一状に形成してある。
温熱生成手段113および冷熱生成手段114は1個の熱電変換素子115で構成してあり、その温熱を生成する温熱面116と、冷熱を生成する冷熱面117とが、それぞれ温熱生成手段113および冷熱生成手段114として機能する。目元ヘッド102には、2個の熱電変換素子115が設けてあり、各熱電変換素子115が上下に並ぶように配置してある。なお、図17および図19では、構成を理解しやすくするために、各熱電変換素子115が前後に位置をずらした状態で記載してある。熱電変換素子115は、各面116・117が左右に指向する状態で配置してあり、制御基板106で熱電変換素子115に順方向の駆動電流を供給したとき、一方の熱電変換素子115の右面側が温熱を生成する温熱面116の場合には、他方の熱電変換素子115の右面側が冷熱を生成する冷熱面117になるように、各熱電変換素子115の向きを逆に配置してある。本実施例では、上側の熱電変換素子115の右面および下側の熱電変換素子115の左面が冷熱面117となるように配置した。熱電変換素子115の接続リードは、ハウジング110に設けた入力端子157(図18参照)に接続してあり、入力端子157に給電リード158の先端のプラグ159を差し込むことで、コントローラ104から熱電変換素子115に駆動電流を供給することができる。
上記のように、温熱生成手段113および冷熱生成手段114を1個の熱電変換素子115で構成すると、温熱生成手段113と冷熱生成手段114を個別に設ける場合に比べて、熱生成構造を簡素化して美容機器の製造に要するコストを削減できる。また、熱電変換素子115で生成される温熱と冷熱の双方を利用するので、熱電変換素子115で生成した温熱と冷熱を無駄なく有効に活用できる。
外リング体120は、冷熱面117で生成された熱を伝導するL字状の第2伝熱体124を一体に備えている。第2伝熱体124の一端には、冷熱面117と接触して冷熱を受取る受熱面126が形成してあり、冷熱面117と受熱面126とは、シリコーンゴム製の伝熱シートを介して密着させて、熱の伝導効率を向上させている。このように、外リング体120は、第2伝熱体124を介して熱電変換素子115の冷熱面117と接続されているので、冷熱面117から伝導された冷熱で、外リング体120の全体を冷却できる。
同様に、内リング体130は、温熱面116で生成された熱を伝導するL字状の第1伝熱体137を一体に備えている。第1伝熱体137の一端には、温熱面116と接触して温熱を受取る受熱面142が形成してあり、温熱面116と受熱面142とは、シリコーンゴム製の伝熱シートを介して密着させて、熱の伝導効率を向上させている。このように、内リング体130は、第1伝熱体137を介して熱電変換素子115の温熱面116と接続されているので、温熱面116から伝導された温熱で、内リング体130の全体を加熱できる。
外リング体130、および内リング体120は、アルミニウム、真鍮、銅などの熱伝導率の高い金属材料を素材として形成することができる。本実施例では、アルミニウムを素材としたダイキャスト成形品に切削加工を施して、先の各部材120・130を形成した。熱伝導率の高いアルミニウムを素材として外リング体130、および内リング体120を形成するので、それぞれの全体に素早く熱を伝導して、より短い時間で所定の温度に冷却および加熱することができる。
目元ヘッド102に設けられる左右1対の外リング体120、内リング体130、および断熱枠体146は、同一部材で構成してある。目元ヘッド102は、断熱枠体146に設けた図示しない固定部がハウジング110に図示しない締結ビスで締結されて、ハウジング110と一体に固定される。目元ヘッド102をハウジング110に固定した状態では、ハウジング110に形成した左右一対のハウジング窓112と、各内リング体130の窓118とが対向している。これにより、目元ヘッド2を目元に装着した状態においては、窓118・119を介してハウジング窓112から前方を視認することができる。
ここで、目元ケア用の美容機器の使用方法を説明する。まず、外リング体130および内リング体120を目元に装着する。詳しくは、左右の第1伝熱面134および第2伝熱面123が、まぶたの周辺の肌面に接触するように本体部101を目元にあてがい、左右の固定バンド103・103を後頭部側で重ねて、面ファスナーで固定する。コントローラ104のスイッチ107を押下すると、制御基板106が各熱電変換素子115に順方向の駆動電流を供給し、各温熱面116および冷熱面117で温熱と冷熱が生成される。温熱面116で生成された温熱は、第1伝熱体137を介して内リング体130に伝導され、その第1伝熱面134で接触する肌面に温熱刺激を与える。また、冷熱面117で生成された冷熱は、第2伝熱体124を介して外リング体120に伝導され、その第2伝熱面123で接触する肌面に冷熱刺激を与える。これにより、まぶたの周辺の肌面に異なる温度の熱刺激を与えて、美容効果を発揮することができる。このとき、窓118・119を介してハウジング窓112から前方を視認できるので、テレビや本をみながら肌面に熱刺激を与えることができる。制御基板106が供給する駆動電流は、予め設定された時間が経過し、あるいは再度スイッチ107を押下することで停止し、これにより熱刺激の付与が終了する。
上記の第6実施例においても、制御基板106で熱電変換素子115に供給する駆動電流の極性を、所定時間ごとに反転して交互に供給することができる。このように、所定時間ごとに駆動電流の極性を反転させることで、目元ヘッド2を目元部分に装着した状態のままで、まぶたの周辺の肌面に冷熱刺激と温熱刺激を交互に与えて、美容効果を発揮することができる。
(第7実施例) 図21に、本発明に係る美容機器の第7実施例を示す。本実施例では、ハウジング110の左右に第1熱供給体130と第2熱供給体120を各1個ずつ設けた点と、熱電変換素子を1個とした点と、熱電変換素子115に供給される駆動電流の極性を、所定時間ごとに反転する点が第6実施例と異なる。他は第6実施例と同じであるので、同じ部材に同じ符号を付してその説明を省略する。
ハウジング110には、右目用リング体(第1熱供給体)130と、左目用リング体(第2熱供給体)120とが固定してある。熱電変換素子115は、温熱面116と冷熱面117とが左右に指向する状態で配置してあり、制御基板106で熱電変換素子115に順方向の駆動電流を供給したとき、熱電変換素子115の右面側が温熱を生成する温熱面116として機能させ、左面側が冷熱を生成する冷熱面117として機能させることができる。
左目用リング体120の第2伝熱体124の受熱面126は、シリコーンゴム製の伝熱シートを介して冷熱面117と接続してあり、冷熱面117から伝導された冷熱で、左目用リング体120の全体を冷却できる。また、右目用リング体130の第1伝熱体137の受熱面142は、シリコーンゴム製の伝熱シートを介して温熱面116と接続してあり、温熱面116から伝導された温熱で、右目用リング体130の全体を加熱できる。これにより、左のまぶたの周辺の肌面に冷熱刺激を与え、右のまぶたの周辺の肌面に温熱刺激を与えて、美容効果を発揮することができる。このとき、窓118・119を介してハウジング窓112から前方を視認できるので、テレビや本をみながら肌面に熱刺激を与えることができる。
制御基板106は、熱電変換素子115に供給する駆動電流の極性を所定時間ごとに反転して交互に供給するようになっている。このように、所定時間ごとに駆動電流の極性を反転させることで、右目用リング体130と、左目用リング体120による熱刺激態様を、温熱刺激態様と冷熱刺激態様とに交互に切換えるようにすることができる。従って、美容機器の構成を簡素化しながら、まぶた周囲の肌面に異なる温度刺激を交互に与えて、美容効果を発揮することができる。また、窓118・119を介してハウジング窓112から前方を視認できるので、テレビや本をみながら肌面に熱刺激を与えることができる。
第6および第7実施例では、第1伝熱面134および第2伝熱面123を楕円リング状に形成したが、円形リング状、多角形リング状、あるいは直線と曲線を組み合わせた枠状などに適宜形成することができる。また、第1伝熱面134および第2伝熱面123は連続した面である必要はなく、断続的に形成してもよい。
上記の窓118・119を備えた目元ケア用の美容機器は、以下の形態で実施することができる。
肌処理ヘッド102は、温熱生成手段113および冷熱生成手段114と、温熱生成手段113または冷熱生成手段114で生成された熱を肌面に伝導する第1熱供給体130と、冷熱生成手段114または温熱生成手段113で生成された熱を肌面に伝導する第2熱供給体120とを含み、
第1熱供給体130および第2熱供給体120のそれぞれには、前後に貫通する窓118・119が形成されており、
第1熱供給体130および第2熱供給体120を目元に装着して肌面に熱を伝導する状態において、第1熱供給体130および第2熱供給体120の窓118・119を介して前方が視認可能に構成してある目元ケア用の美容機器。
第1熱供給体130および第2熱供給体120はそれぞれ環状に形成されて、前後に貫通する窓118・119が形成されており、
第1熱供給体130と第2熱供給体120とが同心状に配設してある。
温熱生成手段113および冷熱生成手段114が1個の熱電変換素子115で構成されており、
左右いずれか一方の目元に第1熱供給体130が装着され、残る他方の目元に第2熱供給体120が装着されるようになっており、
熱電変換素子115は、制御手段106で作動状態が制御されるようになっており、
熱電変換素子115に供給される駆動電流の極性を、制御手段106で所定時間ごとに反転して、第1熱供給体130および第2熱供給体120による熱刺激態様を、温熱刺激態様と冷熱刺激態様とに交互に切換えるように構成してある。
上記の各実施例では、冷温の熱刺激は温度差があればよく、例えば冷熱刺激側を35℃に設定し、温熱刺激側を45℃に設定してもよい。この場合には両熱刺激は共に肌面を加熱する。第1熱供給体30・130、第2熱供給体20・120、および第1伝熱体37などは、アルミニウムで形成したが、真鍮、銅などで形成できる。この場合には、ダイキャスト品に切削加工を施したのち、その表面にメッキや蒸着などでアルミニウムの金属皮膜を形成すればよい。
2 肌処理ヘッド(目元ヘッド)
6 制御手段(制御基板)
13 温熱生成手段
14 冷熱生成手段
15 熱電変換素子
16 温熱面
17 冷熱面
20 第2熱供給体(アイカップ・ラウンドヘッド)
21 ベース壁
22 湾曲壁
23 第2伝熱面
24 第2伝熱体
27 連通開口
30 第1熱供給体(アイプレート・センターヘッド)
34 第1伝熱面
37 第1伝熱体
38 伝熱軸部(連結軸)
39 第1受熱部(受熱プレート)
43 第1締結体(締結ビス)
44 第2締結体(締結ビス)
46 スペーサー(断熱ホルダー)
47 断熱筒壁
S 断熱空間

Claims (14)

  1. 肌処理ヘッド(2)に、温熱生成手段(13)および冷熱生成手段(14)と、温熱生成手段(13)または冷熱生成手段(14)で生成された熱を肌面に伝導する第1熱供給体(30)と、冷熱生成手段(14)または温熱生成手段(13)で生成された熱を肌面に伝導する第2熱供給体(20)とが設けられており、
    第2熱供給体(20)が、第1熱供給体(30)の周囲を囲む状態で配置してあることを特徴とする美容機器。
  2. 第2熱供給体(20)が、肌面との接触部分の側へ向かって開口するカップ形状に形成してある請求項1に記載の美容機器。
  3. 第2熱供給体(20)が、ベース壁(21)と、ベース壁(21)に連続して形成される湾曲壁(22)とを備えており、
    湾曲壁(22)が、カップ開口縁へ向かって徐々に拡開するラッパ状に形成してある請求項2に記載の美容機器。
  4. 第1熱供給体(30)に肌面と接触する第1伝熱面(34)が設けられており、
    第1伝熱面(34)が、第2熱供給体(20)のカップ開口縁の第2伝熱面(23)よりカップ内奥側へ凹んだ位置に配置してある請求項2または3に記載の美容機器。
  5. 温熱生成手段(13)または冷熱生成手段(14)と第1熱供給体(30)とが、第1伝熱体(37)を介して熱移動可能に接続されており、
    冷熱生成手段(14)または温熱生成手段(13)と第2熱供給体(20)とが、第2伝熱体(24)を介して熱移動可能に接続されており、
    第1伝熱体(37)と第2伝熱体(24)との間に、両伝熱体(37・24)の間の熱移動を阻止するスペーサー(46)が配置してある請求項1から4のいずれかひとつに記載の美容機器。
  6. 第2熱供給体(20)のベース壁(21)に形成した連通開口(27)に断熱筒壁(47)が配置されており、
    第1伝熱体(37)が前記断熱筒壁(47)の内部空間を介して第1熱供給体(30)に接続してある請求項5に記載の美容機器。
  7. 前記断熱筒壁(47)が前記スペーサー(46)と一体に形成してある請求項6に記載の美容機器。
  8. 第1伝熱体(37)と前記断熱筒壁(47)との間に、断熱空間(S)が形成してある請求項6から7のいずれかひとつに記載の美容機器。
  9. 第2熱供給体(20)の外面に配置したスペーサー(46)が、第2締結体(44)で第2熱供給体(20)に締結固定されており、
    第1伝熱体(37)が、前記断熱筒壁(47)に挿通される伝熱軸部(38)と、温熱生成手段(13)または冷熱生成手段(14)に接触する第1受熱部(39)とを一体に備えており、
    第1伝熱体(37)は、その第1受熱部(39)が位置決めされた状態でスペーサー(46)に接合されて、伝熱軸部(38)が前記断熱筒壁(47)を前後に貫通しており、
    伝熱軸部(38)にねじ込んだ第1締結体(43)で、第1熱供給体(30)と第1伝熱体(37)とを締結固定した状態において、伝熱軸部(38)と前記断熱筒壁(47)との間に筒状の断熱空間(S)が形成してある請求項8に記載の美容機器。
  10. 温熱生成手段(13)および冷熱生成手段(14)が1個の熱電変換素子(15)で構成されており、
    第1熱供給体(30)は、熱電変換素子(15)の温熱面(16)と冷熱面(17)とのいずれか一方と第1伝熱体(37)を介して接続されており、
    第2熱供給体(20)は、熱電変換素子(15)の冷熱面(17)と温熱面(16)とのいずれか一方と第2伝熱体(24)を介して接続されており、
    第1熱供給体(30)が、環状に形成した第2熱供給体(20)の内部に配置してある請求項5から9のいずれかひとつに記載の美容機器。
  11. 肌処理ヘッド(2)に、まぶたを介して眼球に熱刺激を付与する第1熱供給体(30)と、まぶたの周辺の肌面に熱刺激を付与する第2熱供給体(20)とが設けられており、
    まぶたおよびまぶたの周辺の肌面に熱刺激を与える目元ケア用の美容機器として構成してある請求請1から10のいずれかひとつに記載の美容機器。
  12. 第1熱供給体(30)の第1伝熱面(34)がまぶた形状に対応して横長楕円状に形成されており、
    第2熱供給体(20)の第2伝熱面(23)が第1伝熱面(34)の周囲を囲む横長の楕円リング状に形成されており、
    第2伝熱面(23)の長軸方向の中心位置(C2)が、第1伝熱面(34)の長軸方向の中心位置(C1)に対して、鼻梁から離れる側に偏寄させてある請求項11に記載の美容機器。
  13. まぶたと接触する第1熱供給体(30)の第1伝熱面(34)が、第1伝熱面(34)の長軸方向の中心位置が前側に向かって凹む凹曲面状に形成してある請求項11または12に記載の美容機器。
  14. 熱電変換素子(15)の作動状態を制御する制御手段(6)を備えており、
    熱電変換素子(15)に供給される駆動電流の極性を、制御手段(6)で所定時間ごとに反転して、第1熱供給体(30)および第2熱供給体(20)による熱刺激態様を、温熱刺激態様と冷熱刺激態様とに交互に切換えるように構成してある請求項10から13のいずれかひとつに記載の美容機器。
JP2013099309A 2013-05-09 2013-05-09 美容機器 Active JP6139967B2 (ja)

Priority Applications (1)

Application Number Priority Date Filing Date Title
JP2013099309A JP6139967B2 (ja) 2013-05-09 2013-05-09 美容機器

Applications Claiming Priority (1)

Application Number Priority Date Filing Date Title
JP2013099309A JP6139967B2 (ja) 2013-05-09 2013-05-09 美容機器

Publications (2)

Publication Number Publication Date
JP2014217618A true JP2014217618A (ja) 2014-11-20
JP6139967B2 JP6139967B2 (ja) 2017-05-31

Family

ID=51936667

Family Applications (1)

Application Number Title Priority Date Filing Date
JP2013099309A Active JP6139967B2 (ja) 2013-05-09 2013-05-09 美容機器

Country Status (1)

Country Link
JP (1) JP6139967B2 (ja)

Cited By (5)

* Cited by examiner, † Cited by third party
Publication number Priority date Publication date Assignee Title
JP2016101410A (ja) * 2014-11-28 2016-06-02 日立マクセル株式会社 美容器具
JP2018183622A (ja) * 2018-07-10 2018-11-22 マクセルホールディングス株式会社 美容器具
CN113181037A (zh) * 2021-06-02 2021-07-30 欧普康视科技股份有限公司 一种近视防控眼部巩膜供氧装置及方法
WO2022186045A1 (ja) * 2021-03-03 2022-09-09 株式会社資生堂 美容機器
JP2023153464A (ja) * 2022-04-05 2023-10-18 株式会社アイリカ 美顔器

Citations (5)

* Cited by examiner, † Cited by third party
Publication number Priority date Publication date Assignee Title
JPS55173314U (ja) * 1979-05-29 1980-12-12
JPS6083617U (ja) * 1983-11-16 1985-06-10 渡邉 鍾藏 パツプ剤
JPS63257556A (ja) * 1987-04-15 1988-10-25 松下電工株式会社 温冷美顔器
JPH11128261A (ja) * 1997-10-31 1999-05-18 Marutaka Co Ltd 人体冷却器
JP2001190586A (ja) * 2000-01-11 2001-07-17 Ohiro Seisakusho:Kk 美顔器

Patent Citations (5)

* Cited by examiner, † Cited by third party
Publication number Priority date Publication date Assignee Title
JPS55173314U (ja) * 1979-05-29 1980-12-12
JPS6083617U (ja) * 1983-11-16 1985-06-10 渡邉 鍾藏 パツプ剤
JPS63257556A (ja) * 1987-04-15 1988-10-25 松下電工株式会社 温冷美顔器
JPH11128261A (ja) * 1997-10-31 1999-05-18 Marutaka Co Ltd 人体冷却器
JP2001190586A (ja) * 2000-01-11 2001-07-17 Ohiro Seisakusho:Kk 美顔器

Cited By (7)

* Cited by examiner, † Cited by third party
Publication number Priority date Publication date Assignee Title
JP2016101410A (ja) * 2014-11-28 2016-06-02 日立マクセル株式会社 美容器具
JP2018183622A (ja) * 2018-07-10 2018-11-22 マクセルホールディングス株式会社 美容器具
WO2022186045A1 (ja) * 2021-03-03 2022-09-09 株式会社資生堂 美容機器
JP7590027B2 (ja) 2021-03-03 2024-11-26 株式会社 資生堂 美容機器
CN113181037A (zh) * 2021-06-02 2021-07-30 欧普康视科技股份有限公司 一种近视防控眼部巩膜供氧装置及方法
CN113181037B (zh) * 2021-06-02 2023-04-28 欧普康视科技股份有限公司 一种近视防控眼部巩膜供氧装置及方法
JP2023153464A (ja) * 2022-04-05 2023-10-18 株式会社アイリカ 美顔器

Also Published As

Publication number Publication date
JP6139967B2 (ja) 2017-05-31

Similar Documents

Publication Publication Date Title
JP6139967B2 (ja) 美容機器
CA2933803C (en) Eye massaging device
JPH07222782A (ja) 美容器具
KR102227349B1 (ko) 휴대용 눈 마사지기
JP6173772B2 (ja) 目元用美容機器
CN205268825U (zh) 美容仪器
JP2017070676A (ja) 美容器具
JP6588297B2 (ja) 美容器具
JP2014200498A (ja) 美容器具
WO2016000387A1 (zh) 可穿戴设备
JP2017221564A (ja) 美容器
JP6130217B2 (ja) 目元用美容機器
JP3231431U (ja) 頭部装着式眼部美容装置
KR101469871B1 (ko) 휴대형 미용기
JP6266935B2 (ja) 温灸器
JP6440493B2 (ja) 刺激付与装置
JP5995369B2 (ja) 美容器具
JP2016022017A (ja) 美容装置
JP6496152B2 (ja) 温熱付与装置
JP3205936U (ja) 眼部のマッサージ器
KR101668613B1 (ko) 카메라를 구비한 휴대용 복합 미용 기기
JP7071795B2 (ja) 美容器
KR20190066757A (ko) 눈 피로 회복을 위한 눈 마사지 겸용 온열기
JP2016179321A (ja) 美容装置
JP5925520B2 (ja) 美容器具

Legal Events

Date Code Title Description
A621 Written request for application examination

Free format text: JAPANESE INTERMEDIATE CODE: A621

Effective date: 20160218

A131 Notification of reasons for refusal

Free format text: JAPANESE INTERMEDIATE CODE: A131

Effective date: 20161116

A977 Report on retrieval

Free format text: JAPANESE INTERMEDIATE CODE: A971007

Effective date: 20161121

A521 Request for written amendment filed

Free format text: JAPANESE INTERMEDIATE CODE: A523

Effective date: 20170112

TRDD Decision of grant or rejection written
A01 Written decision to grant a patent or to grant a registration (utility model)

Free format text: JAPANESE INTERMEDIATE CODE: A01

Effective date: 20170419

A61 First payment of annual fees (during grant procedure)

Free format text: JAPANESE INTERMEDIATE CODE: A61

Effective date: 20170428

R150 Certificate of patent or registration of utility model

Ref document number: 6139967

Country of ref document: JP

Free format text: JAPANESE INTERMEDIATE CODE: R150

S531 Written request for registration of change of domicile

Free format text: JAPANESE INTERMEDIATE CODE: R313531

S533 Written request for registration of change of name

Free format text: JAPANESE INTERMEDIATE CODE: R313533

R350 Written notification of registration of transfer

Free format text: JAPANESE INTERMEDIATE CODE: R350

R250 Receipt of annual fees

Free format text: JAPANESE INTERMEDIATE CODE: R250

R250 Receipt of annual fees

Free format text: JAPANESE INTERMEDIATE CODE: R250

S533 Written request for registration of change of name

Free format text: JAPANESE INTERMEDIATE CODE: R313533

R350 Written notification of registration of transfer

Free format text: JAPANESE INTERMEDIATE CODE: R350

R250 Receipt of annual fees

Free format text: JAPANESE INTERMEDIATE CODE: R250

R250 Receipt of annual fees

Free format text: JAPANESE INTERMEDIATE CODE: R250

R250 Receipt of annual fees

Free format text: JAPANESE INTERMEDIATE CODE: R250

R250 Receipt of annual fees

Free format text: JAPANESE INTERMEDIATE CODE: R250