JP2013525035A - 光コヒーレンストモグラフィのための動き補正および画像改善の方法および装置 - Google Patents
光コヒーレンストモグラフィのための動き補正および画像改善の方法および装置 Download PDFInfo
- Publication number
- JP2013525035A JP2013525035A JP2013508283A JP2013508283A JP2013525035A JP 2013525035 A JP2013525035 A JP 2013525035A JP 2013508283 A JP2013508283 A JP 2013508283A JP 2013508283 A JP2013508283 A JP 2013508283A JP 2013525035 A JP2013525035 A JP 2013525035A
- Authority
- JP
- Japan
- Prior art keywords
- data set
- data
- dimensional
- oct
- motion
- Prior art date
- Legal status (The legal status is an assumption and is not a legal conclusion. Google has not performed a legal analysis and makes no representation as to the accuracy of the status listed.)
- Granted
Links
- 0 CCCCC(CC)CC1C(C(C)*C)C(CC)CC1 Chemical compound CCCCC(CC)CC1C(C(C)*C)C(CC)CC1 0.000 description 5
Images
Classifications
-
- A—HUMAN NECESSITIES
- A61—MEDICAL OR VETERINARY SCIENCE; HYGIENE
- A61B—DIAGNOSIS; SURGERY; IDENTIFICATION
- A61B3/00—Apparatus for testing the eyes; Instruments for examining the eyes
- A61B3/10—Objective types, i.e. instruments for examining the eyes independent of the patients' perceptions or reactions
- A61B3/102—Objective types, i.e. instruments for examining the eyes independent of the patients' perceptions or reactions for optical coherence tomography [OCT]
-
- G—PHYSICS
- G06—COMPUTING OR CALCULATING; COUNTING
- G06T—IMAGE DATA PROCESSING OR GENERATION, IN GENERAL
- G06T12/00—Tomographic reconstruction from projections
- G06T12/20—Inverse problem, i.e. transformations from projection space into object space
-
- A—HUMAN NECESSITIES
- A61—MEDICAL OR VETERINARY SCIENCE; HYGIENE
- A61B—DIAGNOSIS; SURGERY; IDENTIFICATION
- A61B3/00—Apparatus for testing the eyes; Instruments for examining the eyes
- A61B3/0016—Operational features thereof
- A61B3/0025—Operational features thereof characterised by electronic signal processing, e.g. eye models
-
- G—PHYSICS
- G06—COMPUTING OR CALCULATING; COUNTING
- G06T—IMAGE DATA PROCESSING OR GENERATION, IN GENERAL
- G06T7/00—Image analysis
- G06T7/20—Analysis of motion
- G06T7/246—Analysis of motion using feature-based methods, e.g. the tracking of corners or segments
- G06T7/248—Analysis of motion using feature-based methods, e.g. the tracking of corners or segments involving reference images or patches
-
- G—PHYSICS
- G06—COMPUTING OR CALCULATING; COUNTING
- G06T—IMAGE DATA PROCESSING OR GENERATION, IN GENERAL
- G06T7/00—Image analysis
- G06T7/30—Determination of transform parameters for the alignment of images, i.e. image registration
-
- G—PHYSICS
- G06—COMPUTING OR CALCULATING; COUNTING
- G06T—IMAGE DATA PROCESSING OR GENERATION, IN GENERAL
- G06T2207/00—Indexing scheme for image analysis or image enhancement
- G06T2207/10—Image acquisition modality
- G06T2207/10072—Tomographic images
- G06T2207/10101—Optical tomography; Optical coherence tomography [OCT]
-
- G—PHYSICS
- G06—COMPUTING OR CALCULATING; COUNTING
- G06T—IMAGE DATA PROCESSING OR GENERATION, IN GENERAL
- G06T2207/00—Indexing scheme for image analysis or image enhancement
- G06T2207/30—Subject of image; Context of image processing
- G06T2207/30004—Biomedical image processing
- G06T2207/30041—Eye; Retina; Ophthalmic
Landscapes
- Engineering & Computer Science (AREA)
- Health & Medical Sciences (AREA)
- Life Sciences & Earth Sciences (AREA)
- Physics & Mathematics (AREA)
- General Physics & Mathematics (AREA)
- Theoretical Computer Science (AREA)
- Surgery (AREA)
- Public Health (AREA)
- Biophysics (AREA)
- Ophthalmology & Optometry (AREA)
- Biomedical Technology (AREA)
- Heart & Thoracic Surgery (AREA)
- Medical Informatics (AREA)
- Molecular Biology (AREA)
- Veterinary Medicine (AREA)
- Animal Behavior & Ethology (AREA)
- General Health & Medical Sciences (AREA)
- Computer Vision & Pattern Recognition (AREA)
- Radiology & Medical Imaging (AREA)
- Nuclear Medicine, Radiotherapy & Molecular Imaging (AREA)
- Signal Processing (AREA)
- Multimedia (AREA)
- Eye Examination Apparatus (AREA)
- Investigating Or Analysing Materials By Optical Means (AREA)
- Algebra (AREA)
- Mathematical Analysis (AREA)
- Mathematical Optimization (AREA)
- Mathematical Physics (AREA)
- Pure & Applied Mathematics (AREA)
Abstract
【解決手段】動き補正済データは、撮像されたオブジェクトの少なくとも部分的に重なる領域を表す入力3次元データセットに、3次元変換を適用することによって達成される。これらの3次元変換は、変換された3次元データセットと撮像器具に対するオブジェクトの推定された動きとの間の類似の度合いを計算する目的関数に基づき、計算される。
【選択図】図13
Description
本発明は、全体的または部分的に、NIHからの助成金R01−EY011289−24およびR01−CA075289−13、空軍科学研究局からの契約FA9550−07−1−0101およびFA9550−07−1−0014の支援を受けている。米国政府は本発明の一定の権利を有する。
OCTは、以下の1)〜3)を含む具体例を使用して行うことができる:1)広帯域光源および走査用光学参照遅延ラインを有する干渉計(時間領域検出として公知である)、2)広帯域光源および信号検出用分光計(フーリエ/スペクトル領域OCT、スペクトルレーダーなどの名称で知られている)を有する干渉計、または、3)周波数掃引光源を有する干渉計(波長掃引型/フーリエ領域OCT、光学周波数領域イメージングなどの名称で知られている)。図1は、コンピュータ102を含む、例示のスペクトル/フーリエ領域OCT撮像装置100を示す。図2は、コンピュータ202を含む、例示の波長掃引型/フーリエ領域撮像装置200を示す。これらのフーリエ領域検出の具体例は、極めて高速な収集速度という効果を有し、3D OCTボリュメトリック撮像に好適である。
3D OCT画像またはボリュメトリックデータセットは、単一の時点で収集されず、横断方向の走査パターンにおいて行われる複数のA走査を連続して収集することで構成される。各A走査は異なる時間に順次収集され、単一または複数の連続的な収集の間には、OCT走査装置とオブジェクトとの相対的な動きが起こり得る。
動きの歪みを補償するために、確立されたOCT器具の中には、アクティブトラッキングハードウェアを採用するものもある。これらの器具は、別個のトラッキングハードウェアサブシステムを有する。このシステムは、撮像中のオブジェクト組織の位置を測定し、オブジェクトの動きがある場合でもオブジェクト組織上の所望の位置が走査されるようにOCTビームの走査パターンを修正する。しかし、トラッキングハードウェアは、OCTシステムに、コスト増および複雑さを加える。さらに、特定の状況下では、トラッキングハードウェアを使用した画像収集時間が、それを使用しない場合に比べて極めて長くなることがある。
902:画像収集;
904:データ前処理;
906:動き推定;
908:位置合わせ済(動き補正済)データセットの生成;および
910:データの結合(マージ)。
ボリュームに生じている目の動きを推定し補償するために、ならびに、個々のデータセットにおけるギャップを埋めるために、2つ以上のボリュームを収集する。このとき、そのボリュームのうちの少なくとも1つは、他のボリュメトリックデータセットに関連付けられた少なくとも1つの走査パターンに相補的であるとみなされる、走査パターンを有する。ラスタ走査を用いてデータを収集する例示の実施形態において、2つのラスタ操作のうちの一方のラスタ走査の高速走査方向が他方のラスタ走査の高速走査方向に対して90°またはそれに近い角度であり、それらの高速走査方向が実質的に直角である場合、2つのラスタ走査パターンは、相補的であるとみなされる。ここで「実質的」とは、90°の角度からの絶対値差が10°を上回らないことをいう。図10(A)には、ラスタ走査の高速走査方向がx方向である走査パターン(XFast走査パターンと称される)を示す。図11(A)には、ラスタ走査の高速走査方向がy方向である相補的な走査パターン(YFast走査パターンと称される)を示す。この例では、各ボリュームの高速走査方向は、OCT装置の座標系において互いに実質的に直交した状態で収集される。このようにして収集された相補的な互いに直交するボリュームは、動きによって受ける影響がそれぞれ異なり、これによって動き補正が改善される。なお、高速走査方向は、OCT装置座標系のxおよびy方向と必ずしも一致する必要はなく、OCT装置座標系の横断面において任意の角度だけ回転していてもよい。この特定の例示の実施例において、各ボリュームの走査パターンと関連付けられたOCT装置の中心座標系におけるA走査サンプリング位置の集合は、同一位置のグリッドにあるか、または、同一位置のグリッドに容易にマッピング可能である。サンプリング位置の容易にマッピング可能な集合の例としては、走査座標系の同一領域をカバーするが高速および低速方向において異なる数のA走査を有する走査パターンを含む、2つの直交するラスタ走査がある。臨床診療において使用される走査パターンは、サンプリング密度と収集時間およびデータセットの大きさとのバランスをとるために、低速方向よりも高速方向においてより多くのA走査を含むことが多い。A走査の数が高速走査方向と低速走査方向とで異なる場合、処理中に、再サンプリングまたは中間ステップを補間することによって、データを共通位置のグリッドにマッピングできる。例えば、低速方向よりも高速方向に多くのA走査があるという特定の場合には、高速方向のサンプリング点の結果として生じる数が、低速方向のサンプリング点の数と同じになるように、OCTデータを高速方向に沿って再サンプリングすることができる。
最初にボリュームを収集した後、いくつかの随意の前処理ステップをデータに対して適用してもよい。前処理は、動き補正結果の品質を高めるだけでなく、計算時間を低減することもできる。
例示の実施形態は、位置合わせ処理を用いて、走査手順の間に、オブジェクトとOCTシステムとの相対的な動きを推定する。目的関数は最適化される(公式に従って最小化または最大化される)。目的関数は、2つ以上の入力データセットボリュームの間の類似度を考慮する。入力データの空間−時間的な構造もまた、考慮される。位置合わせ処理は、いくつかの変換または変位場を、各ボリュームに対して1つずつ、生成する。各変位場の各個別のベクトルは、オブジェクト座標系、またはオブジェクト空間、または共通の動き補正済空間内の2Dグリッド上のある位置に関連付けられる。この状況において、2Dグリッドとは、グリッド点自体が3次元座標を有しながら、これらのグリッド点が平面を形成することを意味する。したがって、グリッド内には自由度2しかない。位置のこのグリッドは、動き補正済空間にマッピングされた、OCT装置座標系内のサンプリング位置の共通集合に対応する。各変換または変位場は、この2Dオブジェクト空間グリッド上の3次元ベクトルからなり、x、yおよびzの変位を表す。各ボリュームおよびオブジェクト空間のグリッド点に対して、対応する変位ベクトルがオフセットとして使用されて、関連付けられたデータセットのデータ(これは、当該オブジェクト空間グリッド点に対応するOCT装置座標系の位置を基準としたOCT装置座標系において定められる)をサンプリングし、その結果、補間されたA走査の等価物を生成する。このため、その変位に対する適切な値が見つかった場合には、当該変位場は、画像再サンプリング技術と共に使用されて、OCTデータセットに関連付けられたデータを、未補正のOCT装置座標系から共通の動き補正オブジェクト座標系にマッピングできる。したがって、収集したOCTデータセットに存在する動きを補正するという目標は、関連付けられた変位場ごとの上記適切な値を見つけることによって達成できる。
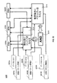
上記変換(データボリュームの歪みをなくすための変位場)を計算するために、位置合わせの目標を表わす目的関数が生成され、数値計算技術によって最適化される。図13に示すように、目的関数自体は、複数の変位場推定値(そのそれぞれは、1つの収集されたデータセットと一意に関連付けられている)の集合をパラメータとして用い、単一の実数の値を出力として生成する。
変換または変位場が推定された後、1つ以上の動き補正済データセットが構築される。動き補正済データは、対応する算出された変位を、特定の応用例に従って、入力データセットのデータチャネル(例えば強度、ドップラーシフトまたはそれらの前処理されたものなど)の1つ以上に適用することによって生成される。
先行する動き補償では、収集した各ボリュームのための変位場を算出する。変位場は、収集中のターゲットの動きをモデル化する。各変位場をそれに関連付けられた歪んだデータセットに適用することで、共通空間内の動き補償済データセットが生成される。次いで、いくつかの例示の実施形態は、これらの独立のデータセットを結合して、より高品質のデータセットを生成する。位置合わせ済ボリューム内のデータサンプルの相対的な品質は、この処理中に考慮される。図15は、2つのボリューム位置合わせの例を使用する本発明の例示のマージ処理の概略図である。詳細には、図15は、直交する低速方向および高速方向を採用する走査、すなわちXFAST走査およびYFAST走査、によって得られた、ヒトの目の複数のOCT画像を重畳したものである。次いで、各走査は位置合わせされ(すなわち、オブジェクトの位置の走査装置とは独立して、画像の解剖学的特徴に絶対座標を割り当てる)、位置合わせ済走査XREGおよびYREGが生成される。最後に、本明細書に記載するように、位置合わせ済走査がマージされる。
ネル、例えば切り捨てガウシアン、をこの画像にさらに描画することによって行われる。描画自体は、サンプルが取得された位置にカーネルの中心を合わせ、カーネル値を密度推定画像値に加えることによって、行われる。カーネルが部分的にその画像の外側にある場合、それらの値を最も近いエッジピクセルにおいてさらに加えて、その挙動をボリュームサンプリングルーチンに反映させることができる。
以下のセクションでは、動き補正の一般的原理を記載する。示されるステップは、必ずしも順次実行される必要はなく、可能な場合には並行して実行されてもよい。図12は、例示の方法の高レベルのフローチャートである。最初に、少なくとも2つのOCTデータセットを収集する。データセットの少なくとも1つは、横断面の領域を高密度走査したものであるべきである。次いで、データには、例示の方法の性能ならびに実行速度を改善するように設計された、1つ以上の随意の前処理ステップが施される。次いで、前処理されたデータは、実際の動き推定ステップのために使用される。このステップは、データセット収集中の動きによって生じた歪みを補正し、かつ動きを補正するために共通空間にデータセットを変換する、変換を、各入力データセットのために見つける。一旦これらの変換が見つかると、これらのうちの1つ以上には、推定処理の間に使用されるのと同一のデータチャネルに適用されるか、または同一のデータセットからの異なるデータチャネルに適用されて、その結果、1つ以上の動き補正済データセットを生成することができる。最後に、これらの動き補正済データセットは、動きのアーティファクトがなくデータ品質も改善された、単一のセットへと結合され得る。
例示の実施形態は、2Dおよび3DのOCTボリュメトリックデータセットに関して記載しているが、これは、異なる時間に、サンプル材料または組織の異なる位置で画像情報を収集する走査データ収集処理によって特徴づけられる、他の画像診断法に適用できることは言うまでもない。多次元OCTデータセットは、特定の走査パターンに従って収集されるデータサンプルで構成される。データセットの収集は、3次元の器具走査座標系を使用して記述できる。この座標系は、原点と3つの直交の基底ベクトルによって画定される。最初の2つの基底ベクトルは、OCT装置の横断面に延びる。第3の基底ベクトルは、最初の2つの基底ベクトルに対して垂直であり、軸方向(図3)を指す。上記2つの横断方向のそれぞれにおけるOCTビームの走査範囲は、走査軌道または走査パターンによって定められ、撮像中のオブジェクト材料または組織の横断方向の領域を決定する。OCT器具の軸方向すなわち深さ方向の測定範囲は、撮像中のオブジェクトの深さ範囲を決定する。
データセットの前処理は、動き補正により適した形式に入力データを変換するために、いくつかのステップからなることができる。以下のセクションにおいて、これらのステップを説明する。実装する場合には、これらのステップのうちのいかなるサブセットも前処理として行うことができる。可能な場合、複数のステップを並行して実行できる。以下のセクションにおいて詳述するステップが、説明で与えられたのと必ずしも同じ順番で行われる必要はない。
前処理の1段階は、入って来るデータセットのどの部分を、動き補正のために(特に、変換後の状態において類似度を評価するために)、使用するかを選択することである。使用するデータは、異なる時刻のステップで同じ位置でデータサンプルが取り込まれたときには類似しており、データサンプルがオブジェクト座標系の異なる位置で記録されたときには類似していない、という情報を含むべきである。さらに、選択されたデータは、さらなる前処理とともに、処理に十分に適しているべきである。その詳細は、データセットの実際のデータ間の類似度目標が、特定の実施形態においてどのように表されるかに依存する。
一般に、入力OCTデータは、背景雑音ならびにスペックル雑音を有する。次の動き補正および位置合わせ処理ステップに応じて、ボリュメトリックデータセットの雑音レベルを下げる画像処理ステップを行うことができる。雑音低減は、各A走査を独立に処理すること、時間と空間の両方に関して近い複数のA走査の集合を処理すること、または器具座標系から参照されるようなデータセットの空間的近さに従って処理を行うこと、によって行うことができる。強度データに作用できる雑音低減の1例は、適切なウィンドサイズを有する1D、2Dまたは3Dでのメディアンフィルタリングである。ただし、広範囲にわたる他の雑音除去技術も使用できる。
高速処理を達成し、実行時間制限に取り組むためには、1つ以上の方向にデータセットを再スケールすることが、有利であり得る。一般のデータセットの場合では、「再スケールする」とは、器具座標系の1つ以上のディメンションに従ってデータサンプルの間隔が変わるように、タプルの数を増加または減少させることを意味する。1例としては、各データセットの軸方向または横断方向の解像度を低減することであろう。これによって、それ以降のステップで処理すべきデータ量が削減される。他の例は、軸方向のピクセル間の間隔が入力データセット間で異なる場合に起こる。データは、軸方向間隔が全てのデータセットで等しくなるように再サンプリングすることによって、1つ以上のデータセットの軸方向解像度を増減することにより、用意できる。これと同様の処理は、走査座標系のサンプル点同士の間隔によって与えられる入力データセット画像のピクセル解像度が等しくない場合に、横断方向において行うことができる。ラスタタイプの走査の場合、横断方向の再スケーリングは、サンプリング点間の時間差が最小である軸に沿って行うことが好ましい。
動き推定を直接の目的とする前処理の間に選択されたデータチャネルを使用せずに、特徴を演算するステップを行うことができる。このステップの目的は、使用する具体的な類似度測定とともに、動き補正ステップの性能を高めることでもあり得る。他の利点は、出力データの次元数(dimensionality)を入力次元数に対して低減でき、その一方で、オブジェクトの異なる位置からのデータを区別できる情報を、保てることである。これは、完全に無関係な情報が廃棄されるので、動き推定の間の必要な計算を減少させることができると共に、動き推定結果を改善できる。
データセットのデータ内容を定義された範囲に収め、データ範囲のグローバルな差(汎用的な差)を補正するために、正規化が適用できる。1例としては、強度データが使用される場合の輝度差がある。このような差は、標準的なOCT画像処理のために使用される異なるパラメータや、順次収集のために走査されたオブジェクトまでのOCT装置の距離の差によって生じ得る。この影響は、OCT撮像システムに典型的に見られる、軸方向走査の深さに従って平均信号レベルを低下させる、いわゆる感度ロールオフによって生じ得る。ビネットのような影響によってもまた、ビームに対するデータサンプルの横断方向の位置に依存した輝度差が生じることがある。
動き補正のための例示の実施形態に対する入力として複数のデータセットを使用する際には、1または複数の入力データセットのための走査パターンが、他の入力に比べて、器具走査座標系の極めて大きい領域をカバーする場合があり得る。動き補正を行う対象である走査座標系の実際の対象領域もまた、各入力データセットのための元のOCTサンプリングパターンによってカバーされた領域の部分領域であるかもしれない。
に処理を集中させることができる。これによって、同一領域をカバーするOCT画像間の最適化された動き補正が可能になる(このとき、画像の一部はそれよりも極めて大きい領域または極めて小さい領域をカバーしている)。図31は、この原理に基づく網膜撮像における例を示し、ここでは、1つのデータセットが、その他のデータセットよりも、器具空間の極めて大きい領域をカバーしている。これらの領域の共通部分の中にあるデータサンプルは、さらなる処理のために両方のデータセットから選択できる。
眼科などのOCT撮像の特定の応用例では、撮像ビームは、目の角膜およびレンズなどのレンズ様物体を通過してから、網膜などの実際の対象オブジェクトに当たる。この場合、この生物学的レンズが、実際にOCTビームを網膜に集める。このような状況では、OCTビームが角膜に中央で当たった場合に、OCT画像は網膜の表面の比較的均一な(平坦な)ビュー(像)を映すであろう。一方、ビームが角膜に中央で当たらなかった場合には、横断方向の走査範囲の両端で相対的な光路長の差が生じる。これらの長さの差によって、網膜上のビューは、ビームが中央位置で角膜に当たった場合と比較して傾いているであろう。相対的な調整におけるこのような変化は、特に順次データセット収集中に生じ得るので、その表面は、一方のデータセットではまっすぐに見え、他方のデータセットでは傾いて見えることになる。この影響は強調される。なぜなら、OCTデータは、関心のある特徴をよりよく表示するために、データセットの異なるディメンションが伸ばされたり圧縮されたりする、非―均一な縦横比でしばしば表示されることが多いからである。眼科では、OCT画像は、網膜の薄い構造をよりよく表示するために、典型的には軸方向に拡大されて表示される。
《変換のパラメータ化》
本明細書に記載する動き補正の基本的な考えは、変換の集合を見つけることである。入力データセットごとに、1つの独自の変換がある。これらの変換は、各データセット収拾中に記録されたデータを、1つの単一の共通の座標系にマッピングするために使用される。全体としての概念は、この共通空間にマッピングされたデータは、各収集中の動きによって生じた歪み影響がない、ということである。概念的には、これは、データサンプルをスキャナ座標系から走査中のオブジェクトの座標系へ移動することである、と考えられる。また、上記オブジェクト座標系は、スキャナとオブジェクトとの相対的な動きの影響が3つのディメンション全てにおいて補償されたOCTビーム器具座標系である、と考えられる。この単一の座標系を、位置合わせ済または動き補正済の空間または座標系と称する。
データセット値を共通のオブジェクト座標系にマッピングするために、データ補間技術が必要である。データの値は、そのデータのみが点の有限集合においてのみ定義される、任意の位置において生成されなければならない。このデータは、例えば、器具座標系における一定の複数の座標点で定義される強度データであってよい。また、各データサンプルに関連付けられた時刻は、ここでは、器具座標系におけるデータサンプル位置ごとでのデータ値と考えられる。
動き補正方法は、最適化スキームの各ステップにおいて全ての利用可能な情報を考慮に入れることが可能な、目的ベースの手法を使用して、上述した変換を推定する。これらの目的または目標を以下に記述する。これらの目的を組み合わせる方法の例も示す。
個別に見ると、動き補正の1つの目標は、動き補正済空間に画像データを移動する変換を適用した後に、入力または前処理されたデータセットのいくつかのペアの間の類似度が最大化されるような、変換を見つけることである。本目的または目標は以下の段落に別途記載するが、この目的または目標は、動きを考慮する後述の他のカウンターバランス目標(釣り合わせる目標)とともに評価されなければならないことは、言うまでもない。
使用する類似度測定がデータセットのペア間の類似度測定をサポートするだけの場合、関心対象である一定の類似度を測定するために、特定のペアリングスキーム(対にする技法)が使用される。最も単純かつ可能なスキームは、利用可能なデータセット間の全ての可能な組み合わせを測定することである。これは、N個の異なるデータセットごとにN×N個という程度の多くの測定につながる。
動き補正の他の目的は、再度個別に認識した場合、以下のとおりである。すなわち、推定されるべき変換によってモデル化されるような、データセット収集中の時間に関するOCTスキャナとオブジェクトとの相対的な動きが、何らかの定義によって低減される場合、補正問題に対する解はより良好になる、というものである。本目的または目標は以下の段落に別途記載するが、この目的または目標は、変換後の状態における類似度を考慮する先述したカウンターバランス目標とともに評価されなければならないことは言うまでもない。
良好な動き補正結果に到達可能にするためには、これら2つの前述した目的を、個別に考慮すべきではない。代わりに、この2つのおそらく相反する目標のバランスを見つけるべきである。
目的関数の勾配ベクトルは、分析的に、または有限差分のような近似法を使用することによって、算出できる。これらの算出は、変換パラメータ化、データセットの類似度測定、動き最小化目標の公式、および他の要素の特定の選択に依存する。
行うことのできる任意の処理ステップは、解補正ステップである。これは、各数値最適化反復の後、および/または、いくつかの多重解像度レベルが最適化を完了した後、および/または、入力データセットおよび構成設定値の所与の集合のための最終変換が見つかった後に、適用できる。一般に、前のセクションで説明したような動き補正問題に対する解には、自由度3が組み込まれている。自由度は、全ての変換に共通な可変並進部(variable translational part)としてモデル化でき、これにより、全てのデータセットデータサンプルを、オブジェクト空間において固定量分シフトする可能性がある。典型的には、並進ベクトルが零ベクトルに近い場合に、この影響はあまり強く現れない。しかし、この影響は望ましくない場合がある。その場合、各変換のパラメータは、全ての変換の結果として生じる共通の並進部が零ベクトルとなるように、動き補正ステップの間にいくつかのポイントにおいて補正できる。これを行う1つの方法は、全ての変換の平均並進部を算出して、この平均成分がなくなるように各変換のパラメータを更新する。
一旦動き推定処理が解を見つけると、位置合わせ済空間におけるデータセットの最終的な集合が生成できる。これには、各データセットに変換を適用することが伴う。一般に、このデータは、動き推定処理自体のために使用されたのと同一のデータである必要はない。例えば、強度情報または他の構造データが、変換後の状態の類似度を評価するために、好ましくは使用される。代わりに、変換を、同一のデータセット収集から算出される異なるデータチャネルに適用することもできる。このようなデータには、線形、対数、およびその他のスケールによる強度データの様々な精度表現が含まれ得るが、これらに限定されるわけではない。変換はまた、ドップラーOCTなどを行うことによって得られる位相シフト情報などの、機能的撮像情報に適用できる。これらは、OCTデータに由来するデータセットの例である。導関数データセットは、データチャネルの異なるセットを含んでもよく、また、そのデータは、入力データセットとは異なるように処理されたものでもよい。
動き補正を行い、結果として生じた変換を対象のデータチャネルに適用した後、同一の動き補正済空間に存在するデータセットの集合が得られる。3Dタイプデータセットの場合、これらの集合はまた、共通のサンプリング点の位置でも定義される。動き補正がうまく行われた場合、各データセットからの対応するデータサンプルは、オブジェクトの同一の位置からの撮像データを含む。
重みを生成するために、サンプリング密度は、元のデータセットにおいて推定される。サンプリング密度は、元のセットのある領域が、対応する位置合わせ結果を生成するために何回サンプリングされたかを表す。
重みを生成するために使用される他の情報源は、サンプル妥当性と称される。データセット補間では、補間された結果を生成する際に、複数のサンプルが考慮される。このフットプリントのサンプルの一部または全部が、データ点のグリッドによって定義される実際のボリュームデータの外側にある場合、サンプルの妥当性は、全てのサンプルがボリューム内にあった場合よりも低いと考えられる。サンプルの全が、それぞれのソースグリッドの内側にある場合には1と定義され、外側にある場合にはゼロに定義される値が、全てのデータサンプルに関連付けられる。サンプルが部分的に元のサンプルグリッドの外側にあると考えられる場合、1と0の間の値が与えられるべきである。サンプルのより多くがより外側にあると考えられるほど、この妥当性値はより低くなる。他の方法が、データセット補間のサンプル妥当性を評価するために使用できることも言うまでもない。
データセットを結合するために使用する最終的な重みを計算するために、異なる位置合わせ済データセットからのサンプルの各集合は、独立して考慮できる。重みは、考慮したサンプル間でサンプリング密度およびサンプル妥当性に差がないときは、等しい重みが各サンプルに割り当てられるように、算出できる。したがって、N個のサンプルの場合、各重みは1/Nに設定される。
加重和結合の平均化効果によって達成される雑音低減効果に加えて、さらなる雑音低減法を任意に採用することができる。これらは、個々の位置合わせ済データセットにでも最終的な結合済データセットにでも適用できる。さらに、より良好な雑音低減効果を達成するために、データサンプルとその周辺近傍との依存性および相関を分析する、複雑な雑音低減法を採用できる。
最終的に結合されて位置合わせされたデータセットの出力形式によっては、中間の計算のために使用したデータ形式と最終的な出力データ形式との変換を行う必要がある場合がある。積分データタイプにマッピングする例では、浮動小数点データのデータ範囲を出力形式に合わせるために、最小/最大マッピングを行うことができる。
従来のOCT器具は、図1および図2に示すように、単一のOCTビームと1つのスポットによって撮像する。しかし、これらの図は、眼科用OCT撮像用装置を説明するものであって、本セクションの概念は、他のOCT撮像応用例に適用できることは言うまでもない。1例として、オブジェクト組織に複数のOCTビームおよび複数のスポットを使用することと、画像収集を並行して行うこととにより、撮像速度を効果的に上げることができる。図34Aは、2つのファイバ端部を、コリメーティングレンズの焦点面の中あるいは近くに配置することによって、網膜上に2つのスポットを投影する装置を示す。
(a)(i)変換後の状態における2つ以上の3次元データセット間、または(ii)該変換後の状態における2つ以上の前処理された3次元データセット間の類似度を算出すること、および
(b)撮像器具に対する上記オブジェクトの動きを推定することによって、上記プロセッサに上記目的関数を評価させる命令を含む。上記一連の命令は、プロセッサによって実行されるときに、該プロセッサにさらに、少なくとも1つの3次元変換を、上記それぞれの3次元データセットに、または導関数3次元データセットに適用して、少なくとも1つの動き補正済データセットを得させる。
(a)変換後の状態における上記3次元データセット間の計算された類似度にフェイバを与え、(b)撮像器具に対する上記オブジェクトの動きにペナルティを与える。上記方法はさらに、少なくとも1つの3次元変換をそのそれぞれのデータセットに適用して、少なくとも1つの動き補正済データセットを得ることを含む。
ヒトの網膜の視神経乳頭の2つの相補的なOCTボリュームを、図16(A)〜図16(C)に示すように収集、位置合わせ、およびマージした。図16(A)および図16(B)はそれぞれ、2つの直交する走査方向を使用して得られた同一のボリュームの3次元OCT画像を示す。図16(C)は、本明細書に記載する方法の例示の実施形態を使用して2つの画像をマージした結果を示す。
本実施例は、直交のラスタ走査パターンを使用して収集した、1対の3次元OCTデータセットの動き補正およびマージを行う場合の例である。動き補正のための例示の方法を、目的関数の構築、変換の算出、および動き補正済み3D OCTデータセットのマージを含み、数学的に詳細に記述する。正則化、多重解像度法、前処理およびグラフィックカードを使用した加速化の例も示す。
時間領域OCTでは、深さ走査は、参照ビームを反射する鏡を動かすことによって行われる。参照アーム鏡が離れている度合いに依存して、組織の深さプロファイルの異なる部分を、検出器を使用して再構築できる。したがって、時間領域OCTは、ある範囲に対して参照アーム鏡を高速に掃引して深さすなわち軸方向走査を生成することを伴う。一方、フーリエまたは周波数領域OCTでは、深さ走査は、広帯域干渉を使用することにより、直ちに得ることができる。検出器アレイおよび分散素子が、干渉波のスペクトルを記録するために使用される。これらから、深さ走査情報を再構築することができる。フーリエ領域OCTの場合には参照アーム鏡を動かす必要がないため、走査速度を大幅に改善できる。掃引レーザーを使用する波長掃引型OCTシステムも、同様の特徴を有しかつ高速度で動作する。
ここで、rangezは、OCT装置の侵入度に関し、Z方向に撮像される範囲を示す。
ボリュームは、以下のように画像として記述できる。
最新のOCT技術を使用してボリュームを走査する典型的な時間は、数秒程度である(Potsaid, B. and Gorczynska, I. and Srinivasan, V.J. and Chen, Y. and Jiang, J. and Cable, A. and Fujimoto, J.G. Ultrahigh speed spectral/Fourier domain OCT ophthalmic imaging at 70,000 to 312,500 axial scans per second. Opt. Express, 16:15149--15169, 2008.)。OCT装置自体はこの間に静止していると仮定する。しかし、生きている人間の網膜背景を走査する具体的な場合においては、様々な動きの源は回避できない。第1の動きの成分は、患者の呼吸によって生じる。それは、主にz方向において、比較的ゆっくりとしたスムーズで流れるような動きとして現れる。
提供されたデータに反映される基本的な考えは、互いに直交する高速軸方向でサンプリングされた2つのボリュームを使用して、動きのアーティファクトを補正するということである。上述から分かるように、高速軸に沿った歪みは低いと思われる。これらの高速軸、したがって小さい歪みが空間において異なる向きを有する、ボリュームが2つ存在するということと組み合わせて、このことは、変位関数によって表されるような歪みを見つけるために使用される。その後、この変位情報を使用して、この2つの歪んだバージョンから1つの動き補正済ボリュームが再構築される。
本セクションでは、動きのアーティファクトを低減するという問題を解決するために開発した方法を中心に述べる。この問題を1種の特別な位置合わせの問題として扱う基本概念は、以下のセクション2.1で導き出される。目的関数(2.2)、問題の多重解像度表現(2.3)、最適化戦略(2.4)および位置合わせ結果のマージ(2.5)を以下のセクションで扱う。最後に、前処理(セクション2.6)、ボリューム補間(セクション2.7)、およびOpenGLを使用する加速化(セクション2.8)の実際的な構成を扱う。
入力として、上述した2つのボリュームXFASTi,j,kおよびYFASTi,j,kが収集される。さらに、両走査の走査処理の時間情報は分かっている。時刻を走査グリッドの各サンプルに関連付けるこの情報は、2つの画像
上記式は、
ここで、目的関数を最小化する連続関数が求められる。
本セクションでは、目的関数およびその最適化に関する実際的な詳細を中心に述べる。
まず、
式(34)
正則化関数
第1の正則化関数もまた、SSD距離測定値と同様に、ベクトルの二乗長さを使用する。この関数は、
勾配は
この作業に使用する第2の正則化項は、L1ノルムに基づいており、この場合のように3次元ベクトルに対しては、以下のように定義される。
ここで示す最適化作業は、非線形最適化という問題である。この問題もまた大規模であり、例えばそれぞれ400×400のA走査を行う2つのボリュームを位置合わせするときには、パラメータ空間の次元数は、400・400・2・3=960000である。一般に、このような問題のための標準の最適化手法は、目的関数の局所的最小点にすぎない解を出す(Nocedal, J. and Wright, S.J. Numerical optimization. Springer, 1999.)。最適化の起点が大域的最小点に十分に近い場合にのみ、良好な解に達することができる。
最適化問題の連続した単純化の1つの構成要素は、目的関数が作用するデータ量の低減である。このために、一定数Npyramidのレベルの解像度ピラミッドが、両ボリュームについて生成される。指標0を有するベースレベルは、元のXFASTおよびYFASTRボリュームからなる。レベルNpyramid−1に達するまで、前のレベルからのボリュームを各方向に1/2倍にダウンサンプリングすることによって、次のレベルのボリュームが生成される。このダウンサンプリングは、簡単な2×2×2ボックスフィルタを使用して行うことができる。
ボリュームデータをダウンサンプリングすることに対応して、
位置合わせ処理の調整にさらなる余裕を与えるために、各マルチ解像度レベルの目的関数に、別々の正則化項重み係数αiを関連付けることができる。最も粗いレベル
最も粗いレベルでは、変位場は、本実施例では全てゼロに初期化され、これによって、2つの走査されたボリュームによって与えられたような元の状態で、最適化が開始される。
本セクションでは、各多重解像度レベルのため、および最終的には元の目的関数のために行う必要のある、実際の最適化を中心に述べる。
一般性を損なうことなく、最適化問題は、次の形で表すことができる。
それらは、以下を満たす解
Limited memory Broyden-Flechter-Goldfarb-Shannoまたはshort L-BFGSは、直線探索に基づくアルゴリズムであり、さらに準ニュートンアルゴリズムとして分類できる。元のBFGSアルゴリズムにおいて、全ての前の評価の勾配情報が、ヘッセ行列
2.5.1 基本モデル
位置合わせ自体が終わると、XREGおよびYREGと称される2つの位置合わせ結果ボリュームは、単に解の変位場を元のボリュームデータに適用するだけで、生成される。結果として生じるボリュームデータは、
この事実を利用して重みを生成するために、元のボリュームのサンプリング密度、すなわち、元のボリュームのある領域が、対応する位置合わせ結果を生成するために何度サンプリングされたか、を推定する。このために、有限支持(finite support)を有する一種の2次元離散化parzenウインドウ推定を使用する。
2つのボリュームの推定されたサンプリング密度を関連付けできるようにするために、密度推定値を、共通の位置合わせ空間に持ってこなければならない。このために、2つの画像XDESTおよびYDESTを生成する。グリッド点(i,j)におけるこの画像データは、元位置合わせ結果を生成するためにデータがサンプリングされた位置に対応する位置のparzen推定画像を、バイリニアリにサンプリングすることによって、生成される。
重みを生成するために使用する他の情報源は、いわゆるサンプル妥当性である。ボリューム補間では、補間した結果を生成する際に、複数のボクセルが考慮される。ここで、このフットプリントのボクセルの一部または全部が、データ点のグリッドによって定義される実際のボリュームデータの外にある場合、サンプルの妥当性は、全てのサンプルがボリュームデータの内にある場合よりも低いと考えられる。補間フットプリントの全てのボクセルに、ボクセルがグリッドの内側にある場合には1、外側にある場合にはゼロと定義される値を関連付けることによって、位置合わせ結果の各グリッド点(i,j,k)の妥当性を、補間のために使用したフットプリント全体にわたるこの値の平均値として定義できる。このデータは、XREGおよびYREGについて、それぞれXVALおよびYVALというボリュームに含まれる。
サンプリング密度および妥当性を用いて、位置(i,j,k)におけるXREGボリュームの重みは、次のように生成できる。
前処理では、その目標は、位置合わせ処理により適したボリュームを生成するために、OCTスキャナによって提供される生データに対して演算を行うことである。入力として、XFASTRAWおよびYFASTRAWと称される2つの生ボリュームが与えられる。これらの2つのボリュームは、以下において説明する一連の段階を経て供給される。ここでの概念は、1つの前処理演算の出力(ボリュームである)が次の段階のための入力になる、ということである。具体的な段階では、入力は、XFAST、YFASTにそれぞれ対応して、XINまたはYINと表される。両方のボリュームタイプについて処置が対称になされる場合、入力はVINと称される。ある段階の出力はXOUT、YOUTまたはVOUTと称される。そして、最終段階の出力は、セクション1にて説明したように、ボリュームXFASTおよびYFASTRである。
作用する位置合わせアルゴリズムの1つの有用な部分は、ボリューム補間関数
ボリュームデータを補間するために使用する座標系は、前に使用したような物的単位に基づくワールド座標系ではない。その代わりに、ボリュームデータが[0,1]単位立方体内にあるスケール不変系が好ましい。そのような座標系の1つが、OpenGLの座標系である(Segal, M. and Akeley, K. The OpenGL graphics system: A specification (version 2.0). Silicon Graphics, Mountain View, CA, 2004.)。ここでそれが選択された理由は、広く使われており、よく定義されているだけでなく、具体的なプログラム実施においてOpenGLがボリューム補間処理を加速するために使用されるからである。スケール不変性も、多重解像度手法に対する利点がある(セクション2.3を参照)。
また、式(56)からの開始サンプリング位置は、外側のサンプリング関数
具体的な補間法として、トリリニアならびにキュービックスプライン補間を実施した。トリリニア補間は、ボリューム補間のために広く使用されている。これは、この方法の相対速度、単純性および頑強性によるものと考えられる。トリリニア異型の1次元の基礎である直線補間では、補間は、2つのデータ点間の直線をつなぐことによって行われる。この補間法は、補間値は、2つのデータ点によって与えられる範囲内にあることが保証されるという利点を有する。
この動きのアーティファクト補正アルゴリズムの実際的な使いやすさの1つの有用な局面は、実行速度である。本アルゴリズムの主要部分である最適化のために、目的関数およびその勾配は、繰り返し評価されなければならない。これは、特に元の複雑度レベルについては、主に2つのOCTボリュームを補間する際に、多くの計算を必要とする。目的関数自体を見ると、それは、独立した式の集まりで構成されることが分かる。
Claims (65)
- データセットを処理する方法であって、
目的関数の値に基づいて1つ以上の3次元変換を演算する工程であって、各3次元変換は、それぞれ3次元データセットに対応付けられ、前記3次元データセットはオブジェクトの少なくとも部分的に重なる領域を表しており、
(a)(i)変換後の状態にある2つ以上の3次元データセット間、または(ii)前記変換後の状態にある2つ以上の前処理された3次元データセット間の類似の度合いを計算すること、および
(b)撮像器具に対する前記オブジェクトの動きを推定することによって、前記目的関数を評価する、評価工程を有する、3次元変換演算工程と、
少なくとも1つの動き補正済データセットを取得するように、少なくとも1つの3次元変換を、対応付けられた3次元データセット、または前記対応付けられた3次元データセットに対応する導関数3次元データセットに適用する3次元変換適用工程とを備えた、データセット処理方法。 - 請求項1に記載のデータセット処理方法において、前記目的関数を評価する評価工程は、(i)前記変換後の状態にある前記2つ以上の3次元データセット間、または(ii)前記変換後の状態にある前記2つ以上の前処理された3次元データセット間の類似の度合いを優位にすることを含む、データセット処理方法。
- 請求項2に記載のデータセット処理方法において、各3次元データセットは、前記オブジェクトの領域から収集された信号値の集合であり、前記変換後の状態にある前記2つ以上の3次元データセット間の類似の度合いを優位にすることは、信号値間の差に罰則を付けることを含む、データセット処理方法。
- 請求項1に記載のデータセット処理方法において、前記目的関数を評価する評価工程は、撮像器具に対する前記オブジェクトの動きに罰則を付けることを含む、データセット処理方法。
- 請求項1に記載のデータセット処理方法において、前記3次元変換演算工程は第1および第2の3次元変換を含み、前記3次元変換適用工程は、第1の動き補正済データセットを取得するように、前記第1の3次元変換を第1の3次元データセットに適用すること、および、第2の動き補正済データセットを取得するように、前記第2の3次元変換を第2の3次元データセットに適用することを含み、
さらに、前記第1または第2の動き補正済データセットの個々に対して改善された信号品質を有する、マージされた動き補正済データセットを取得するように、前記第1および第2の動き補正済データセットのデータ要素を結合するデータ要素結合工程を備えた、データセット処理方法。 - 請求項5に記載のデータセット処理方法において、
前記データ要素結合工程は、さらに、前記第1および前記第2の3次元変換の少なくとも1つの特性に基づいて、前記第1および第2の動き補正済データセットのデータ要素の寄与であって、前記マージされた動き補正済データセットに対する寄与を調整するデータ要素寄与調整工程を有する、データセット処理方法。 - 請求項6に記載のデータセット処理方法において、前記第1または前記第2の3次元変換の前記少なくとも1つの特性は、サンプリング密度である、データセット処理方法。
- 請求項6に記載のデータセット処理方法において、前記データ要素寄与調整工程は、さらに、前記第1および第2の動き補正済データセットの前記データ要素の加重和を演算するデータ要素加重和演算工程を有する、データセット処理方法。
- 請求項1に記載のデータセット処理方法において、さらに、
第1の走査パターンを用いて第1の3次元データセットを収集する工程と、
第2の走査パターンを用いて第2の3次元データセットを収集する工程とを備え、
前記第1の走査パターンと前記第2の走査パターンは相補的である、データセット処理方法。 - 請求項9に記載のデータセット処理方法において、前記相補的な第1および第2の走査パターンはラスタ走査である、データセット処理方法。
- 請求項10に記載のデータセット処理方法において、前記ラスタ走査は互いに直交する、データセット処理方法。
- 請求項1に記載のデータセット処理方法において、さらに、
前記1つ以上の3次元変換を反復的に演算する反復演算工程を備えた、データセット処理方法。 - 請求項1に記載のデータセット処理方法において、さらに、
前記目的関数に対して数値最適化法を使用して、前記1つ以上の3次元変換を演算する、数値最適化法演算工程を備えた、データセット処理方法。 - 請求項1に記載のデータセット処理方法において、さらに、
多重解像度数値最適化法を使用して、前記1つ以上の3次元変換を演算する、多重解像度数値最適化法演算工程を備えた、データセット処理方法。 - 請求項1に記載のデータセット処理方法において、前記オブジェクトは、目、網膜、中心窩、視神経乳頭、および角膜からなる群から選択される、データセット処理方法。
- 請求項1に記載のデータセット処理方法において、さらに、
第1の時点の第1の動き補正済データセットを取得する第1の動き補正済データセット取得工程と、
第2の時点の第2の動き補正済データセットを取得する第2の動き補正済データセット取得工程と、
前記第1の時点および前記第2の時点の間の変化を量的に追跡するように、前記第1の動き補正済データセットと前記第2の動き補正済データセットを比較する、動き補正済データセット比較工程とを備えた、データセット処理方法。 - 請求項16に記載のデータセット処理方法において、前記オブジェクトは、被験者に関連するオブジェクトである、データセット処理方法。
- 請求項17に記載のデータセット処理方法において、前記第1の時点は、前記被験者がヘルスケアプロバイダに1回目に訪れた時点であり、前記第2の時点は、前記被験者が前記ヘルスケアプロバイダに2回目に訪れた時点である、データセット処理方法。
- 請求項17に記載のデータセット処理方法において、前記第1の時点は、前記オブジェクトを走査するために前記被験者が1回目に行動した時点であり、前記第2の時点は、前記オブジェクトを走査するために前記被験者が2回目に行動した時点である、データセット処理方法。
- 請求項1に記載のデータセット処理方法において、前記3次元データセットは、A走査で取り込まれ、前記1つ以上の3次元変換は、3次元変位を各A走査に関連付けるものである、データセット処理方法。
- 請求項1に記載のデータセット処理方法において、さらに、
画像再サンプリング、雑音低減、A走査特徴生成、傾斜補償、およびロールオフ補償からなる群から選択される手法によって、前記3次元データセットを前処理する、3次元データセット前処理工程を備えた、データセット処理方法。 - 請求項1に記載のデータセット処理方法において、前記3次元データセットは、強度データ、ドップラーシフトデータ、および偏光データの少なくとも1つを含む、データセット処理方法。
- 請求項1に記載のデータセット処理方法において、前記導関数3次元データセットは、ドップラーシフトデータおよび偏光データの少なくとも1つを含む、データセット処理方法。
- データセットを処理するシステムであって、
目的関数の値に基づいて1つ以上の3次元変換を演算する演算モジュールであって、各3次元変換は、それぞれ3次元データセットに対応付けられ、前記3次元データセットはオブジェクトの少なくとも部分的に重なる領域を表しており、
(a)(i)変換後の状態にある2つ以上の3次元データセット間、または(ii)前記変換後の状態にある2つ以上の前処理された3次元データセット間の類似の度合いを計算すること、および
(b)撮像器具に対する前記オブジェクトの動きを推定することによって、前記目的関数を評価する、演算モジュールと、
少なくとも1つの動き補正済データセットを取得するように、少なくとも1つの3次元変換を、対応付けられた3次元データセット、または対応付けられた3次元データセットに対応する導関数3次元データセットに適用する動き補正モジュールとを備えた、データセット処理システム。 - 請求項24に記載のデータセット処理システムにおいて、前記演算モジュールは、(i)前記変換後の状態にある前記2つ以上の3次元データセット間、または(ii)前記変換後の状態にある2つ以上の前処理された3次元データセット間の類似の度合いを優位にすることによって、前記目的関数を評価する、データセット処理システム。
- 請求項25に記載のデータセット処理システムにおいて、各3次元データセットは、前記オブジェクトの領域から収集された信号値の集合であり、前記演算モジュールは、信号値間の差に罰則を付けることによって、前記変換後の状態にある前記2つ以上の3次元データセット間の類似の度合いを優位にする、データセット処理システム。
- 請求項24に記載のデータセット処理システムにおいて、前記演算モジュールは、撮像器具に対する前記オブジェクトの動きに罰則を付けることによって、前記目的関数を評価する、データセット処理システム。
- 請求項24に記載のデータセット処理システムにおいて、前記演算モジュールは第1および第2の3次元変換を演算し、前記動き補正モジュールは、第1の動き補正済データセットを取得するように、前記第1の3次元変換を第1の3次元データセットに適用し、第2の動き補正済データセットを取得するように、前記第2の3次元変換を第2の3次元データセットに適用し、
さらに、前記動き補正モジュールは、前記第1または第2の動き補正済データセットの個々に対して改善された信号品質を有する、マージされた動き補正済データセットを取得するように、前記第1および第2の動き補正済データセットのデータ要素を結合する、データセット処理システム。 - 請求項28に記載のデータセット処理システムにおいて、前記動き補正モジュールは、前記第1および前記第2の3次元変換の少なくとも1つの特性に基づいて、前記第1および第2の動き補正済データセットのデータ要素の寄与であって、前記マージされた動き補正済データセットに対する寄与を調整することによって、データ要素を結合する、データセット処理システム。
- 請求項29に記載のデータセット処理システムにおいて、前記第1または前記第2の3次元変換の前記少なくとも1つの特性は、サンプリング密度である、データセット処理システム。
- 請求項28に記載のデータセット処理システムにおいて、前記動き補正モジュールは、前記第1および第2の動き補正済データセットの前記データ要素の加重和を演算することによって、データ要素を結合する、データセット処理システム。
- 請求項24に記載のデータセット処理システムにおいて、さらに、
第1の走査パターンを用いて第1の3次元データセットを収集し、第2の走査パターンを用いて第2の3次元データセットを収集するデータ収集モジュールを備え、
前記第1の走査パターンと前記第2の走査パターンは相補的である、データセット処理システム。 - 請求項32に記載のデータセット処理システムにおいて、前記相補的な第1および第2の走査パターンはラスタ走査である、データセット処理システム。
- 請求項33に記載のデータセット処理システムにおいて、前記相補的な第1および第2の走査パターンはラスタ走査である、データセット処理システム。
- 請求項34に記載のデータセット処理システムにおいて、前記ラスタ走査は互いに直交する、データセット処理システム。
- 請求項24に記載のデータセット処理システムにおいて、前記演算モジュールは、前記1つ以上の3次元変換を反復的に演算する、データセット処理システム。
- 請求項24に記載のデータセット処理システムにおいて、前記演算モジュールは、前記目的関数に対して数値最適化法を使用して、前記1つ以上の3次元変換を演算する、データセット処理システム。
- 請求項24に記載のデータセット処理システムにおいて、前記演算モジュールは、多重解像度数値最適化法を使用して、前記1つ以上の3次元変換を演算する、データセット処理システム。
- 請求項24に記載のデータセット処理システムにおいて、さらに、
第1の時点の第1の動き補正済データセットと、第2の時点の第2の動き補正済データセットとを比較して、前記第1の時点および前記第2の時点の間の変化を量的に追跡する、時間比較モジュールを備えた、データセット処理システム。 - 請求項39に記載のデータセット処理システムにおいて、前記オブジェクトは、被験者に関連するオブジェクトである、データセット処理システム。
- 請求項40に記載のデータセット処理システムにおいて、前記第1の時点は、前記被験者がヘルスケアプロバイダに1回目に訪れた時点であり、前記第2の時点は、前記被験者が前記ヘルスケアプロバイダに2回目に訪れた時点である、データセット処理システム。
- 請求項40に記載のデータセット処理システムにおいて、前記第1の時点は、前記オブジェクトを走査するために前記被験者が1回目に行動した時点であり、前記第2の時点は、前記オブジェクトを走査するために前記被験者が2回目に行動した時点である、データセット処理システム。
- 請求項24に記載のデータセット処理システムにおいて、前記3次元データセットは、A走査で取り込まれ、前記1つ以上の3次元変換は、3次元変位を各A走査に関連付けるものである、データセット処理システム。
- 請求項24に記載のデータセット処理システムにおいて、さらに、
画像再サンプリング、雑音低減、A走査特徴生成、傾斜補償、およびロールオフ補償からなる群から選択される手法によって、前記3次元データセットを前処理する、前処理モジュールを備えた、データセット処理システム。 - 請求項24に記載のデータセット処理システムにおいて、前記3次元データセットは、強度データ、ドップラーシフトデータ、および偏光データの少なくとも1つを含む、データセット処理システム。
- 請求項24に記載のデータセット処理システムにおいて、前記導関数3次元データセットは、ドップラーシフトデータおよび偏光データの少なくとも1つを含む、データセット処理システム。
- 一連の命令を記録した、一時的ではないコンピュータ読み取り可能な媒体であって、前記命令は、プロセッサによって実行されると、当該プロセッサに、
目的関数の値に基づいて1つ以上の3次元変換を演算させる手順であって、各3次元変換は、それぞれ3次元データセットに対応付けられ、前記3次元データセットはオブジェクトの少なくとも部分的に重なる領域を表しており、
(a)(i)変換後の状態にある2つ以上の3次元データセット間、または(ii)前記変換後の状態にある2つ以上の前処理された3次元データセット間の類似の度合いを計算すること、および
(b)撮像器具に対する前記オブジェクトの動きを推定することによって、前記プロセッサに前記目的関数を評価させる命令を有する、3次元変換演算手順と、
少なくとも1つの動き補正済データセットを取得するように、少なくとも1つの3次元変換を、対応付けられた3次元データセット、または前記対応付けられた3次元データセットに対応する導関数3次元データセットに適用する手順とを実行させる、非一時的コンピュータ読み取り可能媒体。 - OCTデータセットを処理する方法であって、
オブジェクトの少なくとも部分的に重なる領域を表す2つ以上の3次元OCTデータセットを収集する工程であって、少なくとも1つのデータセットが、少なくとも1つの他のデータセットの走査パターンに対して相補的な走査パターンを使用して収集される、OCTデータセット収集工程と、
目的関数を使用して各データセットのための3次元変換を演算する工程であって、前記目的関数は、
(a)変換後の状態にある前記3次元データセット間の演算された類似の度合いを優位にし、
(b)撮像器具に対する前記オブジェクトの動きに罰則を付ける、3次元変換演算工程と、
少なくとも1つの動き補正済データセットを取得するように、少なくとも1つの3次元変換を各データセットに適用する工程とを備えた、OCTデータセット処理方法。 - 請求項48に記載のOCTデータセット処理方法において、類似の度合いは、強度データ、振幅データ、位相データおよび偏光データの少なくとも1つに基づいて演算される、OCTデータセット処理方法。
- 請求項48に記載のOCTデータセット処理方法において、類似の度合いを演算するのに使用される前記データは、雑音抑圧、傾斜補償、OCT信号ロールオフ補正、データ削減、データ正規化、またはこれらの任意の組み合わせを使用して、前処理される、OCTデータセット処理方法。
- 請求項48に記載のOCTデータセット処理方法において、前記3次元変換は、強度データ、振幅データ、位相データおよび偏光データの少なくとも1つを変換することによって、各3次元データセットに適用される、OCTデータセット処理方法。
- 請求項48に記載のOCTデータセット処理方法において、前記変換後の状態にある前記3次元データセット間の前記演算された類似の度合いを優位にすることは、前記変換後の状態にある前記3次元データセットから選択されるデータ値間の差に罰則を付けることを含む、OCTデータセット処理方法。
- 請求項52に記載のOCTデータセット処理方法において、データ値間の前記差に罰則を付けることは、差の二乗和、分散、差の絶対値の和、またはこれらの任意の組み合わせを使用することを含む、OCTデータセット処理方法。
- 請求項48に記載のOCTデータセット処理方法において、第1の動き補正済データセットを取得するように、第1の3次元変換が第1の3次元データセットに適用され、第2の動き補正済データセットを取得するように、第2の3次元変換が第2の3次元データセットに適用され、
さらに、前記第1または第2の動き補正済データセットの個々に対して改善された信号品質を有する、マージされた動き補正済データセットを取得するように、前記第1および第2の動き補正済データセットからのデータ要素を結合することによって、前記第1および前記第2の動き補正済データセットをマージするマージ工程を備えた、OCTデータセット処理方法。 - 請求項54に記載のOCTデータセット処理方法において、前記第1および前記第2の3次元変換は特性を有し、前記第1および前記第2の動き補正済データセットをマージする前記マージ工程は、さらに、前記第1および前記第2の3次元変換の少なくとも1つの特性に基づいて、前記マージされた動き補正済データセットに対するデータ要素の寄与を調整することを含む、OCTデータセット処理方法。
- 請求項55に記載のOCTデータセット処理方法において、前記第1または前記第2の3次元変換の前記少なくとも1つの特性は、サンプリング密度である、OCTデータセット処理方法。
- 請求項55に記載のOCTデータセット処理方法において、前記第1および前記第2の動き補正済データセットをマージする前記マージ工程は、前記第1および第2の動き補正済データセットの前記データ要素の加重和を演算することを含む、OCTデータセット処理方法。
- 請求項48に記載のOCTデータセット処理方法において、前記相補的な走査パターンはラスタ走査である、OCTデータセット処理方法。
- 請求項58に記載のOCTデータセット処理方法において、前記ラスタ走査は互いに直交する、OCTデータセット処理方法。
- 請求項48に記載のOCTデータセット処理方法において、さらに、
前記3次元変換を反復的に演算する反復演算工程を備えた、OCTデータセット処理方法。 - 請求項44に記載のOCTデータセット処理方法において、さらに、
多重解像度数値最適化法を使用して、前記3次元変換を演算する、多重解像度数値最適化法演算工程を備えた、OCTデータセット処理方法。 - 請求項48に記載のOCTデータセット処理方法において、前記オブジェクトは、目、網膜、中心窩、視神経乳頭、および角膜からなる群から選択される、OCTデータセット処理方法。
- 請求項48に記載のOCTデータセット処理方法において、
第1の時点の第1の動き補正済データセットを取得するように、前記第1の時点における少なくとも第1および第2のデータセットが処理され、
第2の時点の第2の動き補正済データセットを取得するように、前記第2の時点における少なくとも第3および第4のデータセットが処理され、
さらに、複数の時点にわたる変化を量的に追跡するように、前記動き補正済データセットまたは前記動き補正済データセットからの測定値を比較する比較工程を備えた、OCTデータセット処理方法。 - 請求項48に記載のOCTデータセット処理方法において、前記3次元データセットはA走査を含み、
さらに、各3次元データセットは、強度、振幅、位相、ドップラーシフトおよび偏光信号の少なくとも1つを含むデータチャネルのセットで構成され、
さらに、データチャネルの前記セットを前記OCTデータセットからの各A走査に対応付ける関連付け工程を備えた、OCTデータセット処理方法。 - 請求項48に記載のOCTデータセット処理方法において、前記3次元データセットはA走査を含み、さらに、前記3次元変換は、3次元変位を各A走査に関連付けるものである、OCTデータセット処理方法。
Applications Claiming Priority (3)
| Application Number | Priority Date | Filing Date | Title |
|---|---|---|---|
| US32934710P | 2010-04-29 | 2010-04-29 | |
| US61/329,347 | 2010-04-29 | ||
| PCT/US2011/034572 WO2011139895A1 (en) | 2010-04-29 | 2011-04-29 | Method and apparatus for motion correction and image enhancement for optical coherence tomography |
Publications (3)
| Publication Number | Publication Date |
|---|---|
| JP2013525035A true JP2013525035A (ja) | 2013-06-20 |
| JP2013525035A5 JP2013525035A5 (ja) | 2014-04-24 |
| JP5832523B2 JP5832523B2 (ja) | 2015-12-16 |
Family
ID=44342931
Family Applications (1)
| Application Number | Title | Priority Date | Filing Date |
|---|---|---|---|
| JP2013508283A Active JP5832523B2 (ja) | 2010-04-29 | 2011-04-29 | 光コヒーレンストモグラフィのための動き補正および画像改善の方法および装置 |
Country Status (7)
| Country | Link |
|---|---|
| US (2) | US9269144B2 (ja) |
| EP (1) | EP2563206B1 (ja) |
| JP (1) | JP5832523B2 (ja) |
| CN (1) | CN103025229A (ja) |
| CA (1) | CA2797725A1 (ja) |
| PL (1) | PL2563206T3 (ja) |
| WO (1) | WO2011139895A1 (ja) |
Cited By (21)
| Publication number | Priority date | Publication date | Assignee | Title |
|---|---|---|---|---|
| JP2014038043A (ja) * | 2012-08-17 | 2014-02-27 | Olympus Corp | 分光測定方法 |
| WO2015125311A1 (ja) * | 2014-02-24 | 2015-08-27 | オリンパス株式会社 | 分光測定方法 |
| JP2016040005A (ja) * | 2015-12-21 | 2016-03-24 | 株式会社トプコン | 血流情報生成装置、血流情報生成方法、及びプログラム |
| JP2016523583A (ja) * | 2013-04-30 | 2016-08-12 | アイディーエックス,エルエルシー | 並列光コヒーレンストモグラフィー装置、システム、および関連の方法 |
| JP2016205999A (ja) * | 2015-04-22 | 2016-12-08 | 日本電信電話株式会社 | 信号処理装置 |
| JP2017074112A (ja) * | 2015-10-13 | 2017-04-20 | 株式会社吉田製作所 | 光干渉断層画像生成装置 |
| JP2017522066A (ja) * | 2014-06-10 | 2017-08-10 | カール ツァイス メディテック インコーポレイテッドCarl Zeiss Meditec Inc. | 改善された周波数領域干渉法による撮像システムおよび方法 |
| JP2018038611A (ja) * | 2016-09-07 | 2018-03-15 | 株式会社ニデック | 眼科解析装置、眼科解析プログラム |
| JP2018139716A (ja) * | 2017-02-27 | 2018-09-13 | 株式会社トプコン | 眼科システム |
| JP2018527993A (ja) * | 2015-09-24 | 2018-09-27 | カール ツァイス メディテック インコーポレイテッドCarl Zeiss Meditec Inc. | 高感度フロー視覚化方法 |
| JP2018153611A (ja) * | 2017-03-17 | 2018-10-04 | キヤノン株式会社 | 情報処理装置、画像生成方法、及びプログラム |
| JP2019171220A (ja) * | 2019-07-23 | 2019-10-10 | 株式会社トプコン | 眼科撮影装置 |
| JP2020048772A (ja) * | 2018-09-26 | 2020-04-02 | 株式会社トプコン | 眼科装置、及びその制御方法 |
| JP2020162886A (ja) * | 2019-03-29 | 2020-10-08 | 株式会社ニデック | 医療画像処理装置、oct装置、および医療画像処理プログラム |
| JP2021079144A (ja) * | 2018-05-11 | 2021-05-27 | オプトス ピーエルシー | Oct網膜画像データレンダリング方法及びoct網膜画像データレンダリング装置 |
| JP2021515244A (ja) * | 2018-05-23 | 2021-06-17 | ハーグ—ストレイト アーゲーHaag−Streit Ag | Octシステム及びoct方法 |
| JP2021168929A (ja) * | 2015-05-28 | 2021-10-28 | シライト プロプライエタリー リミテッド | 高分解能3dスペクトル領域光学撮像装置及び方法 |
| JP2022507811A (ja) * | 2018-11-21 | 2022-01-18 | ユニバーシティ オブ ワシントン | 遠隔眼科学における網膜テンプレート合致のためのシステムおよび方法 |
| KR20230169592A (ko) * | 2022-06-09 | 2023-12-18 | 경북대학교 산학협력단 | 다중 해상도 기반 광간섭 단층 이미징 장치 및 이를 이용한 세균 동정 방법 |
| JP2024509784A (ja) * | 2021-02-25 | 2024-03-05 | トルンプフ レーザー ゲゼルシャフト ミット ベシュレンクテル ハフツング | 測定を実行するための最適化されたパラメータセットを特定するための方法および装置 |
| JP2025178996A (ja) * | 2024-05-27 | 2025-12-09 | 芯聖科技股▲ふん▼有限公司 | 物の3次元構造を非破壊的に取得する光学式走査システム |
Families Citing this family (151)
| Publication number | Priority date | Publication date | Assignee | Title |
|---|---|---|---|---|
| US9050026B2 (en) * | 2006-01-20 | 2015-06-09 | Clarity Medical Systems, Inc. | Apparatus and method for operating a real time large diopter range sequential wavefront sensor |
| US8100530B2 (en) | 2006-01-20 | 2012-01-24 | Clarity Medical Systems, Inc. | Optimizing vision correction procedures |
| US8356900B2 (en) | 2006-01-20 | 2013-01-22 | Clarity Medical Systems, Inc. | Large diopter range real time sequential wavefront sensor |
| US9101292B2 (en) * | 2006-01-20 | 2015-08-11 | Clarity Medical Systems, Inc. | Apparatus and method for operating a real time large dipoter range sequential wavefront sensor |
| WO2011139895A1 (en) | 2010-04-29 | 2011-11-10 | Massachusetts Institute Of Technology | Method and apparatus for motion correction and image enhancement for optical coherence tomography |
| JP6039156B2 (ja) * | 2010-06-08 | 2016-12-07 | キヤノン株式会社 | 画像処理装置、画像処理方法、及びプログラム |
| JP5610884B2 (ja) | 2010-07-09 | 2014-10-22 | キヤノン株式会社 | 光断層撮像装置及び光断層撮像方法 |
| US9050027B2 (en) * | 2010-07-30 | 2015-06-09 | Adventus Technologies, Inc. | Intraoperative imaging system and apparatus |
| US8425037B2 (en) * | 2010-07-30 | 2013-04-23 | Adventus Technologies, Inc. | Intraoperative imaging system and apparatus |
| EP2609853A4 (en) * | 2010-08-27 | 2016-03-09 | Sony Corp | IMAGE PROCESSING APPARATUS AND METHOD |
| US8801187B1 (en) * | 2010-12-23 | 2014-08-12 | Carl Zeiss Meditec, Inc. | Methods to reduce variance in OCT analysis of the macula |
| ES2497190T3 (es) * | 2011-04-06 | 2014-09-22 | Agfa Healthcare N.V. | Sistema y procedimiento para tomografía de coherencia óptica |
| US10918307B2 (en) * | 2011-09-13 | 2021-02-16 | St. Jude Medical, Atrial Fibrillation Division, Inc. | Catheter navigation using impedance and magnetic field measurements |
| US9901303B2 (en) | 2011-04-14 | 2018-02-27 | St. Jude Medical, Atrial Fibrillation Division, Inc. | System and method for registration of multiple navigation systems to a common coordinate frame |
| US10362963B2 (en) | 2011-04-14 | 2019-07-30 | St. Jude Medical, Atrial Fibrillation Division, Inc. | Correction of shift and drift in impedance-based medical device navigation using magnetic field information |
| US8857988B2 (en) * | 2011-07-07 | 2014-10-14 | Carl Zeiss Meditec, Inc. | Data acquisition methods for reduced motion artifacts and applications in OCT angiography |
| KR101251445B1 (ko) * | 2011-07-13 | 2013-04-05 | 주식회사 쓰리디시스템즈코리아 | 비정형 디지털 데이터로부터 단면의 궤적으로 이루어지는 특징 형상을 자동으로 추출하는 장치 및 방법 |
| JP2013075035A (ja) * | 2011-09-30 | 2013-04-25 | Canon Inc | 光断層像撮像方法、光断層像撮像装置およびプログラム |
| US20140236002A1 (en) * | 2011-10-17 | 2014-08-21 | University Of Washington Through Its Center For Commercialization | Methods and Systems for Imaging Tissue Motion Using Optical Coherence Tomography |
| JP5926533B2 (ja) * | 2011-10-27 | 2016-05-25 | キヤノン株式会社 | 眼科装置 |
| US8930166B1 (en) * | 2011-12-06 | 2015-01-06 | Lockheed Martin Corporation | Method and apparatus for efficient extraction of information from signals |
| US9101294B2 (en) * | 2012-01-19 | 2015-08-11 | Carl Zeiss Meditec, Inc. | Systems and methods for enhanced accuracy in OCT imaging of the cornea |
| JP6146951B2 (ja) | 2012-01-20 | 2017-06-14 | キヤノン株式会社 | 画像処理装置、画像処理方法、撮影装置及び撮影方法 |
| JP6061554B2 (ja) * | 2012-01-20 | 2017-01-18 | キヤノン株式会社 | 画像処理装置及び画像処理方法 |
| JP5936368B2 (ja) | 2012-01-20 | 2016-06-22 | キヤノン株式会社 | 光干渉断層撮影装置及びその作動方法 |
| JP6039185B2 (ja) | 2012-01-20 | 2016-12-07 | キヤノン株式会社 | 撮影装置 |
| JP5988772B2 (ja) | 2012-01-20 | 2016-09-07 | キヤノン株式会社 | 画像処理装置及び画像処理方法 |
| JP2013148509A (ja) | 2012-01-20 | 2013-08-01 | Canon Inc | 画像処理装置及び画像処理方法 |
| US9795292B2 (en) * | 2012-02-29 | 2017-10-24 | Nidek Co., Ltd. | Method for taking tomographic image of eye |
| JP5987355B2 (ja) * | 2012-02-29 | 2016-09-07 | 株式会社ニデック | 眼光断層画像撮像装置 |
| JP6025349B2 (ja) * | 2012-03-08 | 2016-11-16 | キヤノン株式会社 | 画像処理装置、光干渉断層撮像装置、画像処理方法および光干渉断層撮像方法 |
| EA020939B1 (ru) * | 2012-05-31 | 2015-02-27 | Закрытое акционерное общество научно-исследовательская производственная компания "Электрон" (ЗАО НИПК "Электрон") | Способ определения геометрических смещений сенсоров в плоскопанельном детекторе рентгеновского изображения |
| EP2692284A1 (en) * | 2012-07-30 | 2014-02-05 | Canon Kabushiki Kaisha | Method and apparatus for geometric correction of OCT data representing a scan obtained by means of optical coherence tomography imaging of a sample |
| US20150223681A1 (en) * | 2012-08-30 | 2015-08-13 | The Board Of Regents Of The University Of Texas Systems | Method and Apparatus for Ultrafast Multi-Wavelength Photothermal Optical Coherence Tomography (OCT) |
| US9115974B2 (en) * | 2012-09-14 | 2015-08-25 | The Johns Hopkins University | Motion-compensated optical coherence tomography system |
| WO2014062529A1 (en) * | 2012-10-15 | 2014-04-24 | Josh Hogan | Enhanced oct measurement and imaging apparatus and method |
| EP4201304B1 (en) * | 2012-10-24 | 2026-01-14 | Nidek Co., Ltd. | Ophthalmic analysis apparatus |
| RU2015121412A (ru) * | 2012-11-07 | 2016-12-27 | Клэрити Медикал Системз, Инк. | Устройство и способ для работы последовательного датчика волнового фронта большого диоптрийного диапазона реального времени |
| JP6075755B2 (ja) * | 2012-11-19 | 2017-02-08 | 株式会社トプコン | 光画像計測装置 |
| KR102086509B1 (ko) * | 2012-11-23 | 2020-03-09 | 엘지전자 주식회사 | 3차원 영상 획득 방법 및 장치 |
| US9107610B2 (en) * | 2012-11-30 | 2015-08-18 | Kabushiki Kaisha Topcon | Optic neuropathy detection with three-dimensional optical coherence tomography |
| EP2929327B1 (en) | 2012-12-05 | 2019-08-14 | Perimeter Medical Imaging, Inc. | System and method for wide field oct imaging |
| US9207062B2 (en) * | 2012-12-10 | 2015-12-08 | The Johns Hopkins University | Distortion corrected optical coherence tomography system |
| US9025159B2 (en) * | 2012-12-10 | 2015-05-05 | The Johns Hopkins University | Real-time 3D and 4D fourier domain doppler optical coherence tomography system |
| GB2509131B (en) * | 2012-12-21 | 2017-05-17 | Optos Plc | Improvements in and relating to ophthalmoscopes |
| JP2014155694A (ja) | 2013-01-16 | 2014-08-28 | Canon Inc | 眼科装置及び眼科方法 |
| JP6460618B2 (ja) | 2013-01-31 | 2019-01-30 | キヤノン株式会社 | 光干渉断層撮像装置およびその制御方法 |
| US20150371401A1 (en) * | 2013-03-13 | 2015-12-24 | University Of Washington | Methods and Systems for Imaging Tissue Motion Using Optical Coherence Tomography |
| ES2743618T3 (es) * | 2013-05-21 | 2020-02-20 | Neurovision Imaging Inc | Sistema y método para obtener imágenes de una parte del cuerpo del paciente |
| RU2634998C2 (ru) * | 2013-05-29 | 2017-11-08 | Уэйвлайт Гмбх | Аппарат для оптической когерентной томографии (окт) глаза и способ оптической когерентной томографии (окт) глаза |
| JP6184231B2 (ja) * | 2013-07-31 | 2017-08-23 | キヤノン株式会社 | 画像処理装置および画像処理方法 |
| JP6184232B2 (ja) * | 2013-07-31 | 2017-08-23 | キヤノン株式会社 | 画像処理装置及び画像処理方法 |
| WO2015044366A1 (en) | 2013-09-30 | 2015-04-02 | Carl Zeiss Meditec Ag | High temporal resolution doppler oct imaging of retinal blood flow |
| US20160231452A1 (en) * | 2013-10-11 | 2016-08-11 | Analogic Corporation | Tomosynthesis imaging |
| US8879813B1 (en) | 2013-10-22 | 2014-11-04 | Eyenuk, Inc. | Systems and methods for automated interest region detection in retinal images |
| AU2013273657B2 (en) * | 2013-12-18 | 2016-11-10 | Canon Kabushiki Kaisha | Ophthalmic reference image selection |
| CN103700077B (zh) * | 2013-12-30 | 2017-01-04 | 北京理工大学 | 一种基于人眼视觉特性的自适应图像增强方法 |
| US10188808B2 (en) | 2014-01-24 | 2019-01-29 | The Johns Hopkins University | Fiber optic distal sensor controlled drug injector |
| US9291500B2 (en) * | 2014-01-29 | 2016-03-22 | Raytheon Company | Configurable combination spectrometer and polarizer |
| JP6480104B2 (ja) * | 2014-03-11 | 2019-03-06 | 国立大学法人 筑波大学 | 光コヒーレンストモグラフィー装置及び光コヒーレンストモグラフィーによる変位測定方法 |
| US10062164B2 (en) | 2014-04-07 | 2018-08-28 | Mimo Ag | Method for the analysis of image data representing a three-dimensional volume of biological tissue |
| US9907696B2 (en) | 2014-04-18 | 2018-03-06 | The Johns Hopkins University | Fiber optic distal sensor controlled micro-manipulation systems and methods |
| CN105011900B (zh) * | 2014-04-30 | 2018-02-02 | 卡尔蔡司医疗技术公司 | 用于生成宽视场光学相干体层析图的方法和装置 |
| WO2015168700A1 (en) * | 2014-05-02 | 2015-11-05 | The Board Of Trustees Of The Leland Stanford Junior University | Method and apparatus for tracing motion using radio frequency signals |
| US9506741B2 (en) | 2014-06-09 | 2016-11-29 | The Johns Hopkins University | Optical coherence tomography systems and methods with magnitude and direction tracking of transverse motion |
| US20160022484A1 (en) * | 2014-07-25 | 2016-01-28 | Novartis Ag | Optical coherence tomography-augmented surgical instruments and systems and methods for correcting undesired movement of surgical instruments |
| US9759544B2 (en) * | 2014-08-08 | 2017-09-12 | Carl Zeiss Meditec, Inc. | Methods of reducing motion artifacts for optical coherence tomography angiography |
| CN104146681B (zh) * | 2014-08-15 | 2015-11-18 | 深圳市斯尔顿科技有限公司 | 一种眼底视网膜oct图像校正方法 |
| KR101802993B1 (ko) | 2015-02-12 | 2017-12-28 | 남한석 | 비제한적 구동형 마킹 시스템 및 그 마킹 방법 |
| US9679356B2 (en) * | 2015-03-19 | 2017-06-13 | Xerox Corporation | Vectorized two stage tile-based scaling |
| EP3081146B1 (en) | 2015-04-15 | 2019-10-30 | Novartis AG | An apparatus for modelling ocular structures |
| JP6869951B2 (ja) | 2015-04-16 | 2021-05-12 | ジェンテュイティ・リミテッド・ライアビリティ・カンパニーGentuity, LLC | 撮像システム |
| CN104958061B (zh) * | 2015-07-28 | 2016-09-14 | 北京信息科技大学 | 双目立体视觉三维成像的眼底oct成像方法及其系统 |
| JP6502791B2 (ja) * | 2015-08-26 | 2019-04-17 | 株式会社トプコン | 血流計測装置 |
| EP4675259A2 (en) | 2015-08-31 | 2026-01-07 | Spryte Medical, Inc. | Imaging system includes imaging probe and delivery devices |
| US10402965B1 (en) * | 2015-11-12 | 2019-09-03 | Carl Zeiss Meditec, Inc. | Systems and methods for reducing artifacts in OCT angiography images |
| CA3014998C (en) | 2016-02-19 | 2024-02-27 | Optovue, Inc. | Methods and apparatus for reducing artifacts in oct angiography using machine learning techniques |
| CA3058610A1 (en) * | 2016-03-31 | 2017-10-05 | Bio-Tree Systems, Inc. | Methods of obtaining 3d retinal blood vessel geometry from optical coherent tomography images and methods of analyzing same |
| EP3439536A1 (en) * | 2016-04-06 | 2019-02-13 | Carestream Dental Technology Topco Limited | Intraoral oct with compressive sensing |
| US11245593B2 (en) * | 2016-04-25 | 2022-02-08 | Vmware, Inc. | Frequency-domain analysis of data-center operational and performance metrics |
| CN105759274B (zh) * | 2016-04-26 | 2017-12-08 | 南京信息工程大学 | 一种台风关注区雷达降水估测方法 |
| CN105825488B (zh) * | 2016-05-30 | 2018-08-21 | 天津大学 | 一种心血管内光学相干层析图像增强方法 |
| US11452442B2 (en) | 2016-06-15 | 2022-09-27 | Oregon Health & Science University | Systems and methods for automated widefield optical coherence tomography angiography |
| US10151781B2 (en) | 2016-06-17 | 2018-12-11 | Li-Cor, Inc. | Spectral response synthesis on trace data |
| US9971936B2 (en) * | 2016-06-17 | 2018-05-15 | Li-Cor, Inc. | Adaptive signal detection and synthesis on trace data |
| US10521657B2 (en) | 2016-06-17 | 2019-12-31 | Li-Cor, Inc. | Adaptive asymmetrical signal detection and synthesis methods and systems |
| JP6165935B2 (ja) * | 2016-07-08 | 2017-07-19 | 株式会社トプコン | 光画像計測装置 |
| EP3538838A1 (en) * | 2016-11-09 | 2019-09-18 | Amo Wavefront Sciences, LLC | Optical coherence tomography systems and methods with dispersion compensation |
| CN106372765B (zh) * | 2016-11-29 | 2019-11-12 | 东南大学 | 一种基于融合数据的高速公路气象站数据修复方法 |
| WO2018119077A1 (en) | 2016-12-21 | 2018-06-28 | Acucela Inc. | Miniaturized mobile, low cost optical coherence tomography system for home based ophthalmic applications |
| US10839515B2 (en) | 2017-04-28 | 2020-11-17 | Massachusetts Institute Of Technology | Systems and methods for generating and displaying OCT angiography data using variable interscan time analysis |
| WO2018204748A1 (en) | 2017-05-05 | 2018-11-08 | Massachusetts Institute Of Technology | Systems and methods for generating and displaying oct blood flow speeds by merging mutiple integrated spatial samplings government license rights |
| KR101853127B1 (ko) | 2017-05-19 | 2018-04-27 | 주식회사 랜도르아키텍쳐 | 구동형 마킹 시스템, 구동형 마킹 장치의 제어방법 및 컴퓨터 판독 가능한 기록매체 |
| CN107341824B (zh) * | 2017-06-12 | 2020-07-28 | 西安电子科技大学 | 一种图像配准的综合评价指标生成方法 |
| EP3655748B1 (en) | 2017-07-18 | 2023-08-09 | Perimeter Medical Imaging, Inc. | Sample container for stabilizing and aligning excised biological tissue samples for ex vivo analysis |
| CN109387170B (zh) * | 2017-08-14 | 2020-09-01 | 宏碁股份有限公司 | 距离检测装置及其距离检测方法 |
| JP2019047841A (ja) | 2017-09-07 | 2019-03-28 | キヤノン株式会社 | 画像処理装置、画像処理方法及びプログラム |
| JP7102112B2 (ja) | 2017-09-07 | 2022-07-19 | キヤノン株式会社 | 画像処理装置、画像処理方法及びプログラム |
| JP2019047839A (ja) * | 2017-09-07 | 2019-03-28 | キヤノン株式会社 | 画像処理装置、位置合わせ方法及びプログラム |
| JP7027076B2 (ja) | 2017-09-07 | 2022-03-01 | キヤノン株式会社 | 画像処理装置、位置合わせ方法及びプログラム |
| AU2018348778B2 (en) * | 2017-10-11 | 2023-06-08 | OncoRes Medical Pty Ltd | A method of volumetric imaging of a sample |
| US11771321B2 (en) | 2017-10-13 | 2023-10-03 | The Research Foundation For Suny | System, method, and computer-accessible medium for subsurface capillary flow imaging by wavelength-division-multiplexing swept-source optical doppler tomography |
| US10482634B2 (en) * | 2017-10-24 | 2019-11-19 | General Electric Company | Systems and methods for imaging with anisotropic voxels |
| JP7160935B2 (ja) | 2017-11-28 | 2022-10-25 | ジェンテュイティ・リミテッド・ライアビリティ・カンパニー | 撮像システム |
| DE102017221924B3 (de) * | 2017-12-05 | 2019-05-02 | Siemens Healthcare Gmbh | Verfahren zur Fusionierung eines Analysedatensatzes mit einem Bilddatensatz, Positionierungseinrichtung und Computerprogramm |
| CN108254395B (zh) | 2017-12-28 | 2023-10-13 | 清华大学 | 扫描图像校正装置、方法和移动式扫描设备 |
| US11397840B1 (en) | 2018-03-14 | 2022-07-26 | Synopsys, Inc. | Edge placement errors for optical lithography |
| JP6927416B2 (ja) * | 2018-03-30 | 2021-08-25 | 株式会社島津製作所 | イメージングデータ処理装置及びイメージングデータ処理プログラム |
| CN108629744B (zh) * | 2018-04-09 | 2021-07-30 | 北京无线电计量测试研究所 | 一种图像增强方法 |
| CN111629652B (zh) | 2018-04-18 | 2024-06-11 | 卡尔蔡司医疗技术公司 | 改善oct中基于lso的跟踪的后处理方法 |
| RU2681348C1 (ru) * | 2018-04-19 | 2019-03-06 | Общество С Ограниченной Ответственностью "Биомедицинские Технологии" | Способ трехмерной визуализации внутренней структуры исследуемого объекта в реальном времени |
| US10769307B2 (en) | 2018-05-30 | 2020-09-08 | Bank Of America Corporation | Processing system using natural language processing for performing dataset filtering and sanitization |
| JP7402866B2 (ja) | 2018-06-20 | 2023-12-21 | アキュセラ インコーポレイテッド | 家庭用眼科用途のための小型化モバイル低コスト光干渉断層撮影システム |
| EP3829442A4 (en) | 2018-08-03 | 2022-05-11 | NeuroLogica Corporation | AI-BASED VOLUME SELF-CORRECTION FOR FIXED AND MOBILE X-RAY IMAGING MODALITIES AND OTHER IMAGING MODALITIES |
| EP3841736A4 (en) | 2018-09-17 | 2022-05-18 | Gentuity LLC | OPTICAL PATH IMAGING SYSTEM |
| EP4620386A3 (en) * | 2019-01-28 | 2025-11-19 | The General Hospital Corporation | Speckle-based image distortion correction for laser scanning microscopy |
| US11000413B2 (en) | 2019-02-15 | 2021-05-11 | Amo Development, Llc | Ophthalmic laser surgical system and method implementing simultaneous laser treatment and OCT measurement |
| US11024013B2 (en) | 2019-03-08 | 2021-06-01 | International Business Machines Corporation | Neural network based enhancement of intensity images |
| DE102019203448A1 (de) * | 2019-03-14 | 2020-09-17 | Carl Zeiss Microscopy Gmbh | Verfahren zur Reduzierung von Bildartefakten |
| ES2892477T3 (es) * | 2019-04-04 | 2022-02-04 | Optos Plc | Dispositivo de formación de imágenes médicas |
| EP3962346A4 (en) | 2019-04-30 | 2023-04-19 | Gentuity LLC | IMAGING PROBE WITH FLUID PRESSURIZATION ELEMENT |
| EP3972477A4 (en) | 2019-05-21 | 2023-05-24 | Gentuity LLC | SYSTEMS AND METHODS FOR OCT-GUIDED TREATMENT OF A PATIENT |
| US11854281B2 (en) | 2019-08-16 | 2023-12-26 | The Research Foundation For The State University Of New York | System, method, and computer-accessible medium for processing brain images and extracting neuronal structures |
| JP7367433B2 (ja) * | 2019-09-30 | 2023-10-24 | 株式会社ニデック | 眼科撮影装置 |
| US11544903B2 (en) | 2019-12-13 | 2023-01-03 | Sony Group Corporation | Reducing volumetric data while retaining visual fidelity |
| WO2021134087A1 (en) | 2019-12-26 | 2021-07-01 | Acucela Inc. | Optical coherence tomography patient alignment system for home based ophthalmic applications |
| CN111449667B (zh) * | 2020-03-30 | 2023-07-18 | 上海联影医疗科技股份有限公司 | 扫描中断自动恢复方法、装置和计算机设备 |
| CN111476888B (zh) * | 2020-04-09 | 2023-05-12 | 山东财经大学 | 一种基于三维空间体拟合的医学图像层间插值方法,设备及可读存储介质 |
| DE102020111584A1 (de) * | 2020-04-28 | 2021-10-28 | Carl Zeiss Meditec Ag | Verfahren zum Gewinnen von Daten mithilfe von Operationsmikroskopiesystemen |
| US10959613B1 (en) | 2020-08-04 | 2021-03-30 | Acucela Inc. | Scan pattern and signal processing for optical coherence tomography |
| CN116390683A (zh) | 2020-08-14 | 2023-07-04 | 奥克塞拉有限公司 | 用于光学相干断层扫描a扫描去弯曲的系统和方法 |
| CN112043242B (zh) * | 2020-08-31 | 2022-11-11 | 中国科学院苏州生物医学工程技术研究所 | 用于oct成像的信号处理方法及系统、存储介质 |
| US11393094B2 (en) | 2020-09-11 | 2022-07-19 | Acucela Inc. | Artificial intelligence for evaluation of optical coherence tomography images |
| AU2021352417A1 (en) | 2020-09-30 | 2023-04-06 | Acucela Inc. | Myopia prediction, diagnosis, planning, and monitoring device |
| CN112504836B (zh) * | 2020-10-30 | 2022-11-18 | 天津大学 | 一种oct拉伸测试装置及测试方法 |
| DK4000502T3 (da) * | 2020-11-12 | 2024-02-05 | Optos Plc | Volumetrisk oct-billeddatabearbejdning |
| EP4000500A1 (en) * | 2020-11-12 | 2022-05-25 | Optos PLC | Volumetric oct image data processing |
| US11727534B2 (en) | 2020-12-08 | 2023-08-15 | International Business Machines Corporation | Normalizing OCT image data |
| JP7606699B2 (ja) * | 2021-03-01 | 2024-12-26 | 国立大学法人 筑波大学 | 眼科データ処理方法、眼科データ処理装置、その制御方法、眼科検査装置、その制御方法、プログラム、及び記録媒体 |
| CN113040700B (zh) * | 2021-03-11 | 2024-05-28 | 视微影像(河南)科技有限公司 | 一种眼动追踪系统及其追踪方法 |
| CN113040701B (zh) * | 2021-03-11 | 2024-05-28 | 视微影像(河南)科技有限公司 | 一种三维眼动追踪系统及其追踪方法 |
| EP4312717A4 (en) | 2021-03-24 | 2025-02-19 | Acucela Inc. | MONITORING DEVICE FOR AXIAL LENGTH MEASUREMENT |
| CN113253295B (zh) * | 2021-06-22 | 2021-09-24 | 中国人民解放军国防科技大学 | 一种激光反射断层成像多角度激光回波配准方法 |
| CN114913199B (zh) * | 2022-01-07 | 2023-10-13 | 电子科技大学 | 一种基于oct的深度解析的横向平面运动跟踪方法 |
| DE102022200999A1 (de) * | 2022-01-31 | 2023-08-03 | Siemens Healthcare Gmbh | Verfahren und Vorrichtung zur Rekonstruktion von CT-Bildern |
| CN114916910B (zh) * | 2022-04-29 | 2024-04-09 | 无锡市华焯光电科技有限公司 | 脉象分类方法、分类模型训练方法、分类设备和存储介质 |
| WO2023239174A1 (ko) * | 2022-06-09 | 2023-12-14 | 경북대학교 산학협력단 | 다중 해상도 기반 광간섭 단층 이미징 장치 및 단층 영상 이미지를 이용한 세균 자동 동정 방법 |
| CN116630829B (zh) * | 2023-05-31 | 2025-08-12 | 四川三思德科技有限公司 | 基于相似性的抗农业喷洒烟雾干扰处理方法、装置及介质 |
| CN117423051B (zh) * | 2023-10-18 | 2024-03-26 | 广州元沣智能科技有限公司 | 一种基于场所活动对象的信息监测分析方法 |
| WO2025157199A1 (en) * | 2024-01-24 | 2025-07-31 | The Hong Kong University Of Science And Technology | Motion artifact reduction in optical coherence tomography angiography images |
| CN121120625B (zh) * | 2025-11-11 | 2026-02-13 | 陕西西慕电气设备有限公司 | 基于图像识别的变压器故障诊断方法及系统 |
Citations (9)
| Publication number | Priority date | Publication date | Assignee | Title |
|---|---|---|---|---|
| JP2001238877A (ja) * | 2000-01-18 | 2001-09-04 | Koninkl Philips Electronics Nv | X線画像を形成するための方法及び装置 |
| US20060164653A1 (en) * | 2005-01-21 | 2006-07-27 | Everett Matthew J | Method of motion correction in optical coherence tomography imaging |
| EP1775545A2 (en) * | 2005-10-12 | 2007-04-18 | Kabushiki Kaisha TOPCON | Optical image measuring device, optical image measuring program, fundus observation device, and fundus observation program |
| JP2008508068A (ja) * | 2004-08-03 | 2008-03-21 | カール ツァイス メディテック アクチエンゲゼルシャフト | 眼のフーリエ領域octレイ・トレーシング法 |
| WO2008139799A1 (en) * | 2007-05-02 | 2008-11-20 | Canon Kabushiki Kaisha | Image forming method and optical coherence tomograph apparatus using optical coherence tomography |
| EP2044879A1 (en) * | 2007-10-04 | 2009-04-08 | Canon Kabushiki Kaisha | Optical coherence tomographic apparatus |
| US20090103049A1 (en) * | 2007-10-19 | 2009-04-23 | Oti Ophthalmic Technologies Inc. | Method for correcting patient motion when obtaining retina volume using optical coherence tomography |
| US20090257636A1 (en) * | 2008-04-14 | 2009-10-15 | Optovue, Inc. | Method of eye registration for optical coherence tomography |
| JP2011156035A (ja) * | 2010-01-29 | 2011-08-18 | Canon Inc | 光画像撮像装置及びその制御方法、そのプログラム、記憶媒体 |
Family Cites Families (6)
| Publication number | Priority date | Publication date | Assignee | Title |
|---|---|---|---|---|
| US7724943B2 (en) * | 2004-04-21 | 2010-05-25 | Siemens Medical Solutions Usa, Inc. | Rapid and robust 3D/3D registration technique |
| KR100677142B1 (ko) * | 2004-08-13 | 2007-02-02 | 경희대학교 산학협력단 | 파노라마 영상의 움직임 추정 및 보상 |
| JP2008527473A (ja) * | 2004-12-31 | 2008-07-24 | 富士通株式会社 | 3次元モデルの検索方法、検索装置及び検索プログラム |
| US8004517B1 (en) * | 2005-06-24 | 2011-08-23 | Geomagic, Inc. | Methods, apparatus and computer program products that model three-dimensional surface structures |
| JP5355074B2 (ja) | 2008-12-26 | 2013-11-27 | キヤノン株式会社 | 3次元形状データ処理装置、3次元形状データ処理方法及びプログラム |
| WO2011139895A1 (en) | 2010-04-29 | 2011-11-10 | Massachusetts Institute Of Technology | Method and apparatus for motion correction and image enhancement for optical coherence tomography |
-
2011
- 2011-04-29 WO PCT/US2011/034572 patent/WO2011139895A1/en not_active Ceased
- 2011-04-29 US US13/097,785 patent/US9269144B2/en active Active
- 2011-04-29 JP JP2013508283A patent/JP5832523B2/ja active Active
- 2011-04-29 EP EP11726243.6A patent/EP2563206B1/en active Active
- 2011-04-29 CN CN2011800305625A patent/CN103025229A/zh active Pending
- 2011-04-29 PL PL11726243T patent/PL2563206T3/pl unknown
- 2011-04-29 CA CA2797725A patent/CA2797725A1/en not_active Abandoned
-
2015
- 2015-12-28 US US14/980,466 patent/US9978159B2/en active Active
Patent Citations (16)
| Publication number | Priority date | Publication date | Assignee | Title |
|---|---|---|---|---|
| JP2001238877A (ja) * | 2000-01-18 | 2001-09-04 | Koninkl Philips Electronics Nv | X線画像を形成するための方法及び装置 |
| US20010043671A1 (en) * | 2000-01-18 | 2001-11-22 | Michael Grass | Method of and device for forming X-ray images |
| JP2008508068A (ja) * | 2004-08-03 | 2008-03-21 | カール ツァイス メディテック アクチエンゲゼルシャフト | 眼のフーリエ領域octレイ・トレーシング法 |
| US20080284981A1 (en) * | 2004-08-03 | 2008-11-20 | Adolf Friedrich Fercher | Fourier-Domain Oct Ray-Tracing On The Eye |
| US20060164653A1 (en) * | 2005-01-21 | 2006-07-27 | Everett Matthew J | Method of motion correction in optical coherence tomography imaging |
| JP2008528954A (ja) * | 2005-01-21 | 2008-07-31 | カール ツァイス メディテック アクチエンゲゼルシャフト | 光学コヒーレンス・トモグラフィ撮像における動き補正方法 |
| EP1775545A2 (en) * | 2005-10-12 | 2007-04-18 | Kabushiki Kaisha TOPCON | Optical image measuring device, optical image measuring program, fundus observation device, and fundus observation program |
| JP2007130403A (ja) * | 2005-10-12 | 2007-05-31 | Topcon Corp | 光画像計測装置、光画像計測プログラム、眼底観察装置及び眼底観察プログラム |
| WO2008139799A1 (en) * | 2007-05-02 | 2008-11-20 | Canon Kabushiki Kaisha | Image forming method and optical coherence tomograph apparatus using optical coherence tomography |
| JP2008298767A (ja) * | 2007-05-02 | 2008-12-11 | Canon Inc | 光干渉断層計を用いた画像形成方法、及び光干渉断層装置 |
| EP2044879A1 (en) * | 2007-10-04 | 2009-04-08 | Canon Kabushiki Kaisha | Optical coherence tomographic apparatus |
| JP2009103688A (ja) * | 2007-10-04 | 2009-05-14 | Canon Inc | 光干渉断層撮像装置 |
| US20090103049A1 (en) * | 2007-10-19 | 2009-04-23 | Oti Ophthalmic Technologies Inc. | Method for correcting patient motion when obtaining retina volume using optical coherence tomography |
| US20090257636A1 (en) * | 2008-04-14 | 2009-10-15 | Optovue, Inc. | Method of eye registration for optical coherence tomography |
| JP2011516235A (ja) * | 2008-04-14 | 2011-05-26 | オプトビュー,インコーポレーテッド | 光干渉断層法のアイレジストレーション法 |
| JP2011156035A (ja) * | 2010-01-29 | 2011-08-18 | Canon Inc | 光画像撮像装置及びその制御方法、そのプログラム、記憶媒体 |
Non-Patent Citations (1)
| Title |
|---|
| 田島 裕一郎他: "3次元位相限定相関法に基づく高精度ボリュームレジストレーション", FIT2009 第8回情報科学技術フォーラム 講演論文集, vol. 第2分冊, JPN6015007838, 20 August 2009 (2009-08-20), pages 95 - 102, ISSN: 0003160152 * |
Cited By (39)
| Publication number | Priority date | Publication date | Assignee | Title |
|---|---|---|---|---|
| JP2014038043A (ja) * | 2012-08-17 | 2014-02-27 | Olympus Corp | 分光測定方法 |
| JP2016523583A (ja) * | 2013-04-30 | 2016-08-12 | アイディーエックス,エルエルシー | 並列光コヒーレンストモグラフィー装置、システム、および関連の方法 |
| WO2015125311A1 (ja) * | 2014-02-24 | 2015-08-27 | オリンパス株式会社 | 分光測定方法 |
| US10317336B2 (en) | 2014-02-24 | 2019-06-11 | Olympus Corporation | Spectral measurement method |
| US10799111B2 (en) | 2014-06-10 | 2020-10-13 | Carl Zeiss Meditec, Inc. | Frequency-domain interferometric based imaging systems and methods |
| US12396640B2 (en) | 2014-06-10 | 2025-08-26 | Carl Zeiss Meditec, Inc. | Frequency-domain interferometric based imaging systems and methods |
| US11890052B2 (en) | 2014-06-10 | 2024-02-06 | Carl Zeiss Meditec, Inc. | Frequency-domain interferometric based imaging systems and methods |
| JP2017522066A (ja) * | 2014-06-10 | 2017-08-10 | カール ツァイス メディテック インコーポレイテッドCarl Zeiss Meditec Inc. | 改善された周波数領域干渉法による撮像システムおよび方法 |
| JP2016205999A (ja) * | 2015-04-22 | 2016-12-08 | 日本電信電話株式会社 | 信号処理装置 |
| JP7258082B2 (ja) | 2015-05-28 | 2023-04-14 | シライト プロプライエタリー リミテッド | 高分解能3dスペクトル領域光学撮像装置及び方法 |
| US11471039B2 (en) | 2015-05-28 | 2022-10-18 | Cylite Pty Ltd | High resolution 3-D spectral domain optical imaging apparatus and method |
| JP2021168929A (ja) * | 2015-05-28 | 2021-10-28 | シライト プロプライエタリー リミテッド | 高分解能3dスペクトル領域光学撮像装置及び方法 |
| JP2018527993A (ja) * | 2015-09-24 | 2018-09-27 | カール ツァイス メディテック インコーポレイテッドCarl Zeiss Meditec Inc. | 高感度フロー視覚化方法 |
| JP2017074112A (ja) * | 2015-10-13 | 2017-04-20 | 株式会社吉田製作所 | 光干渉断層画像生成装置 |
| JP2016040005A (ja) * | 2015-12-21 | 2016-03-24 | 株式会社トプコン | 血流情報生成装置、血流情報生成方法、及びプログラム |
| JP7182350B2 (ja) | 2016-09-07 | 2022-12-02 | 株式会社ニデック | 眼科解析装置、眼科解析プログラム |
| JP2022036302A (ja) * | 2016-09-07 | 2022-03-04 | 株式会社ニデック | 眼科解析装置、眼科解析プログラム |
| JP2018038611A (ja) * | 2016-09-07 | 2018-03-15 | 株式会社ニデック | 眼科解析装置、眼科解析プログラム |
| JP2018139716A (ja) * | 2017-02-27 | 2018-09-13 | 株式会社トプコン | 眼科システム |
| JP2018153611A (ja) * | 2017-03-17 | 2018-10-04 | キヤノン株式会社 | 情報処理装置、画像生成方法、及びプログラム |
| JP7251028B2 (ja) | 2018-05-11 | 2023-04-04 | オプトス ピーエルシー | Oct網膜画像データレンダリング方法及びoct網膜画像データレンダリング装置 |
| JP2022033344A (ja) * | 2018-05-11 | 2022-02-28 | オプトス ピーエルシー | Oct網膜画像データレンダリング方法及びoct網膜画像データレンダリング装置 |
| JP2021079144A (ja) * | 2018-05-11 | 2021-05-27 | オプトス ピーエルシー | Oct網膜画像データレンダリング方法及びoct網膜画像データレンダリング装置 |
| US11236986B2 (en) | 2018-05-23 | 2022-02-01 | Haag-Streit Ag | OCT system and OCT method |
| JP7052960B2 (ja) | 2018-05-23 | 2022-04-12 | ハーグ―ストレイト アーゲー | Octシステム及びoct方法 |
| JP2021515244A (ja) * | 2018-05-23 | 2021-06-17 | ハーグ—ストレイト アーゲーHaag−Streit Ag | Octシステム及びoct方法 |
| JP2023175006A (ja) * | 2018-09-26 | 2023-12-08 | 株式会社トプコン | 眼科装置、及びその制御方法 |
| JP2020048772A (ja) * | 2018-09-26 | 2020-04-02 | 株式会社トプコン | 眼科装置、及びその制御方法 |
| JP2022507811A (ja) * | 2018-11-21 | 2022-01-18 | ユニバーシティ オブ ワシントン | 遠隔眼科学における網膜テンプレート合致のためのシステムおよび方法 |
| US12029487B2 (en) | 2018-11-21 | 2024-07-09 | Magic Leap, Inc. | System and method for retina template matching in teleophthalmology |
| JP7677885B2 (ja) | 2018-11-21 | 2025-05-15 | ユニバーシティ オブ ワシントン | 遠隔眼科学における網膜テンプレート合致のためのシステムおよび方法 |
| US11602276B2 (en) | 2019-03-29 | 2023-03-14 | Nidek Co., Ltd. | Medical image processing device, oct device, and non-transitory computer-readable storage medium storing computer-readable instructions |
| JP7595405B2 (ja) | 2019-03-29 | 2024-12-06 | 株式会社ニデック | 医療画像処理装置、oct装置、および医療画像処理プログラム |
| JP2020162886A (ja) * | 2019-03-29 | 2020-10-08 | 株式会社ニデック | 医療画像処理装置、oct装置、および医療画像処理プログラム |
| JP2019171220A (ja) * | 2019-07-23 | 2019-10-10 | 株式会社トプコン | 眼科撮影装置 |
| JP2024509784A (ja) * | 2021-02-25 | 2024-03-05 | トルンプフ レーザー ゲゼルシャフト ミット ベシュレンクテル ハフツング | 測定を実行するための最適化されたパラメータセットを特定するための方法および装置 |
| KR20230169592A (ko) * | 2022-06-09 | 2023-12-18 | 경북대학교 산학협력단 | 다중 해상도 기반 광간섭 단층 이미징 장치 및 이를 이용한 세균 동정 방법 |
| KR102767614B1 (ko) | 2022-06-09 | 2025-02-19 | 경북대학교 산학협력단 | 다중 해상도 기반 광간섭 단층 이미징 장치 및 이를 이용한 세균 동정 방법 |
| JP2025178996A (ja) * | 2024-05-27 | 2025-12-09 | 芯聖科技股▲ふん▼有限公司 | 物の3次元構造を非破壊的に取得する光学式走査システム |
Also Published As
| Publication number | Publication date |
|---|---|
| WO2011139895A1 (en) | 2011-11-10 |
| US20110267340A1 (en) | 2011-11-03 |
| US9978159B2 (en) | 2018-05-22 |
| US9269144B2 (en) | 2016-02-23 |
| CA2797725A1 (en) | 2011-11-10 |
| PL2563206T3 (pl) | 2018-12-31 |
| CN103025229A (zh) | 2013-04-03 |
| JP5832523B2 (ja) | 2015-12-16 |
| EP2563206A1 (en) | 2013-03-06 |
| EP2563206B1 (en) | 2018-08-29 |
| US20170140560A1 (en) | 2017-05-18 |
Similar Documents
| Publication | Publication Date | Title |
|---|---|---|
| JP5832523B2 (ja) | 光コヒーレンストモグラフィのための動き補正および画像改善の方法および装置 | |
| US11170258B2 (en) | Reducing noise in an image | |
| Kraus et al. | Motion correction in optical coherence tomography volumes on a per A-scan basis using orthogonal scan patterns | |
| US9418423B2 (en) | Motion correction and normalization of features in optical coherence tomography | |
| CN103356162B (zh) | 图像处理设备和图像处理方法 | |
| JP5289219B2 (ja) | 撮影装置及びその制御方法 | |
| JP7419042B2 (ja) | 医用画像処理装置、光干渉断層撮影装置、医用画像処理方法、及びプログラム | |
| EP2692284A1 (en) | Method and apparatus for geometric correction of OCT data representing a scan obtained by means of optical coherence tomography imaging of a sample | |
| JP2021529622A (ja) | 網膜の光干渉断層撮影画像のセグメンテーションの方法及びコンピュータプログラム | |
| Sánchez Brea et al. | Review on retrospective procedures to correct retinal motion artefacts in OCT imaging | |
| JP2023552394A (ja) | Oct/octaデータの位置合わせ及び網膜ランドマークの検出のための複数のサブボリューム、厚さ、及び曲率の使用 | |
| JP7102112B2 (ja) | 画像処理装置、画像処理方法及びプログラム | |
| JP2019063446A (ja) | 画像処理装置、画像処理方法及びプログラム | |
| JP5669885B2 (ja) | 画像処理装置及び画像処理方法 | |
| EP4233688B1 (en) | Ophthalmic device, control method therefor, program, and recording medium | |
| Kraus | Motion correction and signal enhancement in optical coherence tomography | |
| WO2024226530A1 (en) | Freeform optical coherence tomography beyond the optical field-of-view limit | |
| CN119156516A (zh) | 多维图像的相位恢复平移移位 | |
| Eichel | Statistical Model-Based Corneal Reconstruction | |
| Jiao | Development and Application of Advanced Ophthalmic Imaging Technology to Enhance Military Ocular Health Capabilities | |
| Lee et al. | End-to-End Pipeline for Fourier Domain Optical Coherence Tomography of Human Optic Nerve Head | |
| JP2020162886A (ja) | 医療画像処理装置、oct装置、および医療画像処理プログラム | |
| JP2019013856A (ja) | 画像処理装置、画像処理方法およびプログラム |
Legal Events
| Date | Code | Title | Description |
|---|---|---|---|
| A521 | Request for written amendment filed |
Free format text: JAPANESE INTERMEDIATE CODE: A523 Effective date: 20140307 |
|
| A621 | Written request for application examination |
Free format text: JAPANESE INTERMEDIATE CODE: A621 Effective date: 20140307 |
|
| A977 | Report on retrieval |
Free format text: JAPANESE INTERMEDIATE CODE: A971007 Effective date: 20150120 |
|
| A131 | Notification of reasons for refusal |
Free format text: JAPANESE INTERMEDIATE CODE: A131 Effective date: 20150303 |
|
| A601 | Written request for extension of time |
Free format text: JAPANESE INTERMEDIATE CODE: A601 Effective date: 20150515 |
|
| A521 | Request for written amendment filed |
Free format text: JAPANESE INTERMEDIATE CODE: A523 Effective date: 20150831 |
|
| TRDD | Decision of grant or rejection written | ||
| A01 | Written decision to grant a patent or to grant a registration (utility model) |
Free format text: JAPANESE INTERMEDIATE CODE: A01 Effective date: 20150929 |
|
| A61 | First payment of annual fees (during grant procedure) |
Free format text: JAPANESE INTERMEDIATE CODE: A61 Effective date: 20151027 |
|
| R150 | Certificate of patent or registration of utility model |
Ref document number: 5832523 Country of ref document: JP Free format text: JAPANESE INTERMEDIATE CODE: R150 |
|
| R250 | Receipt of annual fees |
Free format text: JAPANESE INTERMEDIATE CODE: R250 |
|
| R250 | Receipt of annual fees |
Free format text: JAPANESE INTERMEDIATE CODE: R250 |
|
| R250 | Receipt of annual fees |
Free format text: JAPANESE INTERMEDIATE CODE: R250 |
|
| R250 | Receipt of annual fees |
Free format text: JAPANESE INTERMEDIATE CODE: R250 |
|
| R250 | Receipt of annual fees |
Free format text: JAPANESE INTERMEDIATE CODE: R250 |
|
| R250 | Receipt of annual fees |
Free format text: JAPANESE INTERMEDIATE CODE: R250 |
|
| R250 | Receipt of annual fees |
Free format text: JAPANESE INTERMEDIATE CODE: R250 |
|
| R250 | Receipt of annual fees |
Free format text: JAPANESE INTERMEDIATE CODE: R250 |
