JP2012242552A - 光コネクタ用フェルール - Google Patents

光コネクタ用フェルール Download PDF

Info

Publication number
JP2012242552A
JP2012242552A JP2011111672A JP2011111672A JP2012242552A JP 2012242552 A JP2012242552 A JP 2012242552A JP 2011111672 A JP2011111672 A JP 2011111672A JP 2011111672 A JP2011111672 A JP 2011111672A JP 2012242552 A JP2012242552 A JP 2012242552A
Authority
JP
Japan
Prior art keywords
optical fiber
hole
capillary
adhesive
ferrule
Prior art date
Legal status (The legal status is an assumption and is not a legal conclusion. Google has not performed a legal analysis and makes no representation as to the accuracy of the status listed.)
Granted
Application number
JP2011111672A
Other languages
English (en)
Other versions
JP5655703B2 (ja
Inventor
Hidetoshi Ishida
英敏 石田
Shigeto Kato
重人 加藤
Current Assignee (The listed assignees may be inaccurate. Google has not performed a legal analysis and makes no representation or warranty as to the accuracy of the list.)
Sumitomo Wiring Systems Ltd
AutoNetworks Technologies Ltd
Sumitomo Electric Industries Ltd
Original Assignee
Sumitomo Wiring Systems Ltd
AutoNetworks Technologies Ltd
Sumitomo Electric Industries Ltd
Priority date (The priority date is an assumption and is not a legal conclusion. Google has not performed a legal analysis and makes no representation as to the accuracy of the date listed.)
Filing date
Publication date
Application filed by Sumitomo Wiring Systems Ltd, AutoNetworks Technologies Ltd, Sumitomo Electric Industries Ltd filed Critical Sumitomo Wiring Systems Ltd
Priority to JP2011111672A priority Critical patent/JP5655703B2/ja
Publication of JP2012242552A publication Critical patent/JP2012242552A/ja
Application granted granted Critical
Publication of JP5655703B2 publication Critical patent/JP5655703B2/ja
Active legal-status Critical Current
Anticipated expiration legal-status Critical

Links

Images

Landscapes

  • Mechanical Coupling Of Light Guides (AREA)

Abstract

【課題】製造コストの増大を抑えつつ、光ファイバの曲がりや断線を抑制することで、光ファイバの信頼性を確保する。
【解決手段】筒状のキャピラリ20と、このキャピラリ20の端部に一体に形成されたフランジ部30とを備えて構成され、光ファイバW1の表面を樹脂で被覆してなる光ファイバ心線Wの端末に装着される光コネクタ用フェルール10であって、光ファイバW1を前後方向に挿通可能な光ファイバ挿通孔21と、光ファイバW1を光ファイバ挿通孔21に案内する案内孔22と、接着剤が注入されて貯留される接着剤貯留孔と、光ファイバ挿通孔21の軸心と同軸をなして光ファイバW1を摺接面に誘導する位置決め孔35とが、この順に並んで配置されており、位置決め孔35の孔径は、案内孔22の開口縁の孔径よりも小さい孔径に設定されている。
【選択図】図5

Description

本発明は、光コネクタ用フェルールに関する。
光ファイバ心線の端末に装着される光コネクタ用フェルールの一般的な構成として、筒状のキャピラリと、キャピラリの後方に形成されるフランジ部とを備えたものが知られている。一方、光ファイバ心線の一般的な構成として、光ファイバの表面を樹脂によって被覆したものが知られている。光ファイバ心線をフェルールに固定するには、まず、光ファイバ心線の端末部で樹脂被覆を皮剥ぎした後、フランジ部を通してキャピラリに光ファイバを挿入し、光ファイバ心線をフランジ部内に挿入する。次に、フランジ部内に接着剤を注入し、光ファイバ心線がフランジ部内で接着されることで、フェルールと光ファイバ心線とが固定される。
このようなフェルールとして、例えば、特許文献1または特許文献2の従来技術として記載されたものが知られている。特許文献1ではキャピラリとフランジ部とが一体成形され、特許文献2ではキャピラリとフランジ部とが別部材で形成されているという違いはあるが、全体の形状としては同じものである。このフェルールは、キャピラリの入口部分にテーパ状の案内面が形成されており、この案内面に光ファイバの先端を摺接させることで、光ファイバがキャピラリに挿入されるようになっている。また、光ファイバの先端を案内面に摺接させる前提構成として、フランジ部内に挿入された光ファイバを案内面にまで導く必要があり、その誘導手段としてチューブ状のスペーサがフランジ部内に挿入されている。
また、フランジ部内に接着剤を注入するディスペンサの針は、通常、光ファイバ心線の線径よりも大きいため、ディスペンサの針をフランジ部内に入れて接着剤を注入する前提構成として、フランジ部内に光ファイバ心線の線径よりも大きい空間を確保しておく必要がある。
このようなフランジ部内の空間を、小径部とこの小径部の後方に設けられた大径部とによって構成する方法が特許文献1に開示されている。このような方法によると、大径部内にディスペンサの針を挿入することでフランジ部内に接着剤を注入することができると共に、小径部によって光ファイバ心線を支持して光ファイバの曲がりを防ぐことができる。
特開昭61−221712号公報 特開平10−307233号公報
しかしながら、フランジ部内にスペーサを挿入する方法では、フランジ部とは別にスペーサが必要になるため、製造コストが高くなる。
また、フランジ部内に光ファイバ心線の線径よりも大きい空間を形成する用法では、フランジ部内で光ファイバ心線が芯ずれしやすくなって光ファイバに曲がりが発生し、光ファイバの信頼性低下の一因となる。さらに、大きい空間を設けたことによってフランジ部が大型化し、フェルール全体が大型化してしまう。
また、小径部と大径部とが内部に形成されたフランジ部を用いる方法では、小径部にはディスペンサの針が挿入できないため、接着剤を小径部内に完全に充填させることが困難である。このため、小径部内において接着剤中に気泡が混入する虞があり、気泡が残ったまま接着剤が硬化すると不均一に分布する接着剤の硬化収縮の影響で光ファイバが断線する虞がある。
そこで、光ファイバ心線の芯ずれを抑制することを目的としてフランジ部内の空間をできるだけ小さくする方法が検討されている。しかしながら、フランジ部内の空間を小さくした結果、フランジ部内にディスペンサの針を直接挿入することができなくなると、フランジ部内とディスペンサの針とを別途接続する技術が必要になる。このような接続技術を可能にするには、例えば接着剤がフランジ部から漏れ出すことを防ぐためにパッキンを用いる等、特別な工夫が必要になるため、やはり製造コストが高くなる。
本発明は上記のような事情に基づいて完成されたものであって、製造コストの増大を抑えつつ、光ファイバの曲がりや断線を抑制することで、光ファイバの信頼性を確保することを目的とする。
上記の目的を達成するための手段として本発明は、筒状のキャピラリと、このキャピラリの端部に一体に形成されたフランジ部とを備えて構成され、光ファイバの表面を樹脂で被覆してなる光ファイバ被覆部の端末に装着される光コネクタ用フェルールであって、前記キャピラリの内部に設けられ、前記光ファイバを挿通可能な光ファイバ挿通孔と、この光ファイバ挿通孔に連通して設けられ、前記光ファイバの先端が摺接することで前記光ファイバを前記光ファイバ挿通孔に案内するすり鉢状の案内孔と、この案内孔に連通すると共に前記光ファイバの挿入方向と交差する方向に開設され、この開設部分から接着剤が注入されて貯留される接着剤貯留孔と、この接着剤貯留孔に連通し前記光ファイバ挿通孔の軸心と同軸をなす配置で設けられ、前記光ファイバの先端を前記案内孔に誘導する位置決め孔とが、この順に並んで配置されており、前記位置決め孔の孔径は、前記案内孔の入口側の孔径よりも小さい孔径に設定されているところに特徴を有する。
このような構成の光コネクタ用フェルールによると、光ファイバ挿通孔に光ファイバを挿入する際に、光ファイバの挿入方向が位置決め孔によって位置決めされ、光ファイバの先端を確実に案内孔に誘導することできる。そして、光ファイバの先端が案内孔の内周面に摺接することで光ファイバが光ファイバ挿通孔に案内される。すなわち、スペーサなどを用いて芯ずれを規制したり、フランジ部内とディスペンサの針とを接続する手段を用いたりすることなく、光ファイバを確実に光ファイバ挿通孔に挿入することができる。これにより、製造コストが増大することを抑制しつつ、光ファイバの組み付け作業の際に、光ファイバが屈曲することを抑制し、光ファイバの信頼性を確保することができる。
また、接着剤貯留孔が接着剤で満たされた状態で光ファイバをフェルールに組み付けるようにしたので、光ファイバをフェルールに組み付けた後に接着剤を注入する場合に比べて、接着剤中に気泡が発生することを抑制することができる。これにより、気泡が残ったまま接着剤が硬化することで光ファイバが断線することを防止できる。
また、接着剤で満たされた接着剤貯留孔を光ファイバが横切ることで光ファイバの表面に接着剤が付着した状態となり、この状態で光ファイバが光ファイバ挿通孔に挿通されるので、光ファイバとキャピラリとを接着剤で接着することができる。これにより、光ファイバとフェルールとの固着力を向上させることできる。
本発明の実施の態様として、以下の構成が好ましい。
前記位置決め孔の孔径は、前記光ファイバ被覆部の外径と同じ寸法に設定されている構成としてもよい。ここで、「同じ寸法」とは、位置決め孔の孔径と光ファイバ被覆部の外径とが同一の寸法である場合のみならず、位置決め孔の孔径が光ファイバ被覆部の外径よりもやや大きめの寸法である場合も含むことを意味する。
このような構成によると、光ファイバ被覆部が位置決め孔の軸心と同軸に配置され、光ファイバ被覆部と光ファイバとを同軸に配置することができる。したがって、光ファイバが光ファイバ被覆部から光ファイバ挿入孔に向かう途中で屈曲や断線することを抑制することができる。
前記キャピラリはセラミックス製であり、前記フランジ部は前記キャピラリの端部を合成樹脂で覆うように形成されており、前記キャピラリの端部における前記フランジ部に覆われた部分には、前記フランジ部に設けられた係止部と前記キャピラリの軸線方向に係止可能な被係止部が形成されている構成としてもよい。
このような構成によると、セラミックス製のキャピラリから合成樹脂製のフランジ部が脱落することを防止することができる。
また、前記キャピラリ部と前記フランジ部とは一体成形されていてもよい。
本発明によれば、製造コストの増大を抑えつつ、光ファイバの曲がりや断線を抑制することで、光ファイバの信頼性を確保することができる。
実施形態1に係る光コネクタ用フェルールの平面図 実施形態1に係る光コネクタ用フェルールの側面図 実施形態1に係る光コネクタ用フェルールの背面図 図1のIV−IV線断面図 実施形態1に係る光コネクタ用フェルールに光ファイバ及び光ファイバ心線を固定した状態を示す断面図 成形金型においてキャピラリを保持した状態を示す断面図 実施形態2に係る光コネクタ用フェルールの断面図
<実施形態1>
本発明の実施形態1について図1乃至図6を参照して説明する。
実施形態1では、光ケーブルの保護材を皮剥ぎすることで露出された光ファイバW1及び光ファイバ心線Wの端末に装着される光コネクタ用フェルール10を例示している。なお、光ファイバ心線Wは、図5に示すように、光ファイバW1の表面を樹脂などの被覆材でコーティングすることで光ファイバW1よりも大径に形成されている。また、光ファイバ心線Wは、本発明の光ファイバ被覆部の一例である。
光コネクタ用フェルール10は、セラミックス製のキャピラリ20と、キャピラリ20の後端部に一体に形成された合成樹脂製のフランジ部30とを備えて構成されている。
キャピラリ20は、図1及び図2に示すように、円筒形状をなし、キャピラリ20の内部には、図3に示すように、キャピラリ20の軸心に沿って直線状に延びる光ファイバ挿通孔21が前後方向に貫通して形成されている。なお、以下の説明においてはキャピラリ20の軸線方向を前後方向とし、図1における図示左側を前側とする。
光ファイバ挿通孔21は、キャピラリ20の前端からキャピラリ20の後端よりやや前方の位置まで形成されている。光ファイバ挿通孔21には、光ファイバW1が後方から挿入可能に形成されている。また、光ファイバ挿通孔21の後方には、図3に示すように、案内孔22が形成されている。案内孔22は、光ファイバ挿通孔21の後端とキャピラリ20の後端との間に配置されている。また、案内孔22は、光ファイバ挿通孔21の後端開口縁から後方に向かうほど径方向外側に向かうように傾斜したすり鉢状をなす内周面を有している。また、案内孔22の後端開口の開口径は、光ファイバ心線Wの線径の約3倍に設定されている。したがって、光ファイバ挿通孔21に光ファイバW1を挿入する際に、光ファイバW1の軸心が光ファイバ挿通孔21の軸心からややずれた場合でも、光ファイバW1の先端は案内孔22の内周面に摺接することよって光ファイバ挿通孔21の後端開口に案内され、光ファイバW1が光ファイバ挿通孔21に確実に挿入されるようになっている。
フランジ部30は、キャピラリ20の後端部を覆いつつキャピラリ20の軸心に沿って後方に突出する形態で一体に形成されている。
フランジ部30は、前後方向略中央部よりも前方部分が前方フランジ部31とされ、前後方向略中央部よりも後方部分が後方フランジ部32とされている。
前方フランジ部31は、その前端から後方に向かってキャピラリ20から離れるように拡幅した形態をなし、後方フランジ部32は、同一幅のまま後方に延びる形態をなしている。また、後方フランジ部32は、前方フランジ部31の後端部分に比べて幅狭とされている。一方、前方フランジ部31は、キャピラリ20の後端部を全周に亘って覆っている。
前方フランジ部31に覆われたキャピラリ20の外面には、キャピラリ20の軸線方向と直交する方向に矩形状に凹んだ被係止部23が形成されている。この被係止部23には、前方フランジ部31に突出して形成された係止部33がキャピラリ20の軸心と直交する方向に嵌合されている。そして、キャピラリ20の被係止部23と前方フランジ部31の係止部33とがキャピラリ20の軸線方向(前後方向)に係止することで、フランジ部30がキャピラリ20の後端部からキャピラリ20の軸線方向に脱落しないようになっている。なお、この係止部33は、射出成形の際に、キャピラリ20の被係止部23に流れ込んだ成形樹脂が硬化することで成形されている。
さて、フランジ部30の前後方向略中央部(前方フランジ部31と後方フランジ部32との境界部分)には、光ファイバW1の挿入方向と直交する上下方向に延びる接着剤貯留孔34が形成されており、この接着剤貯留孔34の後方には、光ファイバ心線Wが後方から嵌合可能な光ファイバ心線嵌合孔(本発明の「位置決め孔」の一例)35が形成されている。
接着剤貯留孔34は、図1及び図4に示すように、上方に開口しており、内部に接着剤Bが注入可能に形成されている。接着剤貯留孔34は、光ファイバ挿通孔21と、光ファイバ心線嵌合孔35と連通して形成されており、接着剤貯留孔34の前壁34Aは、キャピラリ20の後端面20Aを含んで形成されている。また、接着剤貯留孔34は、図3及び図4に示すように、キャピラリ20の後端部に設けられた案内孔22の後端開口縁の孔径よりも幅広で、案内孔22の下端よりも下方まで延びて形成されている。すなわち、案内孔22は、接着剤貯留孔34に対して円形状に開口した形態をなしている。また、接着剤貯留孔34の上端開口は、キャピラリ20の幅寸法よりも僅かに小さな幅寸法の平面視矩形状に形成されている。これにより、接着剤Bを外部に漏らすことなく接着剤貯留孔34に容易に注入することができる。また、接着剤貯留孔34の上端開口が、ディスペンサの針よりも十分に大きく、かつ、接着剤貯留孔34内の空気を外部に排出させるのに十分な大きさとされていることから、接着剤貯留孔34に接着剤Bを注入する際に、接着剤貯留孔34の接着剤B内に気泡を発生させることなく接着剤貯留孔34に接着剤Bを充填できるようになっている。
一方、光ファイバ心線嵌合孔35は、キャピラリ20の光ファイバ挿通孔21の軸心と同軸をなし、光ファイバ心線嵌合孔35の孔径は、光ファイバ心線Wの外径寸法とほぼ同一に設定されている。すなわち、光ファイバ心線嵌合孔35の孔径は、キャピラリ20の後端部に設けられた案内孔22の後端開口縁の孔径よりも小さく設定されている。また、光ファイバ心線嵌合孔35の前端開口縁は、キャピラリ20の案内孔22の中心部分(案内孔22の内周面における光ファイバ挿通孔21の周辺部)に前後方向に対向して臨んだ形態となっている。
また、光ファイバ心線嵌合孔35の後端開口部35Aは、すり鉢状をなす形態(後方に向かうほど間口が広くなる形態)とされており、光ファイバ心線嵌合孔35に光ファイバW1や光ファイバ心線Wを挿入する際に、光ファイバW1や光ファイバ心線Wが光ファイバ心線嵌合孔35に案内されるようになっている。
本実施形態の光コネクタ用フェルール10は上記のような構造であって、次に、キャピラリ20の後端部にフランジ部30をインサート成形する方法について図6を参照しながら説明する。
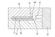
まず、上下方向に型開き可能な上下両金型60,61の内部にキャピラリ20を上下方向から狭持するようにセットすると共に、後方からスライド金型62をスライドさせて型締めする。このとき、キャピラリ20の後端面20Aには、上型60から下方に延びて形成された成形ピン63の前面63Aが全周に亘って密着し、キャピラリ20における案内孔22の後端開口を完全に塞ぐように設定されている。これにより、型締めされた成形金型60,61,62内に成形樹脂が流し込まれてフランジ部30が成形されても、キャピラリ20の案内孔22には、成形樹脂が流れ込まないようになっている。これにより、フランジ部30をキャピラリ20と一体に形成することができる。
続いて、この光コネクタ用フェルール10に光ファイバW1及び光ファイバ心線Wを装着する方法について説明する。
まず、光コネクタ用フェルール10が準備できたところで、図示しない光ケーブルの端末の保護材を皮剥ぎし、光ファイバ心線Wを露出させる。また、光ファイバ心線Wの端末を更に除去することで光ファイバW1を露出させる。
次に、フランジ部30の接着剤貯留孔34の上端開口から接着剤Bを注入する。このとき、接着剤貯留孔34の上端開口は、大きく開口して形成されているので、接着剤Bを外部に漏らすことなく、接着剤貯留孔34内に容易に注入することができる。また、接着剤B内に気泡が発生することを抑制できる。
接着剤Bを接着剤貯留孔34と案内孔22に充填したところで、光ファイバW1を光コネクタ用フェルール10のフランジ部30の後方から光ファイバ心線嵌合孔35に挿入する。このとき、光ファイバ心線嵌合孔35の後端開口部35Aはテーパ状に形成されているので、光ファイバW1の軸心が光ファイバ心線嵌合孔35の軸心から僅かにずれて挿入される場合においても、光ファイバW1を光ファイバ心線嵌合孔35に案内して挿入することができる。
光ファイバ心線嵌合孔35に光ファイバW1を挿入していくと、光ファイバW1が接着剤貯留孔34の接着剤B内に進入し、光ファイバW1の表面に接着剤Bが付着する。更にそのまま、光ファイバW1を挿入すると、光ファイバ心線嵌合孔35によって挿入方向が位置決めされた光ファイバW1の先端がキャピラリ20における案内孔22の内周面における光ファイバ挿通孔21付近に誘導される。更に、その後、光ファイバW1の先端が案内孔22の内周面に摺接することで光ファイバW1が光ファイバ挿通孔21に案内される。これにより、スペーサなどを用いて芯ずれを規制したり、フランジ部とディスペンサの針とを接続する手段を用いたりすることなく、光ファイバW1を確実に光ファイバ挿通孔21に挿入することができる。このように、本実施形態では、製造コストが増大することを抑制しつつ、光ファイバW1の組み付け作業の際に、光ファイバW1が芯ずれして屈曲することを抑制することができる。
そして、光ファイバW1がキャピラリ20の先端から引き出され、図5に示すように、光ファイバ心線Wの被覆材の先端部分が案内孔22の内周面に後方から当接することで光ファイバ心線Wの前止まりがなされる。さらに、光ファイバ心線Wが位置決め孔35によって位置決めされ、光ファイバW1が光ファイバ挿通孔21によって位置決めされているため、光ファイバ心線Wと光ファイバW1とが同軸上に配置されて、正規の挿入位置に至る。
この後、接着剤Bが硬化することで、光ファイバW1の外周面と光ファイバ挿通孔21の内周面とが接着されると共に、光ファイバ心線Wが接着剤貯留孔34で接着剤Bにモールドされ、光コネクタ用フェルール10と光ファイバW1及び光ファイバ心線Wとが確実に固定される。また、接着剤貯留孔34から接着剤Bを注入することで接着剤B内に気泡が発生しないようにしているため、接着剤Bの硬化時に光ファイバW1が断線することを防止できる。
最後に、キャピラリ20の先端から突出した光ファイバW1を切断すると共にこの切断面を研磨することで、光コネクタ用フェルール10に装着された光ケーブルが完成する。
以上のように、本実施形態においては、光ファイバ挿通孔21に光ファイバW1を挿入する際に、光ファイバ心線嵌合孔35によって光ファイバW1の挿入方向が位置決めされ、光ファイバW1の先端を確実に案内孔22の内周面に誘導することができるので、光ファイバW1を屈曲させることなく、光ファイバ挿通孔21に挿入することができる。すなわち、低コストで光ファイバW1の信頼性を確保することができる。
また、光ファイバW1が接着剤貯留孔34で接着剤Bの内部を通ることで光ファイバW1の表面に接着剤Bが付着し、この状態で光ファイバW1が光ファイバ挿通孔21に挿入されるので、光ファイバW1と光ファイバ挿通孔21の内周面とを接着剤Bで固定することができる。また、接着剤貯留孔34の上端開口が、ディスペンサの針よりも十分に大きく、かつ、接着剤貯留孔34内の空気を外部に排出させるのに十分な大きさとされていることから、接着剤貯留孔34内に空気が残留することを規制できる。一方、光ファイバW1を組み付けた後に光ファイバ心線嵌合孔35から接着剤Bを注入する場合には、フェルール内の空気を排出させる開口がキャピラリ20の光ファイバ挿通孔21のみとなるため、フェルール内に空気が残留しやすくなる。したがって、接着剤貯留孔34の上端開口から接着剤Bを注入することで、接着剤B中に気泡が発生することを抑制することができる。この結果、接着剤Bが硬化するときに光ファイバ心線Wが断線することを規制できる。
<実施形態2>
本発明の実施形態2について図7を参照して説明する。
実施形態2の光コネクタ用フェルール100は、実施形態1におけるキャピラリ20とフランジ部30とが合成樹脂にて一体成形されたものであって、実施形態1と共通する構成、作用、および効果については重複するため、その説明を省略する。また、実施形態1と同じ構成については同一の符号を用いるものとする。
すなわち、実施形態2の光コネクタ用フェルール100は、図7を見ればわかるように、実施形態1のようにキャピラリ20を成形金型60,61,62によって型締めし、成形金型60,61,62内に成形樹脂を射出することで、フランジ部30とキャピラリ20とが一体に成形されておらず、図示しない成形金型内に成形樹脂を射出することにより一回で成形されている。
<他の実施形態>
本発明は上記記述及び図面によって説明した実施形態に限定されるものではなく、例えば次のような実施形態も本発明の技術的範囲に含まれる。
(1)上記実施形態では、光ファイバ心線嵌合孔35の孔径を光ファイバ心線Wの外径寸法とほぼ同じに構成したが、本発明はこのような態様に限定されるものではなく、例えば、光ファイバ心線嵌合孔の孔径を光ファイバ心線Wの外径寸法の1.2倍や1.5倍の長さ寸法等、任意の長さ寸法に設定してもよい。
(2)上記実施形態では、キャピラリ20の外面に凹状をなす被係止部23を設け、前方フランジ部31に凸状の係止部33を係止させることで、キャピラリ20からフランジ部30を脱落させない構成としたが、本発明はこのような態様に限定されるものではなく、例えば、キャピラリ20の外面に突部を設け、フランジ部30に突部が嵌合可能な凹部を設けることで、キャピラリ20からフランジ部30を脱落させない構成としてもよい。
(3)上記実施形態では、後方フランジ部32を角筒状に構成したが、本発明はこのような態様に限定されるものではなく、例えば、後方フランジ部32を円筒状に構成してもよい。
(4)上記実施形態では、フランジ部30を合成樹脂によって構成したが、本発明はこのような態様に限定されるものではなく、例えば、フランジ部を金属によって構成してもよい。
(5)上記実施形態では、光ファイバ被覆部を光ファイバ心線Wとし、位置決め孔を光ファイバ心線嵌合孔35として構成したが、本発明はこのような態様に限定されるものではなく、例えば、光ファイバ被覆部を光ファイバコードとし、位置決め孔を光ファイバコードが嵌合可能な嵌合孔として構成してもよい。
(6)上記実施形態では、接着剤貯留孔34をキャピラリ20とフランジ部30とによって構成しているものの、本発明によると、接着剤貯留孔をフランジ部30のみで構成してもよい。この場合、案内孔をフランジ部側に設けてもよい。
(7)上記実施形態1では、キャピラリ20をセラミックによって構成したが、本発明はこのような態様に限定されるものではなく、例えば、キャピラリ20を合成樹脂によって一次成形し、二次成形によってフランジ部30を構成してもよい。
(8)上記実施形態2では、キャピラリ20とフランジ部30とを合成樹脂にて一体成形した構成としたが、本発明はこのような態様に限定されるものではなく、例えば、キャピラリ20とフランジ部30とをセラミックや金属によって一体成形してもよい。
10,100:光コネクタ用フェルール
20:キャピラリ
21:光ファイバ挿通孔
22:案内孔
22A:摺接面
23:被係止部
30:フランジ部
33:係止部
34:接着剤貯留孔
35:光ファイバ心線嵌合孔(位置決め孔)
B :接着剤
W :光ファイバ心線(光ファイバ被覆部)
W1:光ファイバ

Claims (4)

  1. 筒状のキャピラリと、このキャピラリの端部に一体に形成されたフランジ部とを備えて構成され、光ファイバの表面を樹脂で被覆してなる光ファイバ被覆部の端末に装着される光コネクタ用フェルールであって、
    前記キャピラリの内部に設けられ、前記光ファイバを挿通可能な光ファイバ挿通孔と、
    この光ファイバ挿通孔に連通して設けられ、前記光ファイバの先端が摺接することで前記光ファイバを前記光ファイバ挿通孔に案内するすり鉢状の案内孔と、
    この案内孔に連通すると共に前記光ファイバの挿入方向と交差する方向に開設され、この開設部分から接着剤が注入されて貯留される接着剤貯留孔と、
    この接着剤貯留孔に連通し前記光ファイバ挿通孔の軸心と同軸をなす配置で設けられ、前記光ファイバの先端を前記案内孔に誘導する位置決め孔とが、この順に並んで配置されており、
    前記位置決め孔の孔径は、前記案内孔の入口側の孔径よりも小さい孔径に設定されていることを特徴とする光コネクタ用フェルール。
  2. 前記位置決め孔の孔径は、前記光ファイバ被覆部の外径と同じ寸法に設定されていることを特徴とする請求項1記載の光コネクタ用フェルール。
  3. 前記キャピラリはセラミックス製であり、前記フランジ部は前記キャピラリの端部を合成樹脂で覆うように形成されており、
    前記キャピラリの端部における前記フランジ部に覆われた部分には、前記フランジ部に設けられた係止部と前記キャピラリの軸線方向に係止可能な被係止部が形成されていることを特徴とする請求項1又は請求項2記載の光コネクタ用フェルール。
  4. 前記キャピラリ部と前記フランジ部とは一体成形されていることを特徴とする請求項1又は請求項2記載の光コネクタ用フェルール。
JP2011111672A 2011-05-18 2011-05-18 光コネクタ用フェルール Active JP5655703B2 (ja)

Priority Applications (1)

Application Number Priority Date Filing Date Title
JP2011111672A JP5655703B2 (ja) 2011-05-18 2011-05-18 光コネクタ用フェルール

Applications Claiming Priority (1)

Application Number Priority Date Filing Date Title
JP2011111672A JP5655703B2 (ja) 2011-05-18 2011-05-18 光コネクタ用フェルール

Publications (2)

Publication Number Publication Date
JP2012242552A true JP2012242552A (ja) 2012-12-10
JP5655703B2 JP5655703B2 (ja) 2015-01-21

Family

ID=47464340

Family Applications (1)

Application Number Title Priority Date Filing Date
JP2011111672A Active JP5655703B2 (ja) 2011-05-18 2011-05-18 光コネクタ用フェルール

Country Status (1)

Country Link
JP (1) JP5655703B2 (ja)

Citations (5)

* Cited by examiner, † Cited by third party
Publication number Priority date Publication date Assignee Title
JPS61285408A (ja) * 1985-06-12 1986-12-16 Nippon Telegr & Teleph Corp <Ntt> 光フアイバの固定構造
WO1998040772A1 (en) * 1997-03-13 1998-09-17 Sumitomo Electric Industries, Ltd. Optical transmission member and manufacturing method therefor
JP2000147320A (ja) * 1998-11-16 2000-05-26 Ykk Corp 光コネクタ用フェルール並びにその製造方法及び装置
JP2000338368A (ja) * 1999-05-31 2000-12-08 Kyocera Corp 光ファイバ固定具とその加工方法およびこれを用いた光ファイバコネクタ
JP2003302556A (ja) * 2002-04-12 2003-10-24 Furukawa Techno Research Kk 光コネクタ用フェルール

Patent Citations (5)

* Cited by examiner, † Cited by third party
Publication number Priority date Publication date Assignee Title
JPS61285408A (ja) * 1985-06-12 1986-12-16 Nippon Telegr & Teleph Corp <Ntt> 光フアイバの固定構造
WO1998040772A1 (en) * 1997-03-13 1998-09-17 Sumitomo Electric Industries, Ltd. Optical transmission member and manufacturing method therefor
JP2000147320A (ja) * 1998-11-16 2000-05-26 Ykk Corp 光コネクタ用フェルール並びにその製造方法及び装置
JP2000338368A (ja) * 1999-05-31 2000-12-08 Kyocera Corp 光ファイバ固定具とその加工方法およびこれを用いた光ファイバコネクタ
JP2003302556A (ja) * 2002-04-12 2003-10-24 Furukawa Techno Research Kk 光コネクタ用フェルール

Also Published As

Publication number Publication date
JP5655703B2 (ja) 2015-01-21

Similar Documents

Publication Publication Date Title
US8764316B1 (en) Fiber optic connector with vented ferrule holder
CN106094122B (zh) 光连接器插芯
US20100014815A1 (en) Ferrule, and method of producing an optical waveguide connector, and optical waveguide connector which use the ferrule
JP5655703B2 (ja) 光コネクタ用フェルール
JP4864658B2 (ja) 光ファイバの接続方法
CN113453864B (zh) 将元件注射成型到线缆上
WO2014031556A1 (en) Ferrule holder having increased adhesive region
US8408809B2 (en) Optical fiber connector and mold insert for making same
JP7737887B2 (ja) フェルール、光コネクタおよび光コネクタの製造方法
CN112204824B (zh) 多芯电线的防水构造
CN115421251B (zh) 一种光缆连接器及其加工方法
US7232261B1 (en) Optical ferrule and molding method therefor, and optical connector using this optical ferrule
CN115437076B (zh) 一种室外预连接盒体
JP3544647B2 (ja) 光ファイバ位置決め部品及び光コネクタフェルール
CN112578514B (zh) 光纤支柱复合绝缘子的制造方法及尾纤保护工装
JP2002023018A (ja) 光コネクタ用フェルール、光コネクタ及び光コネクタの製造方法
WO2022158019A1 (ja) ブーツ、フェルール構造体及びフェルール付きファイバの製造方法
JP4117797B2 (ja) 光コネクタ組立体及びその製造方法
JP5028591B2 (ja) レジン注入形ケーブル接続用具
JP5664924B2 (ja) コネクタおよびコネクタの製造方法
KR101185537B1 (ko) 현장조립형 광커넥터
JP4483576B2 (ja) 光接続器及び該光接続器を用いた光ファイバの接続方法
JP2013160792A (ja) フェルール
JP2009070564A (ja) コネクタ
JP3519057B2 (ja) 光コネクタ組立て用の位置決め部材

Legal Events

Date Code Title Description
A621 Written request for application examination

Free format text: JAPANESE INTERMEDIATE CODE: A621

Effective date: 20131031

A131 Notification of reasons for refusal

Free format text: JAPANESE INTERMEDIATE CODE: A131

Effective date: 20140218

A977 Report on retrieval

Free format text: JAPANESE INTERMEDIATE CODE: A971007

Effective date: 20140219

A521 Request for written amendment filed

Free format text: JAPANESE INTERMEDIATE CODE: A523

Effective date: 20140404

TRDD Decision of grant or rejection written
A01 Written decision to grant a patent or to grant a registration (utility model)

Free format text: JAPANESE INTERMEDIATE CODE: A01

Effective date: 20141028

A61 First payment of annual fees (during grant procedure)

Free format text: JAPANESE INTERMEDIATE CODE: A61

Effective date: 20141110

R150 Certificate of patent or registration of utility model

Ref document number: 5655703

Country of ref document: JP

Free format text: JAPANESE INTERMEDIATE CODE: R150

R250 Receipt of annual fees

Free format text: JAPANESE INTERMEDIATE CODE: R250

R250 Receipt of annual fees

Free format text: JAPANESE INTERMEDIATE CODE: R250