JP2012222584A - 撮像装置、その制御方法及びプログラム並びに記録媒体 - Google Patents

撮像装置、その制御方法及びプログラム並びに記録媒体 Download PDF

Info

Publication number
JP2012222584A
JP2012222584A JP2011085919A JP2011085919A JP2012222584A JP 2012222584 A JP2012222584 A JP 2012222584A JP 2011085919 A JP2011085919 A JP 2011085919A JP 2011085919 A JP2011085919 A JP 2011085919A JP 2012222584 A JP2012222584 A JP 2012222584A
Authority
JP
Japan
Prior art keywords
inclination
imaging
instruction
photographing
imaging apparatus
Prior art date
Legal status (The legal status is an assumption and is not a legal conclusion. Google has not performed a legal analysis and makes no representation as to the accuracy of the status listed.)
Withdrawn
Application number
JP2011085919A
Other languages
English (en)
Inventor
Nari Miyoshi
奈里 三好
Current Assignee (The listed assignees may be inaccurate. Google has not performed a legal analysis and makes no representation or warranty as to the accuracy of the list.)
Canon Inc
Original Assignee
Canon Inc
Priority date (The priority date is an assumption and is not a legal conclusion. Google has not performed a legal analysis and makes no representation as to the accuracy of the date listed.)
Filing date
Publication date
Application filed by Canon Inc filed Critical Canon Inc
Priority to JP2011085919A priority Critical patent/JP2012222584A/ja
Publication of JP2012222584A publication Critical patent/JP2012222584A/ja
Withdrawn legal-status Critical Current

Links

Images

Landscapes

  • Details Of Cameras Including Film Mechanisms (AREA)
  • Indication In Cameras, And Counting Of Exposures (AREA)
  • Studio Devices (AREA)

Abstract

【課題】
シャッタ操作等による意図しない傾いた撮影を警告する。
【解決手段】
傾き検知部(71)は、撮像装置本体の傾きを検知する。撮影準備を指示する第1シャッタスイッチ(62)のオンに従い、システム制御部(50)は、傾き検知部(71)で検知する静止時の傾き角度を記憶する。撮影実行を指示する第2シャッタスイッチ(64)のオンに従い、システム制御部(50)は撮影を実行し、傾き検知部(71)の検知角度を撮影準備状態で取り込んだ傾き角度と比較し、一定以上の差がある場合に撮影者に通知する。
【選択図】 図1

Description

本発明は、撮像装置、その制御方法及びプログラム並びに記録媒体に関し、より具体的には、本体の傾きを検出する手段を有する撮像装置、その制御方法及びプログラム並びに記録媒体に関する。
傾きセンサを有する従来の撮像装置には、表示画面に棒状要素を表示することで、撮像装置の傾き角度を表示する手段を有するものがある(特許文献1)。
特許文献2には、一度撮影した画像と同じ傾き角度で撮影したい場合に、前回撮影したときの傾き角度を現在の傾き角度と合わせて表示するようにすることが記載されている。
特開2009−094987号公報 特開2009−246937号公報
撮像装置の傾き角度を撮影者に知らせる従来の構成では、撮影者が撮影準備処理中に撮りたい傾き角度に撮影装置の傾き角度を合わせても、撮影時の操作により撮影時の傾き角度が希望の傾き角度からずれることがある。例えば、シャッタボタンを全押しする撮影指示操作によって撮像装置がぶれてしまい、意図した傾き角度での撮影を失敗する。図6(a)はカメラを両手で保持し、右手でシャッタ操作する様子を示す。図6(b)は、カメラが水平から傾いた状態で撮影した場合の撮影画像例を示す。図6(b)で、実線はカメラの水平線を示し、破線は被写体の水平線を示す。撮像装置に付属する小さな画面サイズの表示装置では、傾きの僅かなずれ(図6(b)の破線と実線のずれ)に気付くことは難しい。事後の再生で気付いても、撮り直しが難しいこともある。
特許文献2に記載の技術では、撮影の都度、撮影待機画面に戻り、傾き具合を示す表示で撮影時の傾きを確認することになり、面倒である。
本発明は、このような問題点に鑑み、希望する傾き角度での撮影かどうかを撮影者が容易に知ることができる撮像装置、その制御方法及びプログラム並びに記録媒体を提示することを目的とする。
本発明に係る撮像装置は、撮像手段と、撮像装置本体の傾きを検知する傾き検知手段と、画像表示手段と、撮影準備処理を指示する撮影準備指示手段と、前記撮影準備指示手段による撮影準備指示に応じて、前記撮影準備処理を実行する撮影準備手段と、前記撮影準備手段による撮影準備処理中に撮影処理を指示する撮影指示手段と、前記撮影指示手段による撮影指示に応じて前記撮影処理を行い、記録媒体に撮影画像を記録する撮影処理手段と、前記撮影準備処理中に前記傾き検知手段が検知する傾きと、前記撮影指示を受け付けたときの前記傾き検知手段の検知する傾きとを比較する比較手段と、前記比較手段の比較が閾値を越える差を示す場合に、前記比較に基づく情報と、前記撮影指示に応じて前記撮像手段で撮像された画像を前記画像表示手段に表示させる制御手段とを具備することを特徴とする。
本発明によれば、希望の傾き角度での撮影になっていない場合に、撮影者に警告するので、その場で撮り直しをすることが可能になる。
本発明の一実施例の概略構成ブロック図である。 本実施例の背面図である。 撮影時に傾き角度を合わせる撮影処理のフローチャートを示す。 撮影時に傾き角度を合わせる撮影処理のフローチャートを示す。 撮影時の傾き角度を判定する処理のフローチャートを示す。 撮影時に傾き角度が静止していることを判定する処理のフローチャートを示す。 撮影時の手持ち状態と撮影画像例を示す。
以下、図面を参照して、本発明の実施例を詳細に説明する。
図1は、本発明に係る撮像装置の一実施例であるデジタルカメラの概略構成ブロック図を示す。システム制御部50は、デジタルカメラ100の全体を制御する。
デジタルカメラ100は、光学系(撮像用レンズ)10を介して被写体像を撮影するように構成されている。光学系10は、ズームレンズ(撮影画角を変更可能なレンズ)として構成されうる。これにより光学的なズーム機能(いわゆる光学ズーム)が提供されている。デジタルカメラ100は、更に、撮像素子14によって撮像される画像データを電子的に切り取る(トリミング)ことによる電子的なズーム機能(いわゆる電子ズーム)を有する。デジタルカメラ100は、光学ズーム及び電子ズームのいずれか一方の機能のみを有するようにしてもよい。
光学系10は、交換可能であってもよい。この場合、デジタルカメラ100の本体側から光学系10に対して電気信号を送ることにより、光学系10内の駆動機構が変倍用レンズを駆動してズーム機能を提供する。あるいは、デジタルカメラ100の本体側に光学系10内の変倍用レンズを機械的に駆動する駆動機構を設けてもよい。
光学系(撮影レンズ)10を通る被写体からの光線(光学的な画角内から入射する光線)は、絞り機能を備えるシャッタ12の開口を通して撮像素子(例えば、CCDセンサ又はCMOSセンサ)14の撮像面に被写体の光学像を形成する。撮像素子14は、この光学像を電気的なアナログ画像信号に変換して出力する。A/D変換器16は、撮像素子14から出力されるアナログ画像信号をデジタル画像信号に変換する。撮像素子14及びA/D変換器16は、タイミング発生部18から提供されるクロック信号及び制御信号によって制御される。タイミング発生部18は、メモリ制御部22及びシステム制御部50により制御される。
画像処理部20は、A/D変換器16からの画像データ(デジタル画像信号)とメモリ制御部22からの画像データに画素補間処理及び色変換処理等の画像処理を行う。また、画像処理部20は、撮像素子14で撮像された画像データに基づいて、TTL(スルー・ザ・レンズ)方式のAF(オートフォーカス)処理、AE(自動露出)処理及びEF(フラッシュプリ発光による自動調光)処理のためのデータを演算する。画像処理部20は、撮像素子14で撮像された画像データに基づいてTTL方式のAWB(オートホワイトバランス)処理も実行する。
システム制御部50は、画像処理部20のAE及びAF処理の演算結果に基づいて露光制御部40及び測距制御部(AF制御部)42を制御し、自動露出及びオートフォーカス機能を実現する。
メモリ制御部22は、A/D変換器16、タイミング発生部18、画像処理部20、画像表示メモリ24、D/A変換器26、メモリ30及び圧縮伸長部32を制御する。A/D変換器16から出力される画像データは、画像処理部20及びメモリ制御部22を介して、又は、画像処理部20を介することなくメモリ制御部22を介して、画像表示メモリ24又はメモリ30に書き込まれる。
画像表示メモリ24に書き込まれた画像データは、D/A変換器26によって表示用のアナログ画像信号に変換され、画像表示部28に供給される。これにより、画像表示部28に撮像画像が表示される。画像表示部28に撮像画像を連続的に表示することにより、電子ファインダ機能が実現される。画像表示部28は、システム制御部50からの表示制御指令によって任意に表示をオン/オフされうる。表示をオフにして使用することにより、デジタルカメラ100の電力消費を大幅に低減できる。画像表示部28は、液晶パネル又は有機ELパネルなどで構成され、後述する接触検知部27とともに、タッチパネルを構成できる。
メモリ30は、撮影した静止画像又は動画像データ(記録媒体への記録用に撮像した画像データ)を格納するために使用される。メモリ30の容量とアクセス速度(書き込み速度及び読み出し速度)は任意に決定されうる。ただし、複数枚の静止画像を連続して撮影する連写撮影又はパノラマ撮影を可能にするには、それに応じた容量とアクセス速度を与える必要がある。メモリ30は、システム制御部50の作業領域としても使用されうる。
圧縮伸長部32は、例えば適応離散コサイン変換(ADCT)等により画像データを圧縮伸長する手段である。圧縮伸長部32は、メモリ30に格納された画像データを読み込んで圧縮処理又は伸長処理を行い、処理を終えた画像データをメモリ30に書き戻す。
露光制御部40は、システム制御部50からの露出制御情報に基づき、絞り機能を備えるシャッタ12を制御する。露光制御部40は、フラッシュ(発光装置)48と連携したフラッシュ調光機能を有する。フラッシュ48は、フラッシュ調光機能及びAF補助光の投光機能を有する。
システム制御部50からのレンズ制御情報に基づき、測距制御部42は撮影光学系10のフォーカシング用レンズを制御し、ズーム制御部44は、光学系10のズーミングを制御する。バリア制御部46は、撮影光学系10を物理的に保護するバリア102を開閉する。
メモリ52は、システム制御部50の動作用の定数、変数及びプログラム等を記憶するROMなどのメモリである。プログラムには、撮像処理プログラム、画像処理プログラム、及び画像データファイルを記録媒体に記録再生するプログラムがある。図3A、図3B、図4及び図5に示すフローで表現される各種制御プログラムと、上記プログラムのマルチタスク構成を実現し実行するOSなどの各種プログラムも、メモリ52に記録されている。各プログラムにはメッセージキューが作成され、そのメッセージキューにメッセージがFIFO(First In First Out)的に格納される。各プログラム間でこのメッセージをやり取りすることで、各プログラムが連携して動作し、以下に説明する機能又は制御が実現される。
表示部54は、1又は複数の液晶ディスプレイ(LCD)及び/又は発光ダイオード(LED)からなる。カメラ100は、図示していないが、スピーカ等の音声出力手段を具備する。システム制御部50は、プログラムの実行に応じて、文字、画像又は音声等により動作状態やメッセージ等を表示部54又は音声出力手段に出力する。
表示部54を構成する一部の表示素子は、光学ファインダ104内に配置される。表示部54のLCDに表示される情報は、例えば、シングルショット/連写撮影、セルフタイマ、圧縮率、記録画素数、記録枚数、残撮影可能枚数及びシャッタスピード等である。また、絞り値、露出補正、フラッシュの有無、赤目緩和、マクロ撮影、ブザー設定、時計用電池残量、電池残量、エラー、複数桁の数字情報、記録媒体200及び210の着脱状態等も表示される。さらには、通信I/F動作、日付け・時刻、撮影モード/情報コード読み取りモード等も表示される。
光学ファインダ104内には、例えば、合焦、手振れ警告、フラッシュ充電量、シャッタスピード、絞り値及び露出補正等が表示される。
不揮発性メモリ56は、例えばEEPROM等の、電気的に消去・記録可能が可能なメモリである。画像データや外部機器からのオブジェクトデータは、不揮発性メモリ56に格納されてもよい。
ズーム操作部60は、撮影画角(ズーム倍率又は撮影倍率)を変更するために撮影者によって操作される操作手段である。例えば、ズーム操作部60は、スライド式又はレバー式の操作部材と、その動作を検知するスイッチ又はセンサとによって構成されうる。ズーム操作部60は、再生モード中に再生画像の拡大/縮小表示を指示する目的も使用される。
第1シャッタスイッチ(SW1)62は、シャッタボタン260(図2)の操作途中(半押し)でオンとなるスイッチである。スイッチ62がオンになると、システム制御部50は、AF処理、AE処理、AWB処理及びEF処理を開始する。第2シャッタスイッチ(SW2)64は、シャッタボタン260の操作完了(全押し)でオンとなるスイッチである。第2シャッタスイッチ64がオンになると、システム制御部50は、撮像素子14からの画像信号を記録媒体200又は210に記録する撮影処理を開始する。具体的には、撮像素子14から画像信号を読み出してA/D変換器16でデジタル画像データに変換した後にこれを画像処理部20で処理してメモリ制御部22を介してメモリ30に書き込む。そして、メモリ30から画像データを読み出して圧縮伸長部32で圧縮させ、その圧縮された画像データを記録媒体200又は210に書き込む。
画像表示ON/OFFスイッチ66は、画像表示部28のオン/オフを設定するスイッチである。この機能を用いると、光学ファインダ104を用いて撮影を行う際に、画像表示部28のLCDへの電流供給を遮断して、省電力を図ることが可能となる。クイックレビューON/OFFスイッチ68は、撮影直後に撮影した画像データを自動再生するクイックレビュー機能を設定するスイッチである。
操作部70は、電源をオン/オフし、撮影条件を設定又は変更し、撮影条件を確認し、デジタルカメラ100の状態を確認し、撮影済みの画像を確認する際に操作される。操作部70は、図2に示すボタン又はスイッチ251〜262を含む。
カメラ100に装備される傾き検知部71は、カメラ本体(撮像装置本体)の所定方向に対する傾き角度を検知し、検知角度をシステム制御部50に通知する。傾き検知部71は例えば、加速度センサと、当該加速度センサの出力を解析して傾きを算出する角度解析回路とからなる。傾き検知部71は、デジタルカメラ100が電源オンの間、デジタルカメラ100の傾き角度を検知し続け、その検知角度をシステム制御部50に通知する。
接触検知部27は、少なくとも1箇所以上の接触検知部への指等の接触を検知すると、接触位置をシステム制御部50に通知する。例えば、接触検知部27を画像表示部28に重ねて設置し、システム制御部50が接触位置に応じた処理を実行するようにすることで、いわゆるタッチパネルを実現できる。なお、接触検知部27は画像表示部28上に設置されていなくても良く、デジタルカメラ100の筐体上の操作しやすい箇所に設置すれば良い。
電源制御部80は、例えば、電源検出部、DC−DCコンバータ、及び通電するブロックを切り替えるスイッチ部等を含み、電源の有無、電源の種類及び電池残量を検出する。電源制御部80は、この検出結果とシステム制御部50からの指令に従い、DC−DCコンバータを制御し、必要な電圧を必要な期間、各ブロックに供給する。電源86は、コネクタ82,84を介して電源制御部80に接続する。電源86は、例えば、アルカリ電池やリチウム電池等の一次電池や、NiCd電池やNiMH電池、Li電池等の二次電池又はACアダプタ等からなる。
記録媒体200,210は、コネクタ206,216を介してデジタルカメラ100の本体のコネクタ92,96にそれぞれ接続する。記録媒体200,210は例えば、半導体メモリ又はハードディスク等の記録部202,212と、インターフェース204,214とからなる。記録媒体200,210は、カメラ100の本体側のインターフェース90、94を介してデジタルカメラ100内のバスに接続する。記録媒体着脱検知部98は、コネクタ92,96に記録媒体200,210が接続されているか否かを検知する。
本実施例では、記録媒体を取り付けるインターフェース及びコネクタを2系統持つものとして説明しているが、記録媒体を取り付けるインターフェース及びコネクタは、1系統でも3系統以上でもよい。また、異なる規格のインターフェース及びコネクタを組み合わせて備える構成でも良い。インターフェース及びコネクタとしては、PCMCIAカード又はCF(コンパクトフラッシュ(登録商標))カード等の規格に準拠したものを用いた構成でも良い。
さらに、インターフェース90,94及びコネクタ92,96をPCMCIAカードやCF(コンパクトフラッシュ)カード等の規格に準拠したものとする場合、種々の装置を接続可能である。LANカード、モデムカード、USBカード、IEEE1394カード、P1284カード、SCSIカード及びPHS等の通信カード等がありうる。これらを使うことで、他のコンピュータ及びプリンタ等の周辺機器との間で画像データや画像データに付属した管理情報を転送し合うことが出来る。
光学ファインダ104は、画像表示部28による電子ファインダ機能を使用することなしに撮影を行うことを可能にする。光学ファインダ104内には、表示部54の一部を構成する表示素子、例えば、合焦、手振れ警告、フラッシュ充電量、シャッタスピード、絞り値及び露出補正値等の表示素子が配置されうる。
デジタルカメラ100は通信部110を有し、USB、IEEE1394、P1284、SCSI、モデム、LAN、RS232C及び無線通信等の各種通信機能を提供する。通信部110には、デジタルカメラ100を他の機器と接続するためのコネクタ112と無線通信機能を提供するためのアンテナが接続する。
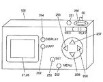
図2は、デジタルカメラ100の外観例を示す。本実施例の特徴的な機能とは無関係の構成要素は省略してある。
電源ボタン251は、デジタルカメラ100を起動及び停止させるため、或いは、デジタルカメラ100の主電源をオン/オフするボタンである。メニューボタン252は、各種の撮像条件の設定及びデジタルカメラ100の状態の表示に関するメニューを表示するためのボタンである。このメニューは、選択可能な及び/又は値を変更可能な複数の項目を含む。
ここで、設定可能なモード又は項目には、例えば、撮影モード(例えば、露出の決定に関しては、プログラムモード、絞り優先モード、シャッタスピード優先モード等)、パノラマ撮影モード及び情報コード読み取りモードが含まれる。また、再生モード、マルチ画面再生・消去モード、PC接続モード(PCは、パーソナルコンピュータ等のコンピュータ)、露出補正及びフラッシュ設定がある。さらには、単写/連写の切り替え、セルフタイマ設定、記録画質設定、日時設定、記録された画像のプロテクト等も含まれうる。
例えば、メニューボタン252が押下されると、システム制御部50は、画像表示部28にメニューを表示させる。メニューは、撮像中の画像の上に合成して表示されてもよいし、単独で表示(例えば、所定の背景色の上に表示)されてもよい。メニューが表示されている状態で再度メニューボタン252が押下されると、システム制御部50は、画像表示部28へのメニューの表示を終了させる。
画像表示部28には、接触検知部27が配置され、ユーザの指が表面に触れた場合に接触を検知する。画像表示部28が四辺からなる矩形形状を有する場合、画像表示部28の形状と関連づけて配置され、一般にはユーザの指による接触を検知する。
本明細書では、上下左右の方向を以下のように定義する。即ち、画像表示部28がユーザの側を向いた図2に示す状態で、画像表示部28に向かって右側方向を「右」、向かって左側方向を「左」と呼ぶ。画像表示部28に向かって上側方向を「上」、向かって下側を「下」と呼ぶ。
決定ボタン253は、モード又は項目を決定又は選択する際に押下される。システム制御部50は、決定ボタン253が押下されると、そのときに選択されているモード又は項目を設定する。表示ボタン254は、撮像した画像についての撮影情報の表示・非表示を選択したり、画像表示部28を電子ファインダとして機能させるか否かを切り替えたりするために使用される。
左ボタン255、右ボタン256、上ボタン257及び下ボタン258は、いわゆる方向選択キーを構成する。方向選択キーは、カーソル又はハイライト部等のような、複数の選択肢の中で選択されている選択肢(例えば、項目、画像)を変更するために使用できる。あるいは、選択されている選択肢を特定する指標の位置を変更するためや、数値(例えば、補正値や日時等を示す数値など)を増減させるためなどに使用することができる。また、再生モードでの画像再生時には、左ボタン255と右ボタン256は画像送りボタンとして使用することができる。即ち、左ボタン255の押下で表示している画像を一つ前の画像に切り換え、右ボタン256の押下で表示している画像を一つ次の画像に切り換える。
ここで、左ボタン255、右ボタン256、上ボタン257、下ボタン258によって、複数の項目の中から2つ以上の項目を同時に選択できるようにユーザインターフェースが構成してもよい。例えば、システム制御部50は、決定ボタン253が押下された状態で左ボタン255、右ボタン256、上ボタン257又は下ボタン258が操作された場合に、その操作によって指定された2以上の項目が選択されたものと認識する。
シャッタボタン260が半押し状態になると、即ち、第1シャッタスイッチ62がオンになると、システム制御部50は、AF処理、AE処理、AWB処理及びEF処理等の撮影準備処理を開始する。第1シャッタスイッチ62は、撮影準備を指示する撮影準備指示手段に相当する。また、シャッタボタン260が全押し状態になると、即ち、第2シャッタスイッチ64がオンになると、システム制御部50は撮影処理(撮影画像の記録処理)を開始する。第2シャッタスイッチ64は、撮影処理を指示する撮影指示手段に相当する。録画/再生切り替えスイッチ261は、動作モードを録画モードから再生モードに、再生モードから録画モードに切り替えるために使用される。
ジャンプキー262は方向選択キーと同様に、カーソル又はハイライト部等のような、複数の選択肢の中で選択されている選択肢(例えば、項目、画像)を変更するために使用される。あるいは、選択されている選択肢を特定する指標の位置を変更するためにも使用できる。ジャンプキー262によるカーソル移動は、方向選択キーによるそれに比べ早くなるように、又は大きくなるように設定してもよい。上記の操作系に代えてダイアルスイッチを採用してもよいし、他の操作系を採用することもできる。
図3A、図3B、図4及び図5を参照して、本実施例の特徴的な動作を説明する。図3A及び図3Bは、撮影時に傾き角度を合わせる撮影処理のフローチャートを示す。図4は、撮影時の傾き角度を判定する処理のフローチャートをしめす。図5は、撮影時に傾き角度が静止していることを判定する処理のフローチャートを示す。図3A、図3B、図4及び図5に示すフローチャートに対応する処理は、メモリ52に記憶される処理プログラムをシステム制御部50が実行することで実現される。
図3A及び図3Bに示す動作を説明する。システム制御部50は、第1シャッタスイッチ(SW1)62及び第2シャッタスイッチ(SW2)64の押下に従い撮影を実行する。
ステップS301で、システム制御部50は、第1シャッタスイッチ62が押されたかを判定する。ステップS301で第1シャッタスイッチ62が押されていないと判定された場合、システム制御部50は、ステップS305以降の処理を行う。
ステップS301で第1シャッタスイッチ62が押されたと判定された場合、システム制御部50は、撮影準備処理として、AF処理及びAE処理などの撮影準備処理を行うと共に、ステップS302で、カメラの傾きの問い合わせを行う。システム制御部50は、この意味で、撮影準備処理手段として機能する。
ステップS303で、システム制御部50は、問い合わせしたカメラの傾きが静止状態であるか判定する。ステップS303で、カメラの傾きが静止状態であると判定された場合、システム制御部50は、ステップS304で、カメラの傾き角度を算出して記憶する。
ステップS305で、システム制御部50は、第2シャッタスイッチ64が押されたか判定する。ステップS305で第2シャッタスイッチ64が押されていないと判定された場合、システム制御部50は、ステップS306で第1シャッタスイッチ62が離されたか判定する。ステップS306で第1シャッタスイッチ62が離されたと判定された場合は、システム制御部50は、図3A及び図3Bに示す処理を終了する。
ステップS306で第1シャッタスイッチ62が保持されていると判定された場合は、システム制御部50は、ステップS302以降の処理を再び実行する。
ステップS305で第2シャッタスイッチ64が押されたと判定された場合、システム制御部50は、ステップS307で撮影を行う。システム制御部50は撮影処理手段として機能する。ステップS308で、システム制御部50は、撮影時のカメラの傾きを取得して、傾き角度を算出する。システム制御部50は、ヘッダ生成手段として、撮影画像のヘッダ情報に撮影準備処理中に取得した傾き角度と撮影時の傾き角度を格納して、記録媒体200又は210に記録する。
ステップS309で、システム制御部50は、撮影準備処理中に記憶したカメラの傾き角度と、撮影時のカメラの傾き角度を比較する。ステップS310で、撮影準備処理中に記憶したカメラの傾き角度と、撮影時のカメラの傾き角度が異なると判定された場合、システム制御部50は、ステップS311で、撮影画像が第1シャッタスイッチ62で合わせた角度からずれたことをユーザに通知する。システム制御部50は、また、第1シャッタスイッチ62で合わせた角度からずれた撮影画像を削除するか、画像補正するかをユーザに問い合わせる。
ステップS312でユーザが画像削除を選択した場合、システム制御部50は、ステップS313で、第1シャッタスイッチ62で合わせた角度からずれた撮影画像を削除する。ステップS312でユーザが画像削除を選択しない場合、システム制御部50は、ステップS315で、第1シャッタスイッチ62で合わせた角度からずれた撮影画像を画像補正するか否かをユーザに問い合わせる。
ステップS315でユーザが画像補正を選択した場合、システム制御部50は、ステップS316で、第1シャッタスイッチ62で合わせた角度からずれた撮影画像を、ユーザが第1シャッタスイッチ62で合わせた角度に補正する。ステップS315でユーザが画像補正しないを選択した場合、システム制御部50は、ステップS314で撮影処理を終了する
ステップS310で、撮影準備処理中に記憶したカメラの傾き角度と、撮影時のカメラの傾き角度が同じと判定された場合、システム制御部50は、ステップS317で、撮影画像をお気に入り設定するか問い合わせを行う。ステップS318でユーザがお気に入り設定すると選択した場合、システム制御部50は、撮影画像情報として同じ姿勢で撮影できたことを記憶し、お気に入り設定を行う。ステップS318でユーザがお気に入り設定しないと選択した場合、システム制御部50は、ステップS314で撮影処理を終了する。
図4に示す動作を説明する。システム制御部50は、傾き検知部71で検知された傾きから、撮影時にカメラの傾きが変化したかどうかを判定する。
ステップS401で、システム制御部50は、傾き角Degree、前回の傾きOldDegree、傾きの振れ幅Δ、及び、傾きの振れ幅が閾値T以下となった回数CNTを初期化する。ステップS402で、システム制御部50は、100msecごとに傾き角度Degreeを検出する。ステップS403で、システム制御部50は、前回の傾きOldDegreeと傾きDegreeとの差分を傾きの振れ幅Δとして算出する。
ステップS404で、システム制御部50は、傾きの振れ幅Δが閾値T以下となったか否かを判定する。ステップS404で、傾きの振れ幅Δが閾値T以下となった場合、システム制御部50は、ステップS405で、傾きの振れ幅Δが閾値T以下となった回数CNTに1を加算する。ステップS404で、傾きの振れ幅Δが閾値Tより大きい場合、システム制御部50は、ステップS406で、傾きの振れ幅が閾値T以下となった回数CNTを0に初期化する。
図5に示す動作を説明する。システム制御部50は、傾き検知部71で検知される傾きから、第1シャッタスイッチ62押下時のカメラの傾きが静止しているか否かを判定する。ステップS501で、システム制御部50は、変数CNT(図4で算出した傾きの振れ幅が閾値T以下となった回数)が5より大きいか判定する。ステップS501で、変数CNTが5より大きい場合、システム制御部50は、ステップS502で、カメラの傾きが静止していることと現在のカメラの傾きDegreeを通知する。ステップS501で、変数CNTが5以下の場合、システム制御部50は、ステップS504で、カメラの傾きが静止していないことを通知する。
以上のように、本実施例によれば、撮影者が撮影準備処理中に設定した傾き角度と撮影時の傾き角度とが実質的に異なる場合に、傾き角度の相違を撮影者に通知する。これにより、撮影者は、撮影時の傾き角度のずれを認識でき、その場での撮り直しが可能になる。
なお、システム制御部50の制御は1つのハードウェアが行ってもよいし、複数のハードウェアが処理を分担することで、装置全体の制御を行ってもよい。
また、本発明をその好適な実施形態に基づいて詳述してきたが、本発明はこれら特定の実施形態に限られるものではなく、この発明の要旨を逸脱しない範囲の様々な形態も本発明に含まれる。さらに、上述した各実施形態は本発明の一実施形態を示すものにすぎず、各実施形態を適宜組み合わせることも可能である。
また、上述した実施形態では、本発明をデジタルカメラに適用した場合を例にして説明したが、これはこの例に限定されず、撮像手段を有し、装置本体の傾きを検出可能な機器であれば適用可能である。即ち、本発明はカメラ付きPDA、カメラ付き携帯電話端末やカメラ付き音楽プレーヤー、カメラ付きゲーム機、カメラ付き電子ブックリーダーなどに適用可能である。
(他の実施形態)
本発明は、以下の処理を実行することによっても実現される。即ち、上述した実施形態の機能を実現するソフトウェア(プログラム)をネットワーク又は各種記憶媒体を介してシステム或いは装置に供給し、そのシステム或いは装置のコンピュータ(又はCPUやMPU等)がプログラムコードを読み出して実行する処理である。この場合、そのプログラム、及び該プログラムを記憶した記憶媒体は本発明を構成することになる。

Claims (8)

  1. 撮像手段と、
    撮像装置本体の傾きを検知する傾き検知手段と、
    画像表示手段と、
    撮影準備処理を指示する撮影準備指示手段と、
    前記撮影準備指示手段による撮影準備指示に応じて、前記撮影準備処理を実行する撮影準備手段と、
    前記撮影準備手段による撮影準備処理中に撮影処理を指示する撮影指示手段と、
    前記撮影指示手段による撮影指示に応じて前記撮影処理を行い、記録媒体に撮影画像を記録する撮影処理手段と、
    前記撮影準備処理中に前記傾き検知手段が検知する傾きと、前記撮影指示を受け付けたときの前記傾き検知手段の検知する傾きとを比較する比較手段と、
    前記比較手段の比較が閾値を越える差を示す場合に、前記比較に基づく情報と、前記撮影指示に応じて前記撮像手段で撮像された画像を前記画像表示手段に表示させる制御手段
    とを具備することを特徴とする撮像装置。
  2. 更に、前記撮影準備処理中の、前記傾き検知手段により検知する傾きに従い前記撮像装置本体が静止しているかどうかを判定する判定手段を具備し、
    前記比較手段は、前記判定手段により静止していると判定された後の前記撮影指示に従い、前記静止と判定したときの傾きと、前記撮影指示を受け付けたときの前記傾き検知手段の検知する傾きとを比較する
    ことを特徴とする請求項1に記載の撮像装置。
  3. 更に、前記撮影画像のヘッダ情報に前記撮影準備処理中の傾きと撮影時の傾きを格納するヘッダ生成手段を有することを特徴とする請求項1又は2に記載の撮像装置。
  4. 前記撮影画像の再生時に、前記ヘッダ情報に記憶される前記傾きを表示する手段を有することを特徴とする請求項3に記載の撮像装置。
  5. 更に、前記撮影準備処理中の、前記傾き検知手段により検知する傾きと、前記撮影指示を受け付けたときの前記傾き検知手段の検知する傾きとが相違する場合に、画像補正と画像削除の選択を促す手段を具備することを特徴とする請求項1乃至4の何れか1項に記載の撮像装置。
  6. 撮像手段と、
    撮像装置本体の傾きを検知する傾き検知手段と、
    画像表示手段と、
    撮影準備処理を指示する撮影準備指示手段と、
    前記撮影準備指示手段による撮影準備指示に応じて、前記撮影準備処理を実行する撮影準備手段と、
    前記撮影準備手段による撮影準備処理中に撮影処理を指示する撮影指示手段と、
    前記撮影指示手段による撮影指示に応じて前記撮影処理を行い、記録媒体に撮影画像を記録する撮影処理手段
    とを具備する撮像装置を制御する方法であって、
    前記撮影準備処理中に前記傾き検知手段により前記撮像装置本体の傾きを検知し、記憶する記憶ステップと、
    前記撮影指示を受け付けたときに前記傾き検知手段により前記撮像装置本体の傾き検知する検知ステップと、
    前記記憶ステップで記憶する傾きと前記検知ステップで検知する傾きを比較する比較ステップと、
    前記比較ステップの比較が閾値を越える差を示す場合に、前記比較に基づく情報と、前記撮影指示に応じて前記撮像手段で撮像された画像を前記画像表示手段に表示させる制御ステップ
    とを具備することを特徴とする撮像装置の制御方法。
  7. 撮像手段と、
    撮像装置本体の傾きを検知する傾き検知手段と、
    画像表示手段と、
    撮影準備処理を指示する撮影準備指示手段と、
    前記撮影準備指示手段による撮影準備指示に応じて、前記撮影準備処理を実行する撮影準備手段と、
    前記撮影準備手段による撮影準備処理中に撮影処理を指示する撮影指示手段と、
    前記撮影指示手段による撮影指示に応じて前記撮影処理を行い、記録媒体に撮影画像を記録する撮影処理手段
    とを具備する撮像装置を制御するプログラムであって、前記撮像装置のシステム制御部を、
    前記撮影準備処理中に前記傾き検知手段により前記撮像装置本体の傾きを検知し、メモリに記憶させる記憶手段と、
    前記撮影指示を受け付けたときに前記傾き検知手段により前記撮像装置本体の傾き検知させる検知手段と、
    前記メモリに記憶される傾きと前記検知手段で検知される傾きを比較させる比較手段と、
    前記比較手段の比較が閾値を越える差を示す場合に、前記比較に基づく情報と、前記撮影指示に応じて前記撮像手段で撮像された画像を前記画像表示手段に表示させる制御手段
    として機能させることを特徴とする撮像装置の制御プログラム。
  8. 撮像手段と、
    撮像装置本体の傾きを検知する傾き検知手段と、
    画像表示手段と、
    撮影準備処理を指示する撮影準備指示手段と、
    前記撮影準備指示手段による撮影準備指示に応じて、前記撮影準備処理を実行する撮影準備手段と、
    前記撮影準備手段による撮影準備処理中に撮影処理を指示する撮影指示手段と、
    前記撮影指示手段による撮影指示に応じて前記撮影処理を行い、記録媒体に撮影画像を記録する撮影処理手段
    とを具備する撮像装置を制御する制御プログラムを記録する記録媒体であって、前記制御プログラムが、前記撮像装置のシステム制御部を、
    前記撮影準備処理中に前記傾き検知手段により前記撮像装置本体の傾きを検知し、メモリに記憶させる記憶手段と、
    前記撮影指示を受け付けたときに前記傾き検知手段により前記撮像装置本体の傾き検知させる検知手段と、
    前記メモリに記憶される傾きと前記検知手段で検知される傾きを比較させる比較手段と、
    前記比較手段の比較が閾値を越える差を示す場合に、前記比較に基づく情報と、前記撮影指示に応じて前記撮像手段で撮像された画像を前記画像表示手段に表示させる制御手段
    として機能させることを特徴とする記録媒体。
JP2011085919A 2011-04-08 2011-04-08 撮像装置、その制御方法及びプログラム並びに記録媒体 Withdrawn JP2012222584A (ja)

Priority Applications (1)

Application Number Priority Date Filing Date Title
JP2011085919A JP2012222584A (ja) 2011-04-08 2011-04-08 撮像装置、その制御方法及びプログラム並びに記録媒体

Applications Claiming Priority (1)

Application Number Priority Date Filing Date Title
JP2011085919A JP2012222584A (ja) 2011-04-08 2011-04-08 撮像装置、その制御方法及びプログラム並びに記録媒体

Publications (1)

Publication Number Publication Date
JP2012222584A true JP2012222584A (ja) 2012-11-12

Family

ID=47273642

Family Applications (1)

Application Number Title Priority Date Filing Date
JP2011085919A Withdrawn JP2012222584A (ja) 2011-04-08 2011-04-08 撮像装置、その制御方法及びプログラム並びに記録媒体

Country Status (1)

Country Link
JP (1) JP2012222584A (ja)

Similar Documents

Publication Publication Date Title
JP5537044B2 (ja) 画像表示装置及びその制御方法、コンピュータプログラム
JP4592099B2 (ja) 画像表示装置及び画像表示方法
US8773569B2 (en) Image capturing apparatus and image capturing apparatus control method
JP2006121185A (ja) 電子機器及び情報処理装置及びそれらの制御方法、並びにコンピュータプログラム及びコンピュータ可読記憶媒体
JP2006203809A (ja) 撮像装置及びその制御方法
JP4891270B2 (ja) 画像編集装置、画像編集方法及びプログラム
JP2007243923A (ja) 画像処理装置、その制御方法、及びプログラム
US20090325493A1 (en) Image providing apparatus, image output apparatus, and image output system
JP4367955B2 (ja) 撮像装置及びその制御方法
JP4458811B2 (ja) 撮像装置、表示制御方法及び表示制御プログラム
JP2007081556A (ja) 撮像装置及びその制御方法
JP2005221771A (ja) 撮像装置及び機能表示方法
JP4759372B2 (ja) 無線通信状態を報知する通信端末及びその制御方法
JP5159474B2 (ja) 通信装置、その制御方法、プログラム
JP2008227871A (ja) 撮像装置及びその制御方法、並びにプログラム及び記憶媒体
JP2006039203A (ja) 撮像装置、及び制御方法
JP4401974B2 (ja) 撮像装置及びその制御方法
JP2012222584A (ja) 撮像装置、その制御方法及びプログラム並びに記録媒体
JP6006567B2 (ja) 動画再生装置および動画再生方法
JP5019566B2 (ja) 撮像装置及びその制御方法、コンピュータプログラム及び記憶媒体
JP2008060844A (ja) 画像処理装置及び画像処理方法
JP5264547B2 (ja) 表示制御装置、制御方法、プログラム、及び記憶媒体
JP2007036587A (ja) 撮像装置及びその制御方法
JP2006203689A (ja) 撮像装置及びその制御方法及びプログラム及び記憶媒体
JP2008072524A (ja) 情報処理装置、制御方法、プログラム、及び記憶媒体

Legal Events

Date Code Title Description
A300 Application deemed to be withdrawn because no request for examination was validly filed

Free format text: JAPANESE INTERMEDIATE CODE: A300

Effective date: 20140701