JP2012205346A - 回転電機および回転電機の回転子 - Google Patents

回転電機および回転電機の回転子 Download PDF

Info

Publication number
JP2012205346A
JP2012205346A JP2011065770A JP2011065770A JP2012205346A JP 2012205346 A JP2012205346 A JP 2012205346A JP 2011065770 A JP2011065770 A JP 2011065770A JP 2011065770 A JP2011065770 A JP 2011065770A JP 2012205346 A JP2012205346 A JP 2012205346A
Authority
JP
Japan
Prior art keywords
rotor core
rotor
shaft
core
electrical machine
Prior art date
Legal status (The legal status is an assumption and is not a legal conclusion. Google has not performed a legal analysis and makes no representation as to the accuracy of the status listed.)
Granted
Application number
JP2011065770A
Other languages
English (en)
Other versions
JP5360103B2 (ja
Inventor
Yasuaki Kamiki
泰明 神木
Current Assignee (The listed assignees may be inaccurate. Google has not performed a legal analysis and makes no representation or warranty as to the accuracy of the list.)
Yaskawa Electric Corp
Original Assignee
Yaskawa Electric Corp
Priority date (The priority date is an assumption and is not a legal conclusion. Google has not performed a legal analysis and makes no representation as to the accuracy of the date listed.)
Filing date
Publication date
Application filed by Yaskawa Electric Corp filed Critical Yaskawa Electric Corp
Priority to JP2011065770A priority Critical patent/JP5360103B2/ja
Priority to CN201210012383.5A priority patent/CN102694443B/zh
Publication of JP2012205346A publication Critical patent/JP2012205346A/ja
Application granted granted Critical
Publication of JP5360103B2 publication Critical patent/JP5360103B2/ja
Active legal-status Critical Current
Anticipated expiration legal-status Critical

Links

Images

Landscapes

  • Iron Core Of Rotating Electric Machines (AREA)
  • Permanent Field Magnets Of Synchronous Machinery (AREA)

Abstract

【課題】組立精度を容易に確保することができる回転電機および回転電機の回転子を提供することを課題とする。
【解決手段】回転電機1は、周方向に沿って第1の永久磁石42が配設された筒状の第1の回転子鉄心41と、周方向に沿って第2の永久磁石52が配設された筒状の第2の回転子鉄心51とを備える。そして、第1の回転子鉄心41は、内周面がシャフト13に接しないように第2の回転子鉄心51を介してシャフト13へ固定される。
【選択図】図4

Description

本発明は、回転電機および回転電機の回転子に関する。
従来、電動機や発電機などの回転電機として、永久磁石式の回転電機が知られている。永久磁石式の回転電機は、たとえば、回転子鉄心の周方向に並べて配設される複数の永久磁石を有する回転子と、回転子の外周面と空隙を介して対向配置される固定子とを備える。
この種の回転電機では、モータの振動や騒音の原因となるコギングトルクの低減を目的として、永久磁石を回転軸方向に2分割し、分割した永久磁石の一方を他方に対して周方向に所定角度ずらした、いわゆる段スキュー構造が採用される場合がある。
たとえば、特許文献1には、回転子鉄心を回転軸方向に2分割した分割鉄心のそれぞれに対して複数の永久磁石を配設したうえで、これらの分割鉄心をそれぞれ回転軸へ取り付けることによって、段スキュー構造を容易に形成する技術が開示されている。各分割鉄心は、永久磁石の配設位置および他の分割鉄心との連結位置があらかじめ位置決めされており、一方の分割鉄心に配設された永久磁石と他方の分割鉄心に配設された永久磁石とが周方向に所定角度ずれた状態で、回転軸に固定されることとなる。
特開2010−119192号公報
しかしながら、特許文献1に記載の回転電機には、組立精度を確保するための工数がかかり易いという課題があった。
たとえば、特許文献1に記載の回転電機では、分割した回転子鉄心のそれぞれを回転軸へ取り付けることとしている。このため、分割鉄心の内径に寸法誤差があると、各分割鉄心を回転軸へ取り付けることによって、一方の分割鉄心に配設された永久磁石と他方の分割鉄心に配設された永久磁石との間に段差が生じる可能性がある。かかる段差が生じた場合には、かかる段差をなくすために、たとえば分割鉄心を回転軸へ挿入し直すといった調整作業が発生する。
開示の技術は、上記に鑑みてなされたものであって、組立精度を容易に確保することができる回転電機および回転電機の回転子を提供することを目的とする。
本願の開示する回転電機は、周方向に沿って複数の永久磁石が配設された筒状の第1の回転子鉄心および第2の回転子鉄心を備え、前記第1の回転子鉄心は、内周面がシャフトに接しないように前記第2の回転子鉄心を介して前記シャフトへ固定される。
本願の開示する回転電機の一つの態様によれば、組立精度を容易に確保することができる。
図1Aは、実施例1に係る回転電機の模式側面図である。 図1Bは、回転電機の取付説明図である。 図2は、回転子の分解断面図である。 図3は、回転子の平面図である。 図4は、図1Bに示すH部の拡大図である。 図5は、実施例2に係る回転子の断面の一部を拡大した図である。 図6は、実施例3に係る回転子の断面の一部を拡大した図である。 図7は、実施例4に係る回転子の断面の一部を拡大した図である。
以下に添付図面を参照して、本願の開示する回転電機および回転電機の回転子のいくつかの実施例を詳細に説明する。ただし、これらの実施例における例示で本発明が限定されるものではない。
まず、本実施例1に係る回転電機の全体構成について図1Aおよび図1Bを用いて説明する。図1Aは、実施例1に係る回転電機の模式側面図である。また、図1Bは、回転電機の取付説明図である。
図1Aに示すように、本実施例1に係る回転電機1は、ケース11と、減速機12と、シャフト13と、回転子14と、固定子15とを備える。なお、図1Aでは、減速機12以外の構成を断面で示している。
ケース11は、筒状に形成されており、内周面に固定子15の外周部15aが固着される。減速機12は、たとえば遊星ローラ型の減速機である。具体的には、減速機12は、筒状に形成されたハウジング内に、太陽ローラや遊星ローラ、遊星ローラ軸等を備える。
なお、減速機12は、遊星ローラ型に限ったものではなく、たとえば遊星歯車型の減速機等であってもよい。また、本実施例1では、回転電機1が減速機12を備える場合の例について示すが、回転電機1は、必ずしも減速機12を備えていなくてもよい。
シャフト13は、減速機12への入力軸13aおよび減速機12からの出力軸13bを備える。たとえば、入力軸13aは、減速機12の太陽ローラと接続され、出力軸13bは、遊星ローラ軸と接続される。なお、シャフト13は、減速機12のハウジングに設けられた軸受けによって回転自在に支持される。
減速機12では、入力軸13aの回転に伴って太陽ローラが回転するとともに、太陽ローラの回転に伴って遊星ローラ軸が自転しつつ太陽ローラを中心として公転する。そして、かかる遊星ローラ軸の公転に伴って出力軸13bが回転することとなる。
回転子14は、筒状の回転子鉄心の外周に複数の永久磁石が配設された円筒状の部材である。かかる回転子14は、回転子鉄心の内周面においてシャフト13と固定され、シャフト13を中心として回転する。
本実施例1にかかる回転子14は、段スキュー構造を有する。段スキュー構造とは、モータの振動や騒音の原因となるコギングトルクを低減するために、永久磁石を回転軸方向に分割し、分割した永久磁石の一方を他方に対して周方向に所定角度ずらした構造である。
また、本実施例1に係る回転子14は、かかる段スキュー構造の形成を容易とするために、永久磁石が配設された2つの回転子鉄心を組み合わせて1つの回転子鉄心を形成することとしている。かかる回転子14の具体的な構成については、後述する。
固定子15は、外周部15aと、固定子鉄心15bと、固定子巻線15cとを備える円筒状の部材であり、回転子14の外周面と空隙を介して対向配置される。
なお、図1Bに示すように、本実施例1に係る回転電機1は、ケース11と減速機12とシャフト13とがあらかじめ一体的に形成されたビルトインモータであり、シャフト13に対して回転子14を取り付け、ケース11の内周面に対して固定子15を取り付けることによって完成する。
以下では、図1Aおよび図1Bに示すように、シャフト13の延伸方向(すなわち軸方向)をZ方向とし、図面視において上方をY方向とする。また、Z方向およびY方向と直交する方向をX方向とする。
次に、回転子14の全体構成について図2および図3を用いて説明する。図2は、回転子14の分解断面図である。また、図3は、回転子14の平面図である。なお、図2は、図3のA−A’線断面視から見た回転子14の分解断面図に相当する。
図2に示すように、回転子14は、第1の回転子40と、第2の回転子50と、結合部材60とを備える。また、第1の回転子40は、第1の回転子鉄心41と、複数の第1の永久磁石42とを備え、第2の回転子50は、第2の回転子鉄心51と、複数の第2の永久磁石52とを備える。
結合部材60は、たとえばボルトやピン等である。第1の回転子40および第2の回転子50は、かかる結合部材60によって一体的に固定される。
具体的には、第1の回転子鉄心41には、第2の回転子鉄心51への取付面側に開口を有する挿入孔141がZ方向に沿って形成され、第2の回転子鉄心51には、Z方向両端に開口を有する挿入孔151がZ方向に沿って形成される。そして、挿入孔141の位置と挿入孔151の位置とが一致するように第1の回転子40を第2の回転子50に対して取り付けた後、挿入孔141および挿入孔151に対して結合部材60を挿入することによって、第1の回転子40と第2の回転子50とが一体的に固定される。
なお、ここでは、結合部材60を1本のみ示したが、回転子14が備える結合部材60の数は1本に限らない。すなわち、第1の回転子40および第2の回転子50は、複数の結合部材60によって一体化されてもよい。
また、ここでは、一端が開口した挿入孔が第1の回転子鉄心41に形成され、両端が開口した挿入孔が第2の回転子鉄心51に形成される場合の例を示したが、これとは逆に、一端が開口した挿入孔が第2の回転子鉄心51に形成され、両端が開口した挿入孔が第1の回転子鉄心41側に形成されてもよい。
第1の永久磁石42は、第1の回転子鉄心41の最外周面に沿って配設された永久磁石であり、第2の永久磁石52は、第2の回転子鉄心51の最外周面に沿って配設された永久磁石である。
図3に示すように、回転子14は、第1の永久磁石42と第2の永久磁石52とが周方向に所定角度ずれた構造(段スキュー構造)を有する。具体的には、第1の回転子鉄心41の外周面には、楔状の突条部142が所定間隔で複数形成され、各突条部142間に第1の永久磁石42が嵌め込まれる。同様に、第2の回転子鉄心51の外周面にも、楔状の突条部152が所定間隔で複数形成され、各突条部152間に第2の永久磁石52が嵌め込まれる。
突条部142,152は、挿入孔141に対する突条部142の位置と、挿入孔151に対する突条部152の位置とが所定角度ずれるように、第1の回転子鉄心41および第2の回転子鉄心51に対してそれぞれ形成される。このため、挿入孔141,151の位置が一致するように第1の回転子40と第2の回転子50とを組み合わせることで、結果的に、第1の永久磁石42と第2の永久磁石52とが周方向に所定角度ずれた状態となる。
このように、本実施例1に係る回転子14は、第1の回転子40と第2の回転子50とを組み合わせるだけで段スキュー構造を容易に形成することができる。なお、突条部142,152は、回転子14の回転による第1の永久磁石42、第2の永久磁石52の飛散を防止する役割も持つ。
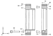
第1の回転子鉄心41は、第2の回転子鉄心51の内径よりも広い内径を有しており、シャフト13と接しないように第2の回転子鉄心51を介してシャフト13へ固定される。以下では、かかる点についてさらに具体的に説明する。
図4は、図1Bに示すH部の拡大図である。図4に示すように、回転子14は、第2の回転子鉄心51の内周面だけがシャフト13と接した状態となっている。そして、第1の回転子鉄心41は、シャフト13と接することなく第2の回転子鉄心51に固定される。
このように、第1の回転子鉄心41がシャフト13と接することなく第2の回転子鉄心51に固定されるため、回転子14をシャフト13へ取り付けた場合に、第1の永久磁石42と第2の永久磁石52との間に段差が生じる可能性を少なくすることができる。
すなわち、第2の回転子鉄心51だけがシャフト13と接するため、回転子14をシャフト13へ取り付けた場合に、第1の永久磁石42および第2の永久磁石52が径方向へ突出する量は、主に第2の回転子鉄心51の内径の寸法に依存することとなる。したがって、第1の永久磁石42および第2の永久磁石52のうちの一方が他方よりも径方向に飛び出る(すなわち、段差が生じる)といった状況が生じ難い。
第1の永久磁石42と第2の永久磁石52との間に段差が生じる可能性が少なくなれば、回転子鉄心をシャフトへ挿入し直すといった調整作業が発生する可能性が少なくなるため、回転電機1の組立精度を容易に確保することができる。
ところで、第2の回転子鉄心51の内周面には、第1の溝部153および第2の溝部154がそれぞれ形成されている。第1の溝部153は、第2の回転子鉄心51のZ方向端部において周方向に沿って形成された溝部である。また、第2の溝部154は、第2の回転子鉄心51のZ方向中央部において周方向に沿って形成された溝部である。
このように、第2の回転子鉄心51の内周面に第2の溝部154を設けることとすれば、たとえば熱膨張等による第2の回転子鉄心51の変形を第2の溝部154とシャフト13との間の空間へ逃がすことができ、第2の回転子鉄心51全体としての変形を生じ難くすることができる。
さらに、第2の回転子鉄心51の内周面に第1の溝部153を設けることとすれば、万一、第2の回転子鉄心51全体が変形したとしても、第2の回転子鉄心51の端部がシャフト13に食い込むことを防止することができる。なお、第2の回転子鉄心51は、これら第1の溝部153および第2の溝部154が形成されていない内周面においてシャフト13と接することとなる。これにより、加工面を少なくすることができ、加工作業に要する時間や労力を低減することができる。
また、第2の回転子鉄心51は、第1の回転子鉄心41とシャフト13との間の間隙に、シャフト13に沿って延在する延在部155を備える。また、第1の回転子鉄心41は、内周面において、かかる延在部155の外周面と当接する。
すなわち、第1の回転子鉄心41は、結合部材60によって第2の回転子鉄心51に固定されるだけでなく、延在部155によっても支持される。したがって、回転子14は、第1の回転子鉄心41と第2の回転子鉄心51とが一体化した状態をより確実に維持することができる。
また、延在部155と当接する第1の回転子鉄心41の内周面は、加工面である。第1の回転子鉄心41を第2の回転子鉄心51に対して取り付ける際には、かかる加工面を精密に加工することによって、第1の回転子鉄心41および延在部155が余分な応力を受けることなく互いに接した状態とすることができる。
なお、第1の回転子鉄心41は、延在部155と対向する内周面の一部に凹部144が形成される。これにより、加工面を少なくすることができ、加工作業に要する時間や労力を低減することができる。また、第2の溝部154と同様に、第1の回転子鉄心41の変形を防止することもできる。
また、第1の回転子鉄心41は、延在部155と対向しない内周面の一部からシャフト13へ向けて突出する突出部143を備える。
すなわち、第1の回転子鉄心41は、第2の回転子鉄心51と比較して肉薄であり、また、結合部材60を挿入するための挿入孔141も形成されるため(図2参照)、第2の回転子鉄心51と比較して剛性が低くなる可能性がある。そこで、第1の回転子鉄心41に突出部143を設けることで、第1の回転子鉄心41の剛性を高めることとした。
なお、図4に示すように、突出部143は、シャフト13に接しない程度に第1の回転子鉄心41の内周面から突出する。
上述してきたように、本実施例1では、筒状の第1の回転子鉄心41および第2の回転子鉄心51を備え、第1の回転子鉄心41を、内周面がシャフト13に接しないように第2の回転子鉄心51を介してシャフト13へ固定することとした。したがって、組立精度を容易に確保することができる。
なお、上述してきた実施例1では、第1の回転子鉄心41に凹部144が形成され、第2の回転子鉄心51に第1の溝部153および第2の溝部154が形成される場合の例を示したが、凹部144、第1の溝部153および第2の溝部154は、必ずしも形成されていなくてもよい。
ところで、上述してきた実施例1では、第1の回転子鉄心の剛性を確保するために、第1の回転子鉄心に突出部を設けることとしたが、これに限ったものではなく、第1の回転子鉄心は、突出部を備えていなくともよい。
以下では、第1の回転子鉄心が突出部を備えない場合の実施例2について図5を用いて説明する。図5は、実施例2に係る回転子の断面の一部を拡大した図である。なお、以下の説明では、既に説明した部分と同様の部分については、既に説明した部分と同一の符号を付し、重複する説明を省略する。
図5に示すように、実施例2に係る回転子14aは、第1の回転子40に代えて第1の回転子40aを備え、第2の回転子50に代えて第2の回転子50aを備える。また、第1の回転子40aは、第1の回転子鉄心41aおよび第1の永久磁石42を備え、第2の回転子50aは、第2の回転子鉄心51aおよび第2の永久磁石52を備える。
実施例2にかかる第1の回転子鉄心41aは、実施例1に係る第1の回転子鉄心41と異なり、突出部143を備えない。すなわち、第1の回転子鉄心は、必ずしも突出部143を備えなくともよい。なお、第1の回転子鉄心に突出部143を設けない場合には、剛性の高い素材で第1の回転子鉄心41aを形成することとしてもよい。
また、実施例2に係る延在部155aは、実施例1に係る延在部155とは異なり、第1の回転子鉄心41aの端部まで延在する。これにより、第1の回転子鉄心41aと第2の回転子鉄心51aとが一体化した状態をより確実に維持することができる。
ただし、これに限ったものではなく、延在部155aは、実施例1に係る延在部155と同様に、第1の回転子鉄心41aおよびシャフト13間の間隙の一部に設けられることとしてもよい。
また、上述した各実施例では、第1の回転子鉄心と第2の回転子鉄心とが一体化した状態をより確実に維持するために、第2の回転子鉄心に対して延在部を設けることとしたが、これに限ったものではなく、第2の回転子鉄心は、延在部を備えていなくともよい。
以下では、第2の回転子鉄心が延在部を備えない場合の実施例3について図6を用いて説明する。図6は、実施例3に係る回転子の断面の一部を拡大した図である。
図6に示すように、実施例3に係る回転子14bは、第1の回転子40に代えて第1の回転子40bを備え、第2の回転子50に代えて第2の回転子50bを備える。また、第1の回転子40bは、第1の回転子鉄心41bおよび第1の永久磁石42を備え、第2の回転子50bは、第2の回転子鉄心51bおよび第2の永久磁石52を備える。
実施例3に係る第2の回転子鉄心51bは、実施例1に係る第2の回転子鉄心51とは異なり、延在部155を備えない。すなわち、第1の回転子鉄心41bは、結合部材60のみで第2の回転子鉄心51bに固定された状態となっている。
なお、かかる場合には、たとえば結合部材60の本数を増やすことによって、第1の回転子鉄心41bと第2の回転子鉄心51bとが一体化した状態を確実に維持することとしてもよい。
また、図6に示すように、本実施例3では、第2の回転子鉄心51bが、第1の溝部153を両端部の内周面にそれぞれ備えることとしたが、実施例1に係る第2の回転子鉄心51と同様に、一端側にのみ第1の溝部153を備えることとしてもよい。または、第1の溝部153を備えないこととしてもよい。また、第2の回転子鉄心51bが、第2の溝部154を備えていてもよく、第1の回転子鉄心41bが、突出部143を備えていてもよい。
また、上述した各実施例では、1つの第1の回転子鉄心と1つの第2の回転子鉄心を組み合わせて1つの回転子を形成する場合の例について説明してきたが、これに限ったものではない。たとえば、3段の段スキュー構造を形成したい場合には、第2の回転子鉄心に対して2つの第1の回転子鉄心を取り付けることとしてもよい。
以下では、第2の回転子を複数備える場合の実施例4について図7を用いて説明する。図7は、実施例4に係る回転子の断面の一部を拡大した図である。
図7に示すように、実施例4に係る回転子14cは、第1の回転子40に代えて第1の回転子40c−1,40c−2を備え、第2の回転子50に代えて第2の回転子50cを備える。また、第1の回転子40c−1,40c−2は、それぞれ第1の回転子鉄心41c−1,41c−2および第1の永久磁石42c−1,42c−2を備え、第2の回転子50cは、第2の回転子鉄心51cおよび第2の永久磁石52cを備える。
第1の回転子鉄心41c−1,41c−2は、実施例1に係る第1の回転子鉄心41と同様に、突出部143c−1,143c−2や凹部144c−1,144c−2をそれぞれ備える。これら第1の回転子鉄心41c−1,41c−2は、第2の回転子50cの両端に取り付けられ、結合部材60によって第2の回転子50cに対してそれぞれ固定される。
なお、回転子14cは、結合部材60によって第1の回転子鉄心41c−1を第2の回転子50cに固定し、別の結合部材60によって第1の回転子鉄心41c−2を第2の回転子50cに固定するように構成されていてもよいし、第2の回転子50cを貫通する結合部材60によって第1の回転子鉄心41c−1、41c−2を一体的に固定するように構成されてもよい。
第2の回転子鉄心51cは、第1の回転子鉄心41c−1およびシャフト13間の間隙と、第1の回転子鉄心41c−1およびシャフト13間の間隙とにそれぞれ延在部155cを備え、これら第1の回転子鉄心41c−1,41c−2をそれぞれ支持する。
このように、回転子は、シャフト13と接しない第1の回転子鉄心を複数備えていてもよい。なお、ここでは、各第1の回転子鉄心が第2の回転子鉄心に対して固定される場合の例を示したが、第1の回転子鉄心が他の第1の回転子鉄心に対して固定されるようにしてもよい。すなわち、たとえば、第2の回転子鉄心に対して第1の回転子鉄心を固定子、かかる第1の回転子鉄心に対して他の第1の回転子鉄心を固定するようにしてもよい。
なお、上述した各実施例では、回転電機がビルトインモータである場合の例について説明してきたが、回転電機は、必ずしもビルトインモータである必要はなく、ケース11、減速機12およびシャフト13が別々に形成されたタイプのモータであってもよい。また、減速機12を備えないモータであってもよい。また、回転電機は、モータ等の電動機に限らず、発電機であってもよい。
また、上述した各実施例では、回転子の構成として、回転子鉄心の外周面に永久磁石を配設した所謂SPM(Surface Permanent Magnet)を例に挙げて説明したが、これに限ったものではなく、回転子の構成は、回転子鉄心の内部に永久磁石を配設した所謂IPM(Interior Permanent Magnet)であってもよい。
また、上述した各実施例では、回転子が段スキュー構造を有する場合の例について説明してきたが、本願に係る回転子は、段スキュー構造を有さない場合に対しても適用することができる。つまり、段スキュー構造を形成せずに複数の回転子鉄心を組み合わせて1つの回転子鉄心を形成する場合においても、組立精度を容易に確保することができる。
さらなる効果や変形例は、当業者によって容易に導き出すことができる。このため、本発明のより広範な態様は、以上のように表しかつ記述した特定の詳細および代表的な実施例に限定されるものではない。したがって、添付の特許請求の範囲およびその均等物によって定義される総括的な発明の概念の精神または範囲から逸脱することなく、様々な変更が可能である。
1 回転電機
11 ケース
12 減速機
13 シャフト
13a 入力軸
13b 出力軸
14,14a〜14c 回転子
40,40a〜40c 第1の回転子
41,41a〜41c 第1の回転子鉄心
141 挿入孔
142 突条部
143 突出部
144 凹部
42,42c 第1の永久磁石
50,50a〜50c 第2の回転子
51,51a〜51c 第2の回転子鉄心
151 挿入孔
152 突条部
153 第1の溝部
154 第2の溝部
155 延在部
52,52c 第2の永久磁石
60 結合部材
15 固定子
15a 外周部
15b 固定子鉄心
15c 固定子巻線

Claims (7)

  1. 周方向に沿って複数の永久磁石が配設された筒状の第1の回転子鉄心および第2の回転子鉄心
    を備え、
    前記第1の回転子鉄心は、
    内周面がシャフトに接しないように前記第2の回転子鉄心を介して前記シャフトへ固定されることを特徴とする回転電機。
  2. 前記第2の回転子鉄心は、
    前記第1の回転子鉄心と前記シャフトとの間の間隙に、前記シャフトに沿って延在する延在部を備えることを特徴とする請求項1に記載の回転電機。
  3. 前記延在部は、
    前記第1の回転子鉄心と前記シャフトとの間の間隙のうちの一部に設けられ、
    前記第1の回転子鉄心は、
    前記延在部と対向しない内周面の一部から前記シャフトへ向けて突出する突出部を備えることを特徴とする請求項2に記載の回転電機。
  4. 前記第1の回転子鉄心は、
    前記延在部と対向する内周面の一部に凹部を備えることを特徴とする請求項2または3に記載の回転電機。
  5. 前記第2の回転子鉄心は、
    軸方向端部の内周面に、周方向に沿って形成される第1の溝部を備えることを特徴とする請求項1〜4のいずれか一つに記載の回転電機。
  6. 前記第2の回転子鉄心は、
    軸方向中央部の内周面に、周方向に沿って形成される第2の溝部を備えることを特徴とする請求項1〜5のいずれか一つに記載の回転電機。
  7. 周方向に沿って複数の永久磁石が配設された筒状の第1の回転子鉄心および第2の回転子鉄心
    を備え、
    前記第1の回転子鉄心は、
    内周面がシャフトに接しないように前記第2の回転子鉄心を介して前記シャフトへ固定されることを特徴とする回転子。
JP2011065770A 2011-03-24 2011-03-24 回転電機および回転電機の回転子 Active JP5360103B2 (ja)

Priority Applications (2)

Application Number Priority Date Filing Date Title
JP2011065770A JP5360103B2 (ja) 2011-03-24 2011-03-24 回転電機および回転電機の回転子
CN201210012383.5A CN102694443B (zh) 2011-03-24 2012-01-16 旋转电机及旋转电机的转子

Applications Claiming Priority (1)

Application Number Priority Date Filing Date Title
JP2011065770A JP5360103B2 (ja) 2011-03-24 2011-03-24 回転電機および回転電機の回転子

Publications (2)

Publication Number Publication Date
JP2012205346A true JP2012205346A (ja) 2012-10-22
JP5360103B2 JP5360103B2 (ja) 2013-12-04

Family

ID=46859753

Family Applications (1)

Application Number Title Priority Date Filing Date
JP2011065770A Active JP5360103B2 (ja) 2011-03-24 2011-03-24 回転電機および回転電機の回転子

Country Status (2)

Country Link
JP (1) JP5360103B2 (ja)
CN (1) CN102694443B (ja)

Cited By (1)

* Cited by examiner, † Cited by third party
Publication number Priority date Publication date Assignee Title
CN116276796A (zh) * 2023-03-21 2023-06-23 坎德拉(深圳)新能源科技有限公司 一种磁轴承的盖板安装工装

Citations (5)

* Cited by examiner, † Cited by third party
Publication number Priority date Publication date Assignee Title
JPS599744U (ja) * 1982-07-09 1984-01-21 株式会社日立製作所 交流発電機の回転子
JPS6270665U (ja) * 1985-10-23 1987-05-06
JPH059150U (ja) * 1991-07-12 1993-02-05 株式会社三ツ葉電機製作所 磁石発電機の回転子
JP2006136068A (ja) * 2004-11-04 2006-05-25 Mori Seiki Co Ltd 永久磁石形同期モータ
JP2011024319A (ja) * 2009-07-15 2011-02-03 Toyota Industries Corp ロータにおけるシャフトの取付構造

Family Cites Families (2)

* Cited by examiner, † Cited by third party
Publication number Priority date Publication date Assignee Title
JP4222310B2 (ja) * 2005-01-13 2009-02-12 三菱マテリアルシ−エムアイ株式会社 ステッピングモータ
JP5317661B2 (ja) * 2008-12-10 2013-10-16 株式会社ミツバ 回転電機用マグネットホルダ

Patent Citations (5)

* Cited by examiner, † Cited by third party
Publication number Priority date Publication date Assignee Title
JPS599744U (ja) * 1982-07-09 1984-01-21 株式会社日立製作所 交流発電機の回転子
JPS6270665U (ja) * 1985-10-23 1987-05-06
JPH059150U (ja) * 1991-07-12 1993-02-05 株式会社三ツ葉電機製作所 磁石発電機の回転子
JP2006136068A (ja) * 2004-11-04 2006-05-25 Mori Seiki Co Ltd 永久磁石形同期モータ
JP2011024319A (ja) * 2009-07-15 2011-02-03 Toyota Industries Corp ロータにおけるシャフトの取付構造

Cited By (1)

* Cited by examiner, † Cited by third party
Publication number Priority date Publication date Assignee Title
CN116276796A (zh) * 2023-03-21 2023-06-23 坎德拉(深圳)新能源科技有限公司 一种磁轴承的盖板安装工装

Also Published As

Publication number Publication date
CN102694443B (zh) 2015-01-21
CN102694443A (zh) 2012-09-26
JP5360103B2 (ja) 2013-12-04

Similar Documents

Publication Publication Date Title
JP4311182B2 (ja) 回転電機の回転子
JP5971114B2 (ja) 永久磁石埋設型回転電機
JP6179496B2 (ja) 回転子および回転機
JP2013150479A (ja) 分割式コアを有する電動機の回転子及びその製造方法
JP5251014B2 (ja) 電動機
JP2015163006A (ja) 回転電機及びその製造方法
WO2018116738A1 (ja) 回転電機の回転子、及び回転電機
US20160061292A1 (en) Eccentric oscillation gear device and torque adjusting method therefor
JP6358054B2 (ja) 回転式アクチュエータ
JP2017093059A (ja) 回転電機
JP6601169B2 (ja) 回転電機
JP7010309B2 (ja) 回転電機のロータ及び回転電機
JP5360103B2 (ja) 回転電機および回転電機の回転子
TW201319426A (zh) 驅動裝置
WO2017222012A1 (ja) 波動歯車減速機ユニット
JP7015213B2 (ja) 回転電機のロータ、その製造方法および回転電機
JP2005117796A (ja) 回転電機のロータ
JP2012044789A (ja) 回転電機およびその製造方法
JP6642061B2 (ja) 減速機構付きモータ及びパワーシート装置
JP5983326B2 (ja) 磁石埋込型モータの回転子
JP2013236425A (ja) 誘導機の回転子
JP2019062688A (ja) モータ
JP2018007380A (ja) 回転電機
JP2006071017A (ja) 軸受部構造
JP6594143B2 (ja) ステータおよびステータの製造方法

Legal Events

Date Code Title Description
A621 Written request for application examination

Free format text: JAPANESE INTERMEDIATE CODE: A621

Effective date: 20121227

A977 Report on retrieval

Free format text: JAPANESE INTERMEDIATE CODE: A971007

Effective date: 20130409

A131 Notification of reasons for refusal

Free format text: JAPANESE INTERMEDIATE CODE: A131

Effective date: 20130416

A521 Request for written amendment filed

Free format text: JAPANESE INTERMEDIATE CODE: A523

Effective date: 20130607

TRDD Decision of grant or rejection written
A01 Written decision to grant a patent or to grant a registration (utility model)

Free format text: JAPANESE INTERMEDIATE CODE: A01

Effective date: 20130806

A61 First payment of annual fees (during grant procedure)

Free format text: JAPANESE INTERMEDIATE CODE: A61

Effective date: 20130819

R150 Certificate of patent or registration of utility model

Ref document number: 5360103

Country of ref document: JP

Free format text: JAPANESE INTERMEDIATE CODE: R150

Free format text: JAPANESE INTERMEDIATE CODE: R150

R250 Receipt of annual fees

Free format text: JAPANESE INTERMEDIATE CODE: R250