JP2012192582A - プレコートアルミニウム板 - Google Patents
プレコートアルミニウム板 Download PDFInfo
- Publication number
- JP2012192582A JP2012192582A JP2011057536A JP2011057536A JP2012192582A JP 2012192582 A JP2012192582 A JP 2012192582A JP 2011057536 A JP2011057536 A JP 2011057536A JP 2011057536 A JP2011057536 A JP 2011057536A JP 2012192582 A JP2012192582 A JP 2012192582A
- Authority
- JP
- Japan
- Prior art keywords
- film
- silica
- aluminum plate
- based film
- precoated
- Prior art date
- Legal status (The legal status is an assumption and is not a legal conclusion. Google has not performed a legal analysis and makes no representation as to the accuracy of the status listed.)
- Granted
Links
- 229910052782 aluminium Inorganic materials 0.000 title claims abstract description 102
- XAGFODPZIPBFFR-UHFFFAOYSA-N aluminium Chemical compound [Al] XAGFODPZIPBFFR-UHFFFAOYSA-N 0.000 title claims abstract description 102
- 229920005989 resin Polymers 0.000 claims abstract description 21
- 239000011347 resin Substances 0.000 claims abstract description 21
- -1 silicate compound Chemical class 0.000 claims abstract description 19
- VYPSYNLAJGMNEJ-UHFFFAOYSA-N Silicium dioxide Chemical compound O=[Si]=O VYPSYNLAJGMNEJ-UHFFFAOYSA-N 0.000 claims description 155
- 239000000377 silicon dioxide Substances 0.000 claims description 75
- 239000000049 pigment Substances 0.000 claims description 17
- 239000000084 colloidal system Substances 0.000 claims description 11
- 239000010954 inorganic particle Substances 0.000 claims description 11
- 230000004083 survival effect Effects 0.000 abstract 2
- 238000000576 coating method Methods 0.000 description 28
- 238000010438 heat treatment Methods 0.000 description 27
- 239000011248 coating agent Substances 0.000 description 25
- 239000003973 paint Substances 0.000 description 14
- 239000000463 material Substances 0.000 description 10
- 238000000034 method Methods 0.000 description 10
- 239000003822 epoxy resin Substances 0.000 description 7
- 229920000647 polyepoxide Polymers 0.000 description 7
- 238000012360 testing method Methods 0.000 description 7
- 150000001875 compounds Chemical class 0.000 description 6
- 238000010586 diagram Methods 0.000 description 6
- 238000001336 glow discharge atomic emission spectroscopy Methods 0.000 description 6
- 229920002050 silicone resin Polymers 0.000 description 6
- 239000010936 titanium Substances 0.000 description 6
- 229910052719 titanium Inorganic materials 0.000 description 6
- 229910052726 zirconium Inorganic materials 0.000 description 6
- VGGSQFUCUMXWEO-UHFFFAOYSA-N Ethene Chemical compound C=C VGGSQFUCUMXWEO-UHFFFAOYSA-N 0.000 description 5
- 239000005977 Ethylene Substances 0.000 description 5
- PWHULOQIROXLJO-UHFFFAOYSA-N Manganese Chemical compound [Mn] PWHULOQIROXLJO-UHFFFAOYSA-N 0.000 description 5
- 239000002585 base Substances 0.000 description 5
- 239000011651 chromium Substances 0.000 description 5
- 238000013461 design Methods 0.000 description 5
- WMYWOWFOOVUPFY-UHFFFAOYSA-L dihydroxy(dioxo)chromium;phosphoric acid Chemical compound OP(O)(O)=O.O[Cr](O)(=O)=O WMYWOWFOOVUPFY-UHFFFAOYSA-L 0.000 description 5
- 230000000694 effects Effects 0.000 description 5
- 238000011156 evaluation Methods 0.000 description 5
- 239000011572 manganese Substances 0.000 description 5
- 229910052748 manganese Inorganic materials 0.000 description 5
- 239000012528 membrane Substances 0.000 description 5
- 229920002803 thermoplastic polyurethane Polymers 0.000 description 5
- 238000005452 bending Methods 0.000 description 4
- 229910052804 chromium Inorganic materials 0.000 description 4
- 239000008119 colloidal silica Substances 0.000 description 4
- 238000012545 processing Methods 0.000 description 4
- 239000004925 Acrylic resin Substances 0.000 description 3
- 229920000178 Acrylic resin Polymers 0.000 description 3
- 229910000838 Al alloy Inorganic materials 0.000 description 3
- 229920000298 Cellophane Polymers 0.000 description 3
- YCKRFDGAMUMZLT-UHFFFAOYSA-N Fluorine atom Chemical compound [F] YCKRFDGAMUMZLT-UHFFFAOYSA-N 0.000 description 3
- GWEVSGVZZGPLCZ-UHFFFAOYSA-N Titan oxide Chemical compound O=[Ti]=O GWEVSGVZZGPLCZ-UHFFFAOYSA-N 0.000 description 3
- PNEYBMLMFCGWSK-UHFFFAOYSA-N aluminium oxide Inorganic materials [O-2].[O-2].[O-2].[Al+3].[Al+3] PNEYBMLMFCGWSK-UHFFFAOYSA-N 0.000 description 3
- 239000007864 aqueous solution Substances 0.000 description 3
- ZCDOYSPFYFSLEW-UHFFFAOYSA-N chromate(2-) Chemical compound [O-][Cr]([O-])(=O)=O ZCDOYSPFYFSLEW-UHFFFAOYSA-N 0.000 description 3
- 238000005238 degreasing Methods 0.000 description 3
- 239000011737 fluorine Substances 0.000 description 3
- 229910052731 fluorine Inorganic materials 0.000 description 3
- 239000007789 gas Substances 0.000 description 3
- UCNNJGDEJXIUCC-UHFFFAOYSA-L hydroxy(oxo)iron;iron Chemical compound [Fe].O[Fe]=O.O[Fe]=O UCNNJGDEJXIUCC-UHFFFAOYSA-L 0.000 description 3
- PAZHGORSDKKUPI-UHFFFAOYSA-N lithium metasilicate Chemical compound [Li+].[Li+].[O-][Si]([O-])=O PAZHGORSDKKUPI-UHFFFAOYSA-N 0.000 description 3
- 229910052912 lithium silicate Inorganic materials 0.000 description 3
- 229910052751 metal Inorganic materials 0.000 description 3
- 239000002184 metal Substances 0.000 description 3
- 239000002245 particle Substances 0.000 description 3
- 239000000843 powder Substances 0.000 description 3
- 239000000243 solution Substances 0.000 description 3
- 239000001993 wax Substances 0.000 description 3
- 229910052845 zircon Inorganic materials 0.000 description 3
- GFQYVLUOOAAOGM-UHFFFAOYSA-N zirconium(iv) silicate Chemical compound [Zr+4].[O-][Si]([O-])([O-])[O-] GFQYVLUOOAAOGM-UHFFFAOYSA-N 0.000 description 3
- 229920002134 Carboxymethyl cellulose Polymers 0.000 description 2
- RYGMFSIKBFXOCR-UHFFFAOYSA-N Copper Chemical compound [Cu] RYGMFSIKBFXOCR-UHFFFAOYSA-N 0.000 description 2
- RTZKZFJDLAIYFH-UHFFFAOYSA-N Diethyl ether Chemical compound CCOCC RTZKZFJDLAIYFH-UHFFFAOYSA-N 0.000 description 2
- 229920003171 Poly (ethylene oxide) Polymers 0.000 description 2
- 239000004698 Polyethylene Substances 0.000 description 2
- 239000004372 Polyvinyl alcohol Substances 0.000 description 2
- RTAQQCXQSZGOHL-UHFFFAOYSA-N Titanium Chemical compound [Ti] RTAQQCXQSZGOHL-UHFFFAOYSA-N 0.000 description 2
- QCWXUUIWCKQGHC-UHFFFAOYSA-N Zirconium Chemical compound [Zr] QCWXUUIWCKQGHC-UHFFFAOYSA-N 0.000 description 2
- MCMNRKCIXSYSNV-UHFFFAOYSA-N Zirconium dioxide Chemical compound O=[Zr]=O MCMNRKCIXSYSNV-UHFFFAOYSA-N 0.000 description 2
- 239000000654 additive Substances 0.000 description 2
- 125000000217 alkyl group Chemical group 0.000 description 2
- 230000015572 biosynthetic process Effects 0.000 description 2
- 239000001768 carboxy methyl cellulose Substances 0.000 description 2
- 235000010948 carboxy methyl cellulose Nutrition 0.000 description 2
- 239000008112 carboxymethyl-cellulose Substances 0.000 description 2
- 239000004203 carnauba wax Substances 0.000 description 2
- 235000013869 carnauba wax Nutrition 0.000 description 2
- 238000006243 chemical reaction Methods 0.000 description 2
- 239000010941 cobalt Substances 0.000 description 2
- 229910017052 cobalt Inorganic materials 0.000 description 2
- GUTLYIVDDKVIGB-UHFFFAOYSA-N cobalt atom Chemical compound [Co] GUTLYIVDDKVIGB-UHFFFAOYSA-N 0.000 description 2
- 239000002131 composite material Substances 0.000 description 2
- 229910052802 copper Inorganic materials 0.000 description 2
- 239000010949 copper Substances 0.000 description 2
- 238000005336 cracking Methods 0.000 description 2
- 230000002950 deficient Effects 0.000 description 2
- 239000000945 filler Substances 0.000 description 2
- 239000010419 fine particle Substances 0.000 description 2
- 238000002156 mixing Methods 0.000 description 2
- 239000000203 mixture Substances 0.000 description 2
- 230000003287 optical effect Effects 0.000 description 2
- RVTZCBVAJQQJTK-UHFFFAOYSA-N oxygen(2-);zirconium(4+) Chemical compound [O-2].[O-2].[Zr+4] RVTZCBVAJQQJTK-UHFFFAOYSA-N 0.000 description 2
- 229920000573 polyethylene Polymers 0.000 description 2
- 229920002451 polyvinyl alcohol Polymers 0.000 description 2
- 235000019353 potassium silicate Nutrition 0.000 description 2
- NTHWMYGWWRZVTN-UHFFFAOYSA-N sodium silicate Chemical compound [Na+].[Na+].[O-][Si]([O-])=O NTHWMYGWWRZVTN-UHFFFAOYSA-N 0.000 description 2
- 239000000126 substance Substances 0.000 description 2
- 238000004381 surface treatment Methods 0.000 description 2
- 238000005496 tempering Methods 0.000 description 2
- JUWGUJSXVOBPHP-UHFFFAOYSA-B titanium(4+);tetraphosphate Chemical compound [Ti+4].[Ti+4].[Ti+4].[O-]P([O-])([O-])=O.[O-]P([O-])([O-])=O.[O-]P([O-])([O-])=O.[O-]P([O-])([O-])=O JUWGUJSXVOBPHP-UHFFFAOYSA-B 0.000 description 2
- 231100000331 toxic Toxicity 0.000 description 2
- 230000002588 toxic effect Effects 0.000 description 2
- 229910001928 zirconium oxide Inorganic materials 0.000 description 2
- 229910000166 zirconium phosphate Inorganic materials 0.000 description 2
- LEHFSLREWWMLPU-UHFFFAOYSA-B zirconium(4+);tetraphosphate Chemical compound [Zr+4].[Zr+4].[Zr+4].[O-]P([O-])([O-])=O.[O-]P([O-])([O-])=O.[O-]P([O-])([O-])=O.[O-]P([O-])([O-])=O LEHFSLREWWMLPU-UHFFFAOYSA-B 0.000 description 2
- 229910018131 Al-Mn Inorganic materials 0.000 description 1
- 239000005995 Aluminium silicate Substances 0.000 description 1
- 229910018461 Al—Mn Inorganic materials 0.000 description 1
- 108091005944 Cerulean Proteins 0.000 description 1
- 229910000684 Cobalt-chrome Inorganic materials 0.000 description 1
- 229910000861 Mg alloy Inorganic materials 0.000 description 1
- 229910019142 PO4 Inorganic materials 0.000 description 1
- 239000004111 Potassium silicate Substances 0.000 description 1
- 244000181025 Rosa gallica Species 0.000 description 1
- 235000000533 Rosa gallica Nutrition 0.000 description 1
- 239000004115 Sodium Silicate Substances 0.000 description 1
- XLOMVQKBTHCTTD-UHFFFAOYSA-N Zinc monoxide Chemical compound [Zn]=O XLOMVQKBTHCTTD-UHFFFAOYSA-N 0.000 description 1
- 230000000996 additive effect Effects 0.000 description 1
- 239000003513 alkali Substances 0.000 description 1
- 229910045601 alloy Inorganic materials 0.000 description 1
- 239000000956 alloy Substances 0.000 description 1
- 235000012211 aluminium silicate Nutrition 0.000 description 1
- 239000011260 aqueous acid Substances 0.000 description 1
- 229910052797 bismuth Inorganic materials 0.000 description 1
- JCXGWMGPZLAOME-UHFFFAOYSA-N bismuth atom Chemical compound [Bi] JCXGWMGPZLAOME-UHFFFAOYSA-N 0.000 description 1
- 239000006229 carbon black Substances 0.000 description 1
- JOPOVCBBYLSVDA-UHFFFAOYSA-N chromium(6+) Chemical compound [Cr+6] JOPOVCBBYLSVDA-UHFFFAOYSA-N 0.000 description 1
- IVMYJDGYRUAWML-UHFFFAOYSA-N cobalt(ii) oxide Chemical compound [Co]=O IVMYJDGYRUAWML-UHFFFAOYSA-N 0.000 description 1
- 239000010952 cobalt-chrome Substances 0.000 description 1
- 230000000052 comparative effect Effects 0.000 description 1
- 238000005260 corrosion Methods 0.000 description 1
- 230000007797 corrosion Effects 0.000 description 1
- 229910052607 cyclosilicate Inorganic materials 0.000 description 1
- FPAFDBFIGPHWGO-UHFFFAOYSA-N dioxosilane;oxomagnesium;hydrate Chemical compound O.[Mg]=O.[Mg]=O.[Mg]=O.O=[Si]=O.O=[Si]=O.O=[Si]=O.O=[Si]=O FPAFDBFIGPHWGO-UHFFFAOYSA-N 0.000 description 1
- 230000007613 environmental effect Effects 0.000 description 1
- 150000002148 esters Chemical class 0.000 description 1
- 230000002349 favourable effect Effects 0.000 description 1
- 239000011521 glass Substances 0.000 description 1
- 229910052598 goethite Inorganic materials 0.000 description 1
- AEIXRCIKZIZYPM-UHFFFAOYSA-M hydroxy(oxo)iron Chemical compound [O][Fe]O AEIXRCIKZIZYPM-UHFFFAOYSA-M 0.000 description 1
- 239000001023 inorganic pigment Substances 0.000 description 1
- 229910052610 inosilicate Inorganic materials 0.000 description 1
- HEQBUZNAOJCRSL-UHFFFAOYSA-N iron(ii) chromite Chemical compound [O-2].[O-2].[O-2].[Cr+3].[Fe+3] HEQBUZNAOJCRSL-UHFFFAOYSA-N 0.000 description 1
- 238000010409 ironing Methods 0.000 description 1
- NLYAJNPCOHFWQQ-UHFFFAOYSA-N kaolin Chemical compound O.O.O=[Al]O[Si](=O)O[Si](=O)O[Al]=O NLYAJNPCOHFWQQ-UHFFFAOYSA-N 0.000 description 1
- 238000004519 manufacturing process Methods 0.000 description 1
- 238000005259 measurement Methods 0.000 description 1
- 239000010445 mica Substances 0.000 description 1
- 229910052618 mica group Inorganic materials 0.000 description 1
- 229910052605 nesosilicate Inorganic materials 0.000 description 1
- 239000003960 organic solvent Substances 0.000 description 1
- VASIZKWUTCETSD-UHFFFAOYSA-N oxomanganese Chemical compound [Mn]=O VASIZKWUTCETSD-UHFFFAOYSA-N 0.000 description 1
- 238000010422 painting Methods 0.000 description 1
- NBIIXXVUZAFLBC-UHFFFAOYSA-K phosphate Chemical compound [O-]P([O-])([O-])=O NBIIXXVUZAFLBC-UHFFFAOYSA-K 0.000 description 1
- 239000010452 phosphate Substances 0.000 description 1
- 229910052615 phyllosilicate Inorganic materials 0.000 description 1
- 239000004645 polyester resin Substances 0.000 description 1
- 229920001225 polyester resin Polymers 0.000 description 1
- 229920000098 polyolefin Polymers 0.000 description 1
- NNHHDJVEYQHLHG-UHFFFAOYSA-N potassium silicate Chemical compound [K+].[K+].[O-][Si]([O-])=O NNHHDJVEYQHLHG-UHFFFAOYSA-N 0.000 description 1
- 229910052913 potassium silicate Inorganic materials 0.000 description 1
- 238000003908 quality control method Methods 0.000 description 1
- 239000000741 silica gel Substances 0.000 description 1
- 229910002027 silica gel Inorganic materials 0.000 description 1
- 239000005368 silicate glass Substances 0.000 description 1
- 239000003238 silicate melt Substances 0.000 description 1
- 229910052911 sodium silicate Inorganic materials 0.000 description 1
- 238000004611 spectroscopical analysis Methods 0.000 description 1
- 238000005507 spraying Methods 0.000 description 1
- 239000004094 surface-active agent Substances 0.000 description 1
- 229910052645 tectosilicate Inorganic materials 0.000 description 1
- OGIDPMRJRNCKJF-UHFFFAOYSA-N titanium oxide Inorganic materials [Ti]=O OGIDPMRJRNCKJF-UHFFFAOYSA-N 0.000 description 1
- 239000002341 toxic gas Substances 0.000 description 1
- 238000005406 washing Methods 0.000 description 1
- XLYOFNOQVPJJNP-UHFFFAOYSA-N water Substances O XLYOFNOQVPJJNP-UHFFFAOYSA-N 0.000 description 1
- 235000014692 zinc oxide Nutrition 0.000 description 1
- 239000011787 zinc oxide Substances 0.000 description 1
Images
Landscapes
- Laminated Bodies (AREA)
- Paints Or Removers (AREA)
- Other Surface Treatments For Metallic Materials (AREA)
Abstract
Description
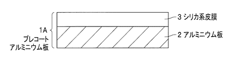
まず、図1を参照して、本発明に係るプレコートアルミニウム板の第1実施形態について説明する。図1に示すように、第1実施形態に係るプレコートアルミニウム板1Aは、アルミニウム板2の表面にシリカ系皮膜3を形成したものである。
ここで、プレコートアルミニウム板1Aは、図1に示すように、アルミニウム板2の片面のみをシリカ系皮膜3で被覆するものに限定されず、アルミニウム板2の両面を被覆するものであってもよい(図示省略)。目的に応じて被覆形態を選択することができる。
次に、図2を参照して、本発明に係るプレコートアルミニウム板の第2実施形態について説明する。図2に示すように、第2実施形態に係るプレコートアルミニウム板1Bは、アルミニウム板2の表面に、無機粒子コロイド4をさらに含むシリカ系皮膜3Bを形成したものである。
次に、図3を参照して、本発明に係るプレコートアルミニウム板の第3実施形態について説明する。図3に示すように、第3実施形態に係るプレコートアルミニウム板1Cは、アルミニウム板2の表面に顔料5を含むシリカ系皮膜3Cを形成したものである。
次に、図4を参照して、本発明に係るプレコートアルミニウム板の第4実施形態について説明する。図4に示すように、第4実施形態に係るプレコートアルミニウム板1Dは、アルミニウム板2とシリカ系皮膜3との間にアンダーコート皮膜6を形成したものである。
次に、図5を参照して、本発明に係るプレコートアルミニウム板の第5実施形態について説明する。図5に示すように、第5実施形態に係るプレコートアルミニウム板1Eは、シリカ系皮膜3の上にトップコート皮膜7を形成したものである。
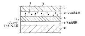
本発明においては、以上に説明した各実施形態および各構成を適宜に組み合わせることができる。例えば、図6に示す構成の第6実施形態に係るプレコートアルミニウム板1Fとすることもできる。図6に示すプレコートアルミニウム板1Fは、アルミニウム板2の表面に下地処理層8を形成し、その上にアンダーコート皮膜6を形成し、その上に無機粒子コロイド4、顔料5、ケイ酸塩化合物および水性樹脂を含むシリカ系皮膜3Fを形成し、その上にトップコート皮膜7を形成したものである。このようにすると、加工性に特に優れるとともに耐熱性に優れ、さらに意匠性の高いプレコートアルミニウム板を提供することができる。
シリカ系皮膜の膜厚の測定は、作製したプレコートアルミニウム板を大気雰囲気中、400℃で24時間加熱を行い、加熱前後の膜厚をグロー放電発光分光分析(GD−OES)法にて測定した。具体的には、GD−OES法によってシリカ系皮膜の表面からアルミニウム板に達する深さまで原子濃度(at%)を測定し、Alの原子濃度が50at%となる深さまでを膜厚と規定した。
そして、測定した加熱前後の膜厚を用いて、下記式(1)で皮膜残存率を求めた。
耐熱性の評価は、作製したプレコートアルミニウム板を大気雰囲気中、400℃で24時間加熱を行い、加熱前後の色差ΔE*abが12以上を不良(×)、12未満8以上を良好(○)、8未満を優良(◎)とした。色差ΔE*abは、色彩計を用いて測定した加熱前後の明度L*と色度a*、b*から下記式(2)により算出した。
加工性の評価は、JIS K5400に規定される5Tおよび3T180度曲げ加工を行い、5T180度曲げ加工部の皮膜がセロハンテープで剥離したものを不良(×)、5T180度曲げ加工部の皮膜がセロハンテープで剥離しないものを良好(○)、3T180度曲げ加工部の皮膜がセロハンテープで剥離しないものを優良(◎)とした。
供試材No.16は、シリカ系皮膜を大気雰囲気中、400℃で24時間加熱した後の皮膜残存率が80%を超えたため耐熱性と加工性が不良であった。
供試材No.17は、コロイダルシリカを含有したシリカ系皮膜であるが、シリカ系皮膜を大気雰囲気中、400℃で24時間加熱した後の皮膜残存率が80%を超えたため耐熱性と加工性が不良であった。
供試材No.18は、ウレタン樹脂の皮膜を形成したため、大気雰囲気中、400℃で24時間加熱したところ、有機成分が全て分解し、耐熱性が不良となった。
供試材No.19は、特許文献1に相当するものであり、シリカを含有したエポキシ樹脂の皮膜を形成した。そのため、大気雰囲気中、400℃で24時間加熱したところ、シリカは残留するものの、エポキシ樹脂が分解するため耐熱性が不良となった。
供試材No.20は、特許文献2に相当するものであり、粒子状充填材であるガラス粉末粒子と四フッ化系フッ素樹脂を含有した水ガラスの皮膜を形成した。そのため、耐熱性は良好であったが、加工性が不良となった。さらに、皮膜にフッ素樹脂を含んでいたので、大気雰囲気中、400℃で24時間加熱したところ、毒性の強いフッ素ガスが発生した。よって、安全性に劣っていた。
供試材No.21は、特許文献3に相当するものであり、アルミナフレークを含有したシリコーン樹脂の皮膜を形成した。そのため、耐熱性は良好であったが、加工性が不良となった。
供試材No.22は、シリコーン樹脂の皮膜の上にトップコート皮膜を形成したが、このような場合であっても加工性は不良であった。
供試材No.23は、シリコーン樹脂の皮膜の下にシリカ系のアンダーコート皮膜を形成したが、このような場合であっても加工性は不良であった。
2 アルミニウム板
3、3B、3C、3F シリカ系皮膜
4 無機粒子コロイド
5 顔料
6 アンダーコート皮膜
7 トップコート皮膜
8 下地処理層
Claims (5)
- 前記シリカ系皮膜が、無機粒子コロイドをさらに含むこと特徴とする請求項1に記載のプレコートアルミニウム板。
- 前記シリカ系皮膜が、顔料をさらに含むこと特徴とする請求項1または請求項2に記載のプレコートアルミニウム板。
- 前記アルミニウム板と前記シリカ系皮膜との間にアンダーコート皮膜を形成したことを特徴とする請求項1から請求項3のいずれか1項に記載のプレコートアルミニウム板。
- 前記シリカ系皮膜上にトップコート皮膜を形成したことを特徴とする請求項1から請求項4のいずれか1項に記載のプレコートアルミニウム板。
Priority Applications (1)
| Application Number | Priority Date | Filing Date | Title |
|---|---|---|---|
| JP2011057536A JP5777911B2 (ja) | 2011-03-16 | 2011-03-16 | プレコートアルミニウム板 |
Applications Claiming Priority (1)
| Application Number | Priority Date | Filing Date | Title |
|---|---|---|---|
| JP2011057536A JP5777911B2 (ja) | 2011-03-16 | 2011-03-16 | プレコートアルミニウム板 |
Publications (2)
| Publication Number | Publication Date |
|---|---|
| JP2012192582A true JP2012192582A (ja) | 2012-10-11 |
| JP5777911B2 JP5777911B2 (ja) | 2015-09-09 |
Family
ID=47084973
Family Applications (1)
| Application Number | Title | Priority Date | Filing Date |
|---|---|---|---|
| JP2011057536A Expired - Fee Related JP5777911B2 (ja) | 2011-03-16 | 2011-03-16 | プレコートアルミニウム板 |
Country Status (1)
| Country | Link |
|---|---|
| JP (1) | JP5777911B2 (ja) |
Citations (8)
| Publication number | Priority date | Publication date | Assignee | Title |
|---|---|---|---|---|
| JPH0433844A (ja) * | 1990-05-30 | 1992-02-05 | Nippon Steel Corp | 耐熱性,耐加熱変色性及び耐蝕性に優れた有機/無機複合鋼板 |
| JPH05125555A (ja) * | 1991-11-06 | 1993-05-21 | Furukawa Alum Co Ltd | プレス成形性に優れたプレコートフイン材 |
| JPH1136079A (ja) * | 1997-07-22 | 1999-02-09 | Kansai Paint Co Ltd | 金属表面処理組成物及びこの組成物による処理皮膜を形成した亜鉛系めっき鋼板 |
| WO2003085171A1 (fr) * | 2002-04-08 | 2003-10-16 | Nippon Steel Corporation | Plaque metallique thermostable dotee d'une excellente resistance aux eraflures et a la corrosion |
| WO2003093533A1 (en) * | 2002-04-16 | 2003-11-13 | Nippon Steel Corporation | Thermostabilized metal plate of high corrosion resistance, metal plate with organic coating and phosphated galvanized metal plate |
| JP2009214001A (ja) * | 2008-03-10 | 2009-09-24 | Mitsubishi Alum Co Ltd | 着色親水性被膜及びこれを用いたフィン材 |
| JP2009274379A (ja) * | 2008-05-16 | 2009-11-26 | Nippon Steel Corp | プレコート金属板及びその製造方法 |
| WO2010114135A1 (ja) * | 2009-03-30 | 2010-10-07 | 新日本製鐵株式会社 | プレコート金属板及びその製造方法 |
-
2011
- 2011-03-16 JP JP2011057536A patent/JP5777911B2/ja not_active Expired - Fee Related
Patent Citations (8)
| Publication number | Priority date | Publication date | Assignee | Title |
|---|---|---|---|---|
| JPH0433844A (ja) * | 1990-05-30 | 1992-02-05 | Nippon Steel Corp | 耐熱性,耐加熱変色性及び耐蝕性に優れた有機/無機複合鋼板 |
| JPH05125555A (ja) * | 1991-11-06 | 1993-05-21 | Furukawa Alum Co Ltd | プレス成形性に優れたプレコートフイン材 |
| JPH1136079A (ja) * | 1997-07-22 | 1999-02-09 | Kansai Paint Co Ltd | 金属表面処理組成物及びこの組成物による処理皮膜を形成した亜鉛系めっき鋼板 |
| WO2003085171A1 (fr) * | 2002-04-08 | 2003-10-16 | Nippon Steel Corporation | Plaque metallique thermostable dotee d'une excellente resistance aux eraflures et a la corrosion |
| WO2003093533A1 (en) * | 2002-04-16 | 2003-11-13 | Nippon Steel Corporation | Thermostabilized metal plate of high corrosion resistance, metal plate with organic coating and phosphated galvanized metal plate |
| JP2009214001A (ja) * | 2008-03-10 | 2009-09-24 | Mitsubishi Alum Co Ltd | 着色親水性被膜及びこれを用いたフィン材 |
| JP2009274379A (ja) * | 2008-05-16 | 2009-11-26 | Nippon Steel Corp | プレコート金属板及びその製造方法 |
| WO2010114135A1 (ja) * | 2009-03-30 | 2010-10-07 | 新日本製鐵株式会社 | プレコート金属板及びその製造方法 |
Also Published As
| Publication number | Publication date |
|---|---|
| JP5777911B2 (ja) | 2015-09-09 |
Similar Documents
| Publication | Publication Date | Title |
|---|---|---|
| KR101792081B1 (ko) | 1차 방청 도료 조성물, 및 그것을 도장하여 이루어지는 도장 강철구조물 | |
| TWI331085B (en) | Precoated metal sheet with excellent press-formability and production method thereof | |
| JP2008231418A (ja) | チタン・ジルコニウム膜形成用塗布剤、チタン・ジルコニウム膜形成方法及びチタン・ジルコニウム膜で被覆された金属基材 | |
| JP5572875B2 (ja) | 防錆皮膜 | |
| JP5135167B2 (ja) | アルミニウム塗装板 | |
| JP5777911B2 (ja) | プレコートアルミニウム板 | |
| JP5176890B2 (ja) | 塗装鋼板およびこれを用いてなる電子機器用筐体 | |
| JP5647587B2 (ja) | プレコート金属板 | |
| JP5416625B2 (ja) | プレコートアルミニウム板 | |
| WO2016208621A1 (ja) | 塗装鋼板 | |
| JP5480779B2 (ja) | プレコートアルミニウム板 | |
| JP2008290440A (ja) | 表面処理金属及びその製造方法と表面処理液 | |
| JP2013189542A (ja) | 塗料組成物およびこれを用いた塗料被覆金属材料 | |
| JP4319957B2 (ja) | 耐食性に優れるプレコート金属板 | |
| JP5424152B2 (ja) | 塗装ステンレス鋼板および水晶振動子製造用ジグ | |
| JP6619920B2 (ja) | プレコートアルミニウム材 | |
| JP5222491B2 (ja) | 表面処理鋼板 | |
| WO2024041599A1 (zh) | 用于镀锌钢板的无铬无机表面处理剂、成品镀锌钢板及其制造方法 | |
| JP2013060646A (ja) | スプレー塗布表面処理用組成物、表面処理溶融亜鉛めっき鋼板の製造方法、および表面処理溶融亜鉛めっき鋼板 | |
| JP4521764B2 (ja) | 離型性に優れた塗装金属板及びその製造方法 | |
| JP5661870B2 (ja) | プレコートアルミニウム板 | |
| JP2003213210A (ja) | 塗料組成物及び耐熱プレコート鋼板 | |
| JP6092591B2 (ja) | スプレー塗布表面処理用組成物、表面処理亜鉛めっき鋼板の製造方法、および表面処理亜鉛めっき鋼板 | |
| JP5987683B2 (ja) | 熱可逆変色性プレコート金属板及びその製造方法 | |
| CN103481584A (zh) | 薄膜黑色涂装金属板 |
Legal Events
| Date | Code | Title | Description |
|---|---|---|---|
| A621 | Written request for application examination |
Free format text: JAPANESE INTERMEDIATE CODE: A621 Effective date: 20130902 |
|
| A977 | Report on retrieval |
Free format text: JAPANESE INTERMEDIATE CODE: A971007 Effective date: 20140416 |
|
| A131 | Notification of reasons for refusal |
Free format text: JAPANESE INTERMEDIATE CODE: A131 Effective date: 20140422 |
|
| A521 | Written amendment |
Free format text: JAPANESE INTERMEDIATE CODE: A523 Effective date: 20140623 |
|
| A131 | Notification of reasons for refusal |
Free format text: JAPANESE INTERMEDIATE CODE: A131 Effective date: 20141216 |
|
| A521 | Written amendment |
Free format text: JAPANESE INTERMEDIATE CODE: A523 Effective date: 20150130 |
|
| TRDD | Decision of grant or rejection written | ||
| A01 | Written decision to grant a patent or to grant a registration (utility model) |
Free format text: JAPANESE INTERMEDIATE CODE: A01 Effective date: 20150630 |
|
| A61 | First payment of annual fees (during grant procedure) |
Free format text: JAPANESE INTERMEDIATE CODE: A61 Effective date: 20150708 |
|
| R150 | Certificate of patent or registration of utility model |
Ref document number: 5777911 Country of ref document: JP Free format text: JAPANESE INTERMEDIATE CODE: R150 |
|
| LAPS | Cancellation because of no payment of annual fees |
