JP2012166366A - ノズルプレート、液滴吐出ヘッド及び液滴吐出装置 - Google Patents

ノズルプレート、液滴吐出ヘッド及び液滴吐出装置 Download PDF

Info

Publication number
JP2012166366A
JP2012166366A JP2011027024A JP2011027024A JP2012166366A JP 2012166366 A JP2012166366 A JP 2012166366A JP 2011027024 A JP2011027024 A JP 2011027024A JP 2011027024 A JP2011027024 A JP 2011027024A JP 2012166366 A JP2012166366 A JP 2012166366A
Authority
JP
Japan
Prior art keywords
sio
nozzle plate
nozzle
fluorine
coating
Prior art date
Legal status (The legal status is an assumption and is not a legal conclusion. Google has not performed a legal analysis and makes no representation as to the accuracy of the status listed.)
Withdrawn
Application number
JP2011027024A
Other languages
English (en)
Inventor
Susumu Cho
軍 張
Current Assignee (The listed assignees may be inaccurate. Google has not performed a legal analysis and makes no representation or warranty as to the accuracy of the list.)
Ricoh Co Ltd
Original Assignee
Ricoh Co Ltd
Priority date (The priority date is an assumption and is not a legal conclusion. Google has not performed a legal analysis and makes no representation as to the accuracy of the date listed.)
Filing date
Publication date
Application filed by Ricoh Co Ltd filed Critical Ricoh Co Ltd
Priority to JP2011027024A priority Critical patent/JP2012166366A/ja
Publication of JP2012166366A publication Critical patent/JP2012166366A/ja
Withdrawn legal-status Critical Current

Links

Images

Landscapes

  • Particle Formation And Scattering Control In Inkjet Printers (AREA)

Abstract

【課題】SiO2被膜とフッ素系撥水被膜との密着性を高めて耐ワイピング性能を向上できるノズルプレート、このノズルプレートを有する液滴吐出ヘッド、及び、この液滴吐出ヘッドを有する液滴吐出装置を提供する。
【解決手段】ノズル板43は、ノズルプレート121と、被膜積層体125と、を有している。この被膜積層体125は、SiO2薄膜層122とフッ素系撥水層123とを順次重ねて形成されており、さらに、当該被膜積層体125に内包されるとともにSiO2薄膜層122とフッ素系撥水層123とにまたがるように配置された多数のSiO2粒子124が設けられている。
【選択図】図1

Description

本発明は、液滴を吐出するノズルプレート、前記ノズルプレートを有する液滴吐出ヘッド、及び、前記液滴吐出ヘッドを有する液滴吐出装置に関する。
プリンタ、複写機、複合機等の画像形成装置に用いられるインクジェットヘッドにおいては、ノズルからインク滴(液滴)を吐出させて記録を行うため、ノズルの形状、精度がインク滴の噴射特性に大きな影響を与える。また、ノズル孔を形成しているノズル形成部材の表面の特性もインク滴の噴射特性に影響を与えることが知られている。例えば、ノズル形成部材表面のノズル孔周辺部にインクが付着して不均一なインクだまりが発生すると、インク滴の吐出方向が曲げられたり、インク滴の大きさにバラツキが生じたり、インク滴の飛翔速度が不安定になる等の不都合が生じることが知られている。そこで、インクジェットヘッドにおいては、ノズルの吐出側表面に撥水層(撥インク層)を形成して撥水性(撥インク性)を持たせ、ノズル形成部材の表面の均一性を高め、インク滴の飛翔特性の安定化を図るようにすることが必要である。
ところで、樹脂材料をノズル形成部材として使用する場合、撥水層を樹脂材料の表面に形成することになるが、樹脂材料と撥水剤(撥インク剤)との密着性が悪いという問題があった。すなわち、塗布後の初期には撥水性は得られているが、ノズル形成部材表面やノズル開口部に付着したインク滴やゴミ等の除去のために行われるワイピングによって表面が擦られるため、密着性が十分でない分、徐々に撥水層の剥がれが発生し、撥水性が劣化してしまうという問題があった。
上述のような問題を解決するために、例えば、特許文献1に開示されたノズル形成部材は、熱硬化性ポリイミドなどの有機樹脂部材とコバール材などの高剛性部材とを熱可塑性ポリイミド接着剤で接合し、有機樹脂部材の表面に有機物系の微粒子を含む微粒子層と撥水層とを順次積層して形成されることにより、有機樹脂部材の表面に微粒子層を介して撥水層を形成して、密着性を高めて耐ワイピング性能を高めていた。しかしながら、このような構成においては、微粒子層内の微粒子の均一分布の制御が難しいので、ノズル形成部材と撥水層との密着性を十分に得ることが難しく、また、微粒子層を形成するために、アンダーコートなどの工程が必要になり、製造コストが高くなってしまうという問題があった。
そこで、特許文献2に開示されたノズル形成部材は、樹脂部材と高剛性部材とを熱可塑性接着剤で接合し、樹脂部材の表面にSiO2薄膜層とフッ素系撥水層とを順次積層して形成されることにより、上記微粒子層を不要とするものであったが、SiO2薄膜層とフッ素系撥水層との密着性が十分に得られず、そのため、十分な耐ワイピング性能を得ることができず、上述した撥水性が劣化してしまうという問題を十分に解決するものではなかった。
本発明は、上記課題に係る問題を解決することを目的としている。即ち、本発明は、SiO2被膜とフッ素系撥水被膜との密着性を高めて耐ワイピング性能を向上できるノズルプレート、このノズルプレートを有する液滴吐出ヘッド、及び、この液滴吐出ヘッドを有する液滴吐出装置を提供することを目的としている。
インクジェットヘッドに用いられるノズルプレートは、その表面の研磨方法として、例えば、テープ研磨や電解研磨などが一般的に用いられており、微粒子を含む研磨剤を用いた研磨方法は、表面に研磨剤が残留してコンタミネーションが生じてしまうので、従来用いられることがなかった。また、表面の研磨に伴って微細凹凸(オレンジピール)が生じてしまったノズルプレートは、従来不良品と判定されていた。
そして、本発明者らは、従来、回避されていた上記研磨剤の残留及びオレンジピールに着目して、鋭意検討を重ねた結果、これらを積極的に利用することにより、ノズルプレートの撥水層の密着性を向上できることを見出し、本発明に至った。
請求項1に記載された発明は、上記目的を達成するために、薄板状の金属で構成されたプレート基材と、前記プレート基材の表面に酸化ケイ素で構成されたSiO2被膜とフッ素系撥水材料で構成されたフッ素系撥水被膜とを順次重ねて形成された被膜積層体と、を有するノズルプレートにおいて、前記被膜積層体には、当該被膜積層体に内包されるとともに前記SiO2被膜と前記フッ素系撥水被膜とにまたがるように配置された多数の酸化金属粒が設けられていることを特徴とするノズルプレートである。
請求項2に記載された発明は、請求項1に記載された発明において、前記酸化金属粒が、前記プレート基材の表面に突き刺されて設けられていることを特徴とするものである。
請求項3に記載された発明は、請求項1又は2に記載された発明において、前記酸化金属粒が、酸化ケイ素、又は、酸化アルミニウムで構成されていることを特徴とするものである。
請求項4に記載された発明は、請求項1〜3のいずれか一項に記載された発明において、前記プレート基材の表面には、オレンジピールが形成されていることを特徴とするものである。
請求項5に記載された発明は、上記目的を達成するために、液滴を吐出するノズルを有するノズルプレートと、前記ノズルが連通する液室と、を有する、前記液室の容積を変化させて前記ノズルから液滴を吐出させる、液滴吐出ヘッドにおいて、前記ノズルプレートが、請求項1〜4のいずれか一項に記載のノズルプレートで構成されていることを特徴とする液滴吐出ヘッドである。
請求項6に記載された発明は、上記目的を達成するために、液滴吐出ヘッドを有する液滴吐出装置において、前記液滴吐出ヘッドが、請求項5に記載の液滴吐出ヘッドで構成されていることを特徴とする液滴吐出装置である。
請求項1に記載された発明によれば、酸化ケイ素で構成されたSiO2被膜とフッ素系撥水材料で構成されたフッ素系撥水被膜とを順次重ねて形成された被膜積層体には、当該被膜積層体に内包されるとともにSiO2被膜とフッ素系撥水被膜とにまたがるように配置された多数の酸化金属粒が設けられているので、これら多数の酸化金属粒が鎹(かすがい)となって、SiO2被膜とフッ素系撥水被膜とを強固に密着させ、そのため、SiO2被膜とフッ素系撥水被膜との密着性を高めることができ、耐ワイピング性能を向上できる。
請求項2に記載された発明によれば、酸化金属粒が、プレート基材の表面に突き刺されて設けられているので、酸化金属粒が錨(いかり)となって、プレート基材と被膜積層体とを強固に密着させて、プレート基材と被膜積層体との密着性を高めることができ、耐ワイピング性能をさらに向上できる。
請求項3に記載された発明によれば、酸化金属粒が、酸化ケイ素、又は、酸化アルミニウムで構成されているので、酸化ケイ素、又は、酸化アルミニウムはフッ素系撥水材料との結合性がよく、そのため、SiO2被膜とフッ素系撥水被膜とをより強固に密着させることができる。
請求項4に記載された発明によれば、被膜積層体が重ねられるプレート基材の表面には、オレンジピール、即ち、微細凹凸が設けられているので、プレート基材表面が極めて平坦な場合に比べて、プレート基材表面の微細凹凸と被膜積層体とが噛み合い、そのため、プレート基材と被膜積層体とをより強固に密着させることができる。
請求項5に記載された発明によれば、液滴吐出ヘッドが有するノズルプレートが、請求項1〜4のいずれか一項に記載のノズルプレートで構成されているので、ノズルプレートにおける耐ワイピング性能を向上でき、耐久性を高めることができる。
請求項6に記載された発明によれば、液滴吐出装置が有する液滴吐出ヘッドが、請求項5に記載の液滴吐出ヘッドで構成されているので、液滴吐出ヘッドのノズルプレートの耐ワイピング性能を向上でき、耐久性を高めることができる。
本発明のノズルプレートの一実施形態であるノズル板を模式的に示す断面図である。 図1のノズル板を構成するプレート基材表面の粗さのプロファイルの一例を示すグラフである。 図1のノズル板を構成するプレート基材の研磨加工に用いられる平面研磨機の一部を模式的に示す図である。 (a)〜(e)は、図1のノズル板の製造工程を模式的に示した図である。 図1のノズル板を製造する際に使用する装置について概要を示す図である。 本発明に係る液滴吐出装置の一実施形態であるインクジェット記録装置の機構部の概略斜視図である。 図6に示したインクジェット記録装置の機構部の側面図である。 図6に示したインクジェットヘッドの分解斜視図である。 図6に示したインクジェットヘッドの振動板長手方向に沿う断面図である。 図6に示したインクジェットヘッドの振動板長手方向に沿う要部断面図である。 図6に示したインクジェットヘッドの振動板短手方向に沿う要部断面図である。
以下、本発明に係るノズルプレートの一実施形態であるノズル板43について、図1〜図5を参照して説明する。
ノズル板43は、図1に模式的に示すように、プレート基材121と、SiO2薄膜層122、フッ素系撥水層123、及び、多数のSiO2粒子124を有する被膜積層体125と、を有して構成されている。
プレート基材121は、例えば、ステンレスやニッケルなどの金属を薄板状に延ばし、帯状に打ち抜いて形成されている。本実施形態では、プレート基材121を、ステンレスSUS316Lを用いて、縦180mm、横135mm、厚み0.05mmの薄帯板形状に形成している。勿論、このようなプレート基材121の形状は一例であって、本発明の目的に反しない限り、プレート基材の形状は任意である。
このプレート基材121は、その表面121aに対して後述する研磨加工を行うことにより、微細凹凸、即ち、オレンジピール135が形成されている。このオレンジピール135とは、研磨加工により加工対象物表面に生じた丸みを帯びた無数の波状の凹凸のことであり、本実施形態においては、表面最大粗さが0.12μmRt程度である。図2にオレンジピール135が生じたプレート基材121の表面121aにおける粗さのプロファイルの一例を示す。後述するように、プレート基材121は図3の平面研磨機を用いて研磨加工が施されるため、加工中にプレート基材121の片あたりは生じにくく、プレート基材全面にオレンジピールが発生することとなる。オレンジピールと呼ばれる微細凹凸の周期や幅などは研磨加工条件に大きく依存する。図2に示されているように、本実施形態において、微細凹凸の周期としては、100μm〜500μmである。
プレート基材121の表面121aは、図3に一部を模式的に示す平面研磨機を用いて研磨加工が施される。本実施形態では、平均粒径100nmのSiO2粒子を含む研磨剤を表面121a上に適量滴下するとともに、発泡ポリウレタンからなる円板状の研磨パッド(MH−C14B:日本ニッタ・ハース製)を表面121aに当接させ、研磨パッドを回転させ、さらに、プレート基材121も回転させて、平坦化研磨を実施したのち、余分な研磨剤を洗浄除去する。オレンジピールを発生させるために、研磨圧力は重要である。プレート基材121であるSUS316Lの場合、研磨圧力を高くすれば、よりオレンジピールが発生しやすいが、材料自体が伸びやすいため、本実施形態では、研磨圧力を7kPaに設定した。この研磨加工を行うことで、表面121aにオレンジピール135が形成されると共に、研磨剤に含まれるSiO2粒子の一部が表面121a上に残留する。この残留した多数のSiO2粒子が、被膜積層体125を構成する酸化金属粒としてのSiO2粒子124となる。SiO2粒子124は、研磨加工時に上方から表面121aに向けて圧力をかけられるので、表面121aにその一部を突き刺されて、つまり、SiO2粒子124の一部が埋没されて、表面121a上に存在している。研磨剤としては、SiO2粒子以外にも、アルミナ(酸化アルミニウム)粒子など酸化金属粒を含むものであれば、本発明の目的に反しない限り、研磨剤の種類は任意である。
SiO2薄膜層122は、請求項中のSiO2被膜に相当し、プレート基材121の表面121aに重ねて形成されている。SiO2薄膜層122は、真空チャンバ内でのスパッタリングによって、プレート基材121の表面121a上にSi膜を形成したあと、Si膜の表面にO2イオンを当てることで形成している。SiO2薄膜層122の膜厚は、数Å〜1000Å程度が適しており、本実施形態では、80nm(800Å)に形成している。これにより、SiO2薄膜層122が形成されると、平均粒径100nmのSiO2粒子124の一部(図1において上部分)が、SiO2薄膜層122より突き出した状態となる。
フッ素系撥水層123は、請求項中のフッ素系撥水材料層に相当し、例えば、パールフオロポリオキセタン、変形パーフルオロポリオキセタン、又は、これらの混合物などのフッ素非晶質化合物などのフッ素系撥水材料を、SiO2薄膜層122の表面に重ねて形成している。本実施形態では、「オプツールDSX」(ダイキン工業製)を用いた(「アルコキシシラン末端変成パーフルオロポリエーテル」と称されることもある)。フッ素系撥水層123は、スピンコータ、ロールコータ、スクリーン印刷、スプレーコータなどの塗布方法により、SiO2薄膜層122の表面に塗布形成することも可能であるが、真空蒸着で成膜することにより、SiO2薄膜層122との密着性をより向上させることができる。フッ素系撥水層123は、SiO2薄膜層122を形成した後、引き続き真空チャンバ内で真空蒸着を行うことで、SiO2薄膜層122とフッ素系撥水層123との密着性をより高めることができる。本実施形態において、フッ素系撥水層123は、SiO2薄膜層122より突き出したSiO2粒子124の上記一部を完全に覆うように、膜厚が50nmに形成されている。つまり、SiO2粒子124は、当該被膜積層体125に内包されるとともに前記SiO2薄膜層122とフッ素系撥水層123とにまたがるように配置されている。
このノズル板43の被膜積層体125では、SiO2粒子124が、SiO2薄膜層122とフッ素系撥水層123とにまたがって配置されているので、SiO2粒子124が、これら両層を強固に結びつける鎹(かすがい)のように機能する。また、SiO2粒子124が、被膜積層体125に内包されているので、表面の平坦性を確保できる。
さらに、SiO2粒子124が、プレート基材121の表面121aにその一部を突き刺されて設けられているので、SiO2粒子124が、被膜積層体125を表面121aに強固に結びつける錨(いかり)のように機能する。
さらに、プレート基材121の表面121aにオレンジピール135が設けられているので、SiO2薄膜層122はオレンジピール135内に入り込み、プレート基材121とSiO2薄膜層122とが互いに噛み合って密着される。
上述したノズル板43の製造方法について、ノズル板製造工程を模式的に示した図4(a)〜(e)を参照して説明する。
図4(a)に示すように、プレート基材121となるSUS316を圧延機で所望の厚みとなるように薄く引き延ばした後、図4(b)に示すように、プレス加工によって所定の箇所にノズル孔44の半抜き形状を形成する。このプレス加工では、先端径φ22μmの円柱形状のポンチを用いた。そして、図4(c)に示すように、図3の平面研磨機を用いてプレート基材121の表面121aを研磨加工して、プレート基材121を貫通するノズル孔44を形成する。またこの研磨加工により、プレート基材121の表面121aには、オレンジピール135が形成されるとともに研磨剤に含まれるSiO2粒子124が表面121aに突き刺された状態で残留する。
そして、図4(d)に示すように、プレート基材121の表面121a上にSiO2薄膜層122を形成する。このSiO2薄膜層122の形成は真空チャンバ内で行われるスパッタリング工法が適しており、ここでは80nmの厚みに形成している。SiO2薄膜層122の厚みを80nmにすることによって、表面121aに残留した平均粒径100nmのSiO2粒子が、その一部をSiO2薄膜層122から突き出した状態となる。ここで、スパッタリングの方法としては、Siをスパッタした後、Si表面にO2イオンを当てることでSiO2膜を形成する方法を用いることが、SiO2膜のプレート基材121への密着力が向上すると共に、均質で緻密な膜が得られ、撥水膜のワイピング耐久性向上により効果的である。
そして、図4(e)に示すように、SiO2薄膜層122上にフッ素系撥水層123を形成する。このフッ素系撥水層123は、フッ素系撥水材料を真空蒸着して成膜する方法が撥水膜の密着性を向上させることにつながるので、より効果的である。また、その真空蒸着は、図4(d)でのSiO2薄膜層122を形成した後、そのまま真空チャンバ内で実施することでさらに良い効果が得られることもわかった。すなわち、従来は、SiO2薄膜層122を形成後、一旦真空チャンバからワークを取り出すと、不純物などが表面に付着することにより密着性が損なわれるものと考えられる。なお、フッ素系撥水材料については、いろいろな材料が知られているが、ここでは、フッ素非晶質化合物としてパーフルオロポリオキセタンまたは変形パーフルオロポリオキセタンまたは双方の混合物を使用することで、インクに対する必要な撥水性を得ることができる。フッ素系撥水材料をSiO2薄膜層122上に蒸着したあとに空中放置することで、フッ素系撥水材料とSiO2薄膜層122とが、空気中の水分を仲介として化学的結合をし、フッ素系撥水層123が形成される。このようにして、ノズル板43が製造される。
図5は、ノズル板を製造する際に使用する装置について概要を示す図で、この装置200は、USAのOCLI(OPTICAL COATING LABORATORY INC.)が開発した、「メタモードプロセス」と呼ばれる工法を装置化したものであり、上記ノズル板の製造以外にも、ディスプレイなどの反射防止・防汚膜の作製に使用されている。図にあるように、ドラム201の周囲4個所にステーションであるSiスパッタ202、O2イオンガン203、Nbスパッタ204、オプツール蒸着205が配置されて、全体が真空引きできるチャンバの中にある。先ずSiスパッタ202によりSiをスパッタし、その後、O2イオンガン203によりO2イオンをSiに当ててSiO2とする。そのあとNbスパッタ204、オプツール蒸着205でNb、オプツールDSXを適宜蒸着する。反射防止膜の場合は、NbとSiO2を所定の厚さで必要層数重ねた後蒸着することになる。本発明の場合は、反射防止膜の機能は必要ないので、Nbは不要でSiO2、オプツールDSXを1層ずつつければ良い。この装置を使用することで、上述したように、SiO2薄膜層122を形成した後、そのまま真空チャンバ内でオプツールDSXの真空蒸着を実施するのが可能となる。
以上より、本発明によれば、SiO2薄膜層122とフッ素系撥水層123とを順次重ねて形成された被膜積層体125には、当該被膜積層体125に内包されるとともにSiO2薄膜層122とフッ素系撥水層123とにまたがるように配置された多数のSiO2粒子124が設けられているので、これら多数のSiO2粒子124が鎹(かすがい)となって、SiO2薄膜層122とフッ素系撥水層123とを強固に密着させ、そのため、SiO2薄膜層122とフッ素系撥水層123との密着性(接合強度又は剥がれにくさともいう)を高めることができ、耐ワイピング性能を向上できる。また、SiO2粒子124が、被膜積層体125に内包されているので、表面の平坦性を確保できる。
また、SiO2粒子124が、プレート基材121の表面に突き刺して設けられているので、SiO2粒子124が錨(いかり)となって、プレート基材121と被膜積層体125とを強固に密着させて、プレート基材121と被膜積層体125との密着性を高めることができ、耐ワイピング性能をさらに向上できる。
また、SiO2粒子124は、フッ素系撥水材料との結合性がよく、そのため、SiO2薄膜層122とフッ素系撥水層123とをより強固に密着させることができる。
また、被膜積層体125が重ねられるプレート基材121の表面121aには、オレンジピール135(即ち、微細凹凸)が設けられているので、プレート基材表面121aが極めて平坦な場合に比べて、プレート基材表面121aのオレンジピール135と被膜積層体125とが噛み合い、そのため、プレート基材121と被膜積層体125とをより強固に密着させることができる。
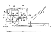
次に、本発明の液滴吐出装置の一実施形態であるインクジェット記録装置について図6、図7を参照して説明する。図6は、インクジェット記録装置の機構部の概略斜視図、図7は、同機構部の側面図である。
図6、図7に示すインクジェット記録装置1は、その内部に主走査方向に移動可能なキャリッジ、キャリッジに搭載したインクジェットヘッドからなる記録ヘッド、記録ヘッドへのインクを供給するインクカートリッジ等で構成される印字機構部2等を収納し、給紙カセット4或いは手差しトレイ5から給送される用紙3を取り込み、印字機構部2によって所要の画像を記録した後、後面側に装着された排紙トレイ6に排紙する。
印字機構部2は、図示しない左右の側板に横架したガイド部材である主ガイドロッド11と従ガイドロッド12とでキャリッジ13を主走査方向(図7で紙面垂直方向)に摺動自在に保持し、このキャリッジ13にはイエロー(Y)、シアン(C)、マゼンタ(M)、ブラック(Bk)の各色のインク滴(液滴)を吐出するインクジェットヘッドからなるインクジェットヘッド14をインク滴吐出方向を下方に向けて装着し、キャリッジ13の上側にはインクジェットヘッド14に各色のインクを供給するための各インクタンク(インクカートリッジ)15を交換可能に装着している。
インクカートリッジ15は上方に大気と連通する大気口、下方にはインクジェットヘッド14へインクを供給する供給口を、内部にはインクが充填された多孔質体を有しており、多孔質体の毛管力によりインクジェットヘッド14へ供給されるインクをわずかな負圧に維持している。このインクカートリッジ15からインクをインクジェットヘッド14内に供給する。
ここで、キャリッジ13は後方側(用紙搬送方向下流側)を主ガイドロッド11に摺動自在に装着し、前方側(用紙搬送方向上流側)を従ガイドロッド12に摺動自在に載置している。そして、このキャリッジ13を主走査方向に移動走査するため、主走査モータ17で回転駆動される駆動プーリ18と従動プーリ19との間にタイミングベルト20を張装し、このタイミングベルト20をキャリッジ13に固定しており、主走査モータ17の正逆回転によりキャリッジ13が往復駆動される。
また、記録ヘッドとしてここでは各色のインクジェットヘッド14を用いているが、各色のインク滴を吐出するノズルを有する1個のインクジェットヘッドでもよい。さらに、インクジェットヘッド14としては、後述するように、インク流路の壁面の少なくとも一部を形成する振動板とこれに対向する電極とを備え、静電力で振動板を変形変位させてインクを加圧する静電型インクジェットヘッドを用いている。
一方、給紙カセット4にセットした用紙3をインクジェットヘッド14の下方側に搬送するために、給紙カセット4から用紙3を分離給装する給紙ローラ21及びフリクションパッド22と、用紙3を案内するガイド部材23と、給紙された用紙3を反転させて搬送する搬送ローラ24と、この搬送ローラ24の周面に押し付けられる搬送コロ25、及び、搬送ローラ24からの用紙3の送り出し角度を規定する先端コロ26とを設けている。搬送ローラ24は副走査モータ27によってギヤ列を介して回転駆動される。
そして、キャリッジ13の主走査方向の移動範囲に対応して搬送ローラ24から送り出された用紙3をインクジェットヘッド14の下方側で案内する用紙ガイド部材である印写受け部材29を設けている。この印写受け部材29の用紙搬送方向下流側には、用紙3を排紙方向へ送り出すために回転駆動される搬送コロ31、拍車32を設け、さらに、用紙3を排紙トレイ6に送り出す排紙ローラ33及び拍車34と、排紙経路を形成するガイド部材35、36とを配設している。
記録時には、キャリッジ13を移動させながら画像信号に応じてインクジェットヘッド14を駆動することにより、停止している用紙3にインクを吐出して1行分を記録し、用紙3を所定量搬送後、次の行の記録を行う。記録終了信号または、用紙3の後端が記録領域に到達した信号を受けることにより、記録動作を終了させ用紙3を排紙する。
また、キャリッジ13の移動方向右端側の記録領域を外れた位置には、インクジェットヘッド14の吐出不良を回復するための回復装置37を配置している。回復装置37は、キャップ手段と吸引手段とクリーニング手段を有している。キャリッジ13は印字待機中にはこの回復装置37側に移動されてキャッピング手段でインクジェットヘッド14をキャッピングされ、吐出口部(ノズル孔)を湿潤状態に保つことによりインク乾燥による吐出不良を防止する。また、記録途中などに記録と関係しないインクを吐出する(パージする)ことにより、全ての吐出口のインク粘度を一定にし、安定した吐出性能を維持する。
吐出不良が発生した場合等には、キャッピング手段でインクジェットヘッド14の吐出口(ノズル)を密封し、チューブを通して吸引手段で吐出口からインクとともに気泡等を吸い出し、吐出口面に付着したインクやゴミ等をクリーニング手段により除去し吐出不良を回復する。また、吸引されたインクは、本体下部に設置された廃インク溜(不図示)に排出され、廃インク溜内部のインク吸収体に吸収保持される。
次に、本発明の液滴吐出ヘッドの一実施形態であるインクジェットヘッドについて図8〜図11を参照して説明する。ここで、図8は、図6に示したインクジェットヘッドの分解斜視図、図9は、同ヘッドの振動板長手方向に沿う断面図、図10は、同ヘッドの振動板長手方向に沿う要部断面図、図11は、同ヘッドの振動板短手方向に沿う要部断面図である。
図6に示したインクジェット記録装置1のヘッド14を構成するインクジェットヘッド40は、単結晶シリコン基板、多結晶シリコン基板、SOI基板などのシリコン基板等を用いた第一基板である流路基板41と、この流路基板41の下側に設けたシリコン基板、パイレックス(登録商標)ガラス基板、セラミックス基板等を用いた第二基板である電極基板42と、流路基板41の上側に設けた第三基板である上述したノズル板43とを備え、複数のインク滴を吐出するノズル孔44、各ノズル孔44が連通するインク流路である加圧室46、各加圧室46にインク供給路を兼ねた流体抵抗部47を介して連通する共通液室流路48などを形成している。図8〜図11において、インクジェットヘッド40は、ノズル板43を図中上方に向けて配置されているが、上述したインクジェット記録装置1の内部に組み付けられたときは、ノズル板43を下方に向けて配置される。
流路基板41には加圧室46及びこの加圧室46の壁面である底部をなす第1電極を兼ねた振動板50を形成する凹部を形成し、ノズル板43には流体抵抗部47を形成する溝を形成し、また流路基板41と電極基板42には共通液室流路48を形成する貫通部を形成している。
ここで、流路基板41は、例えば、単結晶シリコン基板を用いた場合、振動板の厚さに予めボロンを注入してエッチングストップ層となる高濃度ボロン層を形成し、電極基板42と接合した後、加圧室46となる凹部をKOH水溶液などのエッチング液を用いて異方性エッチングすることにより、高濃度ボロン層がエッチングストップ層となって振動板50が高精度に形成される。また、多結晶シリコン基板で振動板50を形成する場合は、液室基板上に振動板となる多結晶シリコン薄膜を形成する方法、または、予め電極基板42を犠牲材料で平坦化し、その上に多結晶シリコン薄膜を成膜した後、犠牲材料を除去する方法で形成できる。
なお、振動板50に別途電極膜を形成してもよいが、ここでは、上述したように、不純物の拡散などによって振動板が電極を兼ねるようにしている。また、振動板50の電極基板42側の面に絶縁膜を形成することもできる。この絶縁膜としてはSiO2等の酸化膜系絶縁膜、Si34等の窒化膜系絶縁膜などを用いることができる。絶縁膜の成膜は、振動板表面を熱酸化して酸化膜を形成したり、成膜手法を用いたりすることができる。
さらに、この流路基板41には共通電極を設けている。この共通電極は、Al等の金属をスパッタしてシンタリング(熱拡散)することにより付設しており、流路基板41との導通を確保して、半導体基板よりなる流路基板41とオーミックコンタクトを取っている。
また、電極基板42には酸化膜層42aを形成し、この酸化膜層42aの部分に凹部54を形成して、この凹部54の底面に振動板50に対向する第2電極である電極55を設け、振動板50と電極55との間に所定のギャップ56(ここでは、ギャップ0.2μmとしている)を形成し、これらの振動板50と電極55とによってアクチュエータ部を構成している。なお、電極55の表面にはSiO2膜などの酸化膜系絶縁膜、Si34膜などの窒化膜系絶縁膜からなる電極保護膜57を成膜しているが、電極55の表面に電極保護膜57を形成しないで、振動板50の側に絶縁膜を形成することもできる。
これらの流路基板41と電極基板42との接合は、接着剤による接合も可能であるが、より信頼性の高い物理的な接合、例えば、電極基板42がシリコンで形成される場合、酸化膜を介した直接接合法を用いることができる。この直接接合は1000℃程度の高温下で実施する。また、電極基板42がガラスの場合、陽極接合を行うことができる。電極基板42をシリコンで形成して、陽極接合を行う場合には、電極基板42と流路基板41との間にパイレックス(登録商標)ガラスを成膜し、この膜を介して陽極接合を行うこともできる。さらに、流路基板41と電極基板42にシリコン基板を使用して金等のバインダーを接合面に介在させた共晶接合で接合することもできる。
また、電極基板42の電極55としては、通常、半導体素子の形成プロセスで一般的に用いられるAl、Cr、Ni等の金属材料や、Ti、TiN、W等の高融点金属、または不純物により低抵抗化した多結晶シリコン材料などを用いることができる。電極基板42をシリコンウエハで形成する場合には、電極基板42と電極55との間には絶縁層(上述した酸化膜層42a)を形成する必要がある。電極基板42にガラス等の絶縁性材料を用いる場合には電極55との間に絶縁層を形成する必要はない。
また、電極基板42にシリコン基板を用いる場合、電極55としては、不純物拡散領域を用いることができる。この場合、拡散に用いる不純物は基板シリコンの導電型と反対の導電型を示す不純物を用い、拡散領域周辺にpn接合を形成し、電極55と電極基板42とを電気的に絶縁する。
ノズル板43は多数のノズル孔44を二列配置して形成したものであり、吐出面(図8〜図11において上方を向く面)には撥水処理を施している。このノズル板43は、上述したように複層部材からなる。このノズル板43は流路基板41に接着剤にて接合している。
このように、このインクジェットヘッド40ではノズル孔44を二列配置し、この各ノズル孔44に対応して加圧室46、振動板50、電極55なども二列配置し、各ノズル列の中央部に共通液室流路48を配置して、左右の加圧室46にインクを供給する構成を採用している。これにより、簡単なヘッド構成で多数のノズルを有するマルチノズルヘッドを構成することができる。
そして、インクジェットヘッド40の電極55は外部に延設して接続部(電極パッド部)55aとし、これにヘッド駆動回路であるドライバIC60を搭載したFPCケーブル61を異方性導電膜などを介して接続している。このとき、電極基板42とノズル板43との間は、図9に示すように、エポキシ樹脂等の接着剤を用いたギャップ封止剤62にて気密封止している。
さらに、インクジェットヘッド40全体をフレーム部材65上に接着剤で接合している。このフレーム部材65にはインクジェットヘッド40の共通液室流路48に外部からインクを供給するためのインク供給穴66を形成しており、また、FPCケーブル61等はフレーム部材65に形成した穴部67に収納される。
このフレーム部材65とノズル板43との間は、図9に示すように、エポキシ樹脂等の接着剤を用いたギャップ封止剤68にて封止し、撥水性を有するノズル板43の吐出面等のインクが電極基板42やFPCケーブル61等に回り込むことを防止している。
そして、このインクジェットヘッド40のフレーム部材65にはインクカートリッジ15とのジョイント部材70が連結されて、フィルタ71を介してインクカートリッジ15からインク供給穴66を通じて共通液室流路48にインクが供給される。
このインクジェットヘッド40においては、振動板50を共通電極とし、電極55を個別電極として、振動板50と電極55との間に駆動電圧を印加することによって、振動板50と電極55との間に発生する静電力によって振動板50が電極55側に変形変位し、この状態から振動板50と電極55との間の電荷を放電させることによって振動板50が復帰変形して、加圧室46の内容積(体積)/圧力が変化することによって、ノズル孔44からインク滴が吐出される。加圧室46は、請求項中の液室に相当する。
すなわち、個別電極とする電極55にパルス電圧を印加すると、共通電極となる振動板50との間に電位差が生じて、個別電極55と振動板50の間に静電力が生じる。この結果、振動板50は印加した電圧の大きさに応じて変位する。その後、印加したパルス電圧を立ち下げることで、振動板50の変位が復元して、その復元力により加圧室46内の圧力が高くなり、ノズル孔44からインク滴が吐出される。
以上より、本発明によれば、インクジェットヘッド40が、上述したノズル板43を有するので、ノズル板43における耐ワイピング性能を向上でき、耐久性を高めることができる。
また、インクジェット記録装置1が、上述したインクジェットヘッド40を有するので、インクジェットヘッド40のノズル板43の耐ワイピング性能を向上でき、耐久性を高めることができる。
上述した実施形態は、インクジェット記録装置、このインクジェット記録装置が有するインクジェットヘッド、及び、このインクジェットヘッドが有するノズル板について説明するものであったが、これに限定されるものではない。例えば、DNAの試料やプリント基板製造などに用いられる液体レジストなどを液滴として吐出する液滴吐出装置、この液滴吐出装置が有する液滴吐出ヘッド、及び、この液滴吐出ヘッドが有するノズルプレートなどであってもよく、本発明の目的に反しない限り、本発明を適用する装置及び技術分野等は任意である。
なお、前述した実施形態は本発明の代表的な形態を示したに過ぎず、本発明は、実施形態に限定されるものではない。即ち、本発明の骨子を逸脱しない範囲で種々変形して実施することができる。
1 インクジェット記録装置(液滴吐出装置)
40 インクジェットヘッド(液滴吐出ヘッド)
43 ノズル板(ノズルプレート)
44 ノズル孔
46 加圧室(液室)
121 プレート基材
121a プレート基材の表面
122 SiO2薄膜層(SiO2被膜)
123 フッ素系撥水層(フッ素系撥水被膜)
124 SiO2粒子(酸化金属粒)
125 被膜積層体
135 オレンジピール
特開2003−127386号公報 特開2003−341070号公報

Claims (6)

  1. 薄板状の金属で構成されたプレート基材と、前記プレート基材の表面に酸化ケイ素で構成されたSiO2被膜とフッ素系撥水材料で構成されたフッ素系撥水被膜とを順次重ねて形成された被膜積層体と、を有するノズルプレートにおいて、
    前記被膜積層体には、当該被膜積層体に内包されるとともに前記SiO2被膜と前記フッ素系撥水被膜とにまたがるように配置された多数の酸化金属粒が設けられていることを特徴とするノズルプレート。
  2. 前記酸化金属粒が、前記プレート基材の表面に突き刺されて設けられていることを特徴とする請求項1に記載のノズルプレート。
  3. 前記酸化金属粒が、酸化ケイ素、又は、酸化アルミニウムで構成されていることを特徴とする請求項1又は2に記載のノズルプレート。
  4. 前記プレート基材の表面には、オレンジピールが形成されていることを特徴とする請求項1〜3のいずれか一項に記載のノズルプレート。
  5. 液滴を吐出するノズルを有するノズルプレートと、前記ノズルが連通する液室と、を有する、前記液室の容積を変化させて前記ノズルから液滴を吐出させる、液滴吐出ヘッドにおいて、
    前記ノズルプレートが、請求項1〜4のいずれか一項に記載のノズルプレートで構成されていることを特徴とする液滴吐出ヘッド。
  6. 液滴吐出ヘッドを有する液滴吐出装置において、
    前記液滴吐出ヘッドが、請求項5に記載の液滴吐出ヘッドで構成されていることを特徴とする液滴吐出装置。
JP2011027024A 2011-02-10 2011-02-10 ノズルプレート、液滴吐出ヘッド及び液滴吐出装置 Withdrawn JP2012166366A (ja)

Priority Applications (1)

Application Number Priority Date Filing Date Title
JP2011027024A JP2012166366A (ja) 2011-02-10 2011-02-10 ノズルプレート、液滴吐出ヘッド及び液滴吐出装置

Applications Claiming Priority (1)

Application Number Priority Date Filing Date Title
JP2011027024A JP2012166366A (ja) 2011-02-10 2011-02-10 ノズルプレート、液滴吐出ヘッド及び液滴吐出装置

Publications (1)

Publication Number Publication Date
JP2012166366A true JP2012166366A (ja) 2012-09-06

Family

ID=46971021

Family Applications (1)

Application Number Title Priority Date Filing Date
JP2011027024A Withdrawn JP2012166366A (ja) 2011-02-10 2011-02-10 ノズルプレート、液滴吐出ヘッド及び液滴吐出装置

Country Status (1)

Country Link
JP (1) JP2012166366A (ja)

Cited By (2)

* Cited by examiner, † Cited by third party
Publication number Priority date Publication date Assignee Title
JP2014054815A (ja) * 2012-09-14 2014-03-27 Ricoh Co Ltd ノズル板、ノズル板の製造方法、液体吐出ヘッド及び画像形成装置
US12257841B2 (en) 2022-01-12 2025-03-25 Canon Kabushiki Kaisha Water-repellent member, inkjet head, method of manufacturing water-repellent member, and method of manufacturing inkjet head

Cited By (2)

* Cited by examiner, † Cited by third party
Publication number Priority date Publication date Assignee Title
JP2014054815A (ja) * 2012-09-14 2014-03-27 Ricoh Co Ltd ノズル板、ノズル板の製造方法、液体吐出ヘッド及び画像形成装置
US12257841B2 (en) 2022-01-12 2025-03-25 Canon Kabushiki Kaisha Water-repellent member, inkjet head, method of manufacturing water-repellent member, and method of manufacturing inkjet head

Similar Documents

Publication Publication Date Title
JP2003341070A (ja) インクジェットヘッド、インクジェットヘッド製造方法、及びインクジェットヘッド記録装置
JP5251187B2 (ja) 液体吐出ヘッドおよび液体吐出装置
JP6520237B2 (ja) 液滴吐出ヘッド、液体カートリッジおよび画像形成装置
JP4230206B2 (ja) 記録ヘッドの製造方法と記録ヘッド及びインクジェット記録装置
JP5929264B2 (ja) 液滴吐出ヘッド、インクカートリッジおよび画像形成装置
JP5327435B2 (ja) 液体吐出ヘッド及びその製造方法、画像形成装置
JP6025052B2 (ja) 液滴吐出ヘッド及び画像形成装置
JP2012166366A (ja) ノズルプレート、液滴吐出ヘッド及び液滴吐出装置
JP2011018836A (ja) 圧電型アクチュエータの製造方法、及び該製造方法によって製造された圧電型アクチュエータ
JP4393730B2 (ja) インクジェットヘッド
JP2014172352A (ja) 液滴吐出ヘッド、液滴吐出カートリッジ、液滴吐出装置。
JP2013116590A (ja) 液滴吐出ヘッド及び画像形成装置。
JP2015058559A (ja) 液滴吐出ヘッド及び画像形成装置
JP2015000560A (ja) 電気機械変換素子及びその電気機械変換素子の製造方法、液滴吐出ヘッド、液体カートリッジ、画像形成装置、液滴吐出装置、並びに、ポンプ装置
JP2009066797A (ja) インクジェットヘッドおよびインクジェットヘッドの製造方法
JP2015100919A (ja) 液滴吐出ヘッドの製造方法、液滴吐出ヘッド及び画像形成装置
JP6701784B2 (ja) 液体吐出ヘッド、液体吐出ユニット及び液体を吐出する装置
JP4446704B2 (ja) 液滴吐出ヘッド及びその製造方法並びに画像形成装置
JP2004249668A (ja) 液滴吐出ヘッド、インクカートリッジ、及びインクジェット記録装置
JP5728934B2 (ja) ヘッド回復装置及び画像形成装置
JP2002103632A (ja) 液滴吐出ヘッド及びその製造方法並びにインクジェット記録装置
JP5896275B2 (ja) 液滴吐出ヘッド及び画像形成装置
JP4185407B2 (ja) 液滴吐出ヘッド、液体カートリッジ及び画像形成装置
JP2003094648A (ja) 液滴吐出ヘッド
JP4219111B2 (ja) インクジェットヘッドの流路板の製造方法、インクジェットヘッド及びインクジェット記録装置

Legal Events

Date Code Title Description
A300 Withdrawal of application because of no request for examination

Free format text: JAPANESE INTERMEDIATE CODE: A300

Effective date: 20140513