JP2012146537A - 照明装置 - Google Patents

照明装置 Download PDF

Info

Publication number
JP2012146537A
JP2012146537A JP2011004476A JP2011004476A JP2012146537A JP 2012146537 A JP2012146537 A JP 2012146537A JP 2011004476 A JP2011004476 A JP 2011004476A JP 2011004476 A JP2011004476 A JP 2011004476A JP 2012146537 A JP2012146537 A JP 2012146537A
Authority
JP
Japan
Prior art keywords
substrate
reflector
leds
lighting device
light
Prior art date
Legal status (The legal status is an assumption and is not a legal conclusion. Google has not performed a legal analysis and makes no representation as to the accuracy of the status listed.)
Granted
Application number
JP2011004476A
Other languages
English (en)
Other versions
JP5649462B2 (ja
Inventor
Masashi Watanabe
正志 渡辺
Current Assignee (The listed assignees may be inaccurate. Google has not performed a legal analysis and makes no representation or warranty as to the accuracy of the list.)
Citizen Holdings Co Ltd
Citizen Electronics Co Ltd
Original Assignee
Citizen Holdings Co Ltd
Citizen Electronics Co Ltd
Priority date (The priority date is an assumption and is not a legal conclusion. Google has not performed a legal analysis and makes no representation as to the accuracy of the date listed.)
Filing date
Publication date
Application filed by Citizen Holdings Co Ltd, Citizen Electronics Co Ltd filed Critical Citizen Holdings Co Ltd
Priority to JP2011004476A priority Critical patent/JP5649462B2/ja
Publication of JP2012146537A publication Critical patent/JP2012146537A/ja
Application granted granted Critical
Publication of JP5649462B2 publication Critical patent/JP5649462B2/ja
Expired - Fee Related legal-status Critical Current
Anticipated expiration legal-status Critical

Links

Images

Landscapes

  • Non-Portable Lighting Devices Or Systems Thereof (AREA)

Abstract

【課題】 平板状の実装基板による簡易な設置構造で構成可能であり、良好な防眩性が得られる照明装置を提供すること。
【解決手段】 内面が反射面となったリフレクタ2の内側に取り付け可能な照明装置1であって、リフレクタ2への取付部3を有する筐体4と、該筐体4の取付部3の反対側に設けられた基板設置面4aに取り付けられ外縁部がリフレクタ2の反射面に向けて配された平板状の基板5と、該基板5上に外縁部に沿って並べて実装された複数のLED6とを備え、複数のLED6が、リフレクタ2の反射面に発光面である側面を向けて実装された側面発光型LEDである。
【選択図】図1

Description

本発明は、複数のLEDを用いて防眩性および放熱性に優れた照明装置に関する。
近年、LEDを実装した照明装置が市販されている。このLEDを用いた照明装置は、蛍光ランプや白熱電球などと比較して、消費電力が低く、長寿命かつ小型であり、半導体技術の発達により、高出力で輝度の高いLED素子が比較的安価に製造されるようになったことから、従来の電球に替わる光源として着目されている。
このような従来のバルブ型のLED照明装置は、LEDの指向性が高いため、従来の電球と比較して照光領域が狭く、LEDが実装された光源部分を直視すると眩しいため、特にダウンライトなどでは、仰向けに寝転んだ場合や、天井に目線を向けた場合などに不快であるという問題があった。
この防眩対策として、例えば、特許文献1に記載されている調光型防眩器具のように、ランプガードの前面ガラスに防眩シート体を貼り付けることによりランプ(光源)からの直接光を拡散、低減させることにより光を和らげる方法も考え得る。
しかしながら、LED照明装置においても防眩シート体を用いる場合、防眩シート体による光束の減衰が著しく、照明光が暗くなってしまうという不都合があった。そこで、例えば、特許文献2には、リフレクタを備えたLEDモジュールが提案されている。これは、略碗状の反射面内に、実装基板に実装されて反射面に向かって光を出射する複数のLED素子を有するLEDモジュールが設置されたもので、複数のLED素子の周囲に、各LED素子のそれぞれに対応するレンズを有して反射面の中心軸に対して略平行にスライドする略筒型レンズユニットを備え、略筒型レンズユニットをスライドさせることによりLEDモジュールから反射面への光の出射方向を調節することができる。すなわち、LEDモジュールからの光を反射面で比較的大きい角度で反射させることで、広角配光にしてまぶしさを軽減することも可能である。
特開2006−19232号公報 特開2004−296249号公報
上記従来の技術には、以下の課題が残されている。
特許文献2に記載の照明装置では、反射面に実装面を向けて設置された実装基板上に複数のLED素子が実装されているが、略椀状の反射面などに複数のLEDを向けて実装するために、複数の平板状の実装基板を周方向に並べて設置したり、円筒状や略円錐形状などの曲面の実装面を有する特殊な実装基板を用意する必要があった。すなわち、反射面にLEDを向けるために複数の実装基板の設置構造が複雑化したり、特殊な三次元構造の実装基板を作製しなければならないなど、装置の複雑化や部材コストおよび部材点数の増大などの問題があった。
本発明は、前述の課題を鑑みてなされたもので、平板状の実装基板による簡易な設置構造で構成可能であり、良好な防眩性が得られる照明装置を提供することを目的とする。
本発明は、前記課題を解決するために以下の構成を採用した。すなわち、第1の発明の照明装置は、内面が反射面となったリフレクタの内側に取り付け可能な照明装置であって、前記リフレクタへの取付部を有する筐体と、該筐体の前記取付部の反対側に設けられた基板設置面に取り付けられ外縁部が前記リフレクタの反射面に向けて配された平板状の基板と、該基板上に前記外縁部に沿って並べて実装された複数のLEDとを備え、前記複数のLEDが、前記リフレクタの反射面に発光面である側面を向けて実装された側面発光型LEDであることを特徴とする。
この照明装置では、平板状の基板上に外縁部に沿って並べて実装された複数のLEDが、リフレクタの反射面に発光面である側面を向けて実装された側面発光型LEDであるので、特殊な基板や複雑な設置構造が不要で、平坦な基板上に側面発光型LEDを表面実装するだけで容易に各LEDの発光面をリフレクタに向けることができ、防眩効果を得ることができる。
また、第2の発明の照明装置は、第1の発明において、前記基板が、ヒートシンクを挟んで積層状態に複数取り付けられていることを特徴とする。
すなわち、この照明装置では、基板が、ヒートシンクを挟んで積層状態に複数取り付けられているので、複数のLEDが並んだ基板が複数段に積層されて高輝度が得られると共に、基板間に介在するヒートシンクによりLEDからの熱を効果的に放熱させることができ、長寿命化および高光束化を図ることができる。
また、第3の発明の照明装置は、第1または第2の発明において、前記リフレクタの反射面が、略椀状であり、前記基板設置面が、前記反射面と中心軸を一致させた円形状とされ、前記基板が、前記基板設置面と中心軸を一致させて設置された円環状または円板状の基板であることを特徴とする。
すなわち、この照明装置では、基板が、円形状の基板設置面と中心軸を一致させて設置された円環状または円板状の基板であるので、側面発光型LEDが基板の円形状の外縁部に並んで実装され、リフレクタの略椀状の反射面に向けて周方向に光を放射可能になる。したがって、バルブ型の電球の代わりに本発明の照明装置をリフレクタに装着することで、消費電力が少なく快適な照明を得ることができる。
また、第4の発明の照明装置は、第1または第2の発明において、前記リフレクタの反射面が、帯状に延在した凹面であり、前記基板設置面が、反射面に沿って延在する長方形状とされ、前記基板が、前記基板設置面の一対の長辺側にそれぞれ設置された帯板状の基板であることを特徴とする。
すなわち、この照明装置では、基板が、長方形状の基板設置面の一対の長辺側にそれぞれ設置された帯板状の基板であるので、側面発光型LEDが両側の基板における各長辺側の外縁部に並んで実装され、リフレクタの帯状に延在した凹面の反射面に向けて両側方に光を放射可能になる。したがって、直管型蛍光灯の代わりに本発明の照明装置をリフレクタに装着することで、消費電力が少なく快適な照明を得ることができる。
また、第5の発明の照明装置は、第1から第4のいずれかの発明において、前記基板設置面で前記基板が設置されていない部分に取り付けられ外部に少なくとも一部が露出したヒートシンクを備えていることを特徴とする。
すなわち、この照明装置では、基板設置面で基板が設置されていない部分に取り付けられ外部に少なくとも一部が露出したヒートシンクを備えているので、基板に実装されたLEDの熱を露出したヒートシンクを介して放熱することができる。特に、空気対流の有効部である取付部反対側にヒートシンクが露出しているので、高い放熱性を得ることができる。
また、第6の発明の照明装置は、第1から第5のいずれかの発明において、さらに、前記基板に対して水平な発光面を有して前記基板の垂直方向に光を出射可能な正面発光型のLEDが前記基板上に実装されていることを特徴とする。
すなわち、この照明装置では、さらに、基板に対して水平な発光面を有して基板の垂直方向に光を出射可能な正面発光型のLEDが基板上に実装されているので、側面発光型LEDだけでは十分な指向性が得られない場合に、正面発光型LEDの追加により指向性の改善を図ることも可能になる。
また、第7の発明の照明装置は、第1から第6のいずれかの発明において、前記基板および前記複数のLEDを覆う光透過性のカバー部材を備えていることを特徴とする。
すなわち、この照明装置では、基板および複数のLEDを覆う光透過性のカバー部材を備えているので、LEDおよび基板をカバー部材で保護することができると共に、塵や虫、水分などの侵入を防ぎ、ショートなどが発生することを防止可能である。
また、第8の発明の照明装置は、第1から第7のいずれかの発明において、前記筐体の内部に、前記複数のLEDの駆動回路部が設けられていることを特徴とする。
すなわち、この照明装置では、筐体の内部に、複数のLEDの駆動回路部が設けられているので、駆動回路部を内蔵することで外部に駆動回路部を設けずに済み、照明器具全体として小型化を図ることができる。
本発明によれば、以下の効果を奏する。
すなわち、本発明に係る照明装置によれば、平板状の基板上に外縁部に沿って並べて実装された複数のLEDが、リフレクタの反射面に発光面である側面を向けて実装された側面発光型LEDであるので、特殊な基板や複雑な設置構造が不要で、防眩効果を得ることができる。
したがって、ダウンライトなどに装着しても、LEDから直下へ直接光が出射されずリフレクタを介して照明可能になることで、高い防眩効果が得られ、快適な照光を提供することが可能であると共に、簡易な構成で低コスト化が実現可能である。また、既存のリフレクタにも容易に装着可能であり、従来の電球からの置き換えにより、消費電力を抑えて経済的である。
本発明に係る照明装置の第1実施形態において、リフレクタに装着した照明装置を示す概略的な断面図である。 第1実施形態において、要部の拡大断面図である。 第1実施形態において、カバー部材を取り外した照明装置の先端部を示す底面図である。 本発明に係る照明装置の第2実施形態において、リフレクタに装着した照明装置を示す概略的な断面図である。 第2実施形態において、カバー部材を取り外した照明装置の先端部を示す底面図である。 本発明に係る照明装置の第3実施形態において、リフレクタに装着した照明装置を示す概略的な断面図である。 第3実施形態において、カバー部材を取り外した照明装置の先端部を示す底面図である。 本発明に係る照明装置の第4実施形態において、リフレクタに装着した照明装置を示す概略的な要部の斜視図である。 第4実施形態において、カバー部材を取り外した照明装置を示す底面図である。
以下、本発明に係る照明装置の第1実施形態を、図1から図3を参照しながら説明する。
本実施形態に係る照明装置1は、図1から図3に示すように、内面が反射面となったリフレクタ2の内側に取り付け可能な照明装置であって、リフレクタ2への取付部3を有する筐体4と、該筐体4の取付部3の反対側に設けられた基板設置面4aに取り付けられ外縁部がリフレクタ2の反射面に向けて配された平板状の基板5と、該基板5上に外縁部に沿って並べて実装された複数のLED6と、基板5および複数のLED6を覆う光透過性のカバー部材7とを備えている。
上記複数のLED6は、リフレクタ2の反射面に発光面6aである側面を向けて基板5上に実装された側面発光型LEDである。すなわち、上記LED6は、実装面に対して垂直な側面(または端面)から光を出射可能なLEDである。なお、LED6は、既知の側面発光型LEDであって、いわゆる端面発光型LEDも含むものである。
また、これらLED6は、白色LEDであり、1つのLED素子が搭載されたLED部材または複数のLED素子が搭載されたマルチチップLEDである。なお、LED6は、基板5上に導電性接着材料などを用いて取り付けられ、基板5中の配線(図示略)と導電性接着材料やワイヤーボンディングなどで電気的に接続されている。
上記リフレクタ2は、その反射面が略椀状とされ、天井に埋め込まれたダウンライト用であり、中央部分に照明装置1の取付部3が着脱可能になっている。リフレクタ2の反射面については、アルミニウム、銀などで反射率の高い鏡面を構成し、防眩効果を高めるために、反射面に白色の塗装を施しても良い。
上記筐体4は、円筒状の先端部から基端の取付部3まで外径が漸次小さくされた筒状とされ、内部に、複数のLED6の駆動回路部8が設けられている。
また、筐体4の取付部3は、簡略的に図示しているが、リフレクタ2内のソケット(図示略)に接続可能なねじ込み式や差し込み式などの既知の口金構造を有し、基板5と駆動回路部8を介して電気的に接続された口金部である。
上記基板設置面4aは、リフレクタ2の反射面と中心軸を一致させた円形状の基板である。
上記基板5は、図3に示すように、基板設置面4aと中心軸を一致させて設置された円板状とされたプリント基板である。なお、基板5を基板設置面4aと中心軸を一致させて設置された円環状としても構わない。
また、上記複数のLED6は、基板5の円形の外縁部に沿って周方向に並んで実装されている。
上記カバー部材7は、透明なガラスまたはプラスチックで形成された略円板状のカバーであり、筐体4の基板設置面4a全体を覆うように設置されている。なお、このカバー部材7にレンズ機能や透過光の拡散機能を持たせても構わない。
上記駆動回路部8は、AC入力の場合、LED6を駆動するために交流電圧を整流して直流に変換するAC/DC変換回路を含み、DC入力の場合、抵抗などから構成される電流調整回路を含んだ電子回路である。この駆動回路部8は、第1配線8aを介して取付部3側の電極(図示略)に接続されていると共に、第2配線8bを介して基板5の配線(図示略)に接続されている。
このように本実施形態の照明装置1は、平板状の基板5上に外縁部に沿って並べて実装された複数のLED6が、リフレクタ2の反射面に発光面6aである側面を向けて実装された側面発光型LEDであるので、特殊な基板や複雑な設置構造が不要で、平坦な基板5上に側面発光型LEDを表面実装するだけで容易に各LED6の発光面6aをリフレクタ2に向けることができ、防眩効果を得ることができる。
特に、基板5が、円形状の基板設置面4aと中心軸を一致させて設置された円板状の基板であるので、側面発光型LEDが基板5の円形状の外縁部に並んで実装され、リフレクタ2の略椀状の反射面に向けて周方向に光を放射可能になる。したがって、バルブ型の電球の代わりに本実施形態の照明装置1をリフレクタ2に装着することで、消費電力が少なく快適な照明を得ることができる。
また、基板5および複数のLED6を覆う光透過性のカバー部材7を備えているので、LED6および基板5をカバー部材7で保護することができると共に、塵や虫、水分などの侵入を防ぎ、ショートなどが発生することを防止可能である。
さらに、筐体4の内部に、複数のLED6の駆動回路部8が設けられているので、駆動回路部8を内蔵することで外部に駆動回路部を設けずに済み、照明器具全体として小型化を図ることができる。
次に、本発明に係る照明装置の第2から第4実施形態について、図4から図9を参照して以下に説明する。なお、以下の各実施形態の説明において、上記実施形態において説明した同一の構成要素には同一の符号を付し、その説明は省略する。
第2実施形態と第1実施形態との異なる点は、第1実施形態では、円板状の基板5に複数のLED6が実装されているのに対し、第2実施形態の照明装置21では、図4および図5に示すように、基板25が、基板設置面4aと中心軸を一致させて設置された円環状の基板であると共に、基板25が、ヒートシンク29を挟んで積層状態に複数取り付けられている点である。
さらに、第2実施形態では、上記ヒートシンク29が、基板設置面4aで基板25が設置されていない部分に取り付けられ外部に少なくとも一部が露出している。すなわち、カバー部材27の中央にも円形孔27aが形成され、円環状の基板25の中央孔から突出したヒートシンク29の表面が円形孔27aから円形状に露出している。
このヒートシンク29は、アルミニウム、鉄等の金属はもとより、高熱伝導性の樹脂などで形成しても構わない。
また、ヒートシンク29は、基板25の中央孔よりも小径な中央円盤部29aと、該中央円盤部29aよりも薄く直径が基板25の外径と同じに設定された円板状のフランジ部29bとから構成されている。すなわち、中央円盤部29aの下面がカバー部材27の円形孔27aから露出している。
LED6を実装する基板25は、筐体4の基板設置面4aに直接設置された第1基板25Aと、フランジ部29bに設置された第2基板25Bとの2枚であり、LED6が第1基板25Aと第2基板25Bとのそれぞれ外縁部に実装されて2段構成とされている。なお、上記第2基板25Bと駆動回路部8とは、ヒートシンク29に空けられた貫通孔(図示略)に挿通された第2配線8bで電気的に接続されている。
なお、駆動回路部8により、第1基板25Aに実装されたLED6と第2基板25Bに実装されたLED6とを両方点灯させる場合と、いずれか一方だけを点灯させる場合とを任意に設定可能にしても構わない。
また、2段とされた複数のLED6、第1基板25Aおよび第2基板25Bは、カバー部材27で覆われて保護されている。
このように第2実施形態の照明装置21では、基板25が、ヒートシンク29を挟んで積層状態に複数取り付けられているので、複数のLED6が並んだ基板25が複数段に積層されて高輝度が得られると共に、基板25間に介在するヒートシンク29によりLED6からの熱を効果的に放熱させることができ、長寿命化および高光束化を図ることができる。特に、空気対流の有効部である筐体4先端部にヒートシンク29が露出しているので、取付部3側にヒートシンクが設けられている場合よりも高い放熱性を得ることができる。
第3実施形態と第2実施形態との異なる点は、第2実施形態では、ヒートシンク29の露出した部分が平坦面であるのに対し、第3実施形態の照明装置31では、図6および図7に示すように、ヒートシンク39の露出部分に複数の放熱フィン39aを設けられている点である。
また、第3実施形態は、第2基板25B上に側面発光型のLED6に加えて複数の正面発光型LED36が実装されている点でも第2実施形態と異なっている。
すなわち、第3実施形態では、ヒートシンク29の中央円盤部29a下面に複数の放熱フィン39aが形成されており、これら放熱フィン39aが、カバー部材27の円形孔27aから突出して露出されている。なお、露出させる放熱フィンとしては、ピン状のものでも構わない。
また、第3実施形態では、第2基板25B上に並んだ側面発光型のLED6の内側に、同心円上に複数の正面発光型LED36が周方向に並んで実装されている。これら正面発光型LED36は、基板25に対して水平な発光面を有して基板25の垂直方向(下方)に光を出射可能なものであり、実装面の反対面が発光面となる面発光タイプのLEDである。
これらの正面発光型LED36は、白色LEDであり、1つのLED素子が搭載されたLED部材または複数のLED素子が搭載されたマルチチップLEDである。なお、正面発光型LED36は、側面発光型LED6と同様に、第2基板25B上に導電性接着材料などを用いて取り付けられ、第2基板25B中の配線(図示略)と導電性接着材料やワイヤーボンディングなどで電気的に接続されている。
なお、駆動回路部8により、側面発光型LED6と正面発光型LED36とを両方点灯させる場合と、いずれか一方だけを点灯させる場合とを任意に設定可能にしても構わない。
このように第3実施形態の照明装置31では、ヒートシンク29の露出部分に放熱フィン39aが形成されているので、より高い放熱効果を得ることができる。また、基板25に対して水平な発光面を有して基板25の垂直方向に光を出射可能な正面発光型LED36が基板25上に実装されているので、側面発光型LED6だけでは十分な指向性が得られない場合に正面発光型LED36の追加により指向性の改善を図ることも可能になる。
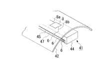
第4実施形態と第1実施形態との異なる点は、第1実施形態では、略椀状の反射面を有するリフレクタ2に装着するバルブ型の照明装置1であって、円盤状の基板5に周方向に複数のLED6を並べて実装しているのに対し、第4実施形態の照明装置41では、図8および図9に示すように、リフレクタ42の反射面が、帯状に延在した凹面であり、基板設置面44aが、反射面に沿って延在する長方形状とされ、基板45が、基板設置面44aの一対の長辺側にそれぞれ設置された帯板状の基板である点である。
すなわち、第4実施形態の照明装置41は、直管型蛍光灯の代わりに断面円弧状の反射面を有する略かまぼこ状のリフレクタ42に取り付けることが可能であり、筐体44がリフレクタ42の延在方向に長い直方体形状とされている。したがって、この筐体44では、リフレクタ42に取り付けられる上面側に取付部(図示略)が設けられ、下面が基板設置面44aとされている。そして、一対の帯板状の基板45が、長方形状の基板設置面44aの両側に設置され、それぞれの外縁部に複数の側面発光型LED6が直線状に並んで実装されている。なお、これら基板45および側面発光型LED6は、一対の略帯状のカバー部材47で覆われて保護されている。
このように第4実施形態の照明装置41では、基板45が、長方形状の基板設置面44aの一対の長辺側にそれぞれ設置された帯板状の基板であるので、側面発光型LED6が両側の基板45における各長辺側の外縁部に並んで実装され、リフレクタ42の帯状に延在した凹面の反射面に向けて両側方に光を放射可能になる。したがって、直管型蛍光灯の代わりに本実施形態の照明装置41をリフレクタ42に装着することで、消費電力が少なく快適な照明を得ることができる。
なお、本発明は上記各実施形態に限定されるものではなく、本発明の趣旨を逸脱しない範囲において種々の変更を加えることができる。
例えば、第2実施形態では、ヒートシンク29の中央円盤部29aが外部に露出しているが、その露出面をアルミニウムの陽極酸化皮膜が表面に形成されたアルマイト処理面としても構わない。この場合、アルマイト処理面が高い熱放射率を有し、高い放熱性を得ることができる。すなわち、ヒートシンクを形成するアルミニウムの熱放射率(黒体を1とした場合の相対比率)が0.05であるのに対し、上記アルマイト処理面の熱放射率は0.8と高く、優れた放熱効果が得られる。
また、他の例として、上記露出面を、アルマイト処理面の代わりに樹脂層が表面に形成された樹脂塗装面としても構わない。この樹脂塗装面には、例えばアクリル樹脂またはシリコーン樹脂の樹脂層が採用可能である。これら樹脂層の熱放射率は0.9と高く、より優れた放熱効果を得ることができる。
また、上記各実施形態のLEDは、照明用途に通常使用される白色LEDを想定しているが、発光色の異なるLEDや単色光のLEDを、1種類または2種類以上、搭載しても構わない。
また、上記各実施形態では、ヒートシンクに駆動回路部が内蔵されているが、外部に駆動回路部がある場合などにおいては、駆動回路部を設けなくてもよい。
1,21,31,41…照明装置、2,42…リフレクタ、3…取付部、4,44…筐体、4a,44a…基板設置面、5,25,45…基板、6…LED(側面発光型LED)、8…駆動回路部、29,39…ヒートシンク、36…正面発光型LED

Claims (8)

  1. 内面が反射面となったリフレクタの内側に取り付け可能な照明装置であって、
    前記リフレクタへの取付部を有する筐体と、
    該筐体の前記取付部の反対側に設けられた基板設置面に取り付けられ外縁部が前記リフレクタの反射面に向けて配された平板状の基板と、
    該基板上に前記外縁部に沿って並べて実装された複数のLEDとを備え、
    前記複数のLEDが、前記リフレクタの反射面に発光面である側面を向けて実装された側面発光型LEDであることを特徴とする照明装置。
  2. 請求項1に記載の照明装置において、
    前記基板が、ヒートシンクを挟んで積層状態に複数取り付けられていることを特徴とする照明装置。
  3. 請求項1または2に記載の照明装置において、
    前記リフレクタの反射面が、略椀状であり、
    前記基板設置面が、前記反射面と中心軸を一致させた円形状とされ、
    前記基板が、前記基板設置面と中心軸を一致させて設置された円環状または円板状の基板であることを特徴とする照明装置。
  4. 請求項1または2に記載の照明装置において、
    前記リフレクタの反射面が、帯状に延在した凹面であり、
    前記基板設置面が、前記反射面に沿って延在する長方形状とされ、
    前記基板が、前記基板設置面の一対の長辺側にそれぞれ設置された帯板状の基板であることを特徴とする照明装置。
  5. 請求項1から4のいずれか一項に記載の照明装置において、
    前記基板設置面で前記基板が設置されていない部分に取り付けられ外部に少なくとも一部が露出したヒートシンクを備えていることを特徴とする照明装置。
  6. 請求項1から5のいずれか一項に記載の照明装置において、
    さらに、前記基板に対して水平な発光面を有して前記基板の垂直方向に光を出射可能な正面発光型のLEDが前記基板上に実装されていることを特徴とする照明装置。
  7. 請求項1から6のいずれか一項に記載の照明装置において、
    前記基板および前記複数のLEDを覆う光透過性のカバー部材を備えていることを特徴とする照明装置。
  8. 請求項1から7のいずれか一項に記載の照明装置において、
    前記筐体の内部に、前記複数のLEDの駆動回路部が設けられていることを特徴とする照明装置。
JP2011004476A 2011-01-13 2011-01-13 照明装置 Expired - Fee Related JP5649462B2 (ja)

Priority Applications (1)

Application Number Priority Date Filing Date Title
JP2011004476A JP5649462B2 (ja) 2011-01-13 2011-01-13 照明装置

Applications Claiming Priority (1)

Application Number Priority Date Filing Date Title
JP2011004476A JP5649462B2 (ja) 2011-01-13 2011-01-13 照明装置

Publications (2)

Publication Number Publication Date
JP2012146537A true JP2012146537A (ja) 2012-08-02
JP5649462B2 JP5649462B2 (ja) 2015-01-07

Family

ID=46789922

Family Applications (1)

Application Number Title Priority Date Filing Date
JP2011004476A Expired - Fee Related JP5649462B2 (ja) 2011-01-13 2011-01-13 照明装置

Country Status (1)

Country Link
JP (1) JP5649462B2 (ja)

Cited By (2)

* Cited by examiner, † Cited by third party
Publication number Priority date Publication date Assignee Title
CN106122891A (zh) * 2016-06-28 2016-11-16 全椒东润电子科技有限公司 一种设有防眩外壳的筒灯
JP2017118101A (ja) * 2015-12-22 2017-06-29 シチズン電子株式会社 Led発光装置

Citations (6)

* Cited by examiner, † Cited by third party
Publication number Priority date Publication date Assignee Title
US6184628B1 (en) * 1999-11-30 2001-02-06 Douglas Ruthenberg Multicolor led lamp bulb for underwater pool lights
JP2005251660A (ja) * 2004-03-08 2005-09-15 Toshiba Lighting & Technology Corp 光源および照明装置
JP2009032590A (ja) * 2007-07-27 2009-02-12 Tamkang Univ 多段層基板によって達成されかつ熱を即座に放散するledランプ
WO2009157999A1 (en) * 2008-06-25 2009-12-30 Cree, Inc. Solid state lighting devices including light mixtures
JP2010262781A (ja) * 2009-04-30 2010-11-18 Toshiba Lighting & Technology Corp ランプ装置および照明器具
JP2010262780A (ja) * 2009-04-30 2010-11-18 Toshiba Lighting & Technology Corp ランプ装置および照明器具

Patent Citations (6)

* Cited by examiner, † Cited by third party
Publication number Priority date Publication date Assignee Title
US6184628B1 (en) * 1999-11-30 2001-02-06 Douglas Ruthenberg Multicolor led lamp bulb for underwater pool lights
JP2005251660A (ja) * 2004-03-08 2005-09-15 Toshiba Lighting & Technology Corp 光源および照明装置
JP2009032590A (ja) * 2007-07-27 2009-02-12 Tamkang Univ 多段層基板によって達成されかつ熱を即座に放散するledランプ
WO2009157999A1 (en) * 2008-06-25 2009-12-30 Cree, Inc. Solid state lighting devices including light mixtures
JP2010262781A (ja) * 2009-04-30 2010-11-18 Toshiba Lighting & Technology Corp ランプ装置および照明器具
JP2010262780A (ja) * 2009-04-30 2010-11-18 Toshiba Lighting & Technology Corp ランプ装置および照明器具

Cited By (2)

* Cited by examiner, † Cited by third party
Publication number Priority date Publication date Assignee Title
JP2017118101A (ja) * 2015-12-22 2017-06-29 シチズン電子株式会社 Led発光装置
CN106122891A (zh) * 2016-06-28 2016-11-16 全椒东润电子科技有限公司 一种设有防眩外壳的筒灯

Also Published As

Publication number Publication date
JP5649462B2 (ja) 2015-01-07

Similar Documents

Publication Publication Date Title
JP5333758B2 (ja) 照明装置および照明器具
CN203907256U (zh) Led灯以及照明装置
US8888330B2 (en) Omnidirectional LED lighting apparatus
US8604679B2 (en) LED light source lamp having drive circuit arranged in outer periphery of led light source
JP5549926B2 (ja) 口金付ランプおよび照明器具
CN102168816B (zh) 照明器具
CN101910710A (zh) Led灯泡和照明装置
JP2010055993A (ja) 照明装置および照明器具
JP2009129809A (ja) 照明装置
JP5328466B2 (ja) 電球型の照明装置
JP2012181969A (ja) 電球形発光素子ランプ及び照明器具
CN102563412B (zh) 灯具
WO2016058286A1 (zh) 一种全方位出光led灯
JP2011054340A (ja) 照明装置
JP5949025B2 (ja) 照明装置および照明器具
JP3163443U (ja) Led式照明装置
JP5802497B2 (ja) 電球型照明装置
JP2012216314A (ja) Led照明装置
US8789974B2 (en) Lighting device
JP2012048950A (ja) 口金付ランプおよび照明器具
JP5649462B2 (ja) 照明装置
JP6094618B2 (ja) ランプ
JP2010262780A (ja) ランプ装置および照明器具
JP2013201041A (ja) 発光モジュール、照明装置および照明器具
JP3176524U (ja) 広域式発光ダイオード電球

Legal Events

Date Code Title Description
A621 Written request for application examination

Free format text: JAPANESE INTERMEDIATE CODE: A621

Effective date: 20131209

A977 Report on retrieval

Free format text: JAPANESE INTERMEDIATE CODE: A971007

Effective date: 20140829

A131 Notification of reasons for refusal

Free format text: JAPANESE INTERMEDIATE CODE: A131

Effective date: 20140902

A521 Request for written amendment filed

Free format text: JAPANESE INTERMEDIATE CODE: A523

Effective date: 20141024

TRDD Decision of grant or rejection written
A01 Written decision to grant a patent or to grant a registration (utility model)

Free format text: JAPANESE INTERMEDIATE CODE: A01

Effective date: 20141111

A61 First payment of annual fees (during grant procedure)

Free format text: JAPANESE INTERMEDIATE CODE: A61

Effective date: 20141111

R150 Certificate of patent or registration of utility model

Ref document number: 5649462

Country of ref document: JP

Free format text: JAPANESE INTERMEDIATE CODE: R150

S533 Written request for registration of change of name

Free format text: JAPANESE INTERMEDIATE CODE: R313533

R350 Written notification of registration of transfer

Free format text: JAPANESE INTERMEDIATE CODE: R350

R250 Receipt of annual fees

Free format text: JAPANESE INTERMEDIATE CODE: R250

R250 Receipt of annual fees

Free format text: JAPANESE INTERMEDIATE CODE: R250

R250 Receipt of annual fees

Free format text: JAPANESE INTERMEDIATE CODE: R250

LAPS Cancellation because of no payment of annual fees