JP2012075673A - 給水口取付部品および洗濯機 - Google Patents

給水口取付部品および洗濯機 Download PDF

Info

Publication number
JP2012075673A
JP2012075673A JP2010223496A JP2010223496A JP2012075673A JP 2012075673 A JP2012075673 A JP 2012075673A JP 2010223496 A JP2010223496 A JP 2010223496A JP 2010223496 A JP2010223496 A JP 2010223496A JP 2012075673 A JP2012075673 A JP 2012075673A
Authority
JP
Japan
Prior art keywords
water
water supply
supply port
tank
plate
Prior art date
Legal status (The legal status is an assumption and is not a legal conclusion. Google has not performed a legal analysis and makes no representation as to the accuracy of the status listed.)
Granted
Application number
JP2010223496A
Other languages
English (en)
Other versions
JP5676196B2 (ja
Inventor
Mitsuru Honma
充 本間
Norihiko Hayashi
敬彦 林
Current Assignee (The listed assignees may be inaccurate. Google has not performed a legal analysis and makes no representation or warranty as to the accuracy of the list.)
Sharp Corp
Original Assignee
Sharp Corp
Priority date (The priority date is an assumption and is not a legal conclusion. Google has not performed a legal analysis and makes no representation as to the accuracy of the date listed.)
Filing date
Publication date
Application filed by Sharp Corp filed Critical Sharp Corp
Priority to JP2010223496A priority Critical patent/JP5676196B2/ja
Publication of JP2012075673A publication Critical patent/JP2012075673A/ja
Application granted granted Critical
Publication of JP5676196B2 publication Critical patent/JP5676196B2/ja
Active legal-status Critical Current
Anticipated expiration legal-status Critical

Links

Images

Landscapes

  • Detail Structures Of Washing Machines And Dryers (AREA)

Abstract

【課題】供給水の放出される方向を自在に設定できる、給水口取付部品を提供する。
【解決手段】筒状部の下底に板状部が連結した略有底筒状の形状を有し、該筒状部の上底側が給水口に取付けられて使用される、給水口取付部品であって、前記板状部は、切れ目が設けられることによって突出片が形成されており、給水がなされるときは、前記突出片が水に押されることにより、水が放出されるように弾性変形するものであり、前記切れ目は、水の放出される方向が、前記板状部の面に垂直である方向から、ずれるように設けられている給水口取付部品とする。
【選択図】図4

Description

本発明は、給水口に取付けられて使用される給水口取付部品、およびこれを備えた洗濯機に関する。
従来、衣類などの洗濯に用いられる洗濯機(洗濯乾燥機なども含む)が広く利用されている。洗濯機には、槽(水槽や脱水槽など)、および槽内に水を供給するための給水ラインが備えられる。
洗濯機は、槽内に洗濯物が入れられるとともに、槽内への給水を行う。次いで洗濯機は、例えばパルセータを回転させ、槽内の水を攪拌する。これにより、洗濯物の洗濯工程が実現される。
なお給水ラインの末端に相当する給水口は、通常、槽の上方に設置され、槽内に向けて水を放出するようになっている。これにより、槽内へ給水を容易に行うことが可能となっている。また給水口には、給水口内へ異物が入ることを防ぐため、給水口取付部品が取付けられるケースがある。
一般的な給水口取付部品の構成等について、簡潔に説明する。給水口取付部品は、全体的にゴム材質で形成されており、図7に示すような形状となっている。なお図7において、上段は、給水口取付部品の中心軸L1と線分A−A´を含む面で切断した場合の断面図を、下段は底面図(下側から見た図)を、それぞれ示している。
本図に示すように、給水口取付部品100は、略円筒状である筒状部101の下底に、略円板状の板状部102が連結した形態(有底筒状)となっている。筒状部101は、上底側が給水口に取付可能となるように構成されている。板状部102は、給水口へ取り付けられた状態で、給水口の端面に略平行となるように形成されているとともに、その中心から略放射状に伸びる複数本の線分に沿って、切れ目が設けられている。切れ目が設けられることにより、撓むように変形する突出片が形成されている。
給水口取付部品100は、給水がなされていないときは、給水口を閉鎖するようになっており、給水口内に出来るだけ異物が入らないようにする。その一方で突出片は、給水がなされるときに、水に押されることによって、給水口を開放するように(水が放出されるように)弾性変形する。これにより、給水口の下側に配置されている槽の内部に、給水がなされることになる。
特開2010−42118号公報
ところで給水口からは、槽の出来るだけ内側に水が放出されるようにして、槽外への水の飛散等が抑えられることが望ましい。また水槽内に脱水槽が設けられており、給水口から洗剤の混じった洗濯液が放出されるような場合には、脱水槽に設けられたバランサ等へ洗濯液がかかり難くなるように、給水口からは、脱水槽の出来るだけ内側に水が放出されることが望ましい。
このような事情から、供給水の放出される方向は、自在に設定できることが望まれる。但しこのような設定を実現するにあたって、洗濯機の仕様を大幅に変更するようなことは、製造コストの増大等の要因となり好ましいとは言えない。そのため、例えば先述した給水口取付部品を利用して、当該設定ができることが望ましい。
本発明は上述した問題に鑑み、供給水の放出される方向を自在に設定できる給水口取付部品の提供を目的とする。また本発明は、このような給水口取付部品を備えた洗濯機の提供を、他の目的とする。
上記目的を達成するため、本発明に係る給水口取付部品は、筒状部の下底に板状部が連結した略有底筒状の形状を有し、該筒状部の上底側が給水口に取付けられて使用される、給水口取付部品であって、前記板状部は、切れ目が設けられることによって突出片が形成されており、給水がなされるときは、前記突出片が水に押されることにより、水が放出されるように弾性変形するものであり、前記切れ目は、水の放出される方向が、前記板状部の面に垂直である方向から、ずれるように設けられている構成とする。
本構成によれば、給水口に適切な向きで取付けられることによって、供給水の放出される方向を自在に設定することが可能となる。
また上記構成としてより具体的には、前記切れ目は、前記板状部の上に設定された基準点から、略放射状に伸びる複数本の線分に沿って設けられており、前記基準点は、前記板状部の中心から、ずらした位置に設定されている構成としてもよい。
また本発明に係る洗濯機は、洗濯物が入れられる槽と、前水槽内に給水を行う給水口と、を備え、前水槽内に供給された水を攪拌させることにより、前記洗濯物を洗濯する洗濯機であって、前記給水口に、上記構成に係る給水口取付部品が取付けられた構成とする。本構成によれば、上記構成に係る給水口取付部品の利点を享受することが可能となる。なおここでの「槽」は、例えば水槽や脱水槽が該当するが、水を貯めるようになっている限り、その形態は限定されない。
また前記槽は、上方に向けて開口した開口面を有しており、前記給水口は、前記開口面よりも上側の位置に、水を放出する方向が下方となるように設置されている上記構成の洗濯機であって、前記給水口取付部品は、前記板状部の面に垂直である方向に比べて、水の放出される方向が前記開口面の中心へ向かう方向へ近づくように、前記給水口に取付けられている構成としてもよい。
上述した通り、本発明に係る給水口取付部品によれば、給水口に適切な向きで取付けられることによって、供給水の放出される方向を自在に設定することが可能となる。また本発明に係る洗濯機によれば、本発明に係る給水口取付部品の利点を享受することが可能となる。
本発明の実施形態に係る洗濯乾燥機を示す斜視図である。 本発明の実施形態に係る洗濯乾燥機の概略構造を示す側面断面図である。 本発明の実施形態に係る洗濯乾燥機の蓋部を開いた状態を示す斜視図である。 本発明の実施形態に係る給水口取付部品の構成図である。 給水時の給水口取付部品の形態および水の流れに関する説明図である。 水の放出される方向に関する説明図である。 従来例に係る給水口取付部品の構成図である。
以下、本発明の実施形態について、図面を参照しながら詳述する。図1は、本発明の実施形態に係る洗濯乾燥機を前方斜め上視点で示す斜視図であり、図2は、図1の洗濯乾燥機を側方視点で示す概略側面断面図である。なお、図2に示した洗濯乾燥機は、左側が前面、右側が背面である。
[洗濯乾燥機の全体的な構成等について]
洗濯乾燥機1は全自動型であり、直方体形状の外箱10を備えている。外箱10は、略直方体に成形され、その上下は開放されている。外箱10の上側開放部は上面板11で覆われている。上面板11の前部には、洗濯乾燥機の操作を受付ける操作部(操作ボタン等)や、洗濯乾燥機1の操作画面や動作状態を表示する表示部(液晶を用いた表示装置等)が設けられる。上面板11の背面側にはバックパネル14が装着される。
上面板11の中央部には、洗濯乾燥機1内に洗濯物を投入するための出入口11aが開設されている。出入口11aは、バックパネル14の前端部に設けたヒンジ部15aで枢支される蓋部15によって開閉される。蓋部15の周縁にはパッキン(不図示)が設けられ、出入口11aと蓋部15との間が密封されている。蓋部15を上下に回動させて出入口11aを開閉することにより、後述する脱水槽30に洗濯物を投入したり、脱水槽30から洗濯物を取り出したりすることができる。
図3は蓋部15を開いた状態を示す斜視図である。図1〜図3において、外箱10の内部には、洗濯槽を兼ねる脱水槽30と、脱水槽30を収容する水槽20が収容される。脱水槽30は、洗剤を溶かした水またはすすぎ用の水(以下これらを総称して「洗濯水」という)を溜める。水槽20及び脱水槽30は、ともに上方に向けて開口した(開口面を有する)有底筒状のカップの形状を呈しており、各々軸線を垂直にして水槽20を外側、脱水槽30を内側とする形で同心的に配置される。
水槽20は、サスペンション部材21によって吊り下げられる。サスペンション部材21は、水槽20の外面下部と外箱10の内面コーナー部とを連結する形で計4箇所に配備され、水槽20を水平面内で揺動できるように支持している。
脱水槽30は上方にテーパ状に広がる周壁を有し、この周壁にはその最上部に環状に配置した複数個の脱水孔31を除いて、液体を通すための開口部はない。即ち、脱水槽30はいわゆる「孔なし」タイプに形成される。脱水槽30の上部開口部の縁には、洗濯物の脱水のため脱水槽30を高速回転させたときに振動を抑制する働きをする、環状のバランサ32が装着される。脱水槽30の内部底面には、槽内で洗濯水の流動を生じさせるためのパルセータ33が配置される。
水槽20の下面には、駆動ユニット40が取り付けられる。駆動ユニット40はモータ41及びクラッチ・ブレーキ機構43を有している。クラッチ・ブレーキ機構43は、モータ41にベルト42で連結され、脱水軸44及びパルセータ軸45が上方に突出する。クラッチ・ブレーキ機構43は電磁力で動作し、脱水軸44及びパルセータ軸45の一方を、択一的にモータ41に連結する。また、クラッチ・ブレーキ機構43は電磁力によって脱水軸44の回転にブレーキを掛けるとともに、ブレーキを解除する。
脱水軸44とパルセータ軸45は二重軸構造となっており、脱水軸44が外側に配されてパルセータ軸45が内側に配される。脱水軸44は、水槽20を貫通して脱水槽30に連結され、脱水槽30を軸支する。パルセータ軸45は、水槽20及び脱水槽30を貫通してパルセータ33に連結され、パルセータ33を軸支する。脱水軸44と水槽20との間、及び脱水軸44とパルセータ軸45との間には、各々水もれを防ぐためのシール部材が配置される。
外箱10には、出入口11aの周囲から下方に延びる延設部16が設けられる。延設部16は、環状に形成される略鉛直の鉛直部16aと、鉛直部16aの下端から略水平に延びる水平部16bとを有している。水平部16bの下面には、環状の蛇腹状の弾性体17が取り付けられる。弾性体17によって延設部16と水槽20の上面とが連結され、脱水槽30の回転等による水槽20の振動が吸収される。
また、延設部16及び弾性体17により、出入口11aの周囲と水槽20の上面との間を遮蔽する遮蔽部が構成される。遮蔽部によって水槽20と出入口11aとの間に密閉空間が形成される。これにより、水槽20の上面を開閉する内蓋を必要とせず、蓋部15を閉じて洗濯及び乾燥を行うことができる。
外箱10の後部の延設部16上には、乾燥ユニットが設置されている。乾燥ユニットは、送風機やヒータなどを備えており、乾燥工程の実行時に、脱水槽30の内周壁に沿って温風を吹き出す機能を有している。
また、延設部16の水平面16bには、給水口が設けられている。給水口は給水弁を介して市水に接続される。このように給水口及び給水弁は、脱水槽30に給水する給水部を構成する。
なお給水口は、水槽20や脱水槽30の開口面よりも上側の位置に、ほぼ真下に向けて設置されており、そのままでは(給水口取付部品が取付けられていない状態では)、ほぼ真下方向に水を放出するようになっている。しかし本実施形態では、給水口には給水口取付部品が取付けられ、これによって、斜め下方向に(脱水槽30の開口面の中心へ向かう方へ、より近くなる方向に)水が放出されるようになっている。この点に関しては、給水口取付部品の構成等も含め、改めて詳細に説明する。
水槽20の底部には、水槽20及び脱水槽30内の水を外箱10の外部に排水する、排水ホース60が取付けられている。脱水槽30には、排水孔62が同一円周上に4箇所設けられ、各排水孔62と排水ホース60との間は、排水ダクト61により連結される。排水ダクト61内には、排水弁63が設けられる。排水弁63を開くと、排水ダクト61及び排水ホース60を介して、脱水槽30内の水が排水される。また、脱水時に脱水槽30の上部から流出した水は、水槽20の周壁と脱水槽30の周壁との間を通って、排水ホース60から排水される。
また、洗濯乾燥機1には、蓋部15の開閉状態を検知する蓋開閉センサ、脱水槽30の水位を検知する水位センサ、脱水槽30の内部の温度を検知する温度センサ、および脱水槽30の内部の湿度を検知する湿度センサといった、各種のセンサが備えられている。また更に洗濯乾燥機1には、ユーザの操作や各種センサの検知情報などに応じ、洗濯乾燥機1が適切に動作するように各部を制御する、制御装置が備えられている。制御装置は、外箱10の背面上部に配されている。
上記構成の洗濯乾燥機1においては、出入口11aから脱水槽30に洗濯物が入れられ、蓋部15が閉じられる。ユーザによって洗濯条件が選択され、洗濯の開始が指示されると、蓋開閉センサにより蓋部15が閉じたことを検知して、洗濯工程及び乾燥工程が実行される。
洗濯工程では、排水弁63を閉じて給水弁が開かれ、給水口から脱水槽30に給水する。脱水槽30に所定量の水が溜まると、水位センサの検知によって給水弁が閉じられる。次に、クラッチ・ブレーキ機構43により、パルセータ軸45をモータ41に連結してモータ41を駆動する。これにより、パルセータ33が回転し、脱水槽30の中の水を攪拌して洗濯動作が行われる。
洗濯動作を開始して所定時間が経過すると、排水弁63を開いて脱水槽30内の水が排水され、クラッチ・ブレーキ機構43により、脱水軸44がモータ41に連結される。これにより、モータ41の駆動によって脱水槽30が高速回転して脱水動作が行われる。脱水槽30の高速回転によって洗濯物から飛散した水は、排水ダクト61及び脱水孔31から流出する。
脱水動作を開始して所定時間が経過すると、モータ41が停止され、排水弁63を閉じて給水弁が開かれる。脱水槽30に所定量の水が溜まると、水位センサの検知によって給水弁が閉じられる。次に、クラッチ・ブレーキ機構43により、パルセータ軸45をモータ41に連結してモータ41を駆動する。これにより、パルセータ33が回転し、脱水槽30の中の水を攪拌してすすぎ動作が行われる。
すすぎ動作を開始して所定時間が経過すると、上記の脱水動作が再度行われる。そして、脱水動作が所定時間行われると、洗濯工程が終了する。また洗濯工程の終了後、乾燥工程が行われる。乾燥工程では、乾燥ユニットに備えられた送風機及びヒータを駆動させ、温められた空気を水槽20内に循環させること等により、洗濯物の乾燥が行われる。
[給水口取付部品について]
次に、先述した給水口取付部品について説明する。図4は、当該給水口取付部品90の構成図である。図4において、上段は、給水口取付部品90の中心軸L1と線分A−A´を含む面で切断した場合の断面図を、下段は底面図(下側から見た図)を、それぞれ示している。
給水口取付部品90は、例えば金型を用いた成型により、有底円筒形であるゴム材質(弾性材質の一種)の部材が一体的に形成された後、後述する切れ目が設けられることによって製造される。給水口取付部品90は全体的に見て、図4に示すように、略円筒状である筒状部91の下底に、略円板状の板状部92が連結した形態(有底筒状)となっている。このように有底筒状の形状をとることで、給水口取付部品90はコンパクトに形成することが可能となっており、洗濯乾燥機1の給水口へ取り付けられても、洗濯乾燥機1の使用等に支障を生じさせないようになっている。
筒状部91は、上底側が給水口へ取付けられるようになっている。より具体的には、円筒状である給水口の先端部分が、筒状部91の内側に嵌め込まれる。そして更に、この先端部分を用いて筒状部91を挟み込むように、固定部材が取付けられる。これにより給水口取付部品90が、給水口へ強固に取付けられる。但しこれは一例であって、給水口取付部品90の取付の形態としては、様々な形態を採用することが可能である。
なお給水口取付部品90は有底筒状であるため、給水口取付部品90が給水口へ取付けられた状態において、板状部92は、給水口の端面に対してほぼ平行となる。本実施形態では、給水口は真下を向いているので、板状部92は水平(地面に平行)の状態となる。また板状部92には、図4に示すような切れ目93が設けられている。
この切れ目93は、板状部92に設定された基準点94から、略放射状に伸びる複数本(本実施形態では8本)の線分に沿って設けられている。そしてこの基準点94は、板状部92の外縁に近い位置に設定されており、図4に示すように、板状部92の中心(中心軸L1と一致する)から、距離Sだけずらした位置に設定されている。このような切れ目93が設けられることにより、板状部92には複数個の突出片(押されたときに、撓むように弾性変形する部分)95が形成されている。
給水口取付部品90は、上述した通りの構成となっており、給水がなされていないときは、給水口を閉鎖する。その一方で突出片95は、給水がなされるときは、水に押されることにより、給水口を開放するように(水が放出されるように)弾性変形するものとなっている。
そのため給水口取付部品90によれば、給水を妨げないようにしつつ、給水がなされていないときには、埃などの異物が給水口の内部に極力入らないようにすることが可能となっている。なお板状部92の変形は弾性変形であるため、給水が停止されたとき、つまり供給される水に押されない状況となったときは、再び元の形状に戻ることとなる。
また板状部92は、給水がなされていないときに、必ずしも給水口を完全に閉鎖するように形成されている必要は無い。例えば板状部92には、切れ目93を設けるための加工を行い易くするように、ある程度の大きさの穴(給水がなされていないときにも、開口している)が開けられていても構わない。
ここで図5に、給水がなされている状況における、給水口取付部品90の形態および水の流れの概略を示す。なお図5は、図4の上段と同等の形式の断面図を表しており、この断面と交わらない突出片95については、表示が省略されている。また図中の矢印は、水の流れの概略を表している。
本図に示すように、給水口から出てきた水は、上側から給水口取付部品90の内部に入り、各々の突出片95を押し退けるようにして、給水口取付部品90の内部から放出される。このとき図5に示すように、水に押された突出片95は、板状部92の端寄り(図5における、右側寄り)の箇所が開口するように変形する。そして変形した突出片95に沿うように、水の流れる方向は右側に傾き、斜め右下方向に向けて水が放出される。
このように板状部92に設けられた切れ目は、給水口取付部品90から水が放出される方向(図5における斜め右下方向)が、板状部92の面に垂直である方向(図5における真下方向)から、ずれるように設けられている。そのため、本実施形態における水が放出される方向は、給水口取付部品90が取付けられていない場合(或いは、図7に示すような一般的なものが取付けられている場合)に水が放出される方向(図5における真下方向)から、ずれるようになっている。
そのため給水口取付部品90によれば、給水口へ適切な向きに取付けることで、水の放出される方向を自在に設定することが可能となっている。また切れ目93の位置等を予め調整しておけば、どのように水が放出されるかを調整しておくことも可能である。なお、給水口取付部品90の具体的な形状(切れ目93の位置も含む)等については、上述した形態に限定されるものではなく、状況に応じて種々の形態が採用されても構わない。
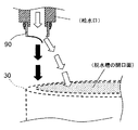
そして給水口取付部品90は、洗濯乾燥機1に設けられている給水口に、水の放出される方向がより望ましくなるように(つまり自在に設定されるように)取付けられている。例えば図6に示すように、給水口取付部品90は、白抜きの矢印で示す方向に水が放出されるように、給水口に取付けられている。すなわち給水口取付部品90は、給水口取付部品90が取付けられていない場合(図6に着色矢印で示す方向)に比べて、水の放出される方向が、脱水槽30の開口面の中心へ向かう方向へより近づくように、給水口に取付けられている。
そのため洗濯乾燥機1においては、脱水槽30の出来るだけ内側に水が放出されるようにして、外側への水の飛散等がより抑えられるようになっている。また給水口から洗剤の混ざった洗濯液が放出される場合であっても、給水口取付部品90が取付けられていない場合に比べ、給水口の真下近傍にあるバランサ32等へ洗濯液がかかり難くなっている。
なお、図7に示したような一般的な給水口取付部品(一般品)が既に利用されている場合、本実施形態に係る給水口取付部品90は、一般品について軽微な仕様変更(切れ目の形態の変更)を行うだけで実現可能である。そのため、給水口取付部品90を新たに採用することに伴うコスト等は、比較的小さく抑えることが可能となる。
また突出片95の長さに着目すると、本実施形態のもの(図4を参照)は、一般品(図7を参照)に比べて長くなっている。本実施形態では、先述した基準点94が、板状部92の中心からずれた位置に設定されていることで、このように、突出片95を長めにすることが可能となっている。その結果、給水時に突出片95がより容易に撓むようにし、水流の抵抗を低減させることも可能となっている。
以上、本発明の実施形態について説明したが、本発明はこの内容に限定されるものではない。例えば本発明に係る給水口取付部品は、乾燥機能を有していない洗濯機にも利用することが可能である。また本発明の実施形態は、本発明の主旨を逸脱しない限り、種々の改変を加えることが可能である。
本発明は、給水口を備える洗濯機などに利用することができる。
1 洗濯乾燥機
10 外箱
11 上面板
11a 出入口
14 バックパネル
16 延設部
16a 鉛直部
16b 水平部
17 弾性体
20 水槽
30 脱水槽
32 バランサ
33 パルセータ
40 駆動ユニット
41 モータ
42 ベルト
43 クラッチ・ブレーキ機構
44 脱水軸
45 パルセータ軸
60 排水ホース
61 排水ダクト
62 排水孔
63 排水弁
90 給水口取付部品
91 筒状部
92 板状部
93 切れ目
94 基準点
95 突出片

Claims (4)

  1. 筒状部の下底に板状部が連結した略有底筒状の形状を有し、該筒状部の上底側が給水口に取付けられて使用される、給水口取付部品であって、
    前記板状部は、
    切れ目が設けられることによって突出片が形成されており、
    給水がなされるときは、前記突出片が水に押されることにより、水が放出されるように弾性変形するものであり、
    前記切れ目は、
    水の放出される方向が、前記板状部の面に垂直である方向から、ずれるように設けられていることを特徴とする給水口取付部品。
  2. 前記切れ目は、
    前記板状部の上に設定された基準点から、略放射状に伸びる複数本の線分に沿って設けられており、
    前記基準点は、
    前記板状部の中心から、ずらした位置に設定されていることを特徴とする請求項1に記載の給水口取付部品。
  3. 洗濯物が入れられる槽と、
    前記槽内に給水を行う給水口と、を備え、
    前記槽内に供給された水を攪拌させることにより、前記洗濯物を洗濯する洗濯機であって、
    前記給水口に、請求項2に記載の給水口取付部品が取付けられたことを特徴とする洗濯機。
  4. 前記槽は、略上方に向けて開口した開口面を有しており、
    前記給水口は、前記開口面よりも上側の位置に、水を放出する方向が略下方となるように設置されている請求項3に記載の洗濯機であって、
    前記給水口取付部品は、
    水の放出される方向が、前記開口面の中心へ向かう方向へより近づくように、前記給水口に取付けられていることを特徴とする洗濯機。
JP2010223496A 2010-10-01 2010-10-01 給水口取付部品および洗濯機 Active JP5676196B2 (ja)

Priority Applications (1)

Application Number Priority Date Filing Date Title
JP2010223496A JP5676196B2 (ja) 2010-10-01 2010-10-01 給水口取付部品および洗濯機

Applications Claiming Priority (1)

Application Number Priority Date Filing Date Title
JP2010223496A JP5676196B2 (ja) 2010-10-01 2010-10-01 給水口取付部品および洗濯機

Publications (2)

Publication Number Publication Date
JP2012075673A true JP2012075673A (ja) 2012-04-19
JP5676196B2 JP5676196B2 (ja) 2015-02-25

Family

ID=46236628

Family Applications (1)

Application Number Title Priority Date Filing Date
JP2010223496A Active JP5676196B2 (ja) 2010-10-01 2010-10-01 給水口取付部品および洗濯機

Country Status (1)

Country Link
JP (1) JP5676196B2 (ja)

Citations (2)

* Cited by examiner, † Cited by third party
Publication number Priority date Publication date Assignee Title
JPS57180105U (ja) * 1981-05-11 1982-11-15
JPS5894486U (ja) * 1981-12-18 1983-06-27 株式会社富士通ゼネラル 洗濯機の給水装置

Patent Citations (2)

* Cited by examiner, † Cited by third party
Publication number Priority date Publication date Assignee Title
JPS57180105U (ja) * 1981-05-11 1982-11-15
JPS5894486U (ja) * 1981-12-18 1983-06-27 株式会社富士通ゼネラル 洗濯機の給水装置

Also Published As

Publication number Publication date
JP5676196B2 (ja) 2015-02-25

Similar Documents

Publication Publication Date Title
CN102978867B (zh) 洗衣机
JP2013027415A (ja) 洗濯乾燥機
US20180363197A1 (en) Wall-mounted washing machine
JP5676196B2 (ja) 給水口取付部品および洗濯機
US10538871B2 (en) Washing machine
JP2012239585A (ja) 洗濯乾燥機
JP5819668B2 (ja) 洗濯乾燥機
JP6609442B2 (ja) 自動洗濯機
JP2013027416A (ja) 洗濯乾燥機
JP2004329778A (ja) ドラム式洗濯機
JP5391230B2 (ja) 洗濯機
JP5379771B2 (ja) 洗濯機
JP2007044560A (ja) ドラム式洗濯機
JP2013000244A (ja) 洗濯乾燥機
JP5711055B2 (ja) 洗濯乾燥機
JP2013013659A (ja) 洗濯機
JP7190414B2 (ja) 縦型洗濯機
JP2007098185A (ja) ドラム式洗濯機
JP5087040B2 (ja) 洗濯乾燥機および洗濯機
JP2024043907A (ja) 洗濯機
KR102381040B1 (ko) 세탁기
JP2013034534A (ja) 洗濯機
JP2012143478A (ja) 洗濯乾燥機
JPH0415090A (ja) 洗濯機
JP6595810B2 (ja) 洗濯乾燥機

Legal Events

Date Code Title Description
A621 Written request for application examination

Free format text: JAPANESE INTERMEDIATE CODE: A621

Effective date: 20131001

A977 Report on retrieval

Free format text: JAPANESE INTERMEDIATE CODE: A971007

Effective date: 20140430

A131 Notification of reasons for refusal

Free format text: JAPANESE INTERMEDIATE CODE: A131

Effective date: 20140819

RD03 Notification of appointment of power of attorney

Free format text: JAPANESE INTERMEDIATE CODE: A7423

Effective date: 20141006

TRDD Decision of grant or rejection written
A01 Written decision to grant a patent or to grant a registration (utility model)

Free format text: JAPANESE INTERMEDIATE CODE: A01

Effective date: 20141202

A61 First payment of annual fees (during grant procedure)

Free format text: JAPANESE INTERMEDIATE CODE: A61

Effective date: 20141225

R150 Certificate of patent or registration of utility model

Ref document number: 5676196

Country of ref document: JP

Free format text: JAPANESE INTERMEDIATE CODE: R150