JP2012024950A - 樹脂モールド装置 - Google Patents

樹脂モールド装置 Download PDF

Info

Publication number
JP2012024950A
JP2012024950A JP2010163230A JP2010163230A JP2012024950A JP 2012024950 A JP2012024950 A JP 2012024950A JP 2010163230 A JP2010163230 A JP 2010163230A JP 2010163230 A JP2010163230 A JP 2010163230A JP 2012024950 A JP2012024950 A JP 2012024950A
Authority
JP
Japan
Prior art keywords
mold
resin
molded product
drive mechanism
drive
Prior art date
Legal status (The legal status is an assumption and is not a legal conclusion. Google has not performed a legal analysis and makes no representation as to the accuracy of the status listed.)
Granted
Application number
JP2010163230A
Other languages
English (en)
Other versions
JP5621147B2 (ja
Inventor
Masaki Kawaguchi
正樹 川口
Current Assignee (The listed assignees may be inaccurate. Google has not performed a legal analysis and makes no representation or warranty as to the accuracy of the list.)
Apic Yamada Corp
Original Assignee
Apic Yamada Corp
Priority date (The priority date is an assumption and is not a legal conclusion. Google has not performed a legal analysis and makes no representation as to the accuracy of the date listed.)
Filing date
Publication date
Application filed by Apic Yamada Corp filed Critical Apic Yamada Corp
Priority to JP2010163230A priority Critical patent/JP5621147B2/ja
Publication of JP2012024950A publication Critical patent/JP2012024950A/ja
Application granted granted Critical
Publication of JP5621147B2 publication Critical patent/JP5621147B2/ja
Active legal-status Critical Current
Anticipated expiration legal-status Critical

Links

Images

Landscapes

  • Engineering & Computer Science (AREA)
  • Manufacturing & Machinery (AREA)
  • Mechanical Engineering (AREA)
  • Injection Moulding Of Plastics Or The Like (AREA)
  • Moulds For Moulding Plastics Or The Like (AREA)

Abstract

【課題】部品の交換が容易な樹脂モールド装置を提供する。
【解決手段】樹脂モールド装置1は、下金型80と、下金型80の外部に設けられた駆動源を有する金型駆動機構86と、下金型80内において可動に構成されたテーパプレート85と、一端が前記駆動源に接続されると共に他端がテーパプレート85に接続される駆動ロッド86aと、前記駆動源に駆動ロッド86aを接続した接続位置と、この接続位置から退避した退避位置との間で前記駆動源を回動可能に軸支する回動機構91とを備えている。
【選択図】図5

Description

本発明は、樹脂モールド装置に適用して有効な技術に関する。
樹脂モールド装置は、例えば、配線基板に半導体チップが搭載された複数の被成形品を、上下一組の樹脂モールド金型(以下、「金型」ともいう。)によってクランプし、この金型の個々のキャビティに樹脂を充填して、複数の被成形品を一括して樹脂モールドを行うものである。この際、キャビティ内に樹脂が行き渡るように、樹脂は圧(樹脂圧)をかけて注入されるため、被成形品を金型によって強くクランプする必要がある。
このような樹脂モールド装置を用いて、トランスファ成形された成形品を大量に製造するにあたり、個々の被成形品の厚さのばらつきを考慮する必要がある。なぜなら、樹脂モールドの際、被成形品のクランプ時のクランプ圧と、樹脂注入時の樹脂圧との関係でバランスが取れていないことによる問題が発生するからである。具体的には、クランプ圧が低すぎる場合、金型から樹脂が漏れて樹脂バリが発生することがある。また、クランプ圧が高すぎる場合、金型でクランプされる被成形品が損傷することがある。
このような被成形品の厚さのばらつきによる問題を解消する技術として、被成形品をクランプするインサートブロックを金型の開閉方向に可動とするものがある。具体的には、被成形品の厚さに応じて、インサートブロックの開閉方向の位置を調節することにより、被成形品をクランプして樹脂モールドするものである。
例えば、特開2007−320102号公報(特許文献1)には、金型により構成されるキャビティ(モールド室)に樹脂を供給するプランジャを備えたモールド装置が開示されている。このモールド装置は、金型の開閉方向(金型の型締め方向)に移動するとともに被成形品に接するインサートブロック(スライド部品)と、インサートブロック上に被成形品への押圧力を調整するテーパプレート(移動部品、可動部材)とを有している。
このようなインサートブロックおよびテーパプレートは、互いに接する面が傾斜したテーパ面を有している。また、テーパプレート(テーパ面を有するのでテーパプレートという)の内部には、ネジ穴が形成されており、金型の外部からネジで螺合されている。このネジを駆動機構として用いて、回転させることによってテーパプレートを移動させ、テーパプレートに当接するインサートブロックを金型の開閉方向に移動することができる。このため、特許文献1記載のモールド装置では、インサートブロックを変位させることができ、これにより被成形品への押圧力も調整することができる。
また、特開2007−317843号公報(特許文献2)には、樹脂中のボイドの発生を防止するためにシール機構と、基板を適正な圧力でクランプする基板クランプユニットとが設けられた樹脂封止金型装置が開示されている。この樹脂封止金型装置では、基板クランプユニットの駆動機構のコンパクト化を行うことによりシール機構を効率良くするために、駆動機構の一部が金型に組み込まれ、かつ金型がシール機構で囲まれている。
特開2007−320102号公報 特開2007−317843号公報
特許文献1に記載のテーパプレート(移動部品、可動部材)を移動させるための駆動機構(ネジ部品)や、特許文献2に記載の基板をクランプする基板クランプユニットの駆動機構は、金型の外側(例えば、ベースブロック)に取り付けられており、金型の交換の際には金型から部品を取り外す必要がある。このため、金型を含めた部品の交換と共に、駆動機構を分解しなければならず、また金型を含めた部品の交換後においては、金型を含めた部品の組立と共に駆動機構を再度組み立てる必要があり、工程数が多くなってしまうことが考えられる。具体的には、部品の組み立てを行った後に部品の距離を調整する必要があるため、簡単には品種交換を行うことができなかった。
本発明の目的は、部品の交換が容易な樹脂モールド装置を提供することにある。本発明の前記ならびにその他の目的と新規な特徴は、本明細書の記述および添付図面から明らかになるであろう。
本願において開示される発明のうち、代表的なものの概要を簡単に説明すれば、次のとおりである。本発明の一実施形態における樹脂モールド装置は、モールド金型と、前記モールド金型の外部に設けられた駆動源と、前記モールド金型内において可動に構成されたテーパプレートと、一端が前記駆動源に接続されると共に他端が前記テーパプレートに接続される駆動ロッドと、前記駆動源に前記駆動ロッドを接続した接続位置と、前記接続が解除され接続位置から退避した退避位置との間で前記駆動源を回動可能に軸支する回動機構と、を備えている。
本願において開示される発明のうち、代表的なものによって得られる効果を簡単に説明すれば以下のとおりである。本発明の一実施形態における樹脂モールド装置では、メンテナンスや品種交換のための金型の交換を容易に行うことができる。
本発明の一実施形態における樹脂モールド装置の各部の平面配置を模式的に示す図である。 図1における樹脂モールド装置の上金型の平面配置を模式的に示す図である。 図1における樹脂モールド装置の下金型の平面配置を模式的に示す図である。 図1における樹脂モールド装置の要部を模式的に示す平面図である。 図4における樹脂モールド装置の要部を模式的に示す側面図である。 金型交換中における樹脂モールド装置の要部を模式的に示す平面図である。 図6に続く金型交換中における樹脂モールド装置の要部を模式的に示す平面図である。 図7に続く金型交換中における樹脂モールド装置の要部を模式的に示す側面図である。 図8に続く金型交換中における樹脂モールド装置の要部を模式的に示す側面図である。 図4における樹脂モールド装置の要部を模式的に示す断面図である。
以下、本発明の実施形態を図面に基づいて詳細に説明する。なお、実施形態を説明するための全図において、同一の機能を有する部品には同一の符号を付し、その繰り返しの説明は省略する場合がある。
(樹脂モールド装置の全体構成について)
図1に本実施形態における樹脂モールド装置1の各部の平面配置を示す。この樹脂モールド装置1は、被成形品の供給部A、被成形品の厚さ計測部B、プリヒート部F、ダミーモジュール部G、被成形品のプレス部C、樹脂モールド後の成形品の収納部Dおよび搬送機構Eを備える。プレス部Cは、被成形品2aをクランプして樹脂モールドする金型が装着されたプレス装置32を備える。また、ダミーモジュール部Gは、プリヒート部Fとプレス部Cの間、およびプレス部Cと収納部Dとの間に設けられ、後述する金型駆動機構16のメンテナンスエリアとして用いられるものである。また、搬送機構Eは被成形品2aと成形品2bを搬送する作用をなす。なお、図1では、説明を容易にするために、被成形品2a、成形品2b、2cにハッチングを付している。
(被成形品の供給部について)
樹脂モールド装置1の被成形品の供給部Aは、例えば短冊状の被成形品2aを収納したマガジン11のストッカ12と、マガジン11から被成形品2aを突き出すプッシャ13と、プッシャ13によって突き出された被成形品2aを向かい合わせに並べ替えるターンテーブル14とを備える。
ターンテーブル14の奥側には、対向配置された一対の被成形品2aを、相互の配置位置を保持した状態でセットするセット台15が配置される。また、セット台15の側方には金型のポットの平面配置に合わせて樹脂タブレット16を供給するための樹脂タブレットの供給部17が設けられている。
樹脂モールド装置1において樹脂モールドの対象とする製品(被成形品)は、短冊状に形成された基板上に搭載部品を搭載したものである。被成形品としては、基板に1段あるいは複数段に半導体チップ(搭載部品)を搭載した製品、基板に半導体装置(搭載部品)を搭載した製品、基板に撮像素子(搭載部品)を搭載し、撮像素子の受光面に光透過ガラスを接合した製品等が対象となる。
被成形品の供給部Aにおいてセット台15にセットされている被成形品2aは、インローダ51によって取り上げられ、厚さ計測部Bに横移動し、移載位置にある計測台21に移載される。
(被成形品の厚さ計測部について)
樹脂モールド装置1の被成形品の厚さ計測部Bは、被成形品2aを支持する計測台21と、被成形品2aの厚さを計測する計測装置23と、被成形品2aを計測装置23の計測位置に移動させる移動機構22とを備える。この移動機構22は、計測台21の移動方向を水平方向にガイドするガイド部と、計測台21を移動させる駆動モータ等の駆動部(図示せず)を備える。
また、被成形品2aの厚さを計測する計測装置23は、被成形品2aを厚さ方向に挟む配置に、鉛直向きに対向して配置されたセンサを備える。このセンサは、例えば、被成形品2aにレーザ光を照射し、その反射光から被成形品の厚さを測定するものである。被成形品2aの計測ポイントは、被成形品2aの基板エリア板厚と、半導体チップ(搭載部品)が搭載されている半導体チップエリアの総厚とを測定するために複数設定する。
計測台21に移載された被成形品2aは、移動機構22により奥側から手前側に移動しながら計測装置23により、基板および被モールド領域の搭載部品の厚さが計測される。計測後、移動機構22から移動機構31aによりヒータブロック31へ被成形品2aが移動される。
(プリヒート部について)
樹脂モールド装置1のプリヒート部Fは、被成形品2aを樹脂モールドする前段階において、被成形品2aを加熱するヒータブロック31を備える。ヒータブロック31は、所定温度で被成形品2aを載せて加熱する加熱台として設けられている。
厚さ計測部Bによって厚さが計測された被成形品2aは、移動機構31aに載置された後、トンネルカバー31b内で一時停止された後、ヒータブロック31に搬送されて一定温度に加熱される。その後、被成形品2aは、プレス部Cに搬送される。
(プレス部について)
樹脂モールド装置1のプレス部Cは、金型を駆動して被成形品2aを樹脂モールドするプレス装置32を備える。プレス装置32は、金型を型開閉方向に押動するプレス機構、金型のポット内で溶融した樹脂をポットからキャビティに充填(注入)するトランスファ機構を備えている。被成形品2aおよび樹脂タブレット16は金型に設けられたヒータ(図示せず)によって加熱される。プレス装置32からインローダ51が退出した後、金型により被成形品2aがクランプされ、キャビティに樹脂が充填されて樹脂モールドされる。
樹脂モールド装置1は、被成形品2aを樹脂モールドする際に、被成形品の厚さ計測部Bにおける計測結果に基づいて、制御部61により、金型の上金型と下金型のインサート部品の型開閉方向の位置を調節して樹脂モールドするように構成したものである。このため、プレス装置32は、上金型のインサートブロックを型開閉方向に押動する金型駆動装置33と、下金型のインサートブロックを型開閉方向に押動する金型駆動装置34とを備えている。
また、樹脂モールド装置1では、金型(キャビティ)内の金型面(樹脂モールド面)をリリースフィルムにより被覆して樹脂モールドする方法を利用している。このため、プレス装置32は、金型の金型面にリリースフィルムを供給する供給ローラ35と、リリースフィルムを巻き取る巻き取りローラ36を備えている。
(成形品の収納部について)
樹脂モールド装置1の成形品の収納部Dは、樹脂モールド後の成形品2bをセットするセット部41、成形品2bからゲート等の不要部分を除去するゲートブレイク部42、ゲートが除去された成形品2cを収納する収納部43を備える。成形品2cは収納用のマガジンに収納され、成形品が収納されたマガジンはストッカ44に順次収容される。
樹脂モールド後、プレス装置32の側方からアンローダ52がプレス装置32内に進入し、成形品を取り上げてプレス装置32から成形品2bを搬出する。搬出された成形品2bは、アンローダ52が横移動して収納部Dのセット部41に移載され、次いで、ゲートブレイク部42に搬送されてゲートブレイクされ、収納部43に収納される。
(搬送機構について)
樹脂モールド装置1の搬送機構Eは、樹脂モールド装置1の奥側に、被成形品2aの搬送に用いられるインローダ51と、成形品2bの搬送に用いられるアンローダ52とを備える。また、搬送機構Eは、被成形品の供給部A、被成形品の厚さ計測部B、プリヒート部F、ダミーモジュール部G、プレス部C、ダミーモジュール部G、および成形品の収納部Dを連結するため、各々の奥側の側方部にガイド部53を備えている。すなわち、ガイド部53が、供給部A、計測部B、プリヒート部F、ダミーモジュール部G、プレス部C、ダミーモジュール部G、および収納部Dの各部を一体的に連通して構成されて、インローダ51およびアンローダ52をガイド可能となっている。
アンローダ52は、すでに樹脂モールドされた後の成形品をプレス装置32から取り出す。これと並行して、インローダ51は、横移動しながら樹脂タブレットの供給部17から樹脂タブレット16、ヒータブロック31から被成形品2aを取り上げて、プレス装置32の側方まで移動し、プレス装置32の側方からプレス装置32内に進入し、被成形品2aと樹脂タブレット16を金型に供給する。
このように、本実施形態における樹脂モールド装置1では、被成形品の供給部Aから順次、被成形品2aを供給するとともに、厚さ計測部Bにおける計測結果に基づいて、被成形品2aはプレス部Cにおいて樹脂モールドされ、収納部Dに成形品2bが収納される。なお、樹脂モールド装置1を用いて成形品2bとして形成した後、カッタなどによる切断によって、例えば、搭載されている搭載部品ごとに、成形品2bは個片化される(モールド製品となる)。
(金型について)
樹脂モールド装置1においては、被成形品の厚さ計測部Bの計測結果に基づいて、制御部61により、プレス部Cのプレス装置32に取り付けられた上金型と下金型のインサート部品の型開閉方向の位置を制御して樹脂モールドする。
図2に本実施形態における金型の上金型70の平面配置を示す。図2には上金型70の他に、駆動ロッド76aと動力部76bを有する金型駆動機構76が示されている。この金型駆動機構76は、図1で示した金型駆動装置33に含まれるものである。
また、図3に本実施形態における金型の下金型80の平面配置を示す。図3には下金型80の他に、駆動ロッド86aと動力部86bを有する金型駆動機構86と、下金型80にセットした状態の被成形品2aが示されている。この金型駆動機構86は、図1で示した金型駆動装置34に含まれるものである。ここでは、被成形品2aは、短冊状に形成された基板3上に、搭載部品4が3個搭載されたものとしている。
上金型70は、図2に示すように、ベースブロック74を最も外側に配置し、上金型70の内部にセンターブロック71、チェイスブロック72、インサートブロック73、およびテーパプレート75が配置されている。また、この上金型70上にプラテン78(図5参照)が配置され、上金型70はプラテン78に支持されている。
インサートブロック73の背面側(上側)には、インサートブロック73を型開閉方向に押動するテーパプレート75が配される。また、このテーパプレート75を進退動させる金型駆動機構76が設けられている。インサートブロック73は、搭載部品4(半導体チップ)の平面形状に合わせた端面形状を有するブロック状に形成され、チェイスブロック72に設けられた装着孔内に、型開閉方向に摺動可能に装着される。インサートブロック73の端面は、チェイスブロック72の基板3をクランプする面よりも引き込み位置にあり、被成形品2aをクランプした際にキャビティが形成される。
金型駆動機構76は、ベースブロック74に沿って並列に複数設けられる。この金型駆動機構76の駆動ロッド76aが、ベースブロック74に形成された貫通孔に通されて、テーパプレート75と接続されている。したがって、金型駆動機構76は、被成形品2aの長手方向に直交する方向(すなわち、被成形品2aの短手方向)にテーパプレート75を進退動させるように設けられている。
上金型70の幅方向(図2の左右方向)の中央部には、カル71aが形成されたセンターブロック71が配置され、センターブロック71の両側に、チェイスブロック72が対称に配置されている。カル71aとキャビティとはランナ71bを介して連通することとなる。各々のチェイスブロック72には、被成形品2aにおける搭載部品4(図3参照)に端面を対向させた配置に、3個のインサートブロック73が装着されている。また、リリースフィルム37は、センターブロック71の長手方向を送り方向として、ベースブロック74を除く金型面の略全域を覆うように供給される。
下金型80は、図3に示すように、ベースブロック84を最も外側に配置し、下金型80の内部(チェイスブロック)に、テーパプレート85および基板3下のインサートブロック83が配置されている。また、この下金型80下にプラテン92(図5参照)が配置され、下金型80はプラテン92に支持されている。上金型70を支持するプラテン78を固定プラテンとし、プラテン92を可動プラテンとすることで、型開閉方向(上下方向)に金型を開閉可能としている。このように、本実施形態における樹脂モールド装置1は、モールド金型(上金型70、下金型80)を開閉可能に支持するプラテン78、92を備えている。
下金型80の中央部にポット81aが形成されたセンターブロック81が配置され、センターブロック81の両側に、図3に示す基板3下においてインサートブロック83が対称に配置されている。下金型80の内部で、インサートブロック83は、被成形品2aがセットされる上面を平坦面としたブロック状に形成され、型開閉方向に摺動可動に下金型80に装着される。
インサートブロック83の背面側(下側)には、インサートブロック83を型開閉方向に押動するテーパプレート85が配される。テーパプレート85は金型駆動機構86により、被成形品2aの長手方向と平行方向に進退動される。金型駆動機構86は、上金型70に設けられている金型駆動機構76と同様に、駆動ロッド86aと、これに進退動を与える動力部86bとを主体に構成されている。
このように、樹脂モールド装置1は、キャビティを形成するインサートブロック73、83及びインサートブロック73、83に当接するテーパプレート75、85が組み込まれたモールド金型(上金型70、下金型80)を備えている。また、樹脂モールド装置1は、テーパプレート75、85を進退動させてインサートブロック73、83を型開閉方向に変位させる金型駆動機構76、86を備えている。
金型駆動機構76は、図2に示すように、一端が金型内に進入してテーパプレート75と接続され、他端が金型外に延設されて動力部76b(駆動源)と接続される駆動ロッド76aを備えている。また、金型駆動機構86は、図3に示すように、一端が金型内に進入してテーパプレート85と接続され、他端が金型外に延設されて動力部86b(駆動源)と接続される駆動ロッド86aを備えている。
したがって、プレス装置32においては、上金型のテーパプレート75を駆動する金型駆動機構76と、下金型のテーパプレート85を駆動する金型駆動機構86とは、相互に直交する向きに、テーパプレート75、85を押動する配置となっている。このため、インサートブロック73、83の変位を微調整することができる。したがって、樹脂モールド装置1では、クランプ圧が低すぎて起こる樹脂バリを低減させて、高精度に樹脂モールドすることができる。また、樹脂モールド装置1では、クランプ圧が高すぎて起こる被成形品の損傷を低減させて、製造歩留まりを向上させることができる。
(回動機構について)
さらに、本実施形態における樹脂モールド装置1は、金型を含めた部品の交換を容易にするために、金型側方位置(金型組付時の接続位置)とプラテン側方位置(下金型の部品交換時の退避位置)に金型駆動機構を回動可能に支持する回動機構を備えている。以下では、下金型80側の金型駆動装置34の金型駆動機構86を回動可能に支持する回動機構91について説明する。
図4および図5にそれぞれ樹脂モールド装置1の要部の平面および側面を示す。樹脂モールド装置1の要部としては、特に、プレス装置32の下金型80、金型駆動機構86および回動機構91を示している。また、図4および図5では、下金型80が組み付けられ、その下金型80に金型駆動機構86が連結されている状態を示している。なお、説明を明解にするために、図4、図5では、透視している部品を破線で示している。また、図4では、図3で示した下金型80および金型駆動機構86を、より詳細に示している。また、図5では、図4で示す基板3を配置していない状態で示している。
プレス装置32は、下金型80と、下金型80を支持するプラテン92と、下金型80の内部に組み込まれたテーパプレート85に対して動力を伝える金型駆動機構86と、金型駆動機構86を回動可能に支持する回動機構91とを備えている。また、プレス装置32はプラテン92を支持する装置基台98と、マルチプランジャユニット93とを備えている。このマルチプランジャユニット93に支持されたプランジャ94を用いて、ポット81aに供給された樹脂をキャビティ等に供給する。
下金型80では、ベースブロック84を最も外側に配置し、ベースブロック84で囲まれた内側にチェイスブロック87が配置されている。チェイスブロック87(下金型80)の中央部にポット81aが形成されたセンターブロック81が配置され、センターブロック81の両側にインサートブロック83(図4では基板3下に位置している)が対称に配置されている。また、この下金型80に設けられたチェイスブロック87の内部に、インサートブロック83の下側にテーパプレート85が配置されている。このテーパプレート85は、インサートブロック83を型開閉方向に変位させるものである。
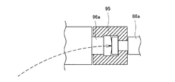
金型駆動機構86は、動力源となる動力部86b(例えば、モータ)と、一端が下金型80内に進入してテーパプレート85と接続され、他端が下金型80外に延設されて動力部86bと接続される駆動ロッド86aとを有している。駆動ロッド86aの他端は、固定金具95によってボールネジ96の一端側のナット96aと接続されている(図10参照)。ここで、駆動ロッド86aの他端と接触するナット96aの端面は、ボールネジ96が斜め下から回動して接触するため、球面としている。これにより、球面の凸部よりその端部が先に、駆動ロッド86aの他端と接触するのを防止している。
一方、ボールネジ96の他端側にはプーリが設けられている。動力部86bのモータ軸にもプーリが設けられており、ボールネジ96側と動力部86b側のプーリには回転ベルト97が張設されている。このようにして、動力部86bと駆動ロッド86aが接続されている。このように回転ベルト97を介してボールネジ96を駆動することにより、前後方向の奥行きを小さくすることができ、後述するように金型駆動機構86を回動させる際の旋回半径を小さくすることが可能となっている。
また、金型駆動機構86は、下金型80から金型駆動装置34の距離を正確に保持するために、2本の支持ロッド102の間に駆動ロッド86aを設けている。この支持ロッド102は、一端が下金型80のベースブロック84に嵌め込まれて固定され、他端が金型駆動機構86の筐体で固定された固定板101にボルト103により駆動ロッド86aと同じ高さになる位置に固定されている。この場合、駆動ロッド86aが同一平面に並んだ支持ロッド102によって筐体を固定しているため、駆動ロッド86aから力が加わった際に曲げの応力を発生させないため、駆動ロッド86aによりテーパプレート85を高精度に進退動させることができる。
回動機構91は、金型駆動機構86を回動可能に支持(軸支)するため、金型駆動機構86側に突き出るように、プラテン92に固定された固定板105と、金型駆動機構86と固定され、固定板105の回転軸107に対して回動する回動板106とを有している。また、金型駆動機構86の筐体にはハンドル104が設けられている。これにより、作業者は、ハンドル104を掴んで金型駆動機構86を金型側方位置(金型組付時の接続位置)とプラテン側方位置(下金型の部品交換時の退避位置)との間を回動させることができる。
ここで、本実施形態では、金型側方位置(接続位置)とは、金型駆動機構86が、テーパプレート85と駆動源86bが駆動ロッド86aを介して接続された位置としている。また、プラテン側方位置(退避位置)とは、金型駆動機構86が、テーパプレート85、駆動源86b、駆動ロッド86aのそれぞれの接続が解除され、金型側方位置から退避した位置としている。
以下では、図4および図5に示すような下金型80が組み付けられた状態から、プレス装置32の部品を交換する工程について図6〜図10を参照して説明する。図4および図5に示すように、金型組付時においては、金型駆動機構86が、下金型80の側方(型開閉方向と交差する方向)に位置している。この金型側方位置は、駆動ロッド86aが動力部86bと接続される位置である。なお、この金型側方位置において、駆動ロッド86aが下金型80のテーパプレート85と接続されることとなる。
金型駆動機構86が、金型側方位置にあるとき、下金型80下に組み付けられているマルチプランジャユニット93を取り出すことができる(図5参照)。この場合、下金型の部品を交換するときには、まず駆動ロッド86aとボールネジ96のナット96aとを固定している固定金具95(図4、図10参照)を取り外すことによって(図6参照)、駆動ロッド86aとボールネジ96のナット96aとを分離することができる。また、支持ロッド102を固定しているボルト103(図4、図6参照)を取り外すことにより、金型駆動機構86を回動可能状態とすることができる(図7参照)。
次いで、図8に示すように、金型駆動機構86を、回動機構91によって、下金型80の側方の位置からプラテン92の側方(型開閉方向と交差する方向)の位置へ回動させる。このプラテン側方位置は、動力部86bとの接続が解除され、金型側方位置より下方の位置である。このように、金型駆動機構86を回動可能とできるのは、回動機構91が、金型側方位置とプラテン側方位置との間を回動可能に軸支しているからである。なお、プラテン側方位置では、駆動ロッド86aが下金型80のテーパプレート85と接続されていないこととなる。
続いて、駆動ロッド86aおよび支持ロッド102を、下金型80から取り外した後、図9に示すように、チェイスブロック87を取り出す。このとき、金型駆動機構86は、下金型80の側方の位置(金型側方位置)になく、言い換えると、下金型80の側方位置における下金型の部品が取り外される軌道上から退避して下金型80が載置されている面と同一面にはなく、その面と交差するプラテン92の側方に位置している。このため、チェイスブロック72を含む部品を交換することができる。
特許文献1に記載のテーパプレート(移動部品、移動部材)を移動させるための駆動機構(ネジ部品)や、特許文献2に記載の基板をクランプする基板クランプユニットの駆動機構を有する樹脂モールド装置では、それら駆動機構の一部が金型周囲に設けられており、金型の交換の際には金型から部品を取り外す必要がある。このため、金型を含めた部品の交換の際に駆動機構を分解しなければならず、また金型を含めた部品の交換後においては駆動機構を再度組み立てる必要があり、工程数が多くなることが考えられる。
これに対して、本実施形態における樹脂モールド装置1では、金型側方位置とプラテン側方位置に金型駆動機構86を回動可能に軸支する回動機構91をプラテン92に備えることによって、チェイスブロック87やマルチプランジャユニット93などの部品を交換する際に、金型駆動機構86を分解する必要はない。すなわち、金型駆動機構86を分解させることなく、チェイスブロック72などの部品を容易に交換することができる。
また、図4〜9の逆の手順で金型組付時の位置に組み立てる際には、金型駆動機構86を回動させて元の位置に戻すことで、下金型80に対する金型駆動装置34の距離を常に同じ位置に戻すことで位置決めの作業を不要とすることができる。概略すると、まず、金型駆動機構86がプラテン側方位置にある状態で、下金型80にチェイスブロック87を組み付ける(図9参照)。次いで、金型駆動機構86がプラテン側方位置にある状態で、下金型80に駆動ロッド86a、支持ロッド102を組み付ける(図8参照)。次いで、回動機構91によって、金型駆動機構86をプラテン側方位置から金型側方位置まで回動する。この際、下金型80に対する金型駆動機構86の距離は常に同じ位置となるため、図7に示すように、金型駆動機構86(金型駆動装置34)内の所定の位置に駆動ロッド86aと支持ロッド102が配置されることとなる。次いで、支持ロッド102をボルト103で金型駆動機構86に固定し(図6参照)、駆動ロッド86aとボールネジ96のナット96aとを固定金具96で固定する(図4参照)。次いで、金型駆動機構86が金型側方位置にある状態で、マルチプランジャユニット93を組み付ける(図5参照)。
また、回動機構91は、金型駆動機構86を金型側方位置とプラテン側方位置に、金型駆動機構86を固定するインデックスプランジャ111を有している。このインデックスプランジャ111を、固定板105に形成された2つのインデックス穴112のどちらかに嵌め込むことによって、回動板106の回動を停止することができる。
図5に示す状態では、一方のインデックス穴112にインデックスプランジャ111が嵌め込まれて、金型側方位置となっている。また、固定金具95及びボルト103を取り外すだけで接続を解除することができる。すなわち、金型交換可能な状態とすることができる。これにより、金型駆動機構86を、マルチプランジャユニット93の取り外しの軌道上から外すことができる。また、他方のインデックス穴112にインデックスプランジャ111が嵌め込まれたときは、プラテン側方位置となる。これにより、金型駆動機構86を、下金型80の取り外しの軌道上から外すことができる。
このように、スプリング機構の動作を止めているインデックスプランジャ111によってそれぞれの状態を確実に保持(固定)でき、作業性を向上できる。
また、回動機構91は、プラテン92を固定する装置基台98に取り付けられたスプリング機構113(例えば、ガススプリング、シリンダなど)を有している。このスプリング機構113によって、金型駆動機構86の重量を受けて金型駆動機構86を回動可能に支持している。このため、作業者は、下側(プラテン側方位置)から上側(金型側方位置)へ金型駆動機構86を小さな力で容易に持ち上げることができる。また、作業者は、上側(金型側方位置)から下側(プラテン側方位置)へ金型駆動機構86を容易に下げることができる。
なお、本実施形態では、図4に示すように、金型駆動装置34の両側において2つのスプリング機構113で金型駆動機構86の重量を受けている。このため、マルチプランジャユニット93の取り出しの際には(図5参照)、この2つのスプリング機構113の間でマルチプランジャユニット93を取り出すことができ、マルチプランジャユニット93の交換をスプリング機構113によって妨げることはない。
このように、本実施形態における樹脂モールド装置1では、回動機構91を設けることで、下金型80を交換する際に下金型80と共に金型駆動機構86を分解する必要はなく、また、容易にモールド成形時の状態や部品交換時の状態とすることができる。また、容易に部品を交換することができるので、分解および組立ての工数の増加を抑制することができる。
以上、本発明者によってなされた発明を実施形態に基づき具体的に説明したが、本発明は前記実施形態に限定されるものではなく、その要旨を逸脱しない範囲で種々変更可能であることはいうまでもない。
前記実施形態では、金型を含めた部品の交換を容易にするために、金型側方位置とプラテン側方位置に金型駆動機構を回動可能に軸支する回動機構を、下金型80に適用した場合について説明したが、上金型70に適用しても良い。具体的には、上金型70を支持するプラテン78に、金型側方位置とプラテン側方位置に金型駆動機構76を回動可能に軸支する回動機構を設けても良い。
また、厚さ計測部Bを樹脂モールド装置1内に設けない構成とし、外部で測定された厚さの計測結果に基づいて制御部61が制御を行う構成としてもよい。さらに、プリヒートが不要な場合にはプリヒート部も設けない構成としてもよい。また、回転ベルト97を介してボールネジ96を駆動する例について説明したが、駆動ロッド86aを動力部86bに直接接続して駆動させる構成としてもよい。
また、金型駆動機構86が固定された回動板106を回転軸107で軸支することで金型駆動機構86の動力部86bを回動可能に構成する構成例について説明したが本発明はこれに限定されない。例えば、金型駆動機構86が固定された回動板106に複数の同心円弧状の溝(長孔)を設けると共に、この溝に嵌合する突起を固定板105に設ける構成としてもよい。この場合、複数の同心円弧状の溝に沿って突起をスライドさせることにより回動板106を回動させることが可能である。なお、溝と突起を上述した板とは逆の板に形成してもよい。
また、前記実施形態では、駆動ロッド86aによってテーパプレート85を進退動させてインサートブロック83を型開閉方向に変位させる金型駆動機構86を備えた構成について説明したが本発明はこれに限定されない。すわなち、金型内において直動する可動部材を金型側方から接続された駆動ロッドにより駆動する構成において、金型外部で駆動ロッドに接続された動力部からの動力を伝えて進退動させる構成であれば本発明を実施することが可能である。
例えば、成形品を型面からエジェクトするエジェクトピン、ゲートに進退することでゲートの開度を調整するゲートピン、エアベントに進退することでエアベントの開度を調整するエアベントピン、または、金型内に配置された被成形品等を所定の位置に固定するための位置決めピンのような金型のクランプ方向に駆動させる各種ピンを駆動する可動部材を駆動ロッドで駆動するような構成でも同様の構成を採用することができる。このような構成においても、動力部を駆動ロッドの側方の接続位置から簡単に退避させることができるため、金型から駆動ロッドを簡単に抜き差しでき交換作業を簡素化することができる。このため、各種ピンの交換を簡易化することができる。
1 樹脂モールド装置
80 下金型
83 インサートブロック
85 テーパプレート
86 金型駆動機構
86a 駆動ロッド
86b 動力部
91 回動機構
92 プラテン(可動プラテン)
98 装置基台
111 インデックスプランジャ
113 スプリング機構
A 被成形品の供給部
B 被成形品の厚さ計測部
C プレス部
D 成形品の収納部
E 搬送機構
F プリヒート部

Claims (3)

  1. モールド金型と、
    前記モールド金型の外部に設けられた駆動源と、
    前記モールド金型内において可動に構成されたテーパプレートと、
    一端が前記駆動源に接続されると共に他端が前記テーパプレートに接続される駆動ロッドと、
    前記駆動源に前記駆動ロッドを接続した接続位置と、前記接続が解除され接続位置から退避した退避位置との間で前記駆動源を回動可能に軸支する回動機構と、
    を備えていることを特徴とする樹脂モールド装置。
  2. 請求項1記載の樹脂モールド装置において、
    前記回動機構は、前記接続位置と前記退避位置とで前記金型駆動機構を固定するインデックスプランジャを有していることを特徴とする樹脂モールド装置。
  3. 請求項1または2記載の樹脂モールド装置において、
    前記回動機構は、前記プラテンを固定する装置基台に取り付けられたスプリング機構を有しており、前記スプリング機構で前記金型駆動機構の重量を受けて前記金型駆動機構を回動可能に支持していることを特徴とする樹脂モールド装置。
JP2010163230A 2010-07-20 2010-07-20 樹脂モールド装置 Active JP5621147B2 (ja)

Priority Applications (1)

Application Number Priority Date Filing Date Title
JP2010163230A JP5621147B2 (ja) 2010-07-20 2010-07-20 樹脂モールド装置

Applications Claiming Priority (1)

Application Number Priority Date Filing Date Title
JP2010163230A JP5621147B2 (ja) 2010-07-20 2010-07-20 樹脂モールド装置

Publications (2)

Publication Number Publication Date
JP2012024950A true JP2012024950A (ja) 2012-02-09
JP5621147B2 JP5621147B2 (ja) 2014-11-05

Family

ID=45778500

Family Applications (1)

Application Number Title Priority Date Filing Date
JP2010163230A Active JP5621147B2 (ja) 2010-07-20 2010-07-20 樹脂モールド装置

Country Status (1)

Country Link
JP (1) JP5621147B2 (ja)

Cited By (2)

* Cited by examiner, † Cited by third party
Publication number Priority date Publication date Assignee Title
CN115946300A (zh) * 2022-12-21 2023-04-11 扬州市润建机械有限公司 一种压铸机用的脱模机构
WO2023074824A1 (ja) * 2021-10-29 2023-05-04 富士電機株式会社 コンデンサ装置、電力変換装置および車両

Citations (7)

* Cited by examiner, † Cited by third party
Publication number Priority date Publication date Assignee Title
JPS61273915A (ja) * 1985-05-30 1986-12-04 Toyoda Gosei Co Ltd インサートを有する成形品の成形方法
JPS62251114A (ja) * 1986-04-25 1987-10-31 Toyoda Gosei Co Ltd 窓パネルの製造方法及びその製造装置
JPH05285957A (ja) * 1992-04-08 1993-11-02 Nissei Plastics Ind Co 型締装置の金型交換装置
JPH1086191A (ja) * 1996-09-19 1998-04-07 Canon Inc 射出成形用金型及びその成形駒
JP2006088692A (ja) * 2004-08-26 2006-04-06 Apic Yamada Corp 樹脂モールド金型
JP2007317843A (ja) * 2006-05-25 2007-12-06 Towa Corp 樹脂封止金型装置における基板クランプユニット
JP2007320102A (ja) * 2006-05-31 2007-12-13 Toyota Motor Corp モールド装置およびモールド品の製造方法

Patent Citations (7)

* Cited by examiner, † Cited by third party
Publication number Priority date Publication date Assignee Title
JPS61273915A (ja) * 1985-05-30 1986-12-04 Toyoda Gosei Co Ltd インサートを有する成形品の成形方法
JPS62251114A (ja) * 1986-04-25 1987-10-31 Toyoda Gosei Co Ltd 窓パネルの製造方法及びその製造装置
JPH05285957A (ja) * 1992-04-08 1993-11-02 Nissei Plastics Ind Co 型締装置の金型交換装置
JPH1086191A (ja) * 1996-09-19 1998-04-07 Canon Inc 射出成形用金型及びその成形駒
JP2006088692A (ja) * 2004-08-26 2006-04-06 Apic Yamada Corp 樹脂モールド金型
JP2007317843A (ja) * 2006-05-25 2007-12-06 Towa Corp 樹脂封止金型装置における基板クランプユニット
JP2007320102A (ja) * 2006-05-31 2007-12-13 Toyota Motor Corp モールド装置およびモールド品の製造方法

Cited By (2)

* Cited by examiner, † Cited by third party
Publication number Priority date Publication date Assignee Title
WO2023074824A1 (ja) * 2021-10-29 2023-05-04 富士電機株式会社 コンデンサ装置、電力変換装置および車両
CN115946300A (zh) * 2022-12-21 2023-04-11 扬州市润建机械有限公司 一种压铸机用的脱模机构

Also Published As

Publication number Publication date
JP5621147B2 (ja) 2014-11-05

Similar Documents

Publication Publication Date Title
JP5560479B2 (ja) 樹脂モールド金型及び樹脂モールド装置、並びに樹脂モールド方法
US9238323B2 (en) Injection molding machine having a temperature controlled baseplate
TWI730336B (zh) 樹脂成形裝置及樹脂成形品的製造方法
TW201902658A (zh) 樹脂模製模具及樹脂模製裝置
JP6423677B2 (ja) 成形金型、成形装置および成形品の製造方法
JP5193609B2 (ja) 金型装置
KR101001096B1 (ko) 수지 밀봉 장치
JP5621147B2 (ja) 樹脂モールド装置
US9802345B2 (en) Injection molding machine for multiple injection operations
KR20210103925A (ko) 수지 몰딩 장치 및 수지 몰딩 방법
JP5909771B2 (ja) 樹脂封止装置
CN110091464B (zh) 注射成型方法及模具装置
CN112976475B (zh) 树脂密封装置
EP1768168A2 (en) Method of resin seal moulding electronic component and apparatus therefor
WO2022224487A1 (ja) 成形型、樹脂成形装置及び樹脂成形品の製造方法
CN112309898B (zh) 树脂塑封模具
JP5621146B2 (ja) 金型駆動装置
EP1768166A2 (en) Method of resin-seal molding electronic component and apparatus therefor
JP4855026B2 (ja) 電子部品の樹脂封止成形方法及び装置
WO2024142494A1 (ja) 成形型、樹脂成形装置及び樹脂成形品の製造方法
CN111655444A (zh) 注射成型机及注射成型系统
WO2023105841A1 (ja) 樹脂封止装置及び封止金型
JP2024033057A (ja) 樹脂封止装置及び樹脂封止方法
JP7752345B2 (ja) 樹脂封止装置、封止金型、及び樹脂封止方法
JP5729892B1 (ja) 樹脂供給装置及びそれを備えた電子部品モールド装置、並びに樹脂供給方法

Legal Events

Date Code Title Description
A621 Written request for application examination

Free format text: JAPANESE INTERMEDIATE CODE: A621

Effective date: 20130415

A977 Report on retrieval

Free format text: JAPANESE INTERMEDIATE CODE: A971007

Effective date: 20140116

A131 Notification of reasons for refusal

Free format text: JAPANESE INTERMEDIATE CODE: A131

Effective date: 20140128

A521 Request for written amendment filed

Free format text: JAPANESE INTERMEDIATE CODE: A523

Effective date: 20140228

TRDD Decision of grant or rejection written
A01 Written decision to grant a patent or to grant a registration (utility model)

Free format text: JAPANESE INTERMEDIATE CODE: A01

Effective date: 20140826

A61 First payment of annual fees (during grant procedure)

Free format text: JAPANESE INTERMEDIATE CODE: A61

Effective date: 20140903

R150 Certificate of patent or registration of utility model

Ref document number: 5621147

Country of ref document: JP

Free format text: JAPANESE INTERMEDIATE CODE: R150

R250 Receipt of annual fees

Free format text: JAPANESE INTERMEDIATE CODE: R250

R250 Receipt of annual fees

Free format text: JAPANESE INTERMEDIATE CODE: R250

R250 Receipt of annual fees

Free format text: JAPANESE INTERMEDIATE CODE: R250

R250 Receipt of annual fees

Free format text: JAPANESE INTERMEDIATE CODE: R250

R250 Receipt of annual fees

Free format text: JAPANESE INTERMEDIATE CODE: R250

R250 Receipt of annual fees

Free format text: JAPANESE INTERMEDIATE CODE: R250

S111 Request for change of ownership or part of ownership

Free format text: JAPANESE INTERMEDIATE CODE: R313111

R350 Written notification of registration of transfer

Free format text: JAPANESE INTERMEDIATE CODE: R350