CN113334667B - 树脂模制装置及树脂模制方法 - Google Patents
树脂模制装置及树脂模制方法 Download PDFInfo
- Publication number
- CN113334667B CN113334667B CN202110006955.8A CN202110006955A CN113334667B CN 113334667 B CN113334667 B CN 113334667B CN 202110006955 A CN202110006955 A CN 202110006955A CN 113334667 B CN113334667 B CN 113334667B
- Authority
- CN
- China
- Prior art keywords
- resin
- loader
- molding
- molding die
- mold
- Prior art date
- Legal status (The legal status is an assumption and is not a legal conclusion. Google has not performed a legal analysis and makes no representation as to the accuracy of the status listed.)
- Active
Links
Images
Classifications
-
- B—PERFORMING OPERATIONS; TRANSPORTING
- B29—WORKING OF PLASTICS; WORKING OF SUBSTANCES IN A PLASTIC STATE IN GENERAL
- B29C—SHAPING OR JOINING OF PLASTICS; SHAPING OF MATERIAL IN A PLASTIC STATE, NOT OTHERWISE PROVIDED FOR; AFTER-TREATMENT OF THE SHAPED PRODUCTS, e.g. REPAIRING
- B29C45/00—Injection moulding, i.e. forcing the required volume of moulding material through a nozzle into a closed mould; Apparatus therefor
- B29C45/17—Component parts, details or accessories; Auxiliary operations
- B29C45/26—Moulds
-
- B—PERFORMING OPERATIONS; TRANSPORTING
- B29—WORKING OF PLASTICS; WORKING OF SUBSTANCES IN A PLASTIC STATE IN GENERAL
- B29C—SHAPING OR JOINING OF PLASTICS; SHAPING OF MATERIAL IN A PLASTIC STATE, NOT OTHERWISE PROVIDED FOR; AFTER-TREATMENT OF THE SHAPED PRODUCTS, e.g. REPAIRING
- B29C43/00—Compression moulding, i.e. applying external pressure to flow the moulding material; Apparatus therefor
- B29C43/02—Compression moulding, i.e. applying external pressure to flow the moulding material; Apparatus therefor of articles of definite length, i.e. discrete articles
- B29C43/18—Compression moulding, i.e. applying external pressure to flow the moulding material; Apparatus therefor of articles of definite length, i.e. discrete articles incorporating preformed parts or layers, e.g. compression moulding around inserts or for coating articles
-
- B—PERFORMING OPERATIONS; TRANSPORTING
- B29—WORKING OF PLASTICS; WORKING OF SUBSTANCES IN A PLASTIC STATE IN GENERAL
- B29C—SHAPING OR JOINING OF PLASTICS; SHAPING OF MATERIAL IN A PLASTIC STATE, NOT OTHERWISE PROVIDED FOR; AFTER-TREATMENT OF THE SHAPED PRODUCTS, e.g. REPAIRING
- B29C43/00—Compression moulding, i.e. applying external pressure to flow the moulding material; Apparatus therefor
- B29C43/32—Component parts, details or accessories; Auxiliary operations
- B29C43/34—Feeding the material to the mould or the compression means
-
- B—PERFORMING OPERATIONS; TRANSPORTING
- B29—WORKING OF PLASTICS; WORKING OF SUBSTANCES IN A PLASTIC STATE IN GENERAL
- B29C—SHAPING OR JOINING OF PLASTICS; SHAPING OF MATERIAL IN A PLASTIC STATE, NOT OTHERWISE PROVIDED FOR; AFTER-TREATMENT OF THE SHAPED PRODUCTS, e.g. REPAIRING
- B29C43/00—Compression moulding, i.e. applying external pressure to flow the moulding material; Apparatus therefor
- B29C43/32—Component parts, details or accessories; Auxiliary operations
- B29C43/36—Moulds for making articles of definite length, i.e. discrete articles
-
- B—PERFORMING OPERATIONS; TRANSPORTING
- B29—WORKING OF PLASTICS; WORKING OF SUBSTANCES IN A PLASTIC STATE IN GENERAL
- B29C—SHAPING OR JOINING OF PLASTICS; SHAPING OF MATERIAL IN A PLASTIC STATE, NOT OTHERWISE PROVIDED FOR; AFTER-TREATMENT OF THE SHAPED PRODUCTS, e.g. REPAIRING
- B29C43/00—Compression moulding, i.e. applying external pressure to flow the moulding material; Apparatus therefor
- B29C43/32—Component parts, details or accessories; Auxiliary operations
- B29C43/52—Heating or cooling
-
- B—PERFORMING OPERATIONS; TRANSPORTING
- B29—WORKING OF PLASTICS; WORKING OF SUBSTANCES IN A PLASTIC STATE IN GENERAL
- B29C—SHAPING OR JOINING OF PLASTICS; SHAPING OF MATERIAL IN A PLASTIC STATE, NOT OTHERWISE PROVIDED FOR; AFTER-TREATMENT OF THE SHAPED PRODUCTS, e.g. REPAIRING
- B29C45/00—Injection moulding, i.e. forcing the required volume of moulding material through a nozzle into a closed mould; Apparatus therefor
- B29C45/02—Transfer moulding, i.e. transferring the required volume of moulding material by a plunger from a "shot" cavity into a mould cavity
-
- B—PERFORMING OPERATIONS; TRANSPORTING
- B29—WORKING OF PLASTICS; WORKING OF SUBSTANCES IN A PLASTIC STATE IN GENERAL
- B29C—SHAPING OR JOINING OF PLASTICS; SHAPING OF MATERIAL IN A PLASTIC STATE, NOT OTHERWISE PROVIDED FOR; AFTER-TREATMENT OF THE SHAPED PRODUCTS, e.g. REPAIRING
- B29C45/00—Injection moulding, i.e. forcing the required volume of moulding material through a nozzle into a closed mould; Apparatus therefor
- B29C45/17—Component parts, details or accessories; Auxiliary operations
- B29C45/18—Feeding the material into the injection moulding apparatus, i.e. feeding the non-plastified material into the injection unit
-
- B—PERFORMING OPERATIONS; TRANSPORTING
- B29—WORKING OF PLASTICS; WORKING OF SUBSTANCES IN A PLASTIC STATE IN GENERAL
- B29C—SHAPING OR JOINING OF PLASTICS; SHAPING OF MATERIAL IN A PLASTIC STATE, NOT OTHERWISE PROVIDED FOR; AFTER-TREATMENT OF THE SHAPED PRODUCTS, e.g. REPAIRING
- B29C45/00—Injection moulding, i.e. forcing the required volume of moulding material through a nozzle into a closed mould; Apparatus therefor
- B29C45/17—Component parts, details or accessories; Auxiliary operations
- B29C45/40—Removing or ejecting moulded articles
- B29C45/42—Removing or ejecting moulded articles using means movable from outside the mould between mould parts, e.g. robots
-
- B—PERFORMING OPERATIONS; TRANSPORTING
- B29—WORKING OF PLASTICS; WORKING OF SUBSTANCES IN A PLASTIC STATE IN GENERAL
- B29C—SHAPING OR JOINING OF PLASTICS; SHAPING OF MATERIAL IN A PLASTIC STATE, NOT OTHERWISE PROVIDED FOR; AFTER-TREATMENT OF THE SHAPED PRODUCTS, e.g. REPAIRING
- B29C45/00—Injection moulding, i.e. forcing the required volume of moulding material through a nozzle into a closed mould; Apparatus therefor
- B29C45/17—Component parts, details or accessories; Auxiliary operations
- B29C45/72—Heating or cooling
-
- H10W74/016—
-
- B—PERFORMING OPERATIONS; TRANSPORTING
- B29—WORKING OF PLASTICS; WORKING OF SUBSTANCES IN A PLASTIC STATE IN GENERAL
- B29C—SHAPING OR JOINING OF PLASTICS; SHAPING OF MATERIAL IN A PLASTIC STATE, NOT OTHERWISE PROVIDED FOR; AFTER-TREATMENT OF THE SHAPED PRODUCTS, e.g. REPAIRING
- B29C43/00—Compression moulding, i.e. applying external pressure to flow the moulding material; Apparatus therefor
- B29C43/02—Compression moulding, i.e. applying external pressure to flow the moulding material; Apparatus therefor of articles of definite length, i.e. discrete articles
- B29C43/18—Compression moulding, i.e. applying external pressure to flow the moulding material; Apparatus therefor of articles of definite length, i.e. discrete articles incorporating preformed parts or layers, e.g. compression moulding around inserts or for coating articles
- B29C2043/181—Compression moulding, i.e. applying external pressure to flow the moulding material; Apparatus therefor of articles of definite length, i.e. discrete articles incorporating preformed parts or layers, e.g. compression moulding around inserts or for coating articles encapsulated
-
- B—PERFORMING OPERATIONS; TRANSPORTING
- B29—WORKING OF PLASTICS; WORKING OF SUBSTANCES IN A PLASTIC STATE IN GENERAL
- B29K—INDEXING SCHEME ASSOCIATED WITH SUBCLASSES B29B, B29C OR B29D, RELATING TO MOULDING MATERIALS OR TO MATERIALS FOR MOULDS, REINFORCEMENTS, FILLERS OR PREFORMED PARTS, e.g. INSERTS
- B29K2101/00—Use of unspecified macromolecular compounds as moulding material
- B29K2101/10—Thermosetting resins
Landscapes
- Engineering & Computer Science (AREA)
- Mechanical Engineering (AREA)
- Manufacturing & Machinery (AREA)
- Robotics (AREA)
- Moulds For Moulding Plastics Or The Like (AREA)
- Encapsulation Of And Coatings For Semiconductor Or Solid State Devices (AREA)
- Injection Moulding Of Plastics Or The Like (AREA)
- Casting Or Compression Moulding Of Plastics Or The Like (AREA)
Abstract
本发明实现一种树脂模制装置及树脂模制方法,其消除在向模制模具投入树脂时或工件安置时等产生模制模具的温度降低这一问题,可在不增加循环时间的情况下减少成形不良状况的发生。本发明的树脂模制装置(100)是使用包括上模(21)及下模(20)的模制模具(10),并利用树脂(R)对在第一构件(Wa)上搭载有第二构件(Wb)的工件(W)进行模制而加工成成形品的树脂模制装置,且包括向模制模具(10)内搬送树脂(R)的第一装载机(82),第一装载机(82)配设有在移动过程中对模制模具(10)的规定区域的表面进行加热的加热装置(50)。
Description
技术领域
本发明涉及一种利用树脂对工件进行模制的树脂模制装置及树脂模制方法。
背景技术
关于半导体装置等的制造,广泛使用利用树脂对在基材上搭载有电子零件的工件进行模制而加工成成形品的树脂模制装置。作为此种树脂模制装置的例子,已知有转移模制装置及压缩成形装置。
此处,转移模制装置是利用上模与下模将工件合模,并利用柱塞将熔融树脂自模制模具的罐中挤出,将树脂填充至型腔中来进行树脂模制的装置(参照专利文献1:日本专利特开平9-155911号公报)。
另外,压缩成形装置是向包括上模与下模而构成的模制模具中所设置的模制区域(型腔)供给规定量的树脂,并且在所述模制区域配置工件,通过由上模与下模夹紧的操作进行树脂模制的装置。此时,在使用上模中设置有型腔的模制模具的情况下,一般在工件上向中心位置成批地供给粘度高的树脂来进行成形。另一方面,在使用下模中设置有型腔的模制模具的情况下,一般利用膜覆盖包含所述型腔的模具面,以均等的厚度供给模制树脂,并使保持于上模的工件浸渍在熔融的模制树脂中进行树脂模制(参照专利文献2:日本专利特开2004-148621号公报)。
[现有技术文献]
[专利文献]
[专利文献1]日本专利特开平9-155911号公报
[专利文献2]日本专利特开2004-148621号公报
发明内容
[发明所要解决的问题]
在上述所例示的树脂模制装置中,在热硬化性的树脂的情况下,将模制模具升温至180度左右,当向模制模具投入树脂时,热自升温后的模制模具被所述树脂吸取,产生投入部及其周围的温度降低的现象。此现象不仅在树脂的投入时产生,在将基材安置于模制模具时也有可能产生。
当产生此种温度降低时,实施使模制模具的加热器工作而恢复为规定的温度为止的工序。为了尽可能地防止此情况,也有预先将基材及树脂预热至80度左右的方法,但与模制模具有温度差。利用此工序的温度恢复需要几十秒钟,但由于是在模制成形的循环中完成,因此对下一成形的影响少。
然而,近年来,在车载用大型功率元件等所例示的半导体装置中,使用大容量的树脂进行的成形正在增加。在此种情况下会产生以下问题:所述温度恢复工序无法在模制成形的循环中完成,在恢复至规定的温度之前便进入下一成形循环,容易发生由热量不足引起的成形不良状况(未填充、空隙等)。相反地,若等待恢复至规定的温度后进入下一成形循环,则虽然可消除热量不足,但会产生循环时间增加、生产性降低的问题。
[解决问题的技术手段]
本发明是鉴于所述情况而成,其目的在于实现一种树脂模制装置,所述树脂模制装置消除在向模制模具投入树脂时或工件安置时等产生模制模具的温度降低这一问题,可在不增加循环时间的情况下减少成形不良状况的发生。
本发明通过以下作为一个实施方式而记载的解决手段来解决所述问题。
本发明的树脂模制装置是一种使用包括上模及下模的模制模具,并利用树脂对在第一构件上搭载有第二构件的工件进行模制而加工成成形品的树脂模制装置,其要件为:包括向所述模制模具内搬送所述树脂的第一装载机,所述第一装载机配设有在移动过程中对所述模制模具的规定区域的表面进行加热的加热装置。
据此,在投入树脂后等产生模制模具的温度降低的情况下,可在第一装载机的移动过程中进行树脂及模具的加热而使温度上升。因此,可在不增加循环时间的情况下减少成形不良状况的发生。
另外,优选为在所述第一装载机中,所述加热装置设置于与进行所述树脂的保持的树脂保持部相比在进入所述模制模具内时成为前端侧的位置。据此,每当第一装载机在进入/退出模制模具时对规定区域进行加热时,能够使第一装载机移动距离最小化。因此,可获得抑制循环时间的增加的效果。
另外,优选为所述模制模具具有供小片型的所述树脂投入的一个或多个罐,所述加热装置是对所述模制模具的包括所述罐的位置在内的规定区域的表面进行加热的结构。据此,可对投入罐中的树脂及罐周围的模具表面进行加热。因此,可有效地抑制因树脂的温度降低引起的成形不良状况的发生。
另外,本发明的树脂模制方法是使用包括上模及下模的模制模具,并利用树脂对在第一构件上搭载有第二构件的工件进行模制而加工成成形品的树脂模制方法,其要件为包括:利用第一装载机向所述模制模具内搬送所述树脂的工序;以及所述第一装载机一边移动,一边对所述模制模具的规定区域的表面进行加热的工序。
[发明的效果]
根据本发明,可消除在向模制模具投入树脂时或工件安置时等产生模制模具的温度降低这一问题。因此,可在不延长循环时间的情况下,减少在树脂模制时因树脂的温度降低等而可能产生的成形不良状况。
附图说明
图1是表示本发明第一实施方式的树脂模制装置的一例的平面图。
图2是图1的树脂模制装置的II-II位置的左侧视图。
图3是表示图1的树脂模制装置的压制装置及第一装载机的例子的正视图(局部剖面图)。
图4是表示图1的树脂模制装置的变形例的正视图(局部剖面图)。
图5是表示图1的树脂模制装置的第一装载机的加热装置的例子的立体图。
图6是表示图1的树脂模制装置的压制装置及加热装置的例子的侧视剖面图。
图7是表示图1的树脂模制装置的第一装载机的加热装置的另一个例子的平面图。
图8是表示本发明第二实施方式的树脂模制装置的例子的平面图。
图9是图8的树脂模制装置的IX-IX位置的左侧视图。
图10是图8的树脂模制装置X-X位置的左侧视图。
图11是表示图8的树脂模制装置的搬送件的例子的平面图。
图12是表示图8的树脂模制装置的模制模具的例子的正视剖面图。
图13是表示图8的树脂模制装置的压制装置及第一装载机的例子的正视图(局部剖面图)。
图14是表示图8的树脂模制装置的变形例的正视图(局部剖面图)。
图15是表示本发明第二实施方式的另一个例子的树脂模制装置的压制装置及第二装载机的例子的正视图(局部剖面图)。
[符号的说明]
10、202、502:模制模具
16:柱塞
20、206:下模/第一模具
21、204:上模/第二模具
22:可动台板
24:固定台板
26:第二模制基座/上模模制基座
28:第二镶块/上模镶块
30、208、208A、208B、508:型腔
32:树脂流路
34:第一模制基座/下模模制基座
36:第一镶块/下模镶块
38:工件支撑部
40:罐
42:支柱
44:卡盘爪
50、50A、50B、50C、50D、50E、50F、250、250A、250B、250C、250D、550:加热装置
50a:反射板
52、252:树脂保持部
62、78:储料器
64:安置台
66:小片供给部
70、201、501:压制装置
74:安置部
76:浇口切断部
80:料盒
82、212:第一装载机
84、210、510:第二装载机
86:引导部
100、200:树脂模制装置
100A:供给单元
100B、200B:压制单元
100C:成形品收纳单元
102:供给料盒
104:供给轨
112:收纳料盒
114:工件测量器
116:工件加热器
120:供给拾取器
122:第一收纳拾取器
124:第二收纳拾取器
200A:工件处理单元
200C:分配单元
204a、206a:模具面
210A:第一保持部
210B:第二保持部
210a、210b:工件保持部
210c、210d:成形品保持部
212A:第三保持部
212B:第四保持部
212a:搬送件保持部
212b:第二抽吸孔
212c、212d:搬出膜保持部
222:上板
224:下板
226:型腔挡块
228:夹具
232:施力构件
236:型腔板
240:工件保持机构
302:准备工作台
304:搬送件拾取器
306:膜卷
308:膜工作台
310:树脂投放工作台
312:分配器
314:树脂加热器
316:膜处理器
400:搬送件
400A、400B:搬入膜保持部
400a、400b:树脂投入孔
400c:第一抽吸孔
504:上模
506:下模
F:膜
Fd:已使用的膜
R:模制树脂/树脂
W:工件
Wa:第一构件
Wb:第二构件
Wp:成形品
具体实施方式
(第一实施方式)
以下,参照附图对本发明的实施方式进行详细说明。图1是表示本发明实施方式的树脂模制装置100的例子的概略图(平面图)。另外,图2~图6是表示树脂模制装置100的各结构的详细情况的概略图。此外,为了便于说明,在图中有时利用箭头来说明树脂模制装置100中的前后、左右、上下的方向。另外,在用于说明各实施方式的所有图中,对具有相同功能的构件标注相同的符号,且有时省略其重复的说明。
本实施方式的树脂模制装置100是进行工件(被成形品)W的树脂模制成形的装置。此处,列举转移模制装置为例进行说明。
首先,关于作为成形对象的工件W,说明一般的结构例。工件W包括在作为基材的第一构件Wa上主要搭载有作为电子零件的第二构件Wb的结构。更具体而言,作为第一构件Wa,例如可列举形成为细条状的树脂基板、陶瓷基板、金属基板、引线框架、载体、晶片等各种包围构件为例。进而,形状并不限于细条状,也可为圆形、四边形。另外,作为第二构件Wb,可列举半导体芯片(有时简称为“芯片”)、电子零件、散热板、用于配线/散热的引线框架、用于电连接的凸块等各种构件为例。即,本发明的工件W是指在这些第一构件Wa上搭载(管芯(die)安装、倒装芯片安装、打线接合安装等)并重合有第二构件Wb的状态的工件。因此,所述工件W也包括:在基板上搭载有一层或多层芯片的工件、在基板上搭载有半导体装置的工件;在基板上搭载有摄像元件并在摄像元件的受光面接合透光玻璃而成的工件等。此处,作为树脂模制的形态,设想了将安装于基板的多个搭载零件收容在一个型腔中来成批地进行树脂模制的情况。此外,也可适用于按照各个搭载零件个别地收容在型腔中来进行树脂模制的情况。
继而,对树脂模制装置100的概要进行说明。如图1所示,树脂模制装置100包括供给模制树脂(有时简称为“树脂”)R及工件W的供给单元100A、对工件W进行树脂模制的压制单元100B、收纳树脂模制后的成形品Wp的成形品收纳单元100C作为主要结构。
首先,供给单元100A包括储料器(stocker)62,所述储料器62收容收纳有工件W的料盒(magazine)(未图示)。利用推杆(未图示)自各料盒送出的工件W例如以两片为一组而与安置台64相向地排列。
在安置台64的侧方设置有用于供给树脂(作为一例,为树脂小片)R的小片供给部66。安置台64的工件W由后述的搬送机构的第一装载机(加载机(in-loader))82保持并向压制单元100B搬送。另外,小片供给部66的树脂(树脂小片)R由第一装载机82保持并向压制单元100B搬送。
此外,在压制装置70中,也可构成为设置在所述搬送工序的中途进行工件W的预热的预热部(未图示)。
接着,压制单元100B包括压制装置70,所述压制装置70对后述的模制模具10进行打开/关闭驱动,并夹紧预热后的工件W进行树脂模制。压制装置70包括:已知的合模机构,将模制模具10向开模/闭模方向按压;转移驱动机构(后述),将在模制模具10的罐40内熔融的树脂自罐40填充至型腔30中。
此外,在压制装置70中,也可构成为:设置膜供给机构,并利用已知的隔离膜(release film)被覆模制模具10的模具面(树脂模制面)来进行树脂模制(未图示)。
接着,成形品收纳单元100C包括:安置部74,安置树脂模制后的成型品Wp;浇口切断部76,自成形品Wp去除浇口等无用树脂;储料器78,收纳去除了无用树脂的成型品Wp。成形品Wp被收纳至收纳用的料盒80中,收纳有成形品的料盒80依次被收容于储料器78中。
接着,本实施方式的树脂模制装置100中,作为跨越各单元间进行搬送的机构,包括将树脂(此处为树脂小片)R与工件W搬入压制单元100B的模制模具10内的第一装载机82、及将成形品Wp与无用树脂(成形后的剔料池(cull)、流道)自压制单元100B的模制模具10内搬出的第二装载机(卸载机(off-loader))84。此处,供给单元100A、压制单元100B及成形品收纳单元100C通过经单元化的台架彼此连结而装配出树脂模制装置100。在各单元的装置内侧分别设置有引导部86,通过将引导部86彼此以呈直线状连结的方式组装而形成了引导轨。第一装载机82与第二装载机84分别设置成能够沿着引导轨自引导部86上的规定位置朝向供给单元100A、压制单元100B、成形品收纳单元100C以直线状进退移动。
因此,通过改变各单元的结构,可在维持使引导部86彼此连结的状态的同时,变更树脂模制装置100的结构形态。例如,图1是设置有两台压制装置70的例子,但也能够构成压制装置70为单数或连结有三台以上的多台压制装置70的树脂模制装置(未图示)。此外,也可设为关于各单元而不存在一部分机构的树脂模制装置。
继而,对设置于树脂模制装置100的压制单元100B上的压制装置70的结构进行说明。
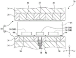
如图2所示,压制装置70包括模制模具10,所述模制模具10具有第一模具(此处为下模)20与第二模具(此处为上模)21。此外,列举下模20为可动模、上模21为固定模的情况为例进行说明,但并不限定于此结构。
首先,下模20为以下结构:包括第一模制基座(下模模制基座)34及第一镶块(下模镶块)36,下模镶块36经由下模模制基座34而固定于可动台板22。
在下模镶块36的上表面,设置有对工件W(第一构件Wa侧)予以支撑的工件支撑部38。在本实施方式中,作为比较大型的工件W用途,设置有支撑一个工件W的工件支撑部38。
另一方面,上模21为以下结构:包括第二模制基座(上模模制基座)26及第二镶块(上模镶块)28,上模镶块28经由上模模制基座26而固定于固定台板24。此外,固定台板24被固定于支柱42。
在上模镶块28的下表面设置有对工件W的规定部位(搭载有第二构件Wb的部位)进行收容的型腔30。在本实施方式中,在与所述下模镶块36的工件支撑部38对应的位置设置有一个型腔30。另外,在上模镶块28中设置有与型腔30连通的树脂流路(剔料池、流道等)32。此外,作为变形例,也可采用在型腔30的底部包括可动的型腔挡块的已知结构,型腔可仅设置于下模侧,也可进一步设置于上模及下模(均未图示)。
在本实施方式的模制模具10中,可动台板22是通过具有驱动源(电动马达)及传递其驱动力的传递机构(曲轴连杆(toggle link)等连杆机构或螺纹轴等)的已知合模机构而升降(沿着支柱42移动)的结构。由此,进行下模20与上模21的开模/闭模。此外,基于合模机构的可动台板22的移动速度、加压力等可适当设定。
进而,在下模20中设置有一个或多个(此处为多个)收容树脂(此处为树脂小片)R的筒状的罐40。罐40形成为在下模模制基座34及下模镶块36中连续的贯通孔。在罐40内配设有由已知的转移驱动机构(未图示)按压的柱塞16。所述柱塞16受到按压,将罐40内的树脂R供给至型腔30内。
继而,对本实施方式中作为特征性结构的第一装载机82及第二装载机84进行详细说明(参照图1~图6)。
本实施方式的第一装载机82中,在进入/退出时(至少一者)的移动过程中(也包括自进入向退出反转的暂时停止中)对模制模具10的至少包括树脂R的载置位置(此处为罐40的位置)的规定区域的表面进行加热的加热装置50(50A)配设于能够朝向加热对象进行加热的位置(此处为第一装载机82的下表面或前端面)(参照图5)。据此,在进入/退出模制模具10时的一者或两者中,第一装载机82可一边移动,一边对模具10中的俯视时规定区域的表面进行加热。此外,在第一装载机82中设置有对工件W进行保持的卡盘爪44。
作为本实施方式的运行例,构成为:第一装载机82进入模制模具10,将树脂R投入罐中并且安置工件W后,所述第一装载机82在其返回路径上自模制模具10退出时,一边移动一边对模制模具10的规定区域的表面进行加热。但是,并不限定于此构成,也可构成为:第一装载机82在进入模制模具10时一边移动一边对模制模具10的规定区域的表面进行加热。或者,还可构成为:第一装载机82在进入模制模具10时及在其返回路径上自模制模具10退出时,均对模制模具10的规定区域的表面进行加热。此外,在任一情况下,均可包括第一装载机82暂时停止中的状态。
此处,作为被加热的所述规定区域,设定为树脂R的载置部(此处为罐40)的区域(所谓的中心嵌入部及其周边),由此可对投入罐40内的树脂R及罐40周围的模具表面进行加热。因此,即便针对由于向模制模具10投入的树脂R为相对大量等而显著产生树脂R投入后的模制模具10的温度降低的情况,也可在第一装载机82的移动过程中进行树脂R及模具的加热而使温度上升。如此,可在第一装载机82搬送树脂R及工件W的通常的循环中进行所述加热,因此循环时间不会变长,不会导致生产性降低。反而可促进树脂R的熔融,因此不仅可改善成形不良状况,还可缩短模制成形时的循环时间。
但是,在由于树脂R为更大量等而即便第一装载机82在进入/退出模制模具10的移动过程中均进行加热,热量仍不足的情况下,虽然循环时间会延长,但可设为使第一装载机82再往返一次或往返多次而加热至规定的温度为止的结构。
此处,适宜为以下结构:在第一装载机82中,加热装置50设置于与进行树脂R的保持的树脂保持部52相比在进入模制模具10内时成为前端侧的位置。据此,每当第一装载机82在进入/退出模制模具10时对规定区域进行加热时,能够使第一装载机82的移动距离最小化。因此,可获得缩短循环时间的效果。
作为本实施方式的加热装置50的例子,使用具有反射板50a的红外线加热器。据此,可朝向加热部位会聚红外线,因此,例如,也能够对投入罐40内的树脂R的端部进行针点式(pinpoint)的加热等。但是,并不限定于红外线加热器,也可使用电热线加热器、卤素加热器、铠装式加热器(sheath heater)、碳加热器、激光加热器、高频加热装置等。
也可代替所述结构或与所述结构一起设为以下结构:以被加热的所述规定区域成为工件W的安置部区域(此处为工件支撑部及周边区域)的方式,在第一装载机82中将加热装置50(50B)配设于能够朝向加热对象进行加热的位置(此处为第一装载机82的下表面或前端面)(并非必需结构,因此在图3中由虚线表示)。作为此情况下的运行例,第一装载机82进入模制模具10,将树脂R安置于模制模具10(此处为下模20)中后,所述第一装载机82可在其返回路径上自模制模具10退出时,一边移动一边对工件W的安置部区域的模具表面进行加热。
另外,作为变形例,也可设为以下结构:代替第一装载机82,在第二装载机84中将所述加热装置50(50C)配设于能够朝向加热对象进行加热的位置(此处为第二装载机84的下表面或前端面)(参照图4)。作为此情况下的运行例,可构成为:第二装载机84进入模制模具10,在对成形品Wp进行了保持后,所述第二装载机84在其返回路径上自模制模具10退出时,一边移动一边对模制模具10的规定区域的表面进行加热。图4虽然未记载成形品Wp及无用树脂(剔料池、流道),但它们是通过第二装载机84的下表面自模制模具10中取出的结构。或者,也可构成为:第二装载机84在进入模制模具10时一边移动一边对模制模具10的规定区域的表面进行加热。或者,还可构成为:第二装载机84在进入模制模具10时及在其返回路径上自模制模具10退出时,均对模制模具10的规定区域的表面进行加热。此外,在任一情况下,均可包括第二装载机84暂时停止中的状态。此处,在加热装置50设置于第二装载机84的情况下,基于与设置于第一装载机82的情况相同的理由,也适宜为设置于在进入模制模具10内时成为前端侧的位置的结构。
也可代替所述结构或与所述结构一起设为以下结构:以被加热的所述规定区域成为工件W的安置部区域(此处为工件支撑部及周边区域)的方式,在第二装载机84中将加热装置50(50D)配设于能够朝向加热对象进行加热的位置(此处为第二装载机84的下表面或前端面)(并非必需结构,因此在图4中由虚线表示)。作为此情况下的运行例,第二装载机84进入模制模具10,在对成形品Wp进行了保持后,所述第二装载机84可在其返回路径上自模制模具10退出时,一边移动一边对工件W的安置部区域的模具表面进行加热。
另外,作为另一变形例,也可设为在第一装载机82及第二装载机84两者中配设所述加热装置50的结构。作为此情况下的运行例,成为将利用第一装载机82的所述加热动作与利用第二装载机84的所述加热动作适当组合而成的结构。进而,如图7所示,也可在第一装载机82中设置多层加热装置50(50E),还可与工件W平行地设置长的加热装置50(50F)。任一配置均可进行长时间加热,因此可进一步进行升温。在此情况下,也可用于模具整体的加热。
(第二实施方式)
继而,作为本发明第二实施方式的树脂模制装置200,列举压缩成形装置为例进行说明。以下,以与所述第一实施方式的不同点为中心对本实施方式进行说明。图8是表示本发明实施方式的树脂模制装置200的例子的概略图(平面图)。另外,图9~图15是表示树脂模制装置200的各结构的详细情况的概略图。
首先,对本实施方式的树脂模制装置200的概要进行说明。如图8所示,树脂模制装置200包括以下单元作为主要结构:工件处理单元200A,主要进行工件W的供给以及树脂模制后的成形品Wp的收纳;压制单元200B,主要对工件W进行树脂模制而加工成成形品Wp;分配单元200C,主要进行膜F及模制树脂(此处为颗粒树脂等)R的供给以及树脂模制后的已使用的膜Fd的收纳(废弃)。此外,在本实施方式中,列举如下的树脂模制装置为例进行说明,所述树脂模制装置为压缩成形方式,且在一个下模中设置两个型腔并且配置两个工件W来成批地进行树脂模制,从而同时获得两个成形品Wp。
在本实施方式中,工件处理单元200A、压制单元200B及分配单元200C这样的单元被连结装配。作为一例,工件处理单元200A、压制单元200B及分配单元200C在左右方向上自左起依次排列设置。此外,跨越各单元之间而以直线状设置有任意数量的引导轨(未图示)。
首先,工件处理单元200A包括收纳多个工件W的供给料盒102、以及收纳多个成型品Wp的收纳料盒112。此处,供给料盒102、收纳料盒112可使用已知的堆叠料盒(stackmagazine)、狭缝式料盒(slit magazine)等,在本实施方式中,均以第二构件Wb的搭载面朝下的状态下分别收纳工件W及成形品Wp。
另外,工件处理单元200A包括载置供给料盒102及自供给料盒102取出的工件W的供给轨104。
另外,工件处理单元200A包括工件测量器114,所述工件测量器114配设于供给轨104的下方,并且构成为能够沿前后及左右方向移动,相对于供给轨104上的工件W自下表面侧(第二构件Wb的搭载面侧)测量工件W的厚度。
另外,工件处理单元200A包括对工件W自下表面侧进行加热的工件加热器116。此处,作为对工件W进行加热的结构,在工件加热器116的上表面配设有已知的加热机构(例如,电热线加热器、红外线加热器等)(未图示)。由此,通过在工件W被搬入模制模具202中受到加热之前进行预热,模制模具202内的工件W的伸长得到抑制。此外,作为变形例,也可设为不包括工件加热器116的结构。
另外,工件处理单元200A包括第一收纳拾取器122,所述第一收纳拾取器122保持第二保持部210B上所载置的成型品Wp,并向规定位置搬送。进而,工件处理单元200A包括第二收纳拾取器124,所述第二收纳拾取器124载置由第一收纳拾取器122保持的成型品Wp,并向单元内的规定位置搬送。它们均具有已知的保持机构(例如,具有保持爪来进行夹持的结构、具有与抽吸装置连通的抽吸孔来进行吸附的结构、仅进行载置的机构等)作为保持成形品Wp的机构(未图示)。在本实施方式中,将第一收纳拾取器122与第二收纳拾取器124组合而构成自第二装载机210搬送成型品Wp的收纳拾取器。
继而,分配单元200C包括准备工作台302,所述准备工作台302载置未保持膜F及模制树脂R的状态的搬送件400并进行适当的清洁。此外,如图11所示,本实施方式的搬送件400具有上表面与下表面形成为平行的平面的大致平板状的形状,并且具有两列对膜F予以保持的搬入膜保持部(图中为400A、400B)。另外,在各搬入膜保持部400A、搬入膜保持部400B中,在与各膜F对应的位置(保持各膜F的位置),以自上表面观察而各膜F露出的方式配设有形成为贯通孔的树脂投入孔400a、树脂投入孔400b。进而,在树脂投入孔400a、树脂投入孔400b的周围配设有产生抽吸力来保持膜的多个第一抽吸孔400c。
另外,分配单元200C包括将其在多个规定位置(工作台)之间搬送的搬送件拾取器304。此外,作为对搬送件400予以保持的机构,具有已知的保持机构(例如,具有保持爪来进行夹持的结构、具有与抽吸装置连通的抽吸孔来进行吸附的结构等)(未图示)。例如,可采用以下结构:在搬送件400的外周部分设置凹凸部,并将凹凸部卡挂于自搬送件拾取器304的下表面向下竖立设置的保持爪来予以保持并搬送的结构。
另外,分配单元200C包括:膜卷306,在作为准备工作台302的后方的位置,将长条状的膜F卷成卷状而成;以及膜工作台(第一工作台)308,配设于膜卷306的上方(在本实施方式中为斜上方),将自膜卷306拉出的膜F切断成规定长度的细条状并予以保持。
另外,分配单元200C包括树脂投放工作台(第二工作台)310,所述树脂投放工作台(第二工作台)310相对于膜工作台308而配设于侧方(作为一例,为右侧)并且构成为能够沿前后左右方向移动,并载置由搬送件拾取器304搬送的搬送件400(在下表面保持有两个膜F的状态)。
另外,分配单元200C在相对于膜工作台308而成为中间隔着所述树脂投放工作台310的配置的侧方(作为一例,为右侧)、且比树脂投放工作台310高的位置包括分配器312。所述分配器312向树脂投放工作台310上所载置的搬送件400中的树脂投入孔400a、树脂投入孔400b投入模制树脂R,将所述模制树脂R搭载(投放)于露出的膜F上(树脂投入孔400a、树脂投入孔400b的内侧)。
另外,分配单元200C包括树脂加热器314,所述树脂加热器314自保持着搭载有模制树脂R的膜F的状态的搬送件400的上表面侧进行加热,由此对所述模制树脂R进行加热。此外,作为对搬送件400(模制树脂R)进行加热的结构,在树脂加热器314的下表面配设有已知的加热机构(例如,电热线加热器、红外线加热器等)(未图示)。因此,可通过搬送件400对以搭载于两个膜F上的状态受到保持的模制树脂R同时进行加热。
另外,分配单元200C包括收纳已使用的膜Fd的膜处理器316。
接着,本实施方式的树脂模制装置200中,作为跨越各单元间进行搬送的机构,包括将树脂R(搭载于搬送件400的状态)搬入压制装置201的模制模具202内的第一装载机212、及将成形品Wp自压制装置201的模制模具202内搬出的第二装载机210。所述第一装载机212及第二装载机210被设置成能够沿着引导轨在规定的单元间移动。
此处,关于各单元,可通过改变结构来变更树脂模制装置200的结构形态。例如,图8所示的结构是设置有三台压制装置201的例子,但也能够构成为仅设置一台压制装置201、或者设置两台或四台以上的压制装置201的树脂模制装置(未图示)。另外,也能够设置其他单元。例如,也能够设置与分配单元200C不同的供给模制树脂R的单元、或供给在模具内与工件W进行装配的构件的单元(未图示)。作为一例,所述构件可为作为散热板或屏蔽板发挥功能的板状构件。此情况下,也可在膜F上重叠板状构件后,将模制树脂R供给至板状构件上后进行搬送。
此外,作为所述树脂模制装置200的变形例,也可构成为如下的树脂模制装置,所述树脂模制装置为压缩成形方式,且在一个下模中设置一个型腔并且配置一个工件W(例如,设想使用圆形的晶片或正方形、长方形的基板等作为第一构件Wa的情况)来进行树脂模制,从而获得一个成形品(未图示)。此情况下,作为工件W,可设为对与作为所述细条形工件的工件W相比宽度更宽的宽幅工件(大尺寸工件)进行加工的结构。作为所述宽幅工件,可使用与细长形工件相比宽度更宽的正方形、长方形或多边形的工件W;与细长形工件相比直径(宽度)相对更宽的圆形的晶片;或者作为载板的工件W。
继而,对设置于树脂模制装置200的压制单元200B上的压制装置201的结构进行说明。
如图9、图10、图12所示,压制装置201首先包括具有可打开/关闭的一对模具(例如,包含合金工具钢的多个模具块、模具板、模具柱等或组装有其他构件的模具)的模制模具202。在本实施方式中,将一对模具中为铅垂方向上的下方侧的另一个模具设为第一模具(此处为下模)206、将为上方侧的一个模具设为第二模具(此处为上模)204。所述模具202通过下模206与上模204相互接近/背离而进行闭模/开模。即,铅垂方向为开模/闭模方向。
此外,模制模具202通过已知的开模/闭模机构(未图示)进行开模/闭模。例如,开模/闭模机构构成为包括:一对台板、架设一对台板的多个连结机构(系杆或柱部)、以及使台板可动(升降)的驱动源(例如,电动马达)及驱动传递机构(例如,曲轴连杆)等(驱动用机构均未图示)。
此处,模制模具202配设于所述开模/闭模机构的一对台板之间。在本实施方式中,作为固定模的上模204被组装于固定台板(固定于连结机构的台板),作为可动模的下模206被组装于可动台板(沿着连结机构升降的台板)。但是,并不限定于所述结构,也可将上模204设为可动模,将下模206设为固定模,或者将上模204、下模206均设为可动模。或者,也可设为设置两块可动台板来设置两组上模204及下模206的结构。
接着,对模制模具202的下模206进行具体说明。下模206包括下板224、型腔挡块226、夹具228等,将它们组装在一起而构成(参照图12)。
此处,型腔挡块226被固定组装于下板224的上表面(上模204侧的表面)。夹具228以包围型腔挡块226的方式构成为环状,与型腔挡块226邻接地且相对于下板224的上表面分离(浮动)地组装。
在本实施方式中,下模206具有自模具面(分型面)206a凹陷的型腔208,型腔挡块226构成型腔208的内部(底部),夹具228构成型腔208的侧部。换句话说,由所述型腔挡块226的上表面与夹具228的内周壁面形成以规定形状凹陷的型腔208的凹部。
另外,模制模具202包括自下模206的模具面206a侧抽吸膜F的膜抽吸机构。
如此,通过设置覆盖型腔208的内表面及下模206的模具面206a(一部分)的膜F,可使成形品Wp的下表面中的模制树脂R的部分容易地剥离,因此可容易地将成形品Wp自模制模具202中取出。
另外,模制模具202在下板224与夹具228之间包括施力构件(例如,螺旋弹簧等弹簧)232。夹具228经由所述施力构件232而可动地组装于下板224。
另外,下模206包括加热器(例如,电热线加热器)、辅助加热器(例如,电热线加热器)、温度传感器、控制部、电源等(均未图示)来进行加热及其控制。作为一例,下模206的加热器内置于下板224或收容它们的模具基座(未图示)中,主要对下模206整体与工件W施加热。通过所述下模206的加热器,下模206被调整并加热至规定温度(例如,80℃~180℃)。
接着,对模制模具202的上模204进行具体说明。上模204包括上板222、型腔板236等,将它们组装在一起而构成。此处,型腔板236被固定并组装于上板222的下表面(下模206侧的表面)。
另外,上模204包括加热器(例如,电热线加热器)、温度传感器、控制部、电源等(均未图示)来进行加热及其控制。作为一例,上模204的加热器内置于上板222中,主要对上模204整体与模制树脂R施加热。通过所述上模204的加热器,上模204被调整并加热至规定温度(例如,80℃~180℃)。
进而,上模204包括将工件W保持于型腔板236的下表面中的规定位置的工件保持机构240。作为一例,设为以下结构:驱动抽吸装置而自抽吸路径抽吸工件W,并使工件W吸附于模具面204a(此处为型腔板236的下表面)来予以保持。另外,也可与所述结构并行地设为以下结构:设置对工件W的外周进行夹持的保持爪(未图示)。
继而,对本实施方式中作为特征性结构的第一装载机212及第二装载机210进行详细说明(参照图8~图15)。
接着,与工件处理单元200A的各机构协作的第二装载机210在其上表面包括将所述工件W搬送至上模204的规定保持位置的第一保持部210A。将由供给拾取器120搬送的工件W在移动至相对于供给轨104而为侧方(作为一例,为右侧)的位置时载置于所述第一保持部210A。在要进行工件W的交接的情况下,供给拾取器120在供给轨104上经过预热工序后进一步上升,继而向右侧移动,由此移动至能够向位于供给轨104的右侧的第一保持部210A进行交接的位置。第一保持部210A具有已知的保持机构(例如,具有保持爪来进行夹持的结构、具有与抽吸装置连通的抽吸孔来进行吸附的结构等)作为对所载置的工件W予以保持的工件保持部(图中为符号210a、210b)。
在本实施方式中,所述工件保持部210a、工件保持部210b构成为在与由供给拾取器120保持的两个工件W对应的位置,在左右方向上并列设置有两列。即,能够使工件W的长边方向平行地排列保持所述工件W。由此,对于由供给拾取器120在左右方向上排列保持的两个工件W,能够以原样的配置而无需重新排列地同时进行载置,并在左右方向上予以排列保持并搬送。
另外,利用第一保持部210A保持有工件W的第二装载机210构成为能够沿前后、左右及上下方向移动。通过左右方向的移动,能够将工件W自工件处理单元200A搬送至压制单元200B。另一方面,通过前后方向的移动,能够将工件W自模制模具202的外部搬送至内部(即,开模状态的上模204与下模206之间)。进而,通过上下方向的移动,能够将工件W在模制模具202的内部搬送(交接)至上模204的规定保持位置。此外,作为变形例,也可考虑代替第一保持部210A进行左右移动的结构,而设为通过供给拾取器120置换所述移动范围的移动的结构。另外,也可考虑代替第一保持部210A进行上下移动的结构,而设为通过模制模具202的开模/闭模机构来置换所述移动范围的移动的结构(均未图示)。
接着,第二装载机210在其上面包括第二保持部210B,所述第二保持部210B自模制模具202(此处为上模204)卸下并载置经树脂模制而成的成形品Wp,并将所述成形品Wp搬送至模制模具202外的规定位置。此外,第二保持部210B中,作为保持所载置的成形品Wp的成形品保持部,具有已知的保持机构(例如,具有保持爪来进行夹持的结构、具有与抽吸装置连通的抽吸孔来进行吸附的结构等)(图中为符号210c、210d)。
另外,本实施方式的第二保持部210B构成为:所述成形品保持部210c、成形品保持部210d在与树脂模制后被模制模具202(上模204)保持的两个成形品Wp对应的位置,在左右方向上并列设置有两列。即,能够使成形品Wp的长边方向平行地排列保持所述成形品Wp。由此,对于由模制模具202(上模204)在左右方向上排列保持的两个成形品Wp,能够以原样的配置而无需重新排列地同时进行载置,并在左右方向上予以排列保持并搬送。
此处,在本实施方式中,第二保持部210B与所述第一保持部210A作为第二装载机210而一体地构成。作为一例,第二装载机210在前方侧配设有具有左右两列工件保持部210a、210b的第一保持部210A,在后方侧配设有具有左右两列成形品保持部210c、210d的第二保持部210B。因此,第一保持部210A及第二保持部210B成为作为第二装载机210而能够一体地沿前后、左右及上下方向移动的结构。由此,不仅能够实现装置结构的简化及小型化,而且能够实现对工件W、成形品Wp均同时搬送各两个的结构,因此也能够缩短工序时间。
接着,与分配单元200C的各机构协作的第一装载机212包括第三保持部212A。所述第三保持部212A在其下表面接收树脂投放工作台310上所载置的搬送件400并搬送至下模206的规定保持位置,并且将解除了膜F及模制树脂R的保持的搬送件400搬送至所述准备工作台302上。另外,也可在接收树脂投放工作台310上所载置的搬送件400之前,使加热装置250A进行加热,来对投放至搬送件400的颗粒树脂预先进行加热。此外,第三保持部212A中,作为保持所述搬送件400的搬送件保持部212a,具有已知的保持机构(例如,具有保持爪来进行夹持的结构、具有与抽吸装置连通的抽吸孔来进行吸附的结构等)。进而具有第二抽吸孔212b,所述第二抽吸孔212b配设于与在规定位置进行保持的搬送件400的第一抽吸孔400c连通的位置,并产生(传递)由抽吸装置(未图示)形成的抽吸力。由此,一边维持在搬送件400的下表面在左右方向上排列吸附有两个膜F(分别搭载有模制树脂R的状态)的状态,一边向下模206的规定保持位置(配设有型腔208的位置)进行搬送。此外,也可设为具有在搬送件400的下表面夹持并保持两个膜F的外周的保持爪的第三保持部212A。
此处,包括本实施方式的第三保持部212A的第一装载机212构成为能够沿前后、左右及上下方向移动。通过左右方向的移动,能够进行将搬送件400(保持着分别搭载有模制树脂R的两个膜F的状态)自分配单元200C搬送至压制单元200B的动作。另外,通过前后方向的移动,能够进行将搬送件400(保持着分别搭载有模制树脂R的两个膜F的状态)自模制模具202的外部搬送至内部(即,开模状态的上模204与下模206之间)的动作。
进而,通过上下方向的移动(有时也组合前后或左右方向的移动),能够进行对树脂投放工作台310上所载置的搬送件400(保持着分别搭载有模制树脂R的两个膜F的状态)予以保持的动作。此情况下,也能够进行以下动作:一边在下模206的规定保持位置(配设有型腔208的位置)对搬送件400予以保持,一边解除对分别搭载有模制树脂R的两个膜F的保持并分别(一对一地)载置于两个型腔208A、208B(包括模具面206a的一部分)。进而,也能够进行将解除了膜F及模制树脂R的保持的状态的搬送件400载置于所述准备工作台302上的动作。此外,作为变形例,也可考虑设为通过其他机构(树脂投放工作台310、下模206等)的移动来置换第三保持部212A的移动范围的一部分的结构(未图示)。
接着,第一装载机212包括第四保持部212B,所述第四保持部212B对在所述树脂模制而成的成形品Wp自模制模具202(此处为上模204)中取出后残留于下模206中的膜(已使用的膜)Fd予以保持,并搬送至规定位置(后述的膜处理器316)。此外,第四保持部212B中,作为对已使用的膜Fd予以保持的搬出膜保持部,具有已知的保持机构(例如,具有与抽吸装置连通的抽吸孔来进行吸附的结构等)(图中为符号212c、212d)。
另外,本实施方式的第四保持部212B构成为:所述搬出膜保持部212c、搬出膜保持部212d在与模制模具202(下模206)的两个型腔208A、208B对应的位置,在左右方向上并列设置有两列。即,能够使膜F的长边方向平行地排列保持所述膜F。由此,对于在树脂模制后由模制模具202(下模206)在左右方向上排列保持的两个已使用的膜Fd,能够同时在左右方向上予以排列保持并搬送。
此处,在本实施方式中,第四保持部212B与所述第三保持部212A作为第一装载机212而一体地构成。作为一例,第一装载机212在前方侧配设有具有搬送件保持部212a的第三保持部212A,在后方侧配设有具有左右两列搬出膜保持部212c、212d的第四保持部212B。因此,第三保持部212A及第四保持部212B成为作为第一装载机212而能够一体地沿前后、左右及上下方向移动的结构。由此,不仅能够实现装置结构的简化及小型化,而且能够实现对搭载有模制树脂R的膜F、已使用的膜Fd均同时搬送各两个的结构,因此也能够缩短工序时间。
进而,本实施方式的第一装载机212中,在进入/退出时(至少一者)的移动过程中(也包括自进入向退出反转的暂时停止中)对模制模具202的至少包括树脂R的载置位置(此处为型腔208的位置)的规定区域的表面进行加热的加热装置250(250A)配设于能够朝向加热对象进行加热的位置(此处为第一装载机212的下表面或前端面)。据此,在进入/退出模制模具202时的一者或两者中,第一装载机212可一边移动,一边对模制模具202中的俯视时规定区域的表面进行加热。
作为本实施方式的运行例,构成为:第一装载机212进入模制模具202,将树脂R安置于型腔208中后,所述第一装载机212在其返回路径上自模制模具202退出时,一边移动一边对模制模具202的规定区域的表面进行加热。但是,并不限定于此构成,也可构成为:第一装载机212在进入模制模具202时一边移动一边对模制模具202的规定区域的表面进行加热。或者,还可构成为:第一装载机212在进入模制模具202时及在其返回路径上自模制模具202退出时,均对模制模具202的规定区域的表面进行加热。此外,在任一情况下,均可包括第一装载机212暂时停止中的状态。
此处,作为被加热的所述规定区域,设定为树脂R的载置部(此处为型腔208)的区域(包括其周边),由此可对安置于型腔208内的树脂R及周围的模具表面进行加热。因此,即便针对由于向模制模具202投入的树脂R为相对大量等而显著产生树脂R投入后的模制模具202的温度降低的情况,也可在第一装载机212的移动过程中进行树脂R及模具的加热而使温度上升。如此,可在第一装载机212搬送树脂R及工件W的通常的循环中进行所述加热,因此循环时间不会增加,不会导致生产性降低。反而能够促进树脂R的熔融,因此不仅可改善成形不良状况,还可缩短模制成形时的循环时间。
但是,在由于树脂R为更大量等而即便第一装载机212在进入/退出模制模具202的移动过程中均进行加热,热量仍不足的情况下,虽然循环时间会增加,但可设为使第一装载机212再往返一次或往返多次而加热至规定的温度为止的结构。
此处,适宜为以下结构:在第一装载机212中,加热装置250设置于与进行树脂R的保持的树脂保持部252相比在进入模制模具202内时成为前端侧的位置。据此,每当第一装载机212在进入/退出模制模具202时对规定区域进行加热时,能够使第一装载机212的移动距离最小化。因此,可获得缩短循环时间的效果。
本实施方式的加热装置250(加热器)的具体例与所述第一实施方式相同,因此省略重复的说明。
也可代替所述结构或与所述结构一起设为以下结构:以被加热的所述规定区域成为工件W的安置部区域(此处为工件支撑部及周边区域)的方式,在第一装载机212中将加热装置250(250B)配设于能够朝向加热对象进行加热的位置(此处为第一装载机212的上表面或前端面)(并非必需结构,因此在图13中由虚线表示)。作为此情况下的运行例,第一装载机212进入模制模具202,将树脂R安置于模制模具202(此处为下模206)中后,所述第一装载机212可在其返回路径上自模制模具202退出时,一边移动一边对工件W的安置部区域的模具表面进行加热。
另外,作为变形例,也可构成为:代替第一装载机212,在第二装载机210中将所述加热装置250(250D)配设于能够朝向加热对象进行加热的位置(此处为第二装载机210的上表面或前端面)(参照图14)。作为此情况下的运行例,可构成为:第二装载机210进入模制模具202,在将工件W安置于模制模具202(此处为上模204)并且对成形品Wp进行了保持后,所述第二装载机210在其返回路径上自模制模具202退出时,一边移动一边对模制模具202的规定区域的表面进行加热。或者,也可构成为:第二装载机210在进入模制模具202时一边移动一边对模制模具202的规定区域的表面进行加热。或者,还可构成为:第二装载机210在进入模制模具202时及在其返回路径上自模制模具202退出时,均对模制模具202的规定区域的表面进行加热。此外,在任一情况下,均可包括第二装载机210暂时停止中的状态。此处,在加热装置250设置于第二装载机210的情况下,基于与设置于第一装载机212的情况相同的理由,也适宜为设置于在进入模制模具202内时成为前端侧的位置的结构。
此外,也可设置虽然是在将树脂R安置于模制模具202中之前、但对树脂安置位置(型腔208)进行加热的加热装置250(250C)。
进而,作为另一变形例,也可设为在第一装载机212及第二装载机210两者中配设所述加热装置250的结构。作为此情况下的运行例,成为将利用第一装载机212的所述加热动作与利用第二装载机210的所述加热动作适当组合而成的结构。
此外,所述树脂模制装置(压缩成形装置)200是在下模206中具有型腔208的结构。相对于此,如图15所示,也可构成为在上模504中具有型腔508的树脂模制装置(压缩成形装置)。此情况下的压制装置501构成为:在第二装载机510进入/退出时(至少一者)的移动过程中(也包括自进入向退出反转的暂时停止中)对模制模具的至少包括供工件安置的下模506的位置(树脂R载置于所安置的工件W上)的规定区域的表面进行加热的加热装置550被配设于能够朝向加热对象进行加热的位置(此处为第二装载机510的下表面或前端面)。据此,在进入/退出模制模具502时的一者或两者中,第二装载机510可一边移动,一边对模制模具502中的俯视时规定区域的表面进行加热。此外,加热装置550的基本结构与所述加热装置50、加热装置250相同,因此省略重复的说明。
如上所述,根据本发明的树脂模制装置及树脂模制方法,可消除在向模制模具投入树脂时或工件安置时等产生模制模具的温度降低这一问题。即,可减少因树脂的温度降低等而可能产生的成形不良状况,进而,可实现树脂模制时的循环时间的缩短。
此外,本发明并不限定于以上说明的实施例,可在不脱离本发明的范围内进行各种变更。
Claims (8)
1.一种树脂模制装置,使用包括上模及下模的模制模具,并利用树脂对在第一构件上搭载有第二构件的工件进行模制而加工成成形品,所述树脂模制装置的特征在于,
包括向所述模制模具内搬送所述树脂的第一装载机,
所述第一装载机配设有在自所述模制模具退出的移动过程中对所述模制模具的至少包含载置所述树脂的位置的表面进行加热的加热装置。
2.根据权利要求1所述的树脂模制装置,其特征在于,在所述第一装载机中,所述加热装置设置于与进行所述树脂的保持的树脂保持部相比在进入所述模制模具内时成为前端侧的位置。
3.根据权利要求1所述的树脂模制装置,其特征在于,所述第一装载机配设有在移动过程中对将所述工件配置于所述模制模具时的规定区域的表面进行加热的加热装置。
4.根据权利要求1至3中任一项所述的树脂模制装置,其特征在于,
所述模制模具具有供小片型的所述树脂投入的一个或多个罐,
所述加热装置是对所述模制模具的包括所述罐的位置在内的规定区域的表面进行加热的结构。
5.根据权利要求1所述的树脂模制装置,其特征在于,
还包括自所述模制模具内搬送所述成形品的第二装载机,
代替所述第一装载机或与所述第一装载机一起在所述第二装载机中配设有所述加热装置。
6.一种树脂模制方法,使用包括上模及下模的模制模具,并利用树脂对在第一构件上搭载有第二构件的工件进行模制而加工成成形品,所述树脂模制方法的特征在于,包括:
利用第一装载机向所述模制模具内搬送所述树脂的工序;以及
所述第一装载机一边移动,一边对所述模制模具的规定区域的表面进行加热的工序,
所述第一装载机配设有在自所述模制模具退出的移动过程中对所述模制模具的至少包含载置所述树脂的位置的表面进行加热的加热装置。
7.根据权利要求6所述的树脂模制方法,其特征在于,
对所述模制模具的规定区域的表面进行加热的工序具有以下工序:所述第一装载机进入所述模制模具内,将由所述第一装载机保持的小片型的所述树脂投入所述模制模具的罐中后,所述第一装载机一边自所述模制模具内退出,一边利用所述第一装载机中所设置的加热装置,对所述模制模具的包括所述罐的位置在内的规定区域的表面进行加热,从而对投入所述罐中的所述树脂进行加热。
8.根据权利要求6或7所述的树脂模制方法,其特征在于,
还包括利用第二装载机自所述模制模具内搬送所述成形品的工序,
对所述模制模具的规定区域的表面进行加热的工序具有以下工序:所述第二装载机代替所述第一装载机或与所述第一装载机一起一边移动,一边对所述模制模具的规定区域的表面进行加热。
Applications Claiming Priority (2)
| Application Number | Priority Date | Filing Date | Title |
|---|---|---|---|
| JP2020023703A JP7121763B2 (ja) | 2020-02-14 | 2020-02-14 | 樹脂モールド装置及び樹脂モールド方法 |
| JP2020-023703 | 2020-02-14 |
Publications (2)
| Publication Number | Publication Date |
|---|---|
| CN113334667A CN113334667A (zh) | 2021-09-03 |
| CN113334667B true CN113334667B (zh) | 2023-03-07 |
Family
ID=77467595
Family Applications (1)
| Application Number | Title | Priority Date | Filing Date |
|---|---|---|---|
| CN202110006955.8A Active CN113334667B (zh) | 2020-02-14 | 2021-01-05 | 树脂模制装置及树脂模制方法 |
Country Status (4)
| Country | Link |
|---|---|
| JP (1) | JP7121763B2 (zh) |
| KR (1) | KR102408581B1 (zh) |
| CN (1) | CN113334667B (zh) |
| TW (1) | TWI786515B (zh) |
Families Citing this family (3)
| Publication number | Priority date | Publication date | Assignee | Title |
|---|---|---|---|---|
| JP7757712B2 (ja) * | 2021-10-29 | 2025-10-22 | セイコーエプソン株式会社 | 射出成形システム |
| JP2023105331A (ja) * | 2022-01-19 | 2023-07-31 | アピックヤマダ株式会社 | 樹脂封止装置 |
| JP2023113996A (ja) * | 2022-02-04 | 2023-08-17 | アピックヤマダ株式会社 | 樹脂封止装置及び樹脂封止方法 |
Citations (8)
| Publication number | Priority date | Publication date | Assignee | Title |
|---|---|---|---|---|
| JP2005305954A (ja) * | 2004-04-26 | 2005-11-04 | Towa Corp | 光素子の樹脂封止成形方法 |
| CN102717469A (zh) * | 2011-01-11 | 2012-10-10 | 山田尖端科技株式会社 | 树脂模塑方法、树脂模塑装置和给送处理机 |
| CN103302794A (zh) * | 2012-03-08 | 2013-09-18 | 住友重机械工业株式会社 | 树脂密封装置及树脂密封方法 |
| JP2016072576A (ja) * | 2014-10-02 | 2016-05-09 | アピックヤマダ株式会社 | 成形金型、成形装置および成形品の製造方法 |
| JP2016215532A (ja) * | 2015-05-22 | 2016-12-22 | ニッコー・マテリアルズ株式会社 | 積層装置および積層方法 |
| JP2017034286A (ja) * | 2016-11-02 | 2017-02-09 | 株式会社東芝 | 半導体装置の製造方法、半導体製造装置 |
| JP2018174200A (ja) * | 2017-03-31 | 2018-11-08 | 第一精工株式会社 | 半導体パッケージの樹脂封止装置、及び半導体パッケージの樹脂封止方法 |
| CN109808132A (zh) * | 2017-11-21 | 2019-05-28 | 东和株式会社 | 搬送装置、树脂成形装置及树脂成形品的制造方法 |
Family Cites Families (21)
| Publication number | Priority date | Publication date | Assignee | Title |
|---|---|---|---|---|
| US3970823A (en) * | 1974-12-05 | 1976-07-20 | Beta Corporation Of St. Louis | Electric heater |
| JPH09155911A (ja) | 1995-12-05 | 1997-06-17 | Apic Yamada Kk | 樹脂モールド装置の等圧ユニット交換構造 |
| JP4031881B2 (ja) * | 1998-12-08 | 2008-01-09 | アピックヤマダ株式会社 | 樹脂封止装置 |
| JP4253490B2 (ja) * | 2002-10-16 | 2009-04-15 | 第一精工株式会社 | 半導体装置封止装置 |
| JP4153769B2 (ja) * | 2002-10-16 | 2008-09-24 | 第一精工株式会社 | 樹脂封止装置 |
| JP4262468B2 (ja) | 2002-10-30 | 2009-05-13 | アピックヤマダ株式会社 | 樹脂モールド方法、樹脂モールド装置およびこれに用いる支持治具 |
| JP2012020446A (ja) * | 2010-07-13 | 2012-02-02 | Apic Yamada Corp | 樹脂モールド装置 |
| JP5551018B2 (ja) * | 2010-08-24 | 2014-07-16 | 住友重機械工業株式会社 | 封止装置及び封止方法 |
| JP5693931B2 (ja) * | 2010-11-25 | 2015-04-01 | アピックヤマダ株式会社 | 樹脂モールド装置 |
| JP5906528B2 (ja) * | 2011-07-29 | 2016-04-20 | アピックヤマダ株式会社 | モールド金型及びこれを用いた樹脂モールド装置 |
| JP2013251422A (ja) * | 2012-06-01 | 2013-12-12 | Apic Yamada Corp | Ledチップ実装用基板、ledパッケージ、金型、並びに、ledチップ実装用基板及びledパッケージの製造方法 |
| JP2014117888A (ja) * | 2012-12-17 | 2014-06-30 | Sumitomo Heavy Ind Ltd | 樹脂封止装置 |
| JP5985402B2 (ja) * | 2013-01-08 | 2016-09-06 | Towa株式会社 | 樹脂封止装置及び樹脂封止方法 |
| CN105283294B (zh) * | 2013-05-29 | 2017-08-25 | 山田尖端科技株式会社 | 树脂模制装置和树脂模制方法 |
| JP6612172B2 (ja) * | 2016-04-25 | 2019-11-27 | Towa株式会社 | 樹脂成形装置、樹脂成形方法、樹脂成形品の製造方法及び製品の製造方法 |
| JP2017212419A (ja) * | 2016-05-27 | 2017-11-30 | Towa株式会社 | 樹脂封止品製造方法及び樹脂封止装置 |
| JP6891048B2 (ja) * | 2017-06-02 | 2021-06-18 | アピックヤマダ株式会社 | 樹脂モールド金型及び樹脂モールド装置 |
| JP6804410B2 (ja) * | 2017-08-09 | 2020-12-23 | Towa株式会社 | 搬送機構、樹脂成形装置、成形対象物の成形型への受け渡し方法、及び樹脂成形品の製造方法 |
| TWI787411B (zh) * | 2018-02-16 | 2022-12-21 | 日商山田尖端科技股份有限公司 | 樹脂模製裝置 |
| JP6989409B2 (ja) * | 2018-02-16 | 2022-01-05 | アピックヤマダ株式会社 | 樹脂モールド装置及び樹脂モールド方法 |
| JP6936177B2 (ja) * | 2018-03-23 | 2021-09-15 | アピックヤマダ株式会社 | 樹脂モールド装置 |
-
2020
- 2020-02-14 JP JP2020023703A patent/JP7121763B2/ja active Active
- 2020-12-09 KR KR1020200170954A patent/KR102408581B1/ko active Active
-
2021
- 2021-01-05 CN CN202110006955.8A patent/CN113334667B/zh active Active
- 2021-01-12 TW TW110101112A patent/TWI786515B/zh active
Patent Citations (9)
| Publication number | Priority date | Publication date | Assignee | Title |
|---|---|---|---|---|
| JP2005305954A (ja) * | 2004-04-26 | 2005-11-04 | Towa Corp | 光素子の樹脂封止成形方法 |
| CN102717469A (zh) * | 2011-01-11 | 2012-10-10 | 山田尖端科技株式会社 | 树脂模塑方法、树脂模塑装置和给送处理机 |
| CN103302794A (zh) * | 2012-03-08 | 2013-09-18 | 住友重机械工业株式会社 | 树脂密封装置及树脂密封方法 |
| JP2016072576A (ja) * | 2014-10-02 | 2016-05-09 | アピックヤマダ株式会社 | 成形金型、成形装置および成形品の製造方法 |
| JP2016215532A (ja) * | 2015-05-22 | 2016-12-22 | ニッコー・マテリアルズ株式会社 | 積層装置および積層方法 |
| JP2017034286A (ja) * | 2016-11-02 | 2017-02-09 | 株式会社東芝 | 半導体装置の製造方法、半導体製造装置 |
| JP2018174200A (ja) * | 2017-03-31 | 2018-11-08 | 第一精工株式会社 | 半導体パッケージの樹脂封止装置、及び半導体パッケージの樹脂封止方法 |
| CN109808132A (zh) * | 2017-11-21 | 2019-05-28 | 东和株式会社 | 搬送装置、树脂成形装置及树脂成形品的制造方法 |
| JP2019093593A (ja) * | 2017-11-21 | 2019-06-20 | Towa株式会社 | 搬送装置、樹脂成形装置及び樹脂成形品の製造方法 |
Also Published As
| Publication number | Publication date |
|---|---|
| KR102408581B1 (ko) | 2022-06-14 |
| JP7121763B2 (ja) | 2022-08-18 |
| JP2021126852A (ja) | 2021-09-02 |
| CN113334667A (zh) | 2021-09-03 |
| TWI786515B (zh) | 2022-12-11 |
| KR20210103925A (ko) | 2021-08-24 |
| TW202130485A (zh) | 2021-08-16 |
Similar Documents
| Publication | Publication Date | Title |
|---|---|---|
| JP7644489B2 (ja) | 圧縮成形装置及び圧縮成形方法 | |
| TWI787411B (zh) | 樹脂模製裝置 | |
| CN113334667B (zh) | 树脂模制装置及树脂模制方法 | |
| JP2019145550A (ja) | 樹脂モールド装置及び樹脂モールド方法 | |
| TWI750369B (zh) | 樹脂模製模具及樹脂模製裝置 | |
| JP2019145548A (ja) | 樹脂モールド装置及び樹脂モールド方法 | |
| JP2014231185A (ja) | 樹脂モールド装置および樹脂モールド方法 | |
| CN111867800A (zh) | 树脂铸模装置 | |
| JP2023062616A (ja) | 樹脂封止装置及び樹脂封止方法 | |
| JP7468906B2 (ja) | 樹脂封止装置 | |
| JP7644497B2 (ja) | 樹脂封止装置及び封止金型 | |
| WO2024047916A1 (ja) | 樹脂封止装置及び樹脂封止方法 | |
| JP2019145549A (ja) | 樹脂モールド装置 | |
| JP7240339B2 (ja) | 樹脂成形品の製造方法及び樹脂成形装置 | |
| JP2023106688A (ja) | 圧縮成形装置及び圧縮成形方法 | |
| TWI902006B (zh) | 用於壓縮成形的密封樹脂及其形成方法 | |
| TWI853274B (zh) | 壓縮成形裝置 | |
| WO2023139825A1 (ja) | 樹脂封止装置 | |
| JP2024171506A (ja) | 圧縮成形装置及び圧縮成形方法 | |
| WO2025057660A1 (ja) | 樹脂封止装置及び樹脂封止方法 | |
| TW202210266A (zh) | 樹脂密封裝置 | |
| JP2024107566A (ja) | 圧縮成形装置及び圧縮成形方法 | |
| JP2024139406A (ja) | 圧縮成形装置及び圧縮成形方法 | |
| TW202333246A (zh) | 樹脂密封裝置、樹脂密封方法及樹脂成形方法 | |
| JP2023170999A (ja) | 圧縮成形装置及び圧縮成形方法 |
Legal Events
| Date | Code | Title | Description |
|---|---|---|---|
| PB01 | Publication | ||
| PB01 | Publication | ||
| SE01 | Entry into force of request for substantive examination | ||
| SE01 | Entry into force of request for substantive examination | ||
| GR01 | Patent grant | ||
| GR01 | Patent grant | ||
| TR01 | Transfer of patent right |
Effective date of registration: 20251223 Address after: Tokyo, Japan Patentee after: Yamaha Intelligent Machinery Co.,Ltd. Country or region after: Japan Address before: Kano Prefecture, Japan Patentee before: APIC YAMADA Corp. Country or region before: Japan |
|
| TR01 | Transfer of patent right |