JP2012024917A - 所定の光学特性を有する壁を伴ったマイクロ構造体及びマイクロ構造体の製造方法 - Google Patents
所定の光学特性を有する壁を伴ったマイクロ構造体及びマイクロ構造体の製造方法 Download PDFInfo
- Publication number
- JP2012024917A JP2012024917A JP2011158777A JP2011158777A JP2012024917A JP 2012024917 A JP2012024917 A JP 2012024917A JP 2011158777 A JP2011158777 A JP 2011158777A JP 2011158777 A JP2011158777 A JP 2011158777A JP 2012024917 A JP2012024917 A JP 2012024917A
- Authority
- JP
- Japan
- Prior art keywords
- layer
- wall
- cavity
- sacrificial
- forming
- Prior art date
- Legal status (The legal status is an assumption and is not a legal conclusion. Google has not performed a legal analysis and makes no representation as to the accuracy of the status listed.)
- Pending
Links
- 238000000034 method Methods 0.000 title claims abstract description 49
- 230000003287 optical effect Effects 0.000 title claims description 39
- 239000000463 material Substances 0.000 claims abstract description 65
- 239000000758 substrate Substances 0.000 claims abstract description 26
- 238000005530 etching Methods 0.000 claims abstract description 19
- VYZAMTAEIAYCRO-UHFFFAOYSA-N Chromium Chemical compound [Cr] VYZAMTAEIAYCRO-UHFFFAOYSA-N 0.000 claims description 10
- 239000012530 fluid Substances 0.000 claims description 8
- 238000010521 absorption reaction Methods 0.000 claims description 7
- 229910003481 amorphous carbon Inorganic materials 0.000 claims description 7
- ZOKXTWBITQBERF-UHFFFAOYSA-N Molybdenum Chemical compound [Mo] ZOKXTWBITQBERF-UHFFFAOYSA-N 0.000 claims description 6
- VYPSYNLAJGMNEJ-UHFFFAOYSA-N Silicium dioxide Chemical compound O=[Si]=O VYPSYNLAJGMNEJ-UHFFFAOYSA-N 0.000 claims description 6
- 229910052750 molybdenum Inorganic materials 0.000 claims description 6
- 239000011733 molybdenum Substances 0.000 claims description 6
- 239000011148 porous material Substances 0.000 claims description 5
- 229910004298 SiO 2 Inorganic materials 0.000 claims description 4
- 238000000151 deposition Methods 0.000 claims description 4
- 229910052581 Si3N4 Inorganic materials 0.000 claims description 3
- 229910052804 chromium Inorganic materials 0.000 claims description 3
- 239000011651 chromium Substances 0.000 claims description 3
- HQVNEWCFYHHQES-UHFFFAOYSA-N silicon nitride Chemical compound N12[Si]34N5[Si]62N3[Si]51N64 HQVNEWCFYHHQES-UHFFFAOYSA-N 0.000 claims description 3
- 229910052814 silicon oxide Inorganic materials 0.000 claims description 3
- AMGQUBHHOARCQH-UHFFFAOYSA-N indium;oxotin Chemical compound [In].[Sn]=O AMGQUBHHOARCQH-UHFFFAOYSA-N 0.000 claims description 2
- 230000002745 absorbent Effects 0.000 abstract description 7
- 239000002250 absorbent Substances 0.000 abstract description 7
- 239000010410 layer Substances 0.000 description 92
- 239000007788 liquid Substances 0.000 description 10
- 238000004519 manufacturing process Methods 0.000 description 10
- 239000011347 resin Substances 0.000 description 9
- 229920005989 resin Polymers 0.000 description 9
- 238000001039 wet etching Methods 0.000 description 8
- 238000010586 diagram Methods 0.000 description 7
- 238000000206 photolithography Methods 0.000 description 5
- KRHYYFGTRYWZRS-UHFFFAOYSA-N Fluorane Chemical compound F KRHYYFGTRYWZRS-UHFFFAOYSA-N 0.000 description 4
- 239000006096 absorbing agent Substances 0.000 description 4
- 238000007789 sealing Methods 0.000 description 4
- 238000005229 chemical vapour deposition Methods 0.000 description 3
- 230000000694 effects Effects 0.000 description 3
- 239000011521 glass Substances 0.000 description 3
- 239000004973 liquid crystal related substance Substances 0.000 description 3
- 238000005240 physical vapour deposition Methods 0.000 description 3
- 238000000623 plasma-assisted chemical vapour deposition Methods 0.000 description 3
- 229920000139 polyethylene terephthalate Polymers 0.000 description 3
- 239000005020 polyethylene terephthalate Substances 0.000 description 3
- 239000002253 acid Substances 0.000 description 2
- 230000032683 aging Effects 0.000 description 2
- 230000007547 defect Effects 0.000 description 2
- 230000008021 deposition Effects 0.000 description 2
- 229910003460 diamond Inorganic materials 0.000 description 2
- 239000010432 diamond Substances 0.000 description 2
- 238000005566 electron beam evaporation Methods 0.000 description 2
- QPJSUIGXIBEQAC-UHFFFAOYSA-N n-(2,4-dichloro-5-propan-2-yloxyphenyl)acetamide Chemical compound CC(C)OC1=CC(NC(C)=O)=C(Cl)C=C1Cl QPJSUIGXIBEQAC-UHFFFAOYSA-N 0.000 description 2
- 239000000049 pigment Substances 0.000 description 2
- 238000001020 plasma etching Methods 0.000 description 2
- 230000001681 protective effect Effects 0.000 description 2
- 235000012239 silicon dioxide Nutrition 0.000 description 2
- 230000003595 spectral effect Effects 0.000 description 2
- DDFHBQSCUXNBSA-UHFFFAOYSA-N 5-(5-carboxythiophen-2-yl)thiophene-2-carboxylic acid Chemical compound S1C(C(=O)O)=CC=C1C1=CC=C(C(O)=O)S1 DDFHBQSCUXNBSA-UHFFFAOYSA-N 0.000 description 1
- 229910017855 NH 4 F Inorganic materials 0.000 description 1
- ATJFFYVFTNAWJD-UHFFFAOYSA-N Tin Chemical compound [Sn] ATJFFYVFTNAWJD-UHFFFAOYSA-N 0.000 description 1
- 239000011358 absorbing material Substances 0.000 description 1
- 230000003373 anti-fouling effect Effects 0.000 description 1
- 238000000231 atomic layer deposition Methods 0.000 description 1
- 230000015572 biosynthetic process Effects 0.000 description 1
- 238000005520 cutting process Methods 0.000 description 1
- 238000001514 detection method Methods 0.000 description 1
- 230000006866 deterioration Effects 0.000 description 1
- 238000009792 diffusion process Methods 0.000 description 1
- 238000007598 dipping method Methods 0.000 description 1
- 238000001704 evaporation Methods 0.000 description 1
- 230000008020 evaporation Effects 0.000 description 1
- 239000012467 final product Substances 0.000 description 1
- 238000010304 firing Methods 0.000 description 1
- 238000003384 imaging method Methods 0.000 description 1
- 229910003437 indium oxide Inorganic materials 0.000 description 1
- PJXISJQVUVHSOJ-UHFFFAOYSA-N indium(iii) oxide Chemical compound [O-2].[O-2].[O-2].[In+3].[In+3] PJXISJQVUVHSOJ-UHFFFAOYSA-N 0.000 description 1
- 238000010030 laminating Methods 0.000 description 1
- 239000002346 layers by function Substances 0.000 description 1
- 239000011344 liquid material Substances 0.000 description 1
- 239000002923 metal particle Substances 0.000 description 1
- 238000004377 microelectronic Methods 0.000 description 1
- 239000005304 optical glass Substances 0.000 description 1
- 239000002245 particle Substances 0.000 description 1
- 239000002985 plastic film Substances 0.000 description 1
- 229920006255 plastic film Polymers 0.000 description 1
- -1 polyethylene terephthalate Polymers 0.000 description 1
- 239000002861 polymer material Substances 0.000 description 1
- 239000000047 product Substances 0.000 description 1
- 239000010453 quartz Substances 0.000 description 1
- 238000007650 screen-printing Methods 0.000 description 1
- 229910052710 silicon Inorganic materials 0.000 description 1
- 239000010703 silicon Substances 0.000 description 1
- 239000000377 silicon dioxide Substances 0.000 description 1
- 239000004094 surface-active agent Substances 0.000 description 1
- 239000012780 transparent material Substances 0.000 description 1
- 238000002604 ultrasonography Methods 0.000 description 1
- XLYOFNOQVPJJNP-UHFFFAOYSA-N water Substances O XLYOFNOQVPJJNP-UHFFFAOYSA-N 0.000 description 1
Images
Classifications
-
- G—PHYSICS
- G02—OPTICS
- G02B—OPTICAL ELEMENTS, SYSTEMS OR APPARATUS
- G02B5/00—Optical elements other than lenses
- G02B5/005—Diaphragms
-
- G—PHYSICS
- G02—OPTICS
- G02B—OPTICAL ELEMENTS, SYSTEMS OR APPARATUS
- G02B1/00—Optical elements characterised by the material of which they are made; Optical coatings for optical elements
- G02B1/10—Optical coatings produced by application to, or surface treatment of, optical elements
-
- G—PHYSICS
- G02—OPTICS
- G02B—OPTICAL ELEMENTS, SYSTEMS OR APPARATUS
- G02B1/00—Optical elements characterised by the material of which they are made; Optical coatings for optical elements
- G02B1/10—Optical coatings produced by application to, or surface treatment of, optical elements
- G02B1/14—Protective coatings, e.g. hard coatings
-
- G—PHYSICS
- G02—OPTICS
- G02F—OPTICAL DEVICES OR ARRANGEMENTS FOR THE CONTROL OF LIGHT BY MODIFICATION OF THE OPTICAL PROPERTIES OF THE MEDIA OF THE ELEMENTS INVOLVED THEREIN; NON-LINEAR OPTICS; FREQUENCY-CHANGING OF LIGHT; OPTICAL LOGIC ELEMENTS; OPTICAL ANALOGUE/DIGITAL CONVERTERS
- G02F1/00—Devices or arrangements for the control of the intensity, colour, phase, polarisation or direction of light arriving from an independent light source, e.g. switching, gating or modulating; Non-linear optics
- G02F1/01—Devices or arrangements for the control of the intensity, colour, phase, polarisation or direction of light arriving from an independent light source, e.g. switching, gating or modulating; Non-linear optics for the control of the intensity, phase, polarisation or colour
- G02F1/13—Devices or arrangements for the control of the intensity, colour, phase, polarisation or direction of light arriving from an independent light source, e.g. switching, gating or modulating; Non-linear optics for the control of the intensity, phase, polarisation or colour based on liquid crystals, e.g. single liquid crystal display cells
- G02F1/133—Constructional arrangements; Operation of liquid crystal cells; Circuit arrangements
- G02F1/1333—Constructional arrangements; Manufacturing methods
- G02F1/133377—Cells with plural compartments or having plurality of liquid crystal microcells partitioned by walls, e.g. one microcell per pixel
-
- G—PHYSICS
- G02—OPTICS
- G02F—OPTICAL DEVICES OR ARRANGEMENTS FOR THE CONTROL OF LIGHT BY MODIFICATION OF THE OPTICAL PROPERTIES OF THE MEDIA OF THE ELEMENTS INVOLVED THEREIN; NON-LINEAR OPTICS; FREQUENCY-CHANGING OF LIGHT; OPTICAL LOGIC ELEMENTS; OPTICAL ANALOGUE/DIGITAL CONVERTERS
- G02F1/00—Devices or arrangements for the control of the intensity, colour, phase, polarisation or direction of light arriving from an independent light source, e.g. switching, gating or modulating; Non-linear optics
- G02F1/01—Devices or arrangements for the control of the intensity, colour, phase, polarisation or direction of light arriving from an independent light source, e.g. switching, gating or modulating; Non-linear optics for the control of the intensity, phase, polarisation or colour
- G02F1/13—Devices or arrangements for the control of the intensity, colour, phase, polarisation or direction of light arriving from an independent light source, e.g. switching, gating or modulating; Non-linear optics for the control of the intensity, phase, polarisation or colour based on liquid crystals, e.g. single liquid crystal display cells
- G02F1/133—Constructional arrangements; Operation of liquid crystal cells; Circuit arrangements
- G02F1/1333—Constructional arrangements; Manufacturing methods
- G02F1/1335—Structural association of cells with optical devices, e.g. polarisers or reflectors
- G02F1/133509—Filters, e.g. light shielding masks
- G02F1/133512—Light shielding layers, e.g. black matrix
Landscapes
- Physics & Mathematics (AREA)
- General Physics & Mathematics (AREA)
- Optics & Photonics (AREA)
- Nonlinear Science (AREA)
- Mathematical Physics (AREA)
- Chemical & Material Sciences (AREA)
- Crystallography & Structural Chemistry (AREA)
- Micromachines (AREA)
Abstract
【課題】マイクロ光学素子のキャビティを形成する方法を提供する。
【解決手段】a)支持基板(10)の平面上に犠牲材料層(12)を形成する段階と、b)キャビティ(4)の底部が前記犠牲材料層によって形成された、前記キャビティの壁(6)を形成する段階と、c)吸収層(30)を、前記壁の頂上(60)、前記壁の側面(61,62)及び前記キャビティの前記底部(4’)に等角的に堆積する段階と、d)前記犠牲層(12)をエッチングし、この層の前記材料及び前記キャビティ(4)の前記底部に存在する前記吸収材料の層(30)の前記材料を除去する段階と、を含むマイクロ光学素子のキャビティ(4)を形成する方法を開示する。
【選択図】図2F
【解決手段】a)支持基板(10)の平面上に犠牲材料層(12)を形成する段階と、b)キャビティ(4)の底部が前記犠牲材料層によって形成された、前記キャビティの壁(6)を形成する段階と、c)吸収層(30)を、前記壁の頂上(60)、前記壁の側面(61,62)及び前記キャビティの前記底部(4’)に等角的に堆積する段階と、d)前記犠牲層(12)をエッチングし、この層の前記材料及び前記キャビティ(4)の前記底部に存在する前記吸収材料の層(30)の前記材料を除去する段階と、を含むマイクロ光学素子のキャビティ(4)を形成する方法を開示する。
【選択図】図2F
Description
本発明は、壁によって囲まれたマイクロ寸法を伴い、その間に例えば液晶などの作動流体が導入される、密閉状態で封じられたキャビティを含む素子の製造に関連する。
それは例えば、配向された液晶が封じられたキャビティ内で使用される分野に、あるいは光学素子、光学レンズ又は光学ガラスを製造するために応用され得る。
もう1つの特定の応用は、作動流体が所定の光学的指標を有する液体である、平面回折レンズのような透明な“光学”部品に関連する。
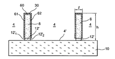
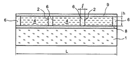
このような光学素子の一例を図1に示す。それは100mm又はそれ以上になり得る幅Wを有する。
それは壁6によって分離された、多くの独立したマイクログルーブ又はマイクロキャビティ2を含む。これらのマイクロキャビティは、曲げやすく平坦な基板上に構築される。壁6及びマイクロキャビティは、集合的なマイクロ技術タイプの方法、又はその構造特性のために選定された樹脂の異方性エッチングによって得ることが出来る。
そしてキャビティは、目的とする光学効果に適した液体4によって満たされ得る。
その後キャビティは、通常壁6の頂上に接着される、曲げやすい材料で作られた閉鎖層9によって閉じられる。
全体は、図示された例において、石英のような材料で作られた基板1及びポリマー材料で作られた層8を含む支持体によって形成される。
このような光学素子は、10万から1000万の間であり得る、多数のマイクログルーブを含み得る。
それは壁6を可能な限り見えにくくすることを意味している。このために、20μmから100μmの範囲の樹脂の高さhに対しては、通常2μmから5μmの間の小さい幅wを伴う(図1参照)、高いアスペクト比(又は形状係数)を有する壁を製造することを意味している。
しかしこれらの壁の存在は依然として、特に光学素子の透明性に欠陥を起こし、より一般的には、光学素子を通過して形成された画像の品質低下及び/又はその性能低下を起こす。確かに画素を規定する壁は、光を回折することで光と相互作用し、特に透明性低下を引き起こし得る。
1つの解決策は、光の一部又は全部を吸収する吸収壁6を製造することであり、それ故に光学素子の透明性欠陥をもたらす回折現象を制限する。
壁は吸収性の感光性材料のダイレクトフォトリソグラフィーによって製造できることが公知であるが、高さhが十分高く、通常20μmを超え、幅wが十分小さい、通常5μm未満である吸収壁を得ることが出来る、商業的に利用可能な材料は見つかっていない。現在、感光性吸収材料及び、それと共に関連したフォトリソグラフィー技術では、得られる壁の高さの最大値は5μm程度であり、それは、依然として期待値を大きく下回っている。
もう1つの解決策は、吸収材料及び/又は吸収粒子をその中に含むことで、既に形成された壁6に吸収性を付与することである。この結果は、ドーピング、拡散又はディッピング技術により得ることが出来る。しかし使用される金属粒子又は顔料が上記で規定した壁の寸法w及びhに対して大きすぎるサイズを有するため、この技術はまだ完全に要求に適合していない。顔料に関しては、エージング問題及びエージングをもたらす吸収性低下が早いという問題もある。
従って、キャビティの底部を通常透明に保ち、特に壁が吸収性になるようにできる新規方法が必要である。このような方法は、好ましくは、光学攪乱を制限又は除去できるように、高いアスペクト比を有するキャビティの製造に適合する。
もう1つの問題は、反射壁6の製造方法である。これは特に、TFT−LCD移動スクリーンへの応用を考慮する場合である:コントラストを改善するため、スクリーンの内部構造のほんの一部(4−5%)が反射マイクロ構造によって覆われる。このように、たとえスクリーンが直接太陽光に晒された時でも、ユーザーは画像を完璧に識別できる。
a)支持基板表面に犠牲材料層を形成する段階と、
b)キャビティの底部が前記犠牲材料層によって形成された、前記キャビティの壁を形成する段階と、
c)所定の光学特性を有するいわゆる光学材料の層を、前記壁の頂上、前記壁の側面及び前記キャビティの前記底部に等角的(コンフォーマル)に堆積する段階と、
d)前記犠牲層をエッチングし、この層の前記材料及び前記キャビティの前記底部に存在する前記光学材料の層の前記一部の前記材料を除去する段階と、
を含むマイクロ光学素子のキャビティを形成する方法を開示する。
b)キャビティの底部が前記犠牲材料層によって形成された、前記キャビティの壁を形成する段階と、
c)所定の光学特性を有するいわゆる光学材料の層を、前記壁の頂上、前記壁の側面及び前記キャビティの前記底部に等角的(コンフォーマル)に堆積する段階と、
d)前記犠牲層をエッチングし、この層の前記材料及び前記キャビティの前記底部に存在する前記光学材料の層の前記一部の前記材料を除去する段階と、
を含むマイクロ光学素子のキャビティを形成する方法を開示する。
光学材料の層は、吸収層又は反射層である。光学材料が吸収性である場合、それは黒色クロム、黒色モリブデン又はアモルファスカーボンを含み得る。
犠牲層の材料は、例えば酸化ケイ素SiO2、窒化ケイ素SiN、酸化インジウムスズ(ITO)、アモルファスカーボン、黒色モリブデン又は黒色クロムを含み得る。
犠牲層は、特定のスペクトル領域に対して有利に透明である。
段階cで堆積される光学材料の層は、有利に多孔質である。ある実施形態によると、犠牲層をエッチング液が通過するために吸収層の気孔率が十分である場合、犠牲層のエッチングはウェットエッチング液を用いて実施され得る。
有利には、段階b)で形成される壁は、10から20の間のアスペクト比(h/w)を有するが、hは支持基板の自由表面より上の壁の高さを示す。
壁は犠牲層の表面に形成され得るが、これは段階cの間まではキャビティ間で連続的であり、段階dの後に、壁は犠牲材料の一部の上に位置する。
代わりに、壁の底部は、支持基板自体の上又は中に位置する。
−上記の方法の実施を含むこの素子のキャビティを形成する段階と、
−前記素子の前記キャビティの中に1以上の流体を導入する段階と、
−前記キャビティの前記壁の上に閉鎖層を形成する段階と、
を含むマイクロ光学素子を形成する方法を開示する。
−前記素子の前記キャビティの中に1以上の流体を導入する段階と、
−前記キャビティの前記壁の上に閉鎖層を形成する段階と、
を含むマイクロ光学素子を形成する方法を開示する。
壁によって規定されたキャビティを含み、光学材料の層(意味は既に上記で規定済)が壁の頂上及び壁の側面に形成され、キャビティの底部は透明である、マイクロ光学素子を開示する。
ある実施形態によると、各壁の底部は犠牲材料の一部の上に位置し、光学材料の層は犠牲材料のこの部分の側面上にない。
代わりに、各壁(6)の底部は基板上又は基板中に位置し、光学材料の層は基板の表面付近に位置する壁の側面の一部の上にない。
各キャビティは少なくとも部分的に流体で満たされ、全てのキャビティは閉鎖層によって閉じられ得る。
光学材料は既に上記に示したように、1以上の特性(吸収性又は反射性、多孔性など)を有し得る。
壁は、数μmから数十μm程度、例えば1μmから100μmの間の高さを有し得る。
それらは、数μm又はサブミクロン程度、例えば0.5μmから5μmの間の幅を有し得る。
第1の実施形態を図2Aから2Iに関連して示す。
第一に、例えばPETのようなポリマー材料の、ガラス又はシリコンなどの単独の基板10から成り得る支持体が準備される(図2A)。代わりにこれは、固定した支持体上に仮接着によって留められた、例えばポリエチレンテレフタレート“PET”などの曲げやすい層でもよい(後者は図に示していない)。
このような基板10の平面10’上には、例えば50nmから200nmの間の厚さを有する、いわゆる犠牲材料の平坦層又は平坦膜12が形成される(図2B)。
この犠牲材料は、マイクロキャビティの壁の下で、最終的なマイクロ素子に依然として存在するため、所望の用途(可視イメージング又は赤外線検出)に応じて可視光線(350-700nm)及び近/中赤外線(0.7-10μm)に対し、有利に透明である。このようにこの層12は透明材料であり、例えば酸化ケイ素SiO2(可視光線に効果的)、窒化ケイ素SiN(1.3から1.55μmの間を除いた近赤外線に効果的)、酸化インジウムスズ(ITO)又はアモルファスカーボン(中赤外線に効果的)などがある。
これらの異なる材料は、例えば蒸発、PVD、PECVD、CVD又はALDなどの方法を用いて堆積され得る。
透明であろうと吸収性であろうと、犠牲材料12は、好ましくは後にウェット液でエッチングされ得るように選定される。
次いで、マイクロキャビティ4の壁6の構造化が実施される。
予定された応用及び所望の性能に応じて、作動流体の厚さは変化し得る:
−厚さが薄く、マイクロメートル付近である場合は、液晶ディスプレータイプの応用に望ましく、
−厚さが厚く、数十ミクロン程度である場合は、平面回折レンズの場合に望ましい。
−厚さが薄く、マイクロメートル付近である場合は、液晶ディスプレータイプの応用に望ましく、
−厚さが厚く、数十ミクロン程度である場合は、平面回折レンズの場合に望ましい。
このように、もしキャビティに導入されるのに理想的な作動流体の性質が分かっている場合は、壁を製造する際に、基板の自由表面より上に位置する壁の一部の高さhを適合することができる。ある場合は、高さhがマイクロメートル程度、例えば1μmから5μm又は10μmの間の壁を製造することが目的となり、他の場合は、高さが十μm又は数十μm程度、例えば10μmから100μmの間の壁を製造することが目的となる。
その高さが1μm程度の厚さ(通常1μmから10μmの間)の壁の場合は、例えばマイクロ鋳造、スクリーンプリンティング、フォトリソグラフィー、プラズマエッチングなどのような幾つかの技術が実施され得る。
より高い高さの場合(通常10μmから100μmの間)、例えば特に厚い樹脂のフォトリソグラフィーによって、1ミクロン程度及び通常5μmより低い、例えば1μmから5μmの間などの十分低い壁の幅wが得られる。つまりこの場合、フォトリソグラフィー技術がプラズマエッチング技術に比べて、有利に好ましい。このようにこのフォトリソグラフィー技術は、比較的高い高さ、例えば10から20の間などの大きいアスペクト比を有する壁を得ることが出来る。
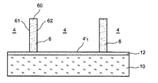
後者の技術の典型的な実施の一例を図2C及び2Dに示す:厚い感光性樹脂18が犠牲層12に堆積される。そしてこの樹脂は適切なマスクで覆われ(図2D)、その後ミクロ電子工学において一般に使用される技術に応じて現像される。
キャビティ4の壁6はこうして得られる。それらは基板上の平坦面10’及び犠牲層12に対して概して垂直である。後者はこの壁形成操作によって、ほとんど又は全く影響を受けない。
これは結果として、連続的かつ平坦であり、壁6の下まで延長された層12を含む構造となる(図2D)。後者は、例えば10から20の間の高いアスペクト比h/wを有し得る。幅wが2μmから5μmの間である場合、得られる壁の高さhは20μmから100μmの間であり得る。しかし既に上記で示したように、異なる幾何学的特性を有する壁及び特に低い高さの壁、例えば10μmより低い壁なども、本願で開示した方法によって得ることが出来る。
そして素子全体に(図2E)、厚さが通常50nmから500nmの間であり、なお所望の応用に応じて可視光線及び/又は近赤外線及び/又は中赤外線を吸収する材料である、等角層30が堆積される。この層は光の一部又は全部を吸収でき、光学素子の透明性低下をもたらす回折現象を制限できる。好ましくは、可視スペクトル領域に対してはアモルファスカーボン又は黒色クロム/モルブデンが選定され、あるいは近赤外線及び/又は中赤外線に対してはナノ結晶ダイヤモンドが選定される。
この層は適用され、壁6の頂上60、壁の側面61,62及びキャビティの底部4’1を連続的に覆う。
例えば、ナノ結晶ダイヤモンド層はプラズマアシスト化学蒸着(PACVD)、黒色モリブデン層は化学蒸着(CVD)、黒色クロム層は物理蒸着(PVD)又は電子ビーム蒸発を用いて、好ましくは堆積される。
好ましくは、この吸収層30は、ウェットエッチング液が吸収層を通過して犠牲層12をエッチングできるように十分な気孔率を有する。そして、気孔率が10%より低い範囲では無孔層と判断せれ、10%から50%の範囲では多孔層と判断される。この気孔率はまた、堆積パラメータによって調整され得る。例えば、冷たい基板上に“電子ビーム蒸発”によって堆積された黒色クロム層は40%程度の気孔率を有するが、堆積中に基板が熱せられると(300℃)、この気孔率は16%まで低下する。
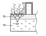
こうして犠牲層12のウェットエッチングは、例えば酸又は塩基のエッチングなどによって、その次に実施される(図2F)。好ましくは、キャビティの底部4’1に存在する吸収層30の気孔率は、犠牲層12をエッチングし、キャビティの底部にある吸収層30をいわゆる“リフトオフ”効果によって引き抜けるように調整される。
この段階を図3Aから3Dにおいて、より詳細に示す。キャビティの底部にある吸収層30の一部が上昇するようにエッチングが十分進むまで(図3D)、エッチング液は犠牲層12をエッチングするために、その気孔31を通って吸収層30の下を進む(図3Bと3C)。このように上昇されてエッチング液17と混合された相当量の吸収材料は、こうして後者を引き抜く間に除去される(図3D)。これらの図から分かるように、液17は気孔31を通って層12の材料を徐々にエッチングし、そのエッチング領域は図3A-3Cにおいて参照120,121,122によって指定されているが、その大きさは、その工程が進むにつれて増大する。
最終的に(図2F)、壁6の頂上60及び壁6の側面61,62は依然として、吸収材料30によって覆われる。壁6の下には、壁6と同じ幅を有する犠牲層の残存部分12’があり、層30は、この層12’の厚さと実質的に同一又は近い高さにおいて、この部分12’の側面12’1,12’2を覆わない。こうして形成されたキャビティ4の底部4’は、材料12から取り除かれる。
エッチング液17は、ちょうど堆積された吸収層及び壁6をエッチングしないように、吸収層30を構成する材料及び壁6を構成する材料にも選択的であるように選ばれる。従って、例えば二酸化ケイ素SiO2の犠牲層12、黒色クロムの吸収層30、及びゾルゲル有機ケイ素材料の壁6である場合、エッチング液は、フッ化アンモニウム(NH4F)で緩衝化され、部分的に希釈されたフッ化水素酸(HF)となる。
ウェットエッチングはまた、壁6の下をオーバーエッチングすることで“リフトオフ”効果を壁にまで広げないように制御される。もしエッチングが高すぎると、層12のエッチング領域はやはり壁6の下に形成され、それは安定性を失う。このために、ウェット液によるエッチング時間は制御される。犠牲層12は、例えば100nmから250nm程度の幅を有し、壁は2μmから5μmであり得る厚さを有する。これに関して、壁は層12の厚さの10から50倍大きい幅を有し得る。たとえサイドエッチング(壁の下)が垂直エッチング(吸収層の下)と同等程度の速度で起こると仮定しても、サイドエッチングは、吸収層が既にエッチングされたという時に、十分早く停止され得る。
もう1つの壁形成方法を伴った、代替案の実施形態を、図4Aから4Gに関連して以下に示す。
基板10及びその犠牲層を伴う図2Bの形態から開始して、ハードマスク層16(例えば、50nm厚のクロム層)が堆積され、続いて樹脂のマスク17(図4A)が堆積される。それは後に形成される壁の位置及びその幅を規定し、犠牲層と同時に場合によっては基板10の一部もエッチングすることを可能にする。そしてこれらの層16,17のエッチング領域に壁が形成される。基板10の材料のエッチングが持続される場合、後に形成される壁6(図4B)の機械抵抗が高められる。
そして樹脂18(図4C)が塗られる。それは、場合によっては基板10内部も含めたエッチング領域に浸透する。前記の実施形態とは異なり、犠牲層は全基板10の上で不連続になる。
そしてマイクロキャビティの壁6は、例えば既に上記したうちの何れか1つの方法を用いて、この樹脂18(図4D)の中に形成される。その後、その層12に選択的で、出来る限り層12に影響を与えない、好ましくはソフトな方法によって、マスク層17及びハードマスク層16は除去される(図4E)。この方法は、例えば界面活性剤BE30:1を伴ったHFエッチングであり、それによって良好な結果が得られる。
そして全体の素子上に等角層30が堆積されるが(図4F)、その性質、気孔率、並びに光学及び厚み特性は、特に図2Eに関連して、既に前記に記載した。再びこの層は適用され、犠牲層12と同時に壁6の頂上60及び壁の側面61,62も連続的に覆う。
そして、犠牲層12のウェットエッチングは、例えば酸又は塩基のエッチングによって実施される(図4G)。図2Fの場合と同様に、キャビティの底部4’1に存在する吸収層30の気孔率は、好ましくは犠牲層12をエッチングし、キャビティの底部にある吸収層30をいわゆる“リフトオフ”効果によって引き抜けるように調整される。再び、層30の気孔31を通るエッチング機構及びエッチング液の選択に関しては、上記の説明が参照され得る(図3A-3C)。
最終的に(図4G)、壁6の頂上60及び側面61,62は依然として、吸収材料30によって覆われる。今回、壁6の下に犠牲層の残存部分はないが、層30は、基板10の自由表面と層30の底部の間に位置する、壁の側面61,62のより低い部分を覆っておらず、その高さHは実質的に前記層12の厚さと同等、又は前記層12と層30の厚さの合計と同程度である。
上記の製造方法は、吸収特性を有する層30を伴って記載されている。しかし代わりに、この層は反射特性を有することもあり、コントラストを改善するためにスクリーンの内部構造のほんの一部(4-5%)が反射マイクロ構造によって覆われるので、それはTFT−LCD移動スクリーンを製造する際に興味深くなり得る:このように、たとえスクリーンが直接太陽光に晒された時でも、ユーザーは画像を完璧に識別できる。反射壁を有するキャビティの製造方法は、吸収壁に対する方法と類似している。
いずれにしても、吸収性又は反射性という特定の光学特性を有する材料の層30で覆われた壁6によって規定されたキャビティ4を含む構造が得られる。図2Fでは、壁6の下に材料の残存部分12’が見られる。壁6は基板10の自由表面より上の部分である高さhを有し、それは数μmから数十μm程度、例えば10μmより高く、更に例えば5μmから50μmの間であり得る。それらの幅wは、数μm又はサブミクロン程度、例えば5μmより低く、あるいは5μmから0.5μmの間であり得る。これらの幾何学パラメータに対する他の値の範囲は、既に上記において記載してある。
そして1以上のキャビティの充填は、キャビティ4内部に対して装置E(図5A)を用い、数ピコリットル程度であり得る体積を有する噴流又は液滴26として液体24を発射することで行われ得る。液体は数十から数百ピコリットルである低容量配置の使用に適した技術を用いて送られ得る。用いられる装置Eは、インクジェットディスペンシングの何れか1つに類似した液体分配技術を実施できる。
液体材料24は、部分的又は完全にキャビティ4を満たせる。キャビティの完全充填は、壁6の頂上62に到達するように行われ得る。
結果物は、支持体10の材料と同一であろうとなかろうと、プラスチックフィルムのような保護フィルム9を設ける(最も簡単にはラミネートする)ことで完了される(図5B)。このフィルムは場合によっては、最終的な機能(防眩、ハード層、防汚など)のために考案された機能層によって覆われる。
図5A及び5Bは、図2Fの構造で作られる部品の場合に関連するが、もう1つの部品もまた上記で説明したように、キャビティを満たし保護フィルム9を設けることによって、図4Gの構造から得ることが出来る。
最終結果物のカスタマイズは、例えばガラスレンズとして最終的な表面の上にそれを設ける前に行われ得る。このカスタマイズは、要求されなくても、スタックを製造するのに使用される固定した支持体に、有利に実施され得る。支持体を製造する際にカスタマイズする場合は、レーザーや超音波、又は切削工具を用いて製造され得る。物体表面のプレシールを保証し、最適なシーリングのための薄片の良好な表面条件、及び工業化に適した高速遂行を保証するような品質を有する技術が好ましい。このカスタマイズは、ガス厚及び耐水性、結果物の寿命を通じた機械抵抗、消費財(必要ならば、例としてガラスがある)に適した見栄えを保証する表面シーリングを伴う。
4 キャビティ
4’1 底部
6 壁
10 基板
10’ 平面
12 犠牲材料層
12’ 残存部分
12’1,12’2 側面
16 ハードマスク層
17 マスク
18 感光性樹脂
24 液体
26 液滴
30 光学材料の層
31 気孔
60 頂上
61,62 側面
120,121,122 エッチング領域
4’1 底部
6 壁
10 基板
10’ 平面
12 犠牲材料層
12’ 残存部分
12’1,12’2 側面
16 ハードマスク層
17 マスク
18 感光性樹脂
24 液体
26 液滴
30 光学材料の層
31 気孔
60 頂上
61,62 側面
120,121,122 エッチング領域
Claims (18)
- a)支持基板(10)表面に犠牲材料層(12)を形成する段階と、
b)キャビティ(4)の底部が前記犠牲材料層によって形成された、前記キャビティの壁(6)を形成する段階と、
c)所定の光学特性を有し、多孔質材料である、いわゆる光学材料の層(30)を、前記壁の頂上(60)、前記壁の側面(61,62)及び前記キャビティの前記底部(4’)に等角的に堆積する段階と、
d)前記犠牲層(12)をエッチングし、この層の前記材料及び前記キャビティ(4)の前記底部に存在する前記光学材料の層(30)の一部の前記材料を除去する段階と、
を含むマイクロ光学素子のキャビティ(4)を形成する方法。 - 前記光学材料の層(30)が吸収層又は反射層である、請求項1に記載の方法。
- 前記光学材料が吸収性(30)であり、黒色クロム、黒色モリブデン又はアモルファスカーボンを含む、請求項2に記載の方法。
- 前記犠牲層(12)の材料が酸化ケイ素SiO2、窒化ケイ素SiN、酸化インジウムスズ(ITO)、アモルファスカーボン、黒色モリブデン又は黒色クロムを含む、請求項1から3の何れか1項に記載の方法。
- 前記犠牲層(12)のエッチングを多孔質の前記光学材料(30)を通過したウェットエッチング液を用いて実施する、請求項1から4の何れか1項に記載の方法。
- 段階b)で形成された前記壁が10から20の間のアスペクト比(h/w)を有する、請求項1から5の何れか1項に記載の方法。
- 段階cの間までキャビティ間で連続的である前記犠牲層(12)の前記表面に前記壁を形成し、段階dの後、前記壁が前記犠牲材料の一部(12’)の上に位置する、請求項1から6の何れか1項に記載の方法。
- 前記壁を少なくとも前記犠牲層(12)のエッチング領域に形成する、請求項1から6の何れか1項に記載の方法。
- 前記壁を前記犠牲層(12)及び前記基板(10)のエッチング領域に形成する、請求項8に記載の方法。
- −請求項1から9の何れか1項に記載の方法の実施を含む、この素子のキャビティ(4)を形成する段階と、
−前記素子の前記キャビティ(4)の中に1以上の流体を導入する段階と、
−前記キャビティの前記壁の上に閉鎖層(9)を形成する段階と、
を含むマイクロ光学素子を形成する方法。 - 壁(6)によって囲まれたキャビティ(4)を含み、多孔質の光学材料の層(30)が前記壁の頂上(60)及び前記壁の側面(61,62)に形成され、前記キャビティ(4)の前記底部には光学材料が存在しない、マイクロ光学素子。
- 前記各壁(6)の底部が前記犠牲材料の一部(12’)の上に位置し、前記光学材料の層(30)が前記犠牲材料のこの部分の側面(12’1,12’2)の上にない、請求項11に記載の素子。
- 前記各壁(6)の底部が前記基板の上又は前記基板の中に位置し、前記光学材料の層(30)が前記基板(10)の前記表面付近に位置する前記壁の側面(61,62)の一部の上にない、請求項11に記載の素子。
- 各キャビティが少なくとも部分的に流体(24)で満たされる、請求項11から13の何れか1項に記載の素子。
- 前記光学材料の層(30)が吸収層又は反射層である、請求項11から14の何れか1項に記載の素子。
- 前記光学材料が吸収性(30)であり、黒色クロム、黒色モリブデン又はアモルファスカーボンを含む、請求項15に記載の素子。
- 前記壁(6)が1μmから100μmの間の高さを有する、請求項11から16の何れか1項に記載の素子。
- 前記壁が0.5μmから10μmの間の幅を有する、請求項11から17の何れか1項に記載の素子。
Applications Claiming Priority (2)
| Application Number | Priority Date | Filing Date | Title |
|---|---|---|---|
| FR1055944 | 2010-07-21 | ||
| FR1055944A FR2963112B1 (fr) | 2010-07-21 | 2010-07-21 | Microstructure a parois a propriete optique determinee et procede de realisation de microstructures |
Publications (1)
| Publication Number | Publication Date |
|---|---|
| JP2012024917A true JP2012024917A (ja) | 2012-02-09 |
Family
ID=43755087
Family Applications (1)
| Application Number | Title | Priority Date | Filing Date |
|---|---|---|---|
| JP2011158777A Pending JP2012024917A (ja) | 2010-07-21 | 2011-07-20 | 所定の光学特性を有する壁を伴ったマイクロ構造体及びマイクロ構造体の製造方法 |
Country Status (4)
| Country | Link |
|---|---|
| US (1) | US9116269B2 (ja) |
| EP (1) | EP2410373A1 (ja) |
| JP (1) | JP2012024917A (ja) |
| FR (1) | FR2963112B1 (ja) |
Cited By (1)
| Publication number | Priority date | Publication date | Assignee | Title |
|---|---|---|---|---|
| JP2019514194A (ja) * | 2015-12-29 | 2019-05-30 | ルミレッズ ホールディング ベーフェー | 側面反射器と蛍光体とを備えるフリップチップled |
Families Citing this family (1)
| Publication number | Priority date | Publication date | Assignee | Title |
|---|---|---|---|---|
| KR102700918B1 (ko) * | 2015-12-29 | 2024-09-02 | 루미리즈 홀딩 비.브이. | 측면 반사기들 및 인광체를 갖는 플립 칩 led |
Citations (5)
| Publication number | Priority date | Publication date | Assignee | Title |
|---|---|---|---|---|
| JP2000124469A (ja) * | 1998-10-13 | 2000-04-28 | Toyota Central Res & Dev Lab Inc | 微小密閉容器及びその製造方法 |
| JP2006326806A (ja) * | 2005-05-30 | 2006-12-07 | Toshiba Corp | Mems技術を使用した半導体装置 |
| US20090109515A1 (en) * | 2007-10-30 | 2009-04-30 | Spatial Photonics, Inc. | Encapsulated spatial light modulator having large active area |
| US20100006957A1 (en) * | 2008-06-06 | 2010-01-14 | Taiwan Semiconductor Manufacturing Company, Ltd. | Microscopic structure packaging method and device with packaged microscopic structure |
| JP2010044375A (ja) * | 2008-07-15 | 2010-02-25 | Commissariat A L'energie Atomique | 微小構造を形成する前に堆積しまたラビング処理する液晶配向層 |
Family Cites Families (48)
| Publication number | Priority date | Publication date | Assignee | Title |
|---|---|---|---|---|
| US3978580A (en) | 1973-06-28 | 1976-09-07 | Hughes Aircraft Company | Method of fabricating a liquid crystal display |
| US3863249A (en) | 1973-07-30 | 1975-01-28 | Motorola Inc | Magnetic fluid display device |
| CH591090A5 (en) | 1976-03-29 | 1977-09-15 | Wenger Jean Sebastien | Thin-edged lens for focussing solar rays in heater - with liquid-filled transparent or translucent shell |
| US4989226A (en) | 1987-08-21 | 1991-01-29 | Brigham Young University | Layered devices having surface curvature |
| US5417801A (en) | 1993-06-29 | 1995-05-23 | Xerox Corporation | Process to manufacture bushings for micromechanical elements |
| JP3821315B2 (ja) * | 1995-11-13 | 2006-09-13 | シャープ株式会社 | 液晶表示装置およびその製造方法 |
| US5838414A (en) | 1995-12-30 | 1998-11-17 | Samsung Display Devices Co., Ltd. | LCD device with improved resilient adhesive spacers |
| EP0785565A1 (en) * | 1996-01-22 | 1997-07-23 | Hitachi Chemical Co., Ltd. | Phosphor pattern, processes for preparing the same and photosensitive element to be used for the same |
| US6266121B1 (en) * | 1996-11-28 | 2001-07-24 | Sharp Kabushiki Kaisha | Liquid crystal display element and method of manufacturing same |
| EP1156122A3 (en) | 1998-03-06 | 2005-02-09 | Novozymes A/S | A fluorescence polarization assay method |
| US6063653A (en) | 1998-07-07 | 2000-05-16 | Industrial Technology Research Institute | Method of fabricating a TFT-LCD |
| DE69938023T2 (de) | 1998-07-31 | 2009-01-15 | Canon K.K. | Farbfilter, Verfahren zur Herstellung des Farbfilters, den Farbfilter aufweisende Flüssigkristall-Vorrichtung und Herstellungsverfahren für eine Schwarzmatrix |
| US6947202B2 (en) | 2000-03-03 | 2005-09-20 | Sipix Imaging, Inc. | Electrophoretic display with sub relief structure for high contrast ratio and improved shear and/or compression resistance |
| US6829078B2 (en) | 2000-03-03 | 2004-12-07 | Sipix Imaging Inc. | Electrophoretic display and novel process for its manufacture |
| TW556044B (en) | 2001-02-15 | 2003-10-01 | Sipix Imaging Inc | Process for roll-to-roll manufacture of a display by synchronized photolithographic exposure on a substrate web |
| JP2002323630A (ja) | 2001-04-25 | 2002-11-08 | Ntt Advanced Technology Corp | 液体吐出機による光回路作製方法およびその装置 |
| EP1381840A1 (en) | 2001-04-26 | 2004-01-21 | Esytech AB | A separation unit, a method for separation, and a device for mounting a separation unit in a separation apparatus |
| US6635306B2 (en) * | 2001-06-22 | 2003-10-21 | University Of Cincinnati | Light emissive display with a black or color dielectric layer |
| TWI308231B (en) | 2001-08-28 | 2009-04-01 | Sipix Imaging Inc | Electrophoretic display |
| JP2003177232A (ja) | 2001-10-02 | 2003-06-27 | Seiko Epson Corp | カラーフィルタ及びその製造方法及び表示装置並びに電子機器 |
| US6962822B2 (en) | 2002-08-07 | 2005-11-08 | International Business Machines Corporation | Discrete nano-textured structures in biomolecular arrays, and method of use |
| KR100774421B1 (ko) * | 2002-10-21 | 2007-11-08 | 캐논 가부시끼가이샤 | 전기영동표시소자의 제조방법 |
| US6958207B1 (en) | 2002-12-07 | 2005-10-25 | Niyaz Khusnatdinov | Method for producing large area antireflective microtextured surfaces |
| FR2848303B1 (fr) | 2002-12-09 | 2005-03-04 | Commissariat Energie Atomique | Arrangement optique a deux entrees/sorties optiques et un procede de fabrication |
| GB2435717B (en) | 2003-09-04 | 2008-03-26 | Hitachi Ltd | Active matrix display device |
| US7067355B2 (en) | 2004-05-26 | 2006-06-27 | Hewlett-Packard Development Company, L.P. | Package having bond-sealed underbump |
| JP4996462B2 (ja) | 2004-07-02 | 2012-08-08 | エシロール アンテルナシオナル (コンパニー ジェネラル ドプティック) | 透明な光学素子の製造方法、この製造方法に関わる光学部品および得られた光学素子 |
| FR2872589B1 (fr) | 2004-07-02 | 2006-10-27 | Essilor Int | Procede de realisation d'un element optique transparent, composant optique intervenant dans ce procede et element optique ainsi obtenu |
| US20060139529A1 (en) | 2004-08-31 | 2006-06-29 | Shie-Chang Jeng | Manufacturing method for a transflective liquid crystal display device |
| EP1861333B1 (en) | 2004-11-04 | 2018-12-26 | Microchips Biotech, Inc. | Compression and cold weld sealing methods and devices |
| ATE360224T1 (de) | 2004-12-16 | 2007-05-15 | Ecole D Ingenieurs Arc | Verfahren zur herstellung einer vorrichtung mit einer kunststoffmembran und so erhaltene vorrichtung |
| FR2879757B1 (fr) | 2004-12-17 | 2007-07-13 | Essilor Int | Procede de realisation d'un element optique transparent, composant optique intervenant dans ce procede et element optique ainsi obtenu |
| WO2006067650A1 (en) | 2004-12-20 | 2006-06-29 | Koninklijke Philips Electronics N.V. | Method of manufacturing an electrophoretic display device and electrophoretic display device |
| US9229222B2 (en) | 2005-02-23 | 2016-01-05 | Pixtronix, Inc. | Alignment methods in fluid-filled MEMS displays |
| US20070014695A1 (en) | 2005-04-26 | 2007-01-18 | Applera Corporation | Systems and Methods for Multiple Analyte Detection |
| EP1722424A1 (en) | 2005-05-13 | 2006-11-15 | Université Libre de Bruxelles | Method for the manufacturing of homeotropically aligned layer of discotic liquid crystals |
| TWI288116B (en) | 2005-06-07 | 2007-10-11 | Chien-Chung Fu | Method of manufacturing a LIGA mold by backside exposure |
| FR2888948B1 (fr) | 2005-07-20 | 2007-10-12 | Essilor Int | Composant optique transparent pixellise comprenant un revetement absorbant, son procede de realisation et son utilisation dans un element optique |
| FR2888953B1 (fr) | 2005-07-20 | 2008-02-08 | Essilor Int | Composant optique pixellise a parois apodisees, son procede de fabrication et son utilisation dans la fabrication d'un element optique transparent |
| US7399421B2 (en) | 2005-08-02 | 2008-07-15 | International Business Machines Corporation | Injection molded microoptics |
| GB2432966A (en) | 2005-11-25 | 2007-06-06 | Seiko Epson Corp | Dye-sensitised electrochemical cell |
| US7136216B1 (en) | 2005-12-15 | 2006-11-14 | Palo Alto Research Center Incorporated | Dual-stage tape-sealing of microcells or channels for display applications |
| FR2897164B1 (fr) | 2006-02-09 | 2008-03-14 | Commissariat Energie Atomique | Realisation de cavites pouvant etre remplies par un materiau fluidique dans un compose microtechnologique optique |
| GB0611141D0 (en) | 2006-06-07 | 2006-07-19 | Univ Strathclyde | Multistable reflective liquid crystal device |
| WO2009026240A1 (en) * | 2007-08-17 | 2009-02-26 | Solexel, Inc. | Methods for liquid transfer coating of three-dimensional substrates |
| FR2933205B1 (fr) | 2008-06-27 | 2010-08-13 | Commissariat Energie Atomique | Procede ameliore de realisation d'enceintes remplies de liquide et fermees par une membrane |
| JP5609700B2 (ja) * | 2011-02-17 | 2014-10-22 | ソニー株式会社 | 電気泳動素子および表示装置 |
| JP5741122B2 (ja) * | 2011-03-28 | 2015-07-01 | ソニー株式会社 | 電気泳動素子、表示装置および電子機器 |
-
2010
- 2010-07-21 FR FR1055944A patent/FR2963112B1/fr not_active Expired - Fee Related
-
2011
- 2011-07-20 US US13/186,940 patent/US9116269B2/en not_active Expired - Fee Related
- 2011-07-20 EP EP20110174613 patent/EP2410373A1/fr not_active Withdrawn
- 2011-07-20 JP JP2011158777A patent/JP2012024917A/ja active Pending
Patent Citations (5)
| Publication number | Priority date | Publication date | Assignee | Title |
|---|---|---|---|---|
| JP2000124469A (ja) * | 1998-10-13 | 2000-04-28 | Toyota Central Res & Dev Lab Inc | 微小密閉容器及びその製造方法 |
| JP2006326806A (ja) * | 2005-05-30 | 2006-12-07 | Toshiba Corp | Mems技術を使用した半導体装置 |
| US20090109515A1 (en) * | 2007-10-30 | 2009-04-30 | Spatial Photonics, Inc. | Encapsulated spatial light modulator having large active area |
| US20100006957A1 (en) * | 2008-06-06 | 2010-01-14 | Taiwan Semiconductor Manufacturing Company, Ltd. | Microscopic structure packaging method and device with packaged microscopic structure |
| JP2010044375A (ja) * | 2008-07-15 | 2010-02-25 | Commissariat A L'energie Atomique | 微小構造を形成する前に堆積しまたラビング処理する液晶配向層 |
Cited By (1)
| Publication number | Priority date | Publication date | Assignee | Title |
|---|---|---|---|---|
| JP2019514194A (ja) * | 2015-12-29 | 2019-05-30 | ルミレッズ ホールディング ベーフェー | 側面反射器と蛍光体とを備えるフリップチップled |
Also Published As
| Publication number | Publication date |
|---|---|
| US9116269B2 (en) | 2015-08-25 |
| US20120019922A1 (en) | 2012-01-26 |
| FR2963112A1 (fr) | 2012-01-27 |
| FR2963112B1 (fr) | 2013-02-15 |
| EP2410373A1 (fr) | 2012-01-25 |
Similar Documents
| Publication | Publication Date | Title |
|---|---|---|
| EP1982217B1 (fr) | Réalisation de cavités pouvant être remplies par un matériau fluidique dans un composé microtechnologique optique | |
| US9217086B2 (en) | Method of fabricating transparent anti-reflective article | |
| JP5575155B2 (ja) | 光デバイス及びその製造方法 | |
| CN115421295B (zh) | 超透镜的设计方法、超透镜及加工工艺 | |
| WO2023155611A1 (zh) | 一种远红外超透镜及其加工方法 | |
| JP6060620B2 (ja) | マイクロレンズアレイの製造方法 | |
| CN107121715B (zh) | 一种基于耦合米氏共振的超表面完全吸收体及其制备方法 | |
| JP2015034959A (ja) | 偏光板、及び偏光板の製造方法 | |
| CN103048715A (zh) | 平面亚波长非周期高对比度光栅及其制备方法 | |
| EP2407416A1 (fr) | Procédé de fabrication d'un dispositif à membrane emprisonnant un fluide | |
| CN106989828A (zh) | 制造具有微囊的电磁辐射探测器的方法 | |
| US12498581B2 (en) | Air pocket structures for promoting total internal reflection in a waveguide | |
| US20100014036A1 (en) | Alignment layer of liquid crystals deposited and rubbed before making microstructures | |
| US9156216B2 (en) | Process for manufacturing a segmented optical structure | |
| JP5248869B2 (ja) | 光学マイクロ技術化合物内のキャビティを流体材料で充填する方法 | |
| JP2012024917A (ja) | 所定の光学特性を有する壁を伴ったマイクロ構造体及びマイクロ構造体の製造方法 | |
| JPH03115139A (ja) | 反射防止膜およびその形成方法 | |
| CN102738698A (zh) | 一种基于紫外光刻工艺的深亚微米刻蚀槽制作方法 | |
| CN1405366A (zh) | 一种制备紫光波段的空气球二氧化钛光子晶体的方法 | |
| EP4336226B1 (en) | Method for producing anti-reflective textured surface using additive thin film | |
| KR102891211B1 (ko) | 무반사 나노 구조체 및 이의 제조 방법 | |
| CN116995529A (zh) | 一种光学微腔及其制备方法 | |
| WO2022197712A1 (en) | Airgap structures for improved eyepiece efficiency | |
| CN120722598A (zh) | 一种控制基板及空间光调制器 | |
| CN1248019C (zh) | 微机电式法布里-珀罗装置制造方法 |
Legal Events
| Date | Code | Title | Description |
|---|---|---|---|
| A621 | Written request for application examination |
Free format text: JAPANESE INTERMEDIATE CODE: A621 Effective date: 20140701 |
|
| A977 | Report on retrieval |
Free format text: JAPANESE INTERMEDIATE CODE: A971007 Effective date: 20150824 |
|
| A131 | Notification of reasons for refusal |
Free format text: JAPANESE INTERMEDIATE CODE: A131 Effective date: 20150914 |
|
| A02 | Decision of refusal |
Free format text: JAPANESE INTERMEDIATE CODE: A02 Effective date: 20160229 |