JP2012024907A - 切削加工方法、および切削加工用工具 - Google Patents
切削加工方法、および切削加工用工具 Download PDFInfo
- Publication number
- JP2012024907A JP2012024907A JP2010168384A JP2010168384A JP2012024907A JP 2012024907 A JP2012024907 A JP 2012024907A JP 2010168384 A JP2010168384 A JP 2010168384A JP 2010168384 A JP2010168384 A JP 2010168384A JP 2012024907 A JP2012024907 A JP 2012024907A
- Authority
- JP
- Japan
- Prior art keywords
- cutting
- tool
- work material
- cutting tool
- spindle
- Prior art date
- Legal status (The legal status is an assumption and is not a legal conclusion. Google has not performed a legal analysis and makes no representation as to the accuracy of the status listed.)
- Pending
Links
- 238000005520 cutting process Methods 0.000 title claims abstract description 140
- 238000000034 method Methods 0.000 title claims abstract description 23
- 239000000463 material Substances 0.000 claims abstract description 29
- 239000002184 metal Substances 0.000 abstract description 2
- 239000002699 waste material Substances 0.000 description 3
- 230000000694 effects Effects 0.000 description 2
- 230000020169 heat generation Effects 0.000 description 2
- 230000003247 decreasing effect Effects 0.000 description 1
- 238000003754 machining Methods 0.000 description 1
- 238000003672 processing method Methods 0.000 description 1
Images
Landscapes
- Turning (AREA)
Abstract
【課題】容易かつ安価な構成によって、長尺な切削屑や厚い切削屑を発生させることなく高い加工精度で被削材の切削加工を実施することが可能な切削加工方法を提供する。
【解決手段】切削加工用工具1は、金属によって略円柱状に形成されており、前方から見ると、複数の突条と凹溝とが連続した波状の凹凸を形成した状態になっている。また、切削加工用工具1の前端の刃先面には、複数の凸部と凹部とが中心軸に対する放射方向に交互に設けられており、側方から見ると、それらの凸部と凹部とが連続した波状の凹凸を形成した状態になっている。かかる切削加工用工具1によって被削材Wを切削する際には、被削材Wを主軸14を中心として回転させた状態で、工具主軸15を中心として回転させた切削加工用工具1をアプローチさせる。
【選択図】図2
【解決手段】切削加工用工具1は、金属によって略円柱状に形成されており、前方から見ると、複数の突条と凹溝とが連続した波状の凹凸を形成した状態になっている。また、切削加工用工具1の前端の刃先面には、複数の凸部と凹部とが中心軸に対する放射方向に交互に設けられており、側方から見ると、それらの凸部と凹部とが連続した波状の凹凸を形成した状態になっている。かかる切削加工用工具1によって被削材Wを切削する際には、被削材Wを主軸14を中心として回転させた状態で、工具主軸15を中心として回転させた切削加工用工具1をアプローチさせる。
【選択図】図2
Description
本発明は、旋盤等の切削加工機における被削材の切削加工方法、および、その切削加工方法に適した工具に関するものである。
旋盤等の切削加工機を利用して主軸周りに回転する切削材に切削工具によって切削加工を施す場合には、切削材料によっては、厚い切削屑が形成されて切削抵抗が大きくなったり、切削屑が伸びて絡まる等の不具合が生じることがある。それゆえ、切削抵抗を低減させ、切削屑の厚みを減少させる目的で、特許文献1の如く、切削工具の近傍にアクチュエータを設けて、当該アクチュエータを利用して、切削時に切削方向あるいは切屑流出方向の振動を与える、いわゆる振動切削という加工方法が考案されている。
しかしながら、上記の如く切削時にアクチュエータによる振動を与える切削加工方法は、切削工具の刃先と被削材との間の摩擦力の増大を防止することが可能であるものの、切削加工中に専用のアクチュエータによって常に振動を付与し続ける必要があるため、加工コストが高くなってしまう。また、アクチュエータから生じる振動が大きすぎると、加工の精度が悪くなる、という不具合もある。
本発明の目的は、上記従来の切削加工方法が有する問題点を解消し、容易かつ安価な構成によって、長尺な切削屑や厚い切削屑を発生させることなく高い加工精度で被削材の切削加工を実施することが可能な切削加工方法を提供することにある。加えて、そのような切削加工に適した切削加工用の工具を提供することにある。
本発明の内、請求項1に記載された発明は、主軸を中心として回転させた被削材に対して、工具主軸を中心として回転させた工具をアプローチさせることにより、被削材に切削加工を施す切削加工方法であって、前記工具が円柱状のものであり、刃先面あるいは刃先の外周に、連続した波状の凹凸が形成されていることを特徴とするものである。
請求項2に記載された発明は、請求項1に記載された発明において、前記工具の刃先面あるいは刃先の外周の凹凸が、正弦波状のものであることを特徴とするものである。なお、刃先面の凹凸が正弦波状のものであるとは、工具の長さ方向における所定の位置における外周の円を基準線とした場合に、凹凸を形成している輪郭線の位置(y)が基準線上の位置(θ)に対してy=A・sin(pθ)(A,pは任意の定数)の関係にあることを意味し、刃先の外周の凹凸が正弦波状のものであるとは、工具の軸心から所定の距離にある円を基準線とした場合に、凹凸を形成している輪郭線の位置(y)が基準線上の位置(θ)に対してy=B・sin(qθ)(A,qは任意の定数)の関係にあることを意味する。
請求項3に記載された発明は、主軸を中心として回転させた被削材に対して、工具主軸を中心として回転させた工具をアプローチさせることにより、被削材に切削加工を施す際に用いる工具であって、円柱状に形成されており、刃先面あるいは刃先の外周に、連続した波状の凹凸が形成されていることを特徴とするものである。
請求項1の切削加工方法によれば、刃先面あるいは刃先の外周に連続した波状の凹凸を形成してなる円柱状の工具を用いるだけの容易かつ安価な構成によって、切削加工中に工具および被削材に主分力方向(工具による切削方向に沿った方向)あるいは送り分力方向(工具による切削方向と直交する方向)の連続した振動を与えることが可能となる。したがって、請求項1の切削加工方法によれば、工具の刃先と被削材との間の摩擦力を効果的に低減させることができるため、切削屑の長さや厚さを減少させることができる上、加工時の発熱や抵抗の増大を抑えて加工精度を向上させることが可能となる。
請求項2の切削加工方法によれば、工具の刃先と被削材との間の摩擦力をより効果的に低減させることが可能となる。
請求項3の切削加工用工具によれば、非常に容易にかつ安価に、長尺な切削屑や厚い切削屑を発生させることなく高い加工精度で被削材を切削加工することが可能となる。
以下、本発明に係る切削加工方法および切削加工用工具の一実施形態について、図面に基づいて詳細に説明する。
[切削加工用工具の構造]
図1は、本発明に係る切削加工方法に用いる切削加工用工具を示したものである。切削加工用工具1は、金属によって略円柱状に形成されており、外周に、16個の突条2,2・・と16個の凹溝3,3・・とが、交互に設けられている。そして、前方から見た場合に、それらの突条2,2・・と凹溝3,3・・とが、中心軸に対する放射方向に交互に位置して連続した波状の凹凸を形成した状態になっている(図1(a)参照)。
図1は、本発明に係る切削加工方法に用いる切削加工用工具を示したものである。切削加工用工具1は、金属によって略円柱状に形成されており、外周に、16個の突条2,2・・と16個の凹溝3,3・・とが、交互に設けられている。そして、前方から見た場合に、それらの突条2,2・・と凹溝3,3・・とが、中心軸に対する放射方向に交互に位置して連続した波状の凹凸を形成した状態になっている(図1(a)参照)。
それらの突条2,2・・および凹溝3,3・・によって形成される切削加工用工具1の外周の輪郭線αは、切削加工用工具1の軸中心から突条2の先端までの長さと凹溝の基端(軸中心に一番近い部分)までの長さとの平均値を半径とする円周(図1(a)のu)を想定した場合に、当該輪郭線αの円周uに対する位置(y)が円周u上の任意の位置からの角度(θ)に対してy=A・sin(pθ)(A,pは任意の定数)の関係を満たすように設けられている。また、中心から突条の先端までの長さと中心から凹溝の基端までの長さとの差は、数μm〜数十μmの範囲になるように調整される(図1(a)参照)。
さらに、切削加工用工具1の前端の刃先面には、16個の凸部4,4・・と16個の凹部5,5・・とが、中心軸に対する放射方向に、交互に設けられている。そして、側方から見た場合に、それらの凸部4,4・・と16個の凹部5,5・・とが、波状の凹凸を形成した状態になっている(図1(b)参照)。
それらの凸部4,4・・および凹部5,5・・によって形成される切削加工用工具1の外周の輪郭線βは、凸部4,4・・の先端と凹部5,5・・の基端との中間の位置での外周円(図1(b)のv)を想定した場合に、当該輪郭線βの外周円vに対する長手方向における位置(y)が外周円v上の任意の位置からの角度(θ)に対してy=B・sin(qθ)(A,qは任意の定数)の関係を満たすように設けられている。また、凸部4の先端から凹部5の基端までの長さは、数μm〜数十μmの範囲になるように調整される(図1(b)参照)。
[切削加工用工具を用いた切削加工方法]
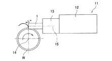
図2は、上記切削加工用工具1を用いて、円柱状の被削材(ワーク)に切削加工を施す様子を示したものである。切削加工用の機械である旋盤11には、図示しないワーク装着手段が設けられており、当該ワーク装着手段を利用して、被削材W(たとえば、円柱状のもの)を、主軸14を中心として回転可能に装着することができるようになっている。また、旋盤11の刃物台12の先端には、工具保持部13が設けられており、当該工具保持部13には、切削加工用工具1を、工具主軸15(ここでは、主軸と直交する軸)を中心として回転可能に装着することができるようになっている。
図2は、上記切削加工用工具1を用いて、円柱状の被削材(ワーク)に切削加工を施す様子を示したものである。切削加工用の機械である旋盤11には、図示しないワーク装着手段が設けられており、当該ワーク装着手段を利用して、被削材W(たとえば、円柱状のもの)を、主軸14を中心として回転可能に装着することができるようになっている。また、旋盤11の刃物台12の先端には、工具保持部13が設けられており、当該工具保持部13には、切削加工用工具1を、工具主軸15(ここでは、主軸と直交する軸)を中心として回転可能に装着することができるようになっている。
かかる旋盤11を用いて、被削材Wに切削加工を施す場合には、ワーク装着手段に装着された被削材Wを主軸14を中心として回転させた状態で、工具主軸15を中心として回転させた切削加工用工具1をアプローチさせて(工具主軸15の方向に沿って、あるいは、その他の方向からアプローチさせて)被削材Wに接触させる。そのように切削加工用工具1を被削材Wに接触させる際には、切削加工用工具1の刃先面に形成された連続した波状の凹凸(凸部4,4・・および凹部5,5・・)によって、切削加工用工具1自体および被削材Wに、主分力方向(切削方向に沿った方向)の振動を与えることができる。また、切削加工用工具1の刃先の外周にも連続した波状の凹凸(突条2,2・・および凹溝3,3・・)が形成されているため、切削加工中に、切削加工用工具1自体および被削材Wに、送り分力方向(切削方向と直交した方向)の振動をも与えることができる。たとえば、図1のような工具を用いて工具保持部13を毎分6,000回転の回転数で回転させた場合には、切削加工用工具1および被削材Wに、6,000/60(すなわち、1秒間の回転数)*16(切削加工用工具1の刃先面あるいは刃先の外周の凹凸の数)=1.6kHzの主分力方向および送り分力方向の振動を与えることができる。
[切削加工用工具を用いた切削加工による効果]
上記した切削加工方法は、切削加工用工具1の刃先面および工具の刃先の外周に連続した波状の凹凸が形成されているため、切削加工用工具1を用いるだけの容易かつ安価な構成によって、切削加工中に切削加工用工具1自体および被削材Wに主分力方向(切削方向に沿った方向)および送り分力方向(切削方向と直交する方向)の連続した振動を与えることができる。したがって、上記した切削加工方法によれば、切削加工用工具1の刃先と被削材Wとの間の摩擦力を効果的に低減させることができるため、切削屑の長さや厚さを減少させることができる上、加工時の発熱や抵抗の増大を抑えて加工精度を向上させることができる。
上記した切削加工方法は、切削加工用工具1の刃先面および工具の刃先の外周に連続した波状の凹凸が形成されているため、切削加工用工具1を用いるだけの容易かつ安価な構成によって、切削加工中に切削加工用工具1自体および被削材Wに主分力方向(切削方向に沿った方向)および送り分力方向(切削方向と直交する方向)の連続した振動を与えることができる。したがって、上記した切削加工方法によれば、切削加工用工具1の刃先と被削材Wとの間の摩擦力を効果的に低減させることができるため、切削屑の長さや厚さを減少させることができる上、加工時の発熱や抵抗の増大を抑えて加工精度を向上させることができる。
また、上記した切削加工方法は、切削加工用工具1の刃先面の凹凸(凸部4,4・・および凹部5,5・・)および刃先の外周の凹凸(突条2,2・・および凹溝3,3・・)が、いずれも正弦波状のものであるため、切削加工用工具1の刃先と被削材Wとの間の摩擦力をきわめて効果的に低減させることが可能である。
[切削加工方法、および工具の変更例]
本発明に係る切削加工方法は、上記実施形態の態様に何ら限定されるものではなく、切削加工機の種類、切削加工用工具の形状等の構成を、本発明の趣旨を逸脱しない範囲内で、必要に応じて適宜変更することができる。
本発明に係る切削加工方法は、上記実施形態の態様に何ら限定されるものではなく、切削加工機の種類、切削加工用工具の形状等の構成を、本発明の趣旨を逸脱しない範囲内で、必要に応じて適宜変更することができる。
たとえば、切削加工用工具は、上記実施形態の如く、刃先面と刃先の外周との両方に連続した波状の凹凸を設けたものに限定されず、刃先面あるいは刃先の外周のいずれかに連続した波状の凹凸を設けたものに変更することも可能である。なお、上記実施形態の如く、工具の刃先面と刃先の外周との両方に連続した波状の同数の凹凸を設けた場合には、切削加工中に、主分力方向および送り分力方向に同じ振動数の振動を同時に付与することができる、というメリットがある。加えて、刃先面に設ける連続した波状の凹凸の個数や、刃先の外周に設ける連続した波状の凹凸の個数は、上記実施形態の如き16個に限定されず、それぞれ、必要に応じて適宜増減させることができる。また、切削加工機は、上記実施形態の如く、主軸(被削材を支持可能な回転軸)と工具主軸とが直交したものに限定されず、主軸と工具主軸とが直角以外の所定の角度を成すように構成されたものに変更することも可能である。
本発明の切削加工方法および切削加工用工具は、上記の如く優れた効果を奏するものであるから、各種の切削加工機を利用して被削材を切削加工する際に好適に用いることができる。
1・・切削加工用工具
11・・旋盤
12・・刃物台
14・・主軸
15・・工具主軸
W・・被削材
11・・旋盤
12・・刃物台
14・・主軸
15・・工具主軸
W・・被削材
Claims (3)
- 主軸を中心として回転させた被削材に対して、工具主軸を中心として回転させた工具をアプローチさせることにより、被削材に切削加工を施す切削加工方法であって、
前記工具が円柱状のものであり、刃先面あるいは刃先の外周に、連続した波状の凹凸が形成されていることを特徴とする切削加工方法。 - 前記工具の刃先面あるいは刃先の外周の凹凸が、正弦波状のものであることを特徴とする請求項1に記載の切削加工方法。
- 主軸を中心として回転させた被削材に対して、工具主軸を中心として回転させた工具をアプローチさせることにより、被削材に切削加工を施す際に用いる工具であって、
円柱状に形成されており、刃先面あるいは刃先の外周に、連続した波状の凹凸が形成されていることを特徴とする切削加工用工具。
Priority Applications (1)
| Application Number | Priority Date | Filing Date | Title |
|---|---|---|---|
| JP2010168384A JP2012024907A (ja) | 2010-07-27 | 2010-07-27 | 切削加工方法、および切削加工用工具 |
Applications Claiming Priority (1)
| Application Number | Priority Date | Filing Date | Title |
|---|---|---|---|
| JP2010168384A JP2012024907A (ja) | 2010-07-27 | 2010-07-27 | 切削加工方法、および切削加工用工具 |
Publications (1)
| Publication Number | Publication Date |
|---|---|
| JP2012024907A true JP2012024907A (ja) | 2012-02-09 |
Family
ID=45778470
Family Applications (1)
| Application Number | Title | Priority Date | Filing Date |
|---|---|---|---|
| JP2010168384A Pending JP2012024907A (ja) | 2010-07-27 | 2010-07-27 | 切削加工方法、および切削加工用工具 |
Country Status (1)
| Country | Link |
|---|---|
| JP (1) | JP2012024907A (ja) |
Cited By (1)
| Publication number | Priority date | Publication date | Assignee | Title |
|---|---|---|---|---|
| JP2014240119A (ja) * | 2013-05-13 | 2014-12-25 | 株式会社ジェイテクト | 切削装置および切削方法 |
-
2010
- 2010-07-27 JP JP2010168384A patent/JP2012024907A/ja active Pending
Cited By (1)
| Publication number | Priority date | Publication date | Assignee | Title |
|---|---|---|---|---|
| JP2014240119A (ja) * | 2013-05-13 | 2014-12-25 | 株式会社ジェイテクト | 切削装置および切削方法 |
Similar Documents
| Publication | Publication Date | Title |
|---|---|---|
| JP5555691B2 (ja) | ドリル | |
| KR20070020282A (ko) | 작업편의 회전 대칭 표면을 기계 가공하기 위한 방법 및장치 | |
| JP5946984B1 (ja) | 溝部の加工方法 | |
| JP4658667B2 (ja) | 輪帯光学素子の製造方法および輪帯光学素子用金型の製造方法 | |
| JP2015525141A (ja) | らせん状のとがった刃および排出溝を有する面取りカッター | |
| WO2013146525A1 (ja) | 工作機械 | |
| JP6379623B2 (ja) | 切削装置および切削方法 | |
| JP2012024907A (ja) | 切削加工方法、および切削加工用工具 | |
| JP6791957B2 (ja) | 振動を除去するためのガイドを備えた面取り工具 | |
| JP6723623B1 (ja) | 切削加工方法 | |
| JP5534509B2 (ja) | 切削加工方法 | |
| JP6996398B2 (ja) | バリ取り装置 | |
| WO2010079374A1 (en) | Milling tool for simultaneous roughing and finishing operations | |
| JP6248748B2 (ja) | ラフィングエンドミル | |
| RU2604742C2 (ru) | Режущая многогранная пластина | |
| JP2018028317A (ja) | ピストンの加工方法 | |
| JP5895654B2 (ja) | エンドミル | |
| JP2016155178A (ja) | 回転工具、及び回転工具の製造方法 | |
| JP2003117709A (ja) | 工作機械 | |
| JP3172438U (ja) | フライス工具 | |
| JP2013000810A (ja) | 曲線切断用丸鋸 | |
| JP2016093860A (ja) | 切削装置 | |
| JP2011212778A (ja) | バイトおよびこれを用いた切削方法 | |
| JP2001071207A (ja) | ボールエンドミルによる表面加工方法 | |
| JP2015006713A (ja) | 歯車加工装置 |