JP2011136817A - ガイドレール取付治具及びガイドレール固定方法 - Google Patents
ガイドレール取付治具及びガイドレール固定方法 Download PDFInfo
- Publication number
- JP2011136817A JP2011136817A JP2009298644A JP2009298644A JP2011136817A JP 2011136817 A JP2011136817 A JP 2011136817A JP 2009298644 A JP2009298644 A JP 2009298644A JP 2009298644 A JP2009298644 A JP 2009298644A JP 2011136817 A JP2011136817 A JP 2011136817A
- Authority
- JP
- Japan
- Prior art keywords
- guide rail
- nut
- mounting jig
- rollers
- rail mounting
- Prior art date
- Legal status (The legal status is an assumption and is not a legal conclusion. Google has not performed a legal analysis and makes no representation as to the accuracy of the status listed.)
- Pending
Links
Images
Landscapes
- Lift-Guide Devices, And Elevator Ropes And Cables (AREA)
Abstract
【課題】コストの削減を図ることができると共に作業の安全性及び作業効率を向上させることができるようにする。
【解決手段】ガイドレール取付治具10は、枠体11と、枠体11に設けられ、ナット6を着脱可能に保持するナット保持部12A,12Bと、を備えている。ナット保持部12A,12Bは、枠体に回転可能に支持される一対のローラ15,16を有する。そして、一対のローラ15,16は、ナット6を着脱可能に挟持して仮固定する。
【選択図】図1
【解決手段】ガイドレール取付治具10は、枠体11と、枠体11に設けられ、ナット6を着脱可能に保持するナット保持部12A,12Bと、を備えている。ナット保持部12A,12Bは、枠体に回転可能に支持される一対のローラ15,16を有する。そして、一対のローラ15,16は、ナット6を着脱可能に挟持して仮固定する。
【選択図】図1
Description
本発明は、エレベータの乗りかご及びつり合いおもりをガイドするガイドレールをレールブラケットに固定するためのガイドレール取付治具、及びこのガイドレール取付治具を用いたガイドレール固定方法に関する。
一般に、エレベータは、乗りかご及びつり合いおもりをガイドするガイドレールが昇降路内に立設されている。そして、ガイドレールは、その立設方向の複数箇所に固定装置によって昇降路の壁面や建屋の梁などの鋼材に固定されている。
エレベータの据付作業には、ガイドレールを昇降路壁面に固定するために、まずレールブラケットをガイドレールに固定する工程がある。この工程では、ばね式のバネクリップとレールブラケットの間にガイドレールを挟んでボルト締めを行い、ガイドレールとレールブラケットとを一体に固定している(特許文献1参照)。
しかし、特許文献1に記載されたガイドレールの固定方法では、ナットがレールブラケットの裏側に隠れた状態で、ボルトの締結作業を行わなければならないため、作業効率が悪くなるという問題がある。このボルトの締結作業の効率化を図るため、例えば、プレート本体に予めナットを溶接させておく技術が提案されている(特許文献2参照)。
この特許文献2に開示された技術では、まずレールをバネクリップとレールブラケットで挟持し、レールブラケットの裏側にナット付きプレートを配置する。そして、インパクトレンチ等の締め付け工具を用いて一対のボルトと、ナット付きプレートに溶接した一対のナットとを締結固定している。
しかしながら、特許文献2に開示された技術では、ナットとプレート本体が溶接されているため、固定作業の完了後にレールブラケットからプレート本体を外すことができない。このプレート本体は、固定作業が完了するとその役割を終えるので、それ以後は、特別な機能を果たすものではなく、必要とされないものであった。
また、1基のエレベータには、乗りかご及びつり合いおもりをガイドするために4本のガイドレールが必要である。更に、ガイドレールを固定する箇所は、昇降路内に複数設けられている。そのため、1基のエレベータの昇降路内で4本のガイドレールを固定するためには、多数のナット付きプレートを用意する必要があった。
その結果、特許文献2に開示された技術では、多数のナット付きプレートが必要であるため、作業工具の部品点数が増加し、コストアップを招いていた。また、事前に多数のナットをプレート本体に溶接する作業が必要となり、固定作業を行うための準備が繁雑なものとなっていた。更に、作業者は、多数のナット付きプレートを昇降路内の高所に持参しなければならないため、作業の効率の低下を招くと共に作業の安全性に悪影響を及ぼす場合がある、という問題があった。
本発明の目的は、上記の問題点を考慮し、コストの削減を図ることができると共に作業の安全性及び作業効率を向上させることができるガイドレール取付治具及びガイドレール固定方法を提供することにある。
上記課題を解決し、本発明の目的を達成するため、本発明のガイドレール取付治具は、エレベータのガイドレールをバネクリップによって挟持し、且つナット及びボルトをレールブラケットに固定する際に用いられるものであり、枠体と、枠体に設けられ、ナットを着脱可能に保持するナット保持部と、を備えている。そして、ナット保持部は、枠体に回転可能に支持されると共にナットを着脱可能に挟持して仮固定する一対のローラを有している。
また、本発明のガイドレール固定方法は、以下の(1)から(4)に示す工程を含んでいる。
(1)ナットをガイドレール取付治具の枠体に設けたナット保持部の一対のローラの間に装着して、仮固定する工程、
(2)レールブラケットにおけるガイドレールと対向する面の反対側の面に、ナットを仮固定したガイドレール取付治具を配置する工程、
(3)バネクリップとレールブラケットとでガイドレールを挟持し、ボルトをバネクリップに設けた貫通孔及びレールブラケットに設けた挿通孔に挿通させて、ガイドレール取付治具のナット保持部に仮固定させたナットと締結固定する工程、
(4)ガイドレール取付治具をレールブラケットから離し、ナットをガイドレール取付治具から外す工程。
(1)ナットをガイドレール取付治具の枠体に設けたナット保持部の一対のローラの間に装着して、仮固定する工程、
(2)レールブラケットにおけるガイドレールと対向する面の反対側の面に、ナットを仮固定したガイドレール取付治具を配置する工程、
(3)バネクリップとレールブラケットとでガイドレールを挟持し、ボルトをバネクリップに設けた貫通孔及びレールブラケットに設けた挿通孔に挿通させて、ガイドレール取付治具のナット保持部に仮固定させたナットと締結固定する工程、
(4)ガイドレール取付治具をレールブラケットから離し、ナットをガイドレール取付治具から外す工程。
本発明のガイドレール取付治具及びガイドレール固定方法によれば、ナットを一対のローラで着脱可能に挟持しているだけであるため、固定作業の完了後には、ガイドレール取付治具をガイドレールから取り外すことができる。その結果、ガイドレール取付治具を何度も再利用することができるため、コストの削減を図ることができる。更に、作業者は、高所での作業を行う際に多くの作業工具を持ち運ぶことなく作業を行うことができ、作業の効率の向上を図ると共に作業の安全性を高めることが可能である。
また、ナットを枠体に回転可能に支持される一対のローラで挟持しているため、ガイドレールからガイドレール取付治具を取り外す際に、ナットを挟持する2つのローラが回転する。このように、一対のローラが回転することにより、ボルトを締結固定した後に、ナットを極めて小さな力でナット保持部から取り外すことが可能となり、作業効率の向上を図ることができる。
以下、本発明のガイドレール取付治具の実施の形態例について、図1〜図4を参照して説明する。なお、各図において共通の部材には、同一の符号を付している。また、説明は以下の順序で行うが、本発明は、必ずしも以下の形態に限定されるものではない。
1.ガイドレール取付治具の構成
2.ガイドレールの固定方法
1.ガイドレール取付治具の構成
2.ガイドレールの固定方法
<1.ガイドレール取付治具の構成>
まず、図1〜図4を参照して本発明のガイドレール取付治具の実施の形態例(以下、「本例」という。)について説明する。
まず、図1〜図4を参照して本発明のガイドレール取付治具の実施の形態例(以下、「本例」という。)について説明する。
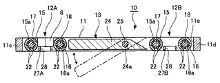
図1はガイドレールをレールブラケットに固定する状態を示す斜視図である。この図1に示すように、エレベータの昇降路内には、乗りかご及びつり合いおもりをガイドするガイドレール1が立設されている。ガイドレール1は、一対のバネクリップ4と、ボルト5と、ナット6によってレールブラケット2に固定されている。すなわち、ガイドレール1は、弾性を有する一対のバネクリップ4とレールブラケット2とで挟持され、一対のボルト5とナット6で締結固定されている。そして、このガイドレール1の固定作業時には、ガイドレール取付治具10が用いられる。
レールブラケット2は、断面形状が略L字状に形成されている。このレールブラケット2は、昇降路の壁面や建屋の梁などに設置されているファスナ3に例えばボルトや溶接等の固定方法で固定されている。なお、本例では、レールブラケット2には、略長方形状の固定孔7が設けられている。レールブラケットは、固定孔7にボルト5を挿通させて、ファスナ3に締結固定される。更に、レールブラケット2におけるガイドレール1と対向する面には、所定の間隔を開けて一対の挿通孔8が設けられている(図4参照)。
次に、図1〜図4を参照して本例のガイドレール取付治具10について説明する。
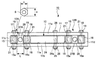
図2は、本例のガイドレール取付治具を示す正面図である。そして、図1及び図2に示すように、ガイドレール取付治具10は、略長方形をなす平板状に形成されている。このガイドレール取付治具10は、枠体11と、枠体11に設けられた2つのナット保持部12A,12Bと、離反機構13とから構成されている。
図2は、本例のガイドレール取付治具を示す正面図である。そして、図1及び図2に示すように、ガイドレール取付治具10は、略長方形をなす平板状に形成されている。このガイドレール取付治具10は、枠体11と、枠体11に設けられた2つのナット保持部12A,12Bと、離反機構13とから構成されている。
図2に示すように、枠体11は、略長方形をなす枠状に形成されている。この枠体11は、2つの長辺部11a,11bと、2つの短辺部11c,11dとを有している。2つの長辺部11a,11bは、所定の間隔を開けて対向し、且つ略平行に配置されている。
第1の短辺部11cは、2つの長辺部11a,11bの長手方向の一端を連結し、第2の短辺部11dは、2つの長辺部11a,11bの長手方向の他端を連結している。そして、2つの短辺部11c,11dは、略平行に配置されている。また、2つの長辺部11a,11bと2つの短辺部11c,11dが略長方形状の開口部11eを形成している。
枠体11の材質としては、例えば、ステンレス鋼等の金属が好適であるが、その他の金属を用いることができることは勿論のこと、金属以外にもエンジニアリングプラスチック等を用いることもできる。
枠体11の長手方向の一側には、第1のナット保持部12Aが配置されており、枠体11の長手方向の他側には、第2のナット保持部12Bが配置されている。なお、第1のナット保持部12Aと第2のナット保持部12Bは、それぞれ同一の構成を有しているため、ここでは、第1のナット保持部12Aについて説明する。
第1のナット保持部12Aは、第1のローラ15と、第2のローラ16と、第1の回転軸17と第2の回転軸18と、2つの回転軸17,18を枠体に固定する固定部19とを備えている。
第1の回転軸17と第2の回転軸18は、棒状に形成されている。この第1の回転軸17と第2の回転軸18は、2つの短辺部11c,11dと略平行に配置され、軸方向の両端が固定部19によって枠体11の2つの長辺部11a,11bに固定されている。第1の回転軸17には、第1のローラ15が回転可能に取り付けられている。また、第2の回転軸18には、第2のローラ16が回転可能に取り付けられる。
第1のローラ15及び第2のローラ16は、それぞれ円筒形状に形成されている。第1のローラ15の筒孔15aには、第1の回転軸17が挿通する。そして、第1のローラ15は、第1の回転軸17に回転可能に支持されている。そのため、第1のローラ15は、枠体11における2つの長辺部11a,11bの間に、2つの短辺部11c,11dと略平行に配置されている。
第2のローラ16の筒孔16aには、第2の回転軸18が挿通する。そして、第2のローラ16は、第2の回転軸18によって回転可能に支持される。そのため、第2のローラ16は、第1のローラ15と同様に、枠体11における2つの長辺部11a,11bの間に、2つの短辺部11c,11dと略平行に配置されている。また、第1のローラ15及び第2のローラ16の軸方向の両端、すなわち2つの長辺部11a,11bとの間には、ワッシャ21が介在されている。
また、第1のローラ15と第2のローラ16は、枠体11の長手方向に所定の間隔Lを開けて配置されている。この第1のローラ15と第2のローラ16との間隔Lは、ナット6における対向する2辺の間隔sと等しいか、或いはボルト5を締めたときにナット6が回転しないように保持することが可能な範囲で若干大きく設定されている。そして、第1のローラ15と第2のローラ16の間には、ナット6が着脱可能に装着される。このように、2つのローラ15,16でナット6を挟持しているため、ナット6とボルト5を締結固定時にナット6が回転することを防ぐことができる。
更に、ガイドレール1とレールブラケット2を締結固定した後にナット6を第1のナット保持部12A及び第2のナット保持部12Bから取り外す際には、ナット6を挟持している2つのローラ15,16が回転する。その結果、ナット6を容易に第1のナット保持部12A及び第2のナット保持部12Bから取り外すことができる。
図3は本例のガイドレール取付治具を示す断面側面図である。この図3に示すように、第1のローラ15の筒孔15aと第1の回転軸17、第2のローラ16の筒孔16aと第2の回転軸18との間には、それぞれ複数の球体22が介在されている。このように、球体22を設けることにより、ローラ15,16と球体22、球体22と回転軸17,18との接触面積が小さくなる。
そして、2つのローラ15,16の静止摩擦係数と、2つのローラ15,16が回転する際に生じる動摩擦係数が小さくなり、第1のローラ15及び第2のローラ16を容易に回転させることができる。その結果、第1のローラ15と第2のローラ16で挟持したナット6を極めて小さな力で取り外すことができ、作業効率の向上を図ることが可能となる。
ここで、第1のローラ15及び第2のローラ16がナット6よりも柔らかい材質で形成した場合、ナット6とボルト5を締結固定する際に、ナット6の角部が第1のローラ15及び第2のローラ16の側面に食い込む。その結果、第1のローラ15と第2のローラ16の間からナット6を取り外す際には、極めて大きな力が必要となる。よって、本例では、ナット6の角部が第1のローラ15や第2のローラ16に食い込むことを防止するために、第1のローラ15及び第2のローラ16をナット6よりも硬い材質で形成している。
また、ボルト5とナット6を締結固定する際、2つのローラ15,16や2つの回転軸17,18には、ナット6から大きな力が加わる。そして、ローラ15,16及び回転軸17,18の軸方向の長さを長く設定すると、曲げモーメントが大きくなり、ローラ15,16や回転軸17,18に大きな負荷が加わる。
そのため、枠体11の2つの長辺部11a,11bの間隔、すなわち回転軸17,18及びローラ15,16の軸方向の長さを、可能な限り短くすることが好ましい。具体的には、ナット6の対向する2つの頂点の間隔eに近づけることが好ましい。これにより、ローラ15,16や回転軸17,18に加わる負荷(モーメント)を小さくすることができ、耐久性の向上を図ることが可能となる。
また、枠体11における第1のナット保持部12Aと第2のナット保持部12Bの間には、離反機構13が設けられている。離反機構13は、押出板24と、押出板24を回転可能に支持する軸部25と、軸部25を枠体に固定する固定部26とを有している。離反機構13は、締結作業が完了した後に、枠体11をレールブラケット2から離反させると共にナット6をナット保持部12A,12Bから容易に取り外すためのものである。
押出板24は、正面から見た形状が長方形となる略平板状に形成されている。図3に示すように、押出板24の長手方向の一側は、その厚さが長手方向の一端に行くに従って薄くなっている。押出板24は、長手方向の中心よりも一側に寄った位置に、軸部25が挿通する軸孔24aを有している。
軸部25は、棒状に形成されており、2つの短辺部11c,11dと略平行に配置され、軸方向の両端が固定部26によって枠体11の2つの長辺部11a,11bに固定されている。この軸部25は、押出板24を回転可能に支持している。そして、作業者が押出板24を回転させると、てこの原理により押出板24でレールブラケット2を押圧することができる。
また、押出板24の回転中心は、押出板24の長手方向の中心からずらして設定されている。すなわち、作業者が押出板24に力を加える力点と回転中心である支点の距離を長くし、押出板24がレールブラケット2に力を加える作用点と支点の距離を短くしている。これにより、作業者が加える力を、レールブラケット2に対して大きくすることができる。
なお、押出板24の回転中心を押出板24の長手方向の中心に設けてもよい。
また、枠体11には、2つの脱落防止プレート27A,27Bが設けられている。2つの脱落防止プレート27A,27Bは、逃げ孔28を有する平板状の部材として形成されている。第1の脱落防止プレート27Aは、第1のナット保持部12Aにおける第1のローラ15と第2のローラ16の間で、ナット6の装着方向の反対側に配置されている。また、第2の脱落防止プレート27B、第2のナット保持部12Bにおける第1のローラ15と第2のローラ16の間で、ナット6の装着方向の反対側に配置されている。
第1の脱落防止プレート27A及び第2の脱落防止プレート27Bの逃げ孔28の直径は、ボルト5のネジ部5aの直径よりも大きく設定されている(図4参照)。更に、第1の脱落防止プレート27A及び第2の脱落防止プレート27Bの逃げ孔28の周囲には、磁石(不図示)が配置されている。この磁石は、第1のナット保持部12A及び第2のナット保持部12Bに装着したナット6を吸着する。
そして、この2つの脱落防止プレート27A,27Bを設けることで、第1のナット保持部12A及び第2のナット保持部12Bに装着したナット6が、装着方向と反対側から脱落することを防ぐことができる。
なお、本例では、2つの脱落防止プレートに磁石を設けた例を説明したが、これに限定されるものではなく、磁石を設けなくても本発明の目的を達成できるものである。
この2つの脱落防止プレート27A、27Bは、枠体11の2つの長辺部11a,11bに溶接等の固定方法で一体に固定してもよく、あるいは削りだし加工によって枠体11と一体に形成してもよい。
なお、枠体11に、ストラップを設けてもよい。これにより、ストラップによってガイドレール取付治具10を作業者の手首に保持させることができ、高所での作業中にガイドレール取付治具10が落下することを防止することができる。
更に、ストラップの代わりにネックストラップ(首に掛ける紐)を備えてもよい。ネックストラップを設ける場合には、その一部に過大な張力が作用した際に係合部が容易に外れる安全装置を備えることが好ましい。これにより、作業者の首がネックストラップによって絞まる事故を防ぐことができる。そして、安全装置を設置する箇所は、張力が加わった際に紐が直線状になる位置に配置する。すなわち、枠体と反対側の首回り部分を避けて配置することが好ましい。
<2.ガイドレールの固定方法>
次に、本例のガイドレール取付治具10を用いたガイドレール1の固定方法について説明する。
次に、本例のガイドレール取付治具10を用いたガイドレール1の固定方法について説明する。
まず、一対のバネクリップ4とレールブラケット2でガイドレール1の側部を挟持する。このとき、予めガイドレール取付治具10の第1のナット保持部12A及び第2のナット保持部12Bの2つのローラ15,16の間に、ナット6をそれぞれ挟持させて、ガイドレール取付治具10に仮固定する。
ここで、2つのローラ15,16は、回転軸17,18によって回転可能に支持されている。そのため、ナット6を2つのローラ15,16の間に容易に装着することができる。また、2つのローラ15,16におけるナット6の装着方向と反対側には、脱落防止プレート27A,27Bを設けているため、ナット6が2つのローラ15,16から脱落することを防ぐことが可能である。その結果、作業効率を向上させることができる。
図4は、本例のガイドレール取付治具を用いた状態を示す部分断面側面図である。次に、図4に示すように、レールブラケット2におけるガイドレール1と対向する面と反対側の面に、枠体11におけるナット6を装着した面を向けてガイドレール取付治具10を配置する。そして、2つのボルト5のネジ部5aを一対のバネクリップ4の貫通孔4a及びレールブラケット2の挿通孔8に挿通させて、ボルト5をナット6にねじ込んで締結固定する。
このとき、ナット6は、ナット保持部12A,12Bの2つのローラ15,16で挟持されている。すなわち、ナット6は、その回転が規制された状態でナット保持部12A,12Bに保持されている。これにより、作業者は、ガイドレール取付治具10を押さえるだけで、容易にボルト5とナット6との締結作業を行うことができる。なお、ボルト5の首部5bとバネクリップ4との間には、必要に応じて座金を挟んでもよい。
また、2つのローラ15,16の間に配置される脱落防止プレート27A,27Bには、ボルト5のネジ部5aの直径よりも大きな直径を有する逃げ孔28が設けられている。そのため、ボルト5のネジ部5aと脱落防止プレート27A,27Bが干渉することを防ぐことができる。
次に、2つのボルト5とナット6との締結固定が終了すると、離反機構13の押出板24を回転させる。押出板24が回転すると、その一面がレールブラケット2に当接し、押出板24がレールブラケット2を押圧する。これにより、てこの原理によって容易にガイドレール取付治具10をレールブラケット2から離反させることができる。
また、ナット保持部12A,12Bに仮固定されていたナット6は、ボルト5と締結しているため、ガイドレール取付治具10から取り外される。このとき、ナット6を挟持する2つのローラ15,16が回転することで、極めて小さな力でナット6をナット保持部12A,12Bから取り外すことができる。これにより、ガイドレール1の固定作業が完了する。
また、ガイドレール取付治具10は、ボルト5の締結作業によってレールブラケット2に固定されることがないため、何度も再利用することができる。これにより、コストの削減を図ることができる。また、多数の工具を昇降路内の高所に持参する必要がなくなるため、作業の効率を向上せることができると共に作業の安全性を高めることが可能である。
更に、ナット6をナット保持部12A,12Bの2つのローラ15,16の間に装着するだけで、ナット6をガイドレール取付治具10に仮固定することができる。そのため、従来のように、プレートにナット6を溶接する手間を省くことができる。その結果、固定作業を行うための前準備を簡略化することが可能である。
なお、一般的にエレベータの昇降路内には、メインガイドレールとつり合いおもりガイドレールの大小2対のガイドレールを固定させる必要があるため、一対のナットのサイズ及び設置間隔を2通り設定する必要がある。そのため、メインガイドレール用のガイドレール取付治具と、つり合いおもり用のガイドレール取付治具との2つのガイドレール取付治具を用意することが好ましい。
なお、本発明は上述しかつ図面に示した実施の形態に限定されるものではなく、特許請求の範囲に記載した発明の要旨を逸脱しない範囲内で種々の変形実施が可能である。例えば、上述した実施の形態例では、レールブラケットとガイドレールの固定に六角ナット及び六角ボルトを用いた例を説明したが、四角ナット及び四角ボルトを用いてもよい。
1…ガイドレール、 2…レールブラケット、 3…ファスナ、 4…バネクリップ、 4a…貫通孔、 5…ボルト、 5a…ネジ部、 5b…首部、 6…ナット、 8…挿通孔、 10…ガイドレール取付治具、 11…枠体、 11a,11b…長辺部、 11c…第1の短辺部、 11d…第2の短辺部、 12A…第1のナット保持部、 12B…第2のナット保持部、 13…離反機構、 15…第1のローラ、 15a…筒孔、 16…第2のローラ、 16a…筒孔、 17…第1の回転軸、 18…第2の回転軸、 22…球体, 24…押出板、 25…軸部、 27A…第1の脱落防止プレート、 27B…第2の脱落防止プレート、 28…逃げ孔
Claims (8)
- エレベータのガイドレールをバネクリップによって挟持し、且つナット及びボルトをレールブラケットに固定する際に用いられるガイドレール取付治具であって、
枠体と、
前記枠体に設けられ、前記ナットを着脱可能に保持するナット保持部と、を備え、
前記ナット保持部は、前記枠体に回転可能に支持されると共に前記ナットを着脱可能に挟持して仮固定する一対のローラと、を有する
ことを特徴とするガイドレール取付治具。 - 前記一対のローラは、前記枠体に回転軸を介して回転可能に支持されており、
前記一対のローラと前記回転軸との間には、複数の球体が介在されている
ことを特徴とする請求項1に記載のガイドレール取付治具。 - 前記一対のローラの間で、且つ前記枠体における前記ナット保持部の前記ナットの装着方向と反対側で、且つ前記一対のローラの間には、前記ボルトが貫通される逃げ孔を有する脱落防止プレートが設けられている
ことを特徴とする請求項1又は2に記載のガイドレール取付治具。 - 前記脱落防止プレートには、前記ナットを吸着する磁石が設けられている
ことを特徴とする請求項3に記載のガイドレール取付治具。 - 前記枠体には、前記ナットと前記ボルトとを締結固定した後に、前記枠体を前記レールブラケットから離反させて前記ナットを前記ナット保持部から外す離反機構が設けられている
ことを特徴とする請求項1〜4のいずれかに記載のガイドレール取付治具。 - 前記離反機構は、前記レールブラケットを押圧する押出板と、
前記押出板を回転可能に支持する軸部と、からなる
ことを特徴とする請求項5に記載のガイドレール取付治具。 - 前記一対のローラは、前記ナットよりも硬い材質で形成されている
ことを特徴とする請求項1〜6のいずれかに記載のガイドレール取付治具。 - エレベータのガイドレールをレールブラケットに固定するガイドレール固定方法において、
ナットをガイドレール取付治具の枠体に設けたナット保持部の一対のローラの間に装着して、仮固定する工程と、
前記レールブラケットにおける前記ガイドレールと対向する面の反対側の面に、前記ナットを仮固定した前記ガイドレール取付治具を配置する工程と、
バネクリップと前記レールブラケットとで前記ガイドレールを挟持し、ボルトを前記バネクリップに設けた貫通孔及び前記レールブラケットに設けた挿通孔に挿通させて、前記ガイドレール取付治具の前記ナット保持部に仮固定させた前記ナットと締結固定する工程と、
前記ガイドレール取付治具を前記レールブラケットから離し、前記ナットを前記ガイドレール取付治具から外す工程と、
を備えたことを特徴とするガイドレール固定方法。
Priority Applications (1)
| Application Number | Priority Date | Filing Date | Title |
|---|---|---|---|
| JP2009298644A JP2011136817A (ja) | 2009-12-28 | 2009-12-28 | ガイドレール取付治具及びガイドレール固定方法 |
Applications Claiming Priority (1)
| Application Number | Priority Date | Filing Date | Title |
|---|---|---|---|
| JP2009298644A JP2011136817A (ja) | 2009-12-28 | 2009-12-28 | ガイドレール取付治具及びガイドレール固定方法 |
Publications (1)
| Publication Number | Publication Date |
|---|---|
| JP2011136817A true JP2011136817A (ja) | 2011-07-14 |
Family
ID=44348655
Family Applications (1)
| Application Number | Title | Priority Date | Filing Date |
|---|---|---|---|
| JP2009298644A Pending JP2011136817A (ja) | 2009-12-28 | 2009-12-28 | ガイドレール取付治具及びガイドレール固定方法 |
Country Status (1)
| Country | Link |
|---|---|
| JP (1) | JP2011136817A (ja) |
Cited By (8)
| Publication number | Priority date | Publication date | Assignee | Title |
|---|---|---|---|---|
| CN105035910A (zh) * | 2015-09-02 | 2015-11-11 | 苏州中远电梯有限公司 | 一种轮槽易换式电梯导轨 |
| JP2017043437A (ja) * | 2015-08-25 | 2017-03-02 | 株式会社日立ビルシステム | エレベーター用ガイドレールの吊り雇 |
| JP2020037840A (ja) * | 2018-09-05 | 2020-03-12 | 株式会社アトリエ・K | 石張り外断熱工法及び石張り外断熱工法の構造と取付け金物 |
| CN111819144A (zh) * | 2018-03-02 | 2020-10-23 | 赛菲斯特弗雷结构技术股份公司 | 升降机设备、用于所述升降机的导轨、用于监测所述设备的套件以及用于监测的方法及其用途 |
| CN112408150A (zh) * | 2019-08-23 | 2021-02-26 | 奥的斯电梯公司 | 导轨支架组件 |
| CN113291950A (zh) * | 2021-05-26 | 2021-08-24 | 浙江西豪电梯成套设备制造有限公司 | 一种适应性导轨压板及电梯导轨组件 |
| CN114346664A (zh) * | 2021-12-30 | 2022-04-15 | 河源金三维智造有限公司 | 一种基于塑胶产品加工用的螺母自动安装设备 |
| JP2023519419A (ja) * | 2020-03-30 | 2023-05-10 | インベンテイオ・アクテイエンゲゼルシヤフト | リフトシステムのガイドレール上にナットを位置決めするための位置決め補助具 |
-
2009
- 2009-12-28 JP JP2009298644A patent/JP2011136817A/ja active Pending
Cited By (10)
| Publication number | Priority date | Publication date | Assignee | Title |
|---|---|---|---|---|
| JP2017043437A (ja) * | 2015-08-25 | 2017-03-02 | 株式会社日立ビルシステム | エレベーター用ガイドレールの吊り雇 |
| CN105035910A (zh) * | 2015-09-02 | 2015-11-11 | 苏州中远电梯有限公司 | 一种轮槽易换式电梯导轨 |
| CN111819144A (zh) * | 2018-03-02 | 2020-10-23 | 赛菲斯特弗雷结构技术股份公司 | 升降机设备、用于所述升降机的导轨、用于监测所述设备的套件以及用于监测的方法及其用途 |
| JP2020037840A (ja) * | 2018-09-05 | 2020-03-12 | 株式会社アトリエ・K | 石張り外断熱工法及び石張り外断熱工法の構造と取付け金物 |
| CN112408150A (zh) * | 2019-08-23 | 2021-02-26 | 奥的斯电梯公司 | 导轨支架组件 |
| CN112408150B (zh) * | 2019-08-23 | 2023-10-27 | 奥的斯电梯公司 | 导轨支架组件 |
| JP2023519419A (ja) * | 2020-03-30 | 2023-05-10 | インベンテイオ・アクテイエンゲゼルシヤフト | リフトシステムのガイドレール上にナットを位置決めするための位置決め補助具 |
| JP7707190B2 (ja) | 2020-03-30 | 2025-07-14 | インベンテイオ・アクテイエンゲゼルシヤフト | リフトシステムのガイドレール上にナットを位置決めするための位置決め補助具 |
| CN113291950A (zh) * | 2021-05-26 | 2021-08-24 | 浙江西豪电梯成套设备制造有限公司 | 一种适应性导轨压板及电梯导轨组件 |
| CN114346664A (zh) * | 2021-12-30 | 2022-04-15 | 河源金三维智造有限公司 | 一种基于塑胶产品加工用的螺母自动安装设备 |
Similar Documents
| Publication | Publication Date | Title |
|---|---|---|
| JP2011136817A (ja) | ガイドレール取付治具及びガイドレール固定方法 | |
| JP4964278B2 (ja) | ガイドレール取付治具 | |
| JP2012086960A (ja) | エレベーター用ガイドレールクリップの締付治具 | |
| JP2012001348A (ja) | ガイドレール取付治具及びガイドレール固定方法 | |
| JP5184327B2 (ja) | サイドメンバのナット保持構造 | |
| JP2014190539A (ja) | 長尺材固定金具 | |
| JP5821044B2 (ja) | 長尺材固定金具 | |
| US20180141194A1 (en) | Tool kit for vehicles | |
| WO2008059694A1 (fr) | Dispositif de montage de ceinture de sécurité | |
| WO2010106641A1 (ja) | エレベーターのクリップ装置及びエレベーターの支持装置 | |
| JP2012012190A (ja) | エレベーター用ガイドレールクリップの締付治具 | |
| JP2009107741A (ja) | エレベータかご室及びナットねじ込み工具 | |
| CN213736585U (zh) | 一种柱形井下仪器的运输固定系统及运输固定支座 | |
| JP2010018378A (ja) | エレベータのロープ仮止め用締結装置 | |
| JP4671722B2 (ja) | 碍子取付プレートと碍子取付方法 | |
| JP5635947B2 (ja) | 制振装置 | |
| JP5477205B2 (ja) | エレベーター用ガイドレールクリップの締付治具 | |
| CN101774411B (zh) | 用于装配侧窗玻璃的装置 | |
| CN201597662U (zh) | 客车侧窗玻璃装配工装 | |
| CN223073026U (zh) | 一种钢筋笼运输防变形装置 | |
| CN215364719U (zh) | 一种通风管吊装结构 | |
| JP6408252B2 (ja) | 潜り込み防止装置及びその設置方法 | |
| JP7173263B1 (ja) | ナットの取り外し方法及びナットの取り付け方法 | |
| CN217070630U (zh) | 一种托板自锁螺母安装时快速固定工装 | |
| CN215745948U (zh) | 一种刹车片报警件铆接保护工装 |