JP2011061997A - 電線共同溝用トラフ - Google Patents

電線共同溝用トラフ Download PDF

Info

Publication number
JP2011061997A
JP2011061997A JP2009209890A JP2009209890A JP2011061997A JP 2011061997 A JP2011061997 A JP 2011061997A JP 2009209890 A JP2009209890 A JP 2009209890A JP 2009209890 A JP2009209890 A JP 2009209890A JP 2011061997 A JP2011061997 A JP 2011061997A
Authority
JP
Japan
Prior art keywords
trough
female
groove
trough body
fitting portion
Prior art date
Legal status (The legal status is an assumption and is not a legal conclusion. Google has not performed a legal analysis and makes no representation as to the accuracy of the status listed.)
Granted
Application number
JP2009209890A
Other languages
English (en)
Other versions
JP5491804B2 (ja
Inventor
Katsuji Kitagawa
勝治 北川
Tomoaki Tateda
知明 舘田
Noboru Shudai
昇 首代
Current Assignee (The listed assignees may be inaccurate. Google has not performed a legal analysis and makes no representation or warranty as to the accuracy of the list.)
Doi Seisakusho Co Ltd
Original Assignee
Doi Seisakusho Co Ltd
Priority date (The priority date is an assumption and is not a legal conclusion. Google has not performed a legal analysis and makes no representation as to the accuracy of the date listed.)
Filing date
Publication date
Application filed by Doi Seisakusho Co Ltd filed Critical Doi Seisakusho Co Ltd
Priority to JP2009209890A priority Critical patent/JP5491804B2/ja
Publication of JP2011061997A publication Critical patent/JP2011061997A/ja
Application granted granted Critical
Publication of JP5491804B2 publication Critical patent/JP5491804B2/ja
Expired - Fee Related legal-status Critical Current
Anticipated expiration legal-status Critical

Links

Images

Classifications

    • YGENERAL TAGGING OF NEW TECHNOLOGICAL DEVELOPMENTS; GENERAL TAGGING OF CROSS-SECTIONAL TECHNOLOGIES SPANNING OVER SEVERAL SECTIONS OF THE IPC; TECHNICAL SUBJECTS COVERED BY FORMER USPC CROSS-REFERENCE ART COLLECTIONS [XRACs] AND DIGESTS
    • Y02TECHNOLOGIES OR APPLICATIONS FOR MITIGATION OR ADAPTATION AGAINST CLIMATE CHANGE
    • Y02EREDUCTION OF GREENHOUSE GAS [GHG] EMISSIONS, RELATED TO ENERGY GENERATION, TRANSMISSION OR DISTRIBUTION
    • Y02E10/00Energy generation through renewable energy sources
    • Y02E10/20Hydro energy

Landscapes

  • Underground Structures, Protecting, Testing And Restoring Foundations (AREA)
  • Laying Of Electric Cables Or Lines Outside (AREA)

Abstract

【課題】電力ケーブル・通信ケーブルを例えば狭隘な歩道や道路区間に埋設施工するに際し、両ケーブルを一管の電線共同溝内に収容できるようにする。
【解決手段】隔壁11を介して内部を電力ケーブル収容部S1、通信ケーブル収容部S2に仕切って成るトラフ本体1と、該トラフ本体1に被着する蓋体2とを備える。トラフ本体1・蓋体2は、廃プラスチックとフライアッシュとを配合したリサイクル樹脂製素材で形成する。トラフ本体1は、平面から見て直線状あるいは湾曲状に形成し、一方の端部に形成の雄形嵌合部6と、隣接配置する他のトラフ本体1における他方の端部に形成の雌型嵌合部5とを雌雄の直接嵌合によって連結する第1連結手段3、一方の端部に形成の雌型嵌合部5と、隣接配置する他のトラフ本体1における他方の端部に形成の雌型嵌合部5とをジョイント部材を使って連結する第2連結手段の少なくともいずれかを備えている。
【選択図】図1

Description

本発明は、歩道および道路直下の地中の例えば浅層部等に埋設されることで、電力ケーブル、通信ケーブルを纏めて分別収容し、その埋設作業も容易迅速に行えるようにした電線共同溝を構成する技術である浅層埋設式の電線共同溝用トラフに関する。
従来、電力ケーブルや通信ケーブルは電柱間に架設延線された架空配電線から各需要家内に分岐配線されることが基本となっている。ただ、平成初期からは国土交通省によって景観や防災を目的とした無電柱化が図られ、電線類を歩道下に埋設する地中化方式が推進されている。地中化の当初は歩道幅員が広い道路を中心に、歩道等に埋設した電線共同溝による整備が進められてきたが、近年は狭い歩道や歩車道の区別がない狭隘な道路にも無電柱化が進められている。ところが、これらの場所では埋設範囲が狭いために各種ケーブルを埋設するための各種の埋設施設は大型に形成された、大がかりのものとすることはできないのが現状である。
また、従来における電線共同溝は多条の電力ケーブルと通信ケーブルとを1条1管方式で個別に収容する多条配管方式が採用されている。この方式では埋設場所の需要密度により多条構成となる配管数が変わるので、需要によって変動する配管数に対応するように、その都度、配管設計と加工に時間を費やすことになる。このように工事の都度に繰り返される設計と加工とでは無駄が多いために、一定の収容積を備えていることで、その都度の設計が必要ないトラフ方式によることが提案され、その標準化が求められていた。
ただ、このような1条1管の多条配管方式は埋設深さが60cmから120cmの歩道下の中層部に位置するため、そこには既設のガス管や上下水道管等の埋設物が存在し、配管敷設のためにこれらのガス管、上下水道管等を移設するとなると、その移設工事費用その他が嵩むことになる。また、埋設深さが60cm以下の浅層部では、移設を必要とする既設埋設物が比較的に少ないこと、埋設工事費が安いことなどから、浅層埋設方式が注目されている。例えば特許文献1に開示されているように、歩道直下の地中に比較的浅く埋設されて、電線共同溝を構成する蓋付きコンクリート製トラフを備えた電線共同溝用埋設物なるものが存在する。
さらに、特許文献2の電線共同溝用トラフとして開示されているように、トラフ本体に、電力ケーブルを収容するように電磁波遮蔽板で覆われた凹部である電力ケーブル収容部と、ケーブル挿通孔を形成した複数枚のケーブル支持板を一定間隔をあけて立設して通信ケーブルを収容する通信ケーブル収容部とを仕切り壁によって区画して形成し、蓋体を被着して成るものである。
特開2005−304198号公報 特開2004−120956号公報
しかしながら、上述した従来における特許文献1に開示されている電線共同溝用浅層埋設物の場合では、重量性のあるコンクリート製トラフを施工現場に運搬し埋設するには大がかりな重機等が必要であり、狭隘な道路での埋設施工が非常に困難となるのであった。しかも、このような電線共同溝用浅層埋設物であっては、各種の通信ケーブル、電力ケーブルを一緒に収容した場合、電力ケーブルから発生する電磁波の影響を受けやすいために、内部スペースの中間部に隔壁を設ける等の通信ケーブルの分離処理が求められた。
また、特許文献2に開示されている電線共同溝用トラフの場合では、トラフ本体、蓋体のいずれでもコンクリートで成型されると、特許文献1と同様に施工現場への運搬、埋設作業は面倒であり、狭隘な道路での施工は同様に困難である。そればかりでなく、通信ケーブル挿通用のケーブル挿通孔は、これの支持が確実となっても複数枚のケーブル支持板それぞれへの挿通作業は非常に面倒でもある。
そこで、本発明は叙上のような従来存した諸事情に鑑み創出されたもので、電力ケーブル・通信ケーブルを狭隘な歩道や道路区間に埋設施工するに際し、電力ケーブルと共に各種の通信ケーブルも電磁波障害を生じることなく一管の電線共同溝内に容易に収容できるものとし、また電線共同溝自体を軽量化・コンパクト化することで搬入、組立が一人の作業員でも可能であるようにし、当該施工を大がかりな重機等を要することなく容易且つ迅速に行うことができ、さらに施工現場にてケーブル終端部分の長さ調整に対応して電線共同溝自体を容易に切断加工することができる電線共同溝用トラフを提供することを目的とする。
上述した課題を解決するために、本発明にあっては、歩道および道路直下の地中に埋設されて電線の共同溝を構成する電線共同溝用トラフPであって、隔壁11,16を介して内部を電力ケーブル収容部S1、通信ケーブル収容部S2それぞれに仕切られて成るトラフ本体1(1a,1b)と、該トラフ本体1に被着される蓋体2,12とを備え、トラフ本体1および蓋体2,12は、廃プラスチックとフライアッシュとを配合して成る切断可能なリサイクル樹脂製素材によって形成することを特徴とする。
トラフ本体1は、平面から見て直線状を呈する直線用トラフ1aとして、あるいは同じく平面から見て湾曲状を呈する湾曲用トラフ1bとして形成され、一方の端部に形成の雄形嵌合部6と、隣接配置される他のトラフ本体1における他方の端部に形成の雌型嵌合部5とを雌雄の直接嵌合によって連結する第1連結手段3、一方の端部に形成の雌型嵌合部5,13と、隣接配置する他のトラフ本体1における他方の端部に形成の雌型嵌合部5,13とをジョイント部材14を使って連結する第2連結手段4の少なくともいずれかを備えているものとできる。
第1連結手段3は、左右側面にボルト挿入孔7を有し、内底面に連結方向に対して横向凹条となったスライド溝部9をする雌型嵌合部5と、該雌型嵌合部5に嵌合されるよう、ボルト挿入孔7に対応した横長のスライド孔8を左右側面に有し、下面に連結方向に対して横向凸条となった係止突起10を有する雄型嵌合部6とによって構成され、雌型嵌合部5のスライド溝部9に雄型嵌合部6下面の係止突起10が所定の伸縮自由度を持たせて係合されるものとできる。
第2連結手段4は、左右側面にボルト挿入孔7を有し、内底面に連結方向に対して横向凹条となったスライド溝部9を有する雌型嵌合部13と、隣接した両雌型嵌合部13に跨って装着され、ボルト挿入孔7に対応した横長のスライド孔8を左右側面に有し、下面に連結方向に対して横向凸条となった係止突起10を有するするジョイント部材14とによって構成され、雌型嵌合部13のスライド溝部9にジョイント部材14下面の係止突起10が所定の伸縮自由度を持たせて係合されるものとできる。
トラフ本体1および蓋体2,12は、その裏面もしくは表面に補強リブ22,23が形成されているものとできる。
以上のように構成された本発明に係る電線共同溝用トラフにあって、トラフ本体1(1a,1b)は、隔壁11,16を介して形成された一方の電力ケーブル収容部S1に電力ケーブルK1を収容させ、他方の通信ケーブル収容部S2に通信ケーブルK2を収容させる。
廃プラスチックとフライアッシュとを配合して成るリサイクル樹脂製素材によって形成されているトラフ本体1および蓋体2,12は、従来のコンクリート材製のものに比し軽量であり、大がかりな重機等を要することなく、狭隘な歩道や道路区間における埋設施工を容易且つ迅速に行わせる。
直線用トラフ1a、湾曲用トラフ1bそれぞれ、あるいはこれらを適宜組み合わせて成るトラフ本体1は、地中での他の配管等の障害物を避けるようにした電力ケーブルK1・通信ケーブルK2相互の引き込み作業を可能にさせる。
第1連結手段3は、雌型嵌合部5に雄型嵌合部6を嵌合させた際に、雄型嵌合部6下面の係止突起10が雌型嵌合部5のスライド溝部9内に所定の伸縮自由度を持たせて係合させる。
第2連結手段4は、隣接した雌型嵌合部13に跨ってジョイント部材14が装着された際に、雌型嵌合部13のスライド溝部9にジョイント部材14下面の係止突起10を所定の伸縮自由度を持たせて係合させる。
トラフ本体1および蓋体2,12の裏面もしくは表面に形成された補強リブ22,23は、耐荷重性に優れ、容易には破断されない頑丈で且つ軽いトラフ本体1および蓋体2,12を形成させる。
本発明によれば、電力ケーブルK1・通信ケーブルK2を例えば狭隘な歩道や道路区間に埋設施工するに際し、電力ケーブルK1と共に各種の通信ケーブルK2も電磁波障害を生じることなく一管の電線共同溝内に容易に収容できる。また電線共同溝自体が軽量化・コンパクト化されることで現場への搬入、現場での埋設作業等を一人の作業員でも極めて容易に行うことができる。しかも、このように、トラフ自体の埋設その他の施工を大がかりな重機等を要することなく容易に行うことができることで作業を迅速に遂行でき、さらに施工現場にてケーブル終端部分の長さ調整等に対応して電線共同溝自体を容易に切断加工することができる。
すなわち、これは本発明が、隔壁11,16を介して内部を電力ケーブル収容部S1、通信ケーブル収容部S2それぞれに仕切られて成るトラフ本体1と、該トラフ本体1に被着される蓋体2,12とを備え、トラフ本体1および蓋体2,12は、廃プラスチックとフライアッシュとを配合して成る切断可能なリサイクル樹脂製素材によって形成したからであり、これにより、電力ケーブルK1と共に各種の通信ケーブルK2も電磁波障害を生じることなく一管の電線共同溝内に容易に収容することができ、従来のように電力ケーブルK1を収容するトラフの埋設作業と通信ケーブルK2を収容するトラフの埋設作業を個別に行うという面倒な施工を回避することができる。そればかりでなく、軽量化、コンパクト化でき、電力ケーブルK1・通信ケーブルK2を狭隘な歩道や道路区間に埋設施工するに際し、当該施工を大がかりな重機等を要することなく人力による作業でも容易且つ迅速に行うことができ、さらに施工現場にてケーブル終端部分の長さに対応して電線共同溝自体を容易に且つ低騒音で切断加工することができ、施工作業をスムーズに行える。
また、従来のような重量性の鉄筋コンクリート材製のトラフに比し、本発明によるトラフ本体1および蓋体2,12は軽量で且つリサイクル可能であると同時に電線共同溝接続部のユニット化が可能であるから、工期の短縮化・コストの低減化に加えて、環境への貢献も期待できる。しかも、マイナス40℃〜+50℃までの温度範囲での適用が可能で、例えば紫外線による劣化等に対しての耐候性にも優れている。さらに、ガラス繊維の混入等による補強手段を付加することにより、鉄筋コンクリートと同等の強度を有しながらもコンクリート素材よりも軽量な電線共同溝用トラフを提供することができる。
トラフ本体1は、平面から見て直線状あるいは湾曲状に形成され、一方の端部に形成の雄形嵌合部6と、隣接配置される他のトラフ本体1における他方の端部に形成の雌型嵌合部5とを雌雄の直接嵌合によって連結する第1連結手段3、一方の端部に形成の雌型嵌合部5,13と、隣接配置する他のトラフ本体1における他方の端部に形成の雌型嵌合部5,13とをジョイント部材14を使って連結する第2連結手段4の少なくともいずれかを備えているので、狭隘な歩道や道路区間に対して、その歩道、道路等に則して直線状、湾曲状にして、第1連結手段3、第2連結手段4を介した種々な連結形態によって連続させたトラフ本体1の埋設施工を容易且つ迅速に行うことができる。
第1連結手段3は、左右側面にボルト挿入孔7を有し、内底面に連結方向に対して横向凹条となったスライド溝部9をする雌型嵌合部5と、該雌型嵌合部5に嵌合されるよう、ボルト挿入孔7に対応した横長のスライド孔8を左右側面に有し、下面に連結方向に対して横向凸条となった係止突起10を有する雄型嵌合部6とによって構成され、雌型嵌合部5のスライド溝部9に雄型嵌合部6下面の係止突起10が所定の伸縮自由度を持たせて係合連結されるので、例えば直線用トラフ1a同士、あるいは直線用トラフ1aと湾曲用トラフ1bとを、さらには湾曲用トラフ1b同士等をこれらの部材同士で直接に所定の自由度を持たせて連結固定させることができる。特に、トラフ本体1の端部において、一方が雌型嵌合部5、他方が雄型嵌合部6となっている場合に、これを直接に嵌め合わせて連結固定でき、しかもその連結固定は強固であり、振動その他の外力によっても簡単に脱離することがない。
第2連結手段4は、左右側面にボルト挿入孔7を有し、内底面に連結方向に対して横向凹条となったスライド溝部9を有する雌型嵌合部13と、隣接した両雌型嵌合部13に跨って装着され、ボルト挿入孔7に対応した横長のスライド孔8を左右側面に有し、下面に連結方向に対して横向凸条となった係止突起10を有するするジョイント部材14とによって構成され、雌型嵌合部13のスライド溝部9にジョイント部材14下面の係止突起10が所定の伸縮自由度を持たせて係合連結されるので、例えば湾曲用トラフ1b同士、あるいは湾曲用トラフ1bと直線用トラフ1aとをさらには直線用トラフ1a同士等をこれらの部材同士をジョイント部材14によって所定の自由度を持たせて連結固定させることができる。特に、トラフ本体1の端部それぞれが雌型嵌合部13となっている場合に、ジョイント部材14を隣接する雌型嵌合部13相互を跨ぐように嵌め合わせることで連結でき、長さが短いトラフ本体1例えば湾曲用トラフ1bであっても確実、強固に連結固定できる。
トラフ本体1および蓋体2,12は、その裏面もしくは表面に補強リブ22,23が形成されているので、肉厚の薄いトラフ本体1および蓋体2,12であっても頑丈であり、また補強リブ22,23が形成されずに、補強のために厚みを単に増やしたものに比べて容易に軽くすることができる。しかも、歩道その他で埋設される場合に、その路面上の往来走行による荷重に十分に耐え得ることができるばかりでなく、補強リブ22,23相互間が狭いため、切断加工もスムーズに行える。
尚、上記の課題を解決するための手段、発明の効果の項それぞれにおいて付記した符号は、図面中に記載した構成各部を示す部分との参照を容易にするために付したもので、図面中の符号によって示された構造・形状に本発明が限定されるものではない。
本発明を実施するための一形態における直線用トラフ同士を連結する状態の分解斜視図である。 直線用トラフ同士を第1連結手段によって連結する接続例を示し、(a)は接続前の状態の断面図、(b)は接続後の状態の断面図である。 同じく直線用トラフの蓋体の裏面図である。 同じく直線用トラフを示し、その(a)は平面図、(b)は区画した収容部それぞれを表す断面図である。 同じく他の実施の形態における湾曲用トラフ同士を連結する状態の分解斜視図である。 湾曲用トラフ同士を第2連結手段によって連結する接続例を示し、(a)は接続前の状態の断面図、(b)は接続後の状態の断面図である。 同じく湾曲用トラフの蓋体の裏面図である。 同じく湾曲用トラフの平面図である。 同じくトラフ本体と蓋体との固定例を示し、(a)は固定前の状態の斜視図、(b)は固定後の状態の斜視図である。 直線用トラフおよび湾曲用トラフを使って電線共同溝として構築する場合の配置パターンの一例を示す説明図である。
以下、図面を参照して本発明の実施の一形態を詳細に説明すると、図において示される符号1は、電力ケーブルK1・通信ケーブルK2を例えば狭隘な歩道や道路区間に埋設するために使用する本発明に係る電線共同溝用トラフを構成するトラフ本体である。該トラフ本体1は、図1乃至図6に示すように、長手方向に沿って内底部上に立設した後述する電磁波ノイズ発生防止用の隔壁11,16を介して内部を電力ケーブル収容部S1、通信ケーブル収容部S2それぞれに仕切られて成り、該トラフ本体1の開口部には蓋体2,12が被着固定されることで、収容空間が形成されるようになっている。
トラフ本体1および蓋体2,12は、柔軟性・靱性に富む廃プラスチックと、高硬度の石炭灰であるフライアッシュとを所定の配合比で配合して成型されることで、切断加工が容易に行えるリサイクル樹脂製素材によって形成されている。このようにリサイクル樹脂製素材によって形成されたトラフ本体1および蓋体2,12は、コンクリート素材よって形成されたトラフ本体1および蓋体2,12よりも約4分の1程度に、これの重量が軽減され、作業者は自身の手に持って容易に運搬できるものとなる。また、廃プラスチックおよびフライアッシュとの混合物に、さらに補強のためのガラス繊維を混入配合することで、コンクリートと同等の強度を付与するようにしても良い。
トラフ本体1は、図1、図4に示すように、例えば長さ約1m程度の断面略U字型となった直方枡によって平面から見て直線状に形成された直線用トラフ1aとして、あるいは図5、図8に示すように、例えば長さ約0.5m程度の断面略U字型となった湾曲枡によって平面から見て湾曲状に形成された湾曲用トラフ1bとして形成される。
そして、埋設される歩道その他における電力ケーブルK1・通信ケーブルK2の埋設状況、その埋設路構成等に対応して、直線用トラフ1a同士を後述する第1連結手段3によって多数で隣接配置させることで連結して使用したり、湾曲用トラフ1a同士を後述する第2連結手段4によって同様に多数で隣接配置させることで連結して使用したりする。さらにはこれら直線用トラフ1aと湾曲用トラフ1aとを第1連結手段3もしくは第2連結手段4によって連結することで、適宜組み合わせて使用したりするものである。こうして図10に示すように、トラフ本体1は、地中で直線状に配置したり、地中の障害物を避けるべく所定の形状に湾曲状に配置したり等して種々のトラフ経路が自由に形成できる電線共同溝用トラフPとして構成できるようになっている。また、直線状トラフ1a、湾曲状トラフ1bそれぞれに対応して、これらの上部開口を閉塞すべく、平面から見て直線状になっている直線用の蓋体2および同じく平面から見て湾曲状になっている湾曲用の蓋体12を備えている。
トラフ本体1を例えば切り下げ部や支道部等に設置する場合、あるいはケーブル終端部分の長さに対応させる場合には、トラフ本体1および蓋体2,12を、施工現場にて例えば不図示の電動鋸等で切断加工されるようになっている。
トラフ本体1に対する蓋体2,12の固定には、図9に示すように帯板状の両端がU字状に折り曲げられて成る例えばステンレス製の固定金具17が使用される。すなわち、トラフ本体1の上部開口側縁部には固定金具17の一端側折曲部を嵌合させる段差状の掛架部18が形成され、これに対応して蓋体2,12上面の左右両端縁には固定金具17の他端側折曲部を嵌合させる凹状の挿入部19が形成されている。
そして、図9(a)に示すように、ハンマーH等で固定金具17の平面部を叩いて、蓋体2,12の上面端縁に形成された凹状の挿入部19内側に向けて固定金具17の一端側折曲部を嵌合させると同時に、トラフ本体1の上部開口側縁部に形成されている段差状の掛架部18内側に向けて固定金具17の他端側折曲部を嵌合させ、図9(b)に示すように、ハンマーH等で固定金具17の側部を叩いて一端側折曲部を挿入部19から側方にずらし、蓋体2,12の上面端縁に乗り上げることによってトラフ本体1に蓋体2,12を固定し、トラフ本体1の開口部を開塞させるものとしてある。
(直線用トラフ1aの構成)
直線用トラフ1aは、図1及び図4に示すように、中央の隔壁11を介して左右に分割されており、その一方は電力ケーブル収容部S1として、他方は通信ケーブル収容部S2として区画形成されている。また、両収容部S1,S2の底部には、各ケーブルK1,K2を下側で支持するよう所定間隔毎に横向きにした所定高さの突条状の支持部20が形成されており、支持部20と隔壁11とで仕切られた各面の中央には、小孔状の水抜き部21が開穿されている。さらに、直線用トラフ1aの左右側壁外面には、所定間隔毎に縦長に配置の複数の突条状の補強リブ22が形成されている。
(第1連結手段3の構成)
このような直線用トラフ1a同士は、図2に示すように第1連結手段3によって接続されており、該第1連結手段3は、雌型嵌合部5と雄型嵌合部6とから成る。すなわち、直線用トラフ1aの一端部には底部および両側面の各内面が抉られて肉薄となった雌型嵌合部5が形成されており、該雌型嵌合部5は、具体的には、これの内底面には対向立設した前後の突起相互間に連結方向に対して横向凹条となったスライド溝部9を形成し、さらに該スライド溝部9に対応した左右側面には丸孔状のボルト挿入孔7を開穿して成る。また、このような雌型嵌合部5に対応すべく直線用トラフ1aの他端部には、底部および両側面の各外面が抉られて肉薄となった雄型嵌合部6が形成されており、該雄型嵌合部6は、具体的には、スライド溝部9に対応すべく雄型嵌合部6の下面端部には連結方向に対して横向凸条となった係止突起10を突設し、さらにボルト挿入孔7に対応して左右両側面には横長孔状のスライド孔8を開穿して成る。
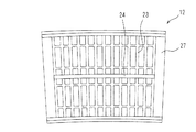
直線用トラフ1aの開口部を施蓋する直線用の蓋体2は、図3に示すように、内側で縦横方向に隣接配置させて成る補強リブ23を裏面に備え、中央には長手方向に沿って、直線用トラフ1a内側に形成されている隔壁11の上端に接合するための、隔壁作用を有する隔壁突条部24を中央に備えている。また、蓋体2の一端部は縦横が狭幅となった挿入突部25が形成され、該挿入突部25の左右両端側面には係止部26が突設されている。一方、蓋体2の他端部は、これの内側に挿入突部25が挿入される被挿入部27が形成され、該被挿入部27の左右両端内面には係止部26が係合される被係止部28が凹設されている。
次に、以上のように構成された直線用トラフ1a同士を隣接配置して連結するときの第1連結手段3による連結例について説明すると、先ず、図1および図2(a)に示すように、一方の直線用トラフ1aの雌型嵌合部5に、隣接する相手方の直線用トラフ1aの雄型嵌合部6が嵌挿される。嵌挿に際し、蓋体2が予め被着嵌合されている場合は一方の直線用トラフ1aの蓋体2を若干持ち上げて他方の直線用トラフ1aが導入される。このとき、スライド溝部9に係止突起10が係合されると同時にボルト挿入孔7にスライド孔8が合致され、直線用トラフ1a内側からボルト挿入孔7、スライド孔8を貫通するようにボルトが挿入され、外側からナットで締結固定される。
そして、図2(b)に示すように、係止突起10がスライド溝部9内で前後の連結方向に若干スライドでき、ボルトが挿入されているボルト挿入孔7もスライド孔8に沿って前後方向に若干スライドできるから、両嵌合部5,6は、所定の伸縮自由度を持たせて固定できるものとなる。
次いで、各直線用トラフ1aに蓋体2を被せ、場合によっては蓋体2を連続させた状態で直線トラフ1a上で滑らせて所定位置に位置決めする。固定するに際し、図9(a)に示すように、ハンマーH等で固定金具17の平面部を叩くことで、蓋体2の上面端縁の凹状の挿入部19内側に向けて固定金具17の一端側折曲部を嵌合させると同時に、直線用トラフ1aの上部開口側縁部の段差状の掛架部18内側に向けて固定金具17の他端側折曲部を嵌合させる。そして、図9(b)に示すように、ハンマーH等で固定金具17の側部を叩いて一端側折曲部を挿入部19から側方にずらし、蓋体2の上面端縁に乗り上げることによって直線用トラフ1aに蓋体2が固定される。
(湾曲用トラフ1bの構成)
湾曲用トラフ1bは、図5および図8に示すように、前記直線用トラフ1aと同様に、内底部上の略中央に立設した隔壁16を介して左右に分割されており、その一方は電力ケーブル収容部S1として、他方は通信ケーブル収容部S2とし区画形成されている。また、両収容部S1,S2の底部には、各ケーブルK1,K2を支持するよう所定間隔毎に横向きにした所定高さの突条状の支持部20が形成されており、支持部20と隔壁16とで仕切られた各面の中央には、小孔状の水抜き部21が開穿されている。さらに、湾曲用トラフ1bの左右側壁外面には、所定間隔毎に縦長に配置の複数の突条状の補強リブ22が形成されており、上部開口側縁部には、後述する固定金具17を介して蓋体12を固定するための段差状の掛架部18が形成されている。
湾曲用トラフ1bの内底面両端部には、対向立設した前後の突起相互間に接合すべき連結方向に対して横向凹条となったスライド溝部9が形成されており、さらにスライド溝部9に対応した左右側面には丸孔状のボルト挿入孔7が開穿されている。
湾曲用トラフ1bの開口部を施蓋する湾曲用の蓋体12は、図7に示すように、内側で縦横方向に隣接配置させて成る補強リブ23を裏面に備え、中央には長手方向に沿って、湾曲用トラフ1b内側に形成されている隔壁16の上端に接合するための、隔壁作用を有する隔壁突条部24を備えている。尚、蓋体12の両端部裏面は平坦なフラット面に形成されている。
(第2連結手段4の構成)
また、湾曲用トラフ1b同士は断面略U字型となったジョイント部材14を備えた第2連結手段4を介して接続されるもので、該第2連結手段4は、隣接配置した湾曲用トラフ1bの端部それぞれに形成された雌型嵌合部13相互に跨り、これを接続するジョイント部材14を備えている。すなわち、互いに隣接配置されることで接続される湾曲用トラフ1bの端部には、この端部同士に跨って配置されるジョイント部材14挿入用の肉薄な雌型嵌合部13が形成されており、湾曲用トラフ1bの両端部は共に雌型嵌合部13となっている。そして、両雌型嵌合部13に跨って装着されるジョイント部材14は、湾曲用トラフ1bと同じ略U字型に形成されており、上側には中蓋15が被せられる。
中蓋15およびジョイント部材14は、トラフ本体1および蓋体2,12と同様に、柔軟性・靱性に富む廃プラスチックと、高硬度の石炭灰であるフライアッシュとを所定の配合比で配合して成型されることで、コンクリート素材よりも軽量で且つ切断加工も容易に行えるリサイクル樹脂製素材によって形成されている。尚、中蓋15およびジョイント部材14は、これによる湾曲用トラフ1b同士の連結強度を高めるために例えば鋳鉄製等の素材によって形成することも可能である。
ジョイント部材14は、図5および図6に示すように、前記湾曲用トラフ1bの隔壁16に連なるよう中央に隔壁31を備え、下面には、湾曲用トラフ1b両端部のスライド溝部9に各係合されるよう、隣接した湾曲用トラフ1bの接合すべき連結方向に対して横向凸条となった係止突起10が左右に対向突設され、さらに各係止突起10に対応した左右側面には横長孔状のスライド孔8が開穿されている。
また、ジョイント部材14の中蓋15は、内側で横方向に隣接配置させて成る補強リブ23を裏面に備え、中央には、ジョイント部材14内側の隔壁31上端に接合するための隔壁突条部24を備えている。また、中蓋15の左右両側は共に段差状に折り曲げられ、その下面には突起30を備え、ジョイント部材14の両側上端に凹設されている係合溝29に係合されるようになっている。
次に、以上のように構成されたジョイント部材14を備えた第2連結手段4によって、隣接配置した湾曲用トラフ1b同士を連結する例について説明すると、先ず、図5、図6(a)に示すように、一方の湾曲用トラフ1bの端部に、相手方の湾曲用トラフ1bの端部を接合し、互いのジョイント部材14挿入用の雌型嵌合部13に跨ってジョイント部材14を挿入する。そして、スライド溝部9内に各係止突起10が係合されると同時にボルト挿入孔7にスライド孔8が合致され、湾曲用トラフ1b内側からボルト挿入孔7、スライド孔8を貫通するようにボルトが挿入され、外側からナットで締結固定される。
このとき、図6(b)に示すように、各係止突起10がスライド溝部9内で前後方向に若干スライドでき、ボルトが挿入されているボルト挿入孔7もスライド孔8に沿って前後方向に若干スライドできるから、両湾曲用トラフ1bの端部同士はジョイント部材14に対し所定の伸縮自由度を持たせて固定できるものとなる。そしてまた、ジョイント部材14には中蓋15を取り付ける。
次いで、湾曲用トラフ1bに蓋体12を被せて固定するのであり、中蓋15上面は蓋体12の接合部分によって被せられる。そして、図9(a)に示すように、蓋体12の挿入部19に固定金具17をあてがって、ハンマーH等で固定金具17の平面部を叩くことで、蓋体12の上面端縁の凹状の挿入部19内側に向けて固定金具17の一端側折曲部を嵌合させると同時に、湾曲用トラフ1bの上部開口側縁部の段差状の掛架部18内側に向けて固定金具17の他端側折曲部を嵌合させる。また、図9(b)に示すように、ハンマーH等で固定金具17の側部を叩いて一端側折曲部を挿入部19から側方にずらし、蓋体12の上面端縁に乗り上げることによって湾曲用トラフ1bに蓋体12が固定される。
(直線用トラフ1aと湾曲用トラフ1bとの連結)
また、前記した直線用トラフ1aに湾曲用トラフ1bとを接続する場合には、第1連結手段3により、直線用トラフ1a端部の雄型嵌合部6を湾曲用トラフ1bの雌型嵌合部13に直接嵌合させボルトで固定する。あるいは、第2連結手段4により、直線用トラフ1aの雌型嵌合部5と、湾曲用トラフ1bの雌型嵌合部13とを接続させ、両嵌合部5,13に跨ってジョイント部材14さらには中蓋15を配置挿入してボルトで固定する。いずれにしても、本実施の形態においては、雌型嵌合部5,13と雄型嵌合部6との連結は雄雌の直接嵌合による第1連結手段3によるものとし、雌型嵌合部5,13同士の連結はジョイント部材14を使った第2連結手段4によるものとすれば良い。
尚、直線用トラフ1a同士をジョイント部材14を備えた第2連結手段4によって連結し、湾曲用トラフ1b同士を直接嵌合による第1連結手段3によって連結することも可能である。この場合、直線用トラフ1aは、両端部が共に雌型嵌合部5,13となり、湾曲用トラフ1bは、一端部が雄型嵌合部6、他端部が雌型嵌合部5,13となる。このようにトラス本体1における直線用トラフ1a、湾曲用トラフ1b、第1連結手段3、第2連結手段4の様々な組み合わせ形態が本発明に含まれるのである。
P…電線共同溝用トラフ K1…電力ケーブル
K2…通信ケーブル S1…電力ケーブル収容部
S2…通信ケーブル収容部 H…ハンマー
1…トラフ本体 1a…直線用トラフ
1b…湾曲用トラフ 2…蓋体
3…第1連結手段 4…第2連結手段
5…雌型嵌合部 6…雄型嵌合部
7…ボルト挿入孔 8…スライド孔
9…スライド溝部 10…係止突起
11…隔壁 12…蓋体
13…雌型嵌合部(ジョイント部材挿入用)14…ジョイント部材
15…中蓋 16…隔壁
17…固定金具 18…掛架部
19…挿入部 20…支持部
21…水抜き部 22…補強リブ
23…補強リブ 24…隔壁突条部
25…挿入突部 26…係止部
27…被挿入部 28…被係止部
29…係合溝 30…突起
31…隔壁

Claims (5)

  1. 歩道および道路直下の地中に埋設されて電線の共同溝を構成する電線共同溝用トラフであって、隔壁を介して内部を電力ケーブル収容部、通信ケーブル収容部それぞれに仕切られて成るトラフ本体と、該トラフ本体に被着される蓋体とを備え、トラフ本体および蓋体は、廃プラスチックとフライアッシュとを配合して成る切断可能なリサイクル樹脂製素材によって形成してあることを特徴とする電線共同溝用トラフ。
  2. トラフ本体は、平面から見て直線状あるいは湾曲状に形成され、一方の端部に形成の雄形嵌合部と、隣接配置される他のトラフ本体における他方の端部に形成の雌型嵌合部とを雌雄の直接嵌合によって連結する第1連結手段、一方の端部に形成の雌型嵌合部と、隣接配置する他のトラフ本体における他方の端部に形成の雌型嵌合部とをジョイント部材を使って連結する第2連結手段の少なくともいずれかを備えている請求項1記載の電線共同溝用トラフ。
  3. 第1連結手段は、左右側面にボルト挿入孔を有し、内底面に連結方向に対して横向凹条となったスライド溝部をする雌型嵌合部と、該雌型嵌合部に嵌合されるよう、ボルト挿入孔に対応した横長のスライド孔を左右側面に有し、下面に連結方向に対して横向凸条となった係止突起を有する雄型嵌合部とによって構成され、雌型嵌合部のスライド溝部に雄型嵌合部下面の係止突起が所定の伸縮自由度を持たせて係合されるものとした請求項2記載の電線共同溝用トラフ。
  4. 第2連結手段は、左右側面にボルト挿入孔を有し、内底面に連結方向に対して横向凹条となったスライド溝部を有する雌型嵌合部と、隣接した両雌型嵌合部に跨って装着され、ボルト挿入孔に対応した横長のスライド孔を左右側面に有し、下面に連結方向に対して横向凸条となった係止突起を有するするジョイント部材とによって構成され、雌型嵌合部のスライド溝部にジョイント部材下面の係止突起が所定の伸縮自由度を持たせて係合されるものとした請求項2記載の電線共同溝用トラフ。
  5. トラフ本体および蓋体は、その裏面もしくは表面に補強リブが形成されている請求項1乃至4のいずれか記載の電線共同溝用トラフ。
JP2009209890A 2009-09-11 2009-09-11 電線共同溝用トラフ Expired - Fee Related JP5491804B2 (ja)

Priority Applications (1)

Application Number Priority Date Filing Date Title
JP2009209890A JP5491804B2 (ja) 2009-09-11 2009-09-11 電線共同溝用トラフ

Applications Claiming Priority (1)

Application Number Priority Date Filing Date Title
JP2009209890A JP5491804B2 (ja) 2009-09-11 2009-09-11 電線共同溝用トラフ

Publications (2)

Publication Number Publication Date
JP2011061997A true JP2011061997A (ja) 2011-03-24
JP5491804B2 JP5491804B2 (ja) 2014-05-14

Family

ID=43948959

Family Applications (1)

Application Number Title Priority Date Filing Date
JP2009209890A Expired - Fee Related JP5491804B2 (ja) 2009-09-11 2009-09-11 電線共同溝用トラフ

Country Status (1)

Country Link
JP (1) JP5491804B2 (ja)

Cited By (10)

* Cited by examiner, † Cited by third party
Publication number Priority date Publication date Assignee Title
KR101396563B1 (ko) 2013-10-31 2014-06-27 창전이앤시 주식회사 공동구 이음부의 누수방지시설
JP2015029420A (ja) * 2014-11-10 2015-02-12 古河電気工業株式会社 トラフおよびトラフの連結構造
KR101594449B1 (ko) * 2014-11-12 2016-02-16 국방과학연구소 고속 비행체용 케이블 덕트 및 이를 구비한 유도탄
JP2019097289A (ja) * 2017-11-22 2019-06-20 東日本旅客鉄道株式会社 トラフおよびトラフ蓋
CN110822166A (zh) * 2019-11-11 2020-02-21 常州工学院 一种压力管道免深开槽外围护结构及施工方法
JP2021057963A (ja) * 2019-09-30 2021-04-08 株式会社土井製作所 配管トラフ装置
JP2021169746A (ja) * 2020-04-17 2021-10-28 株式会社Nsp Ks 収納物埋設体
WO2023054680A1 (ja) * 2021-10-01 2023-04-06 古河電気工業株式会社 ケーブル収容容器
JP7575645B1 (ja) * 2023-08-25 2024-10-29 古河電気工業株式会社 分岐用トラフ、曲がりトラフ、分岐用トラフの接続構造、トラフ線路、分岐用トラフの固定構造、曲がりトラフの固定構造、分岐用トラフに対するケーブル保護部材の接続方法
WO2025046956A1 (ja) * 2023-08-25 2025-03-06 古河電気工業株式会社 分岐用トラフ、曲がりトラフ、分岐用トラフの接続構造、トラフ線路、分岐用トラフの固定構造、曲がりトラフの固定構造、分岐用トラフに対するケーブル保護部材の接続方法

Citations (5)

* Cited by examiner, † Cited by third party
Publication number Priority date Publication date Assignee Title
JPS6270625U (ja) * 1985-10-23 1987-05-06
JPH0523738U (ja) * 1991-08-27 1993-03-26 セーチヨー工業株式会社 合成樹脂製ケーブルトラフ
JP2005304198A (ja) * 2004-04-13 2005-10-27 Kameda Kozai Kk 電線共同溝用浅層埋設物の防護鉄蓋
JP3125862U (ja) * 2006-07-24 2006-10-05 フジプレコン株式会社 トラフ
JP2007032762A (ja) * 2005-07-28 2007-02-08 Daito Eisei Kk 埋設管及びその敷設方法

Patent Citations (5)

* Cited by examiner, † Cited by third party
Publication number Priority date Publication date Assignee Title
JPS6270625U (ja) * 1985-10-23 1987-05-06
JPH0523738U (ja) * 1991-08-27 1993-03-26 セーチヨー工業株式会社 合成樹脂製ケーブルトラフ
JP2005304198A (ja) * 2004-04-13 2005-10-27 Kameda Kozai Kk 電線共同溝用浅層埋設物の防護鉄蓋
JP2007032762A (ja) * 2005-07-28 2007-02-08 Daito Eisei Kk 埋設管及びその敷設方法
JP3125862U (ja) * 2006-07-24 2006-10-05 フジプレコン株式会社 トラフ

Cited By (12)

* Cited by examiner, † Cited by third party
Publication number Priority date Publication date Assignee Title
KR101396563B1 (ko) 2013-10-31 2014-06-27 창전이앤시 주식회사 공동구 이음부의 누수방지시설
JP2015029420A (ja) * 2014-11-10 2015-02-12 古河電気工業株式会社 トラフおよびトラフの連結構造
KR101594449B1 (ko) * 2014-11-12 2016-02-16 국방과학연구소 고속 비행체용 케이블 덕트 및 이를 구비한 유도탄
JP2019097289A (ja) * 2017-11-22 2019-06-20 東日本旅客鉄道株式会社 トラフおよびトラフ蓋
JP2021057963A (ja) * 2019-09-30 2021-04-08 株式会社土井製作所 配管トラフ装置
CN110822166A (zh) * 2019-11-11 2020-02-21 常州工学院 一种压力管道免深开槽外围护结构及施工方法
JP2021169746A (ja) * 2020-04-17 2021-10-28 株式会社Nsp Ks 収納物埋設体
JP7454221B2 (ja) 2020-04-17 2024-03-22 株式会社Nsp Ks 収納物埋設体
WO2023054680A1 (ja) * 2021-10-01 2023-04-06 古河電気工業株式会社 ケーブル収容容器
JP2023053798A (ja) * 2021-10-01 2023-04-13 古河電気工業株式会社 ケーブル収容容器
JP7575645B1 (ja) * 2023-08-25 2024-10-29 古河電気工業株式会社 分岐用トラフ、曲がりトラフ、分岐用トラフの接続構造、トラフ線路、分岐用トラフの固定構造、曲がりトラフの固定構造、分岐用トラフに対するケーブル保護部材の接続方法
WO2025046956A1 (ja) * 2023-08-25 2025-03-06 古河電気工業株式会社 分岐用トラフ、曲がりトラフ、分岐用トラフの接続構造、トラフ線路、分岐用トラフの固定構造、曲がりトラフの固定構造、分岐用トラフに対するケーブル保護部材の接続方法

Also Published As

Publication number Publication date
JP5491804B2 (ja) 2014-05-14

Similar Documents

Publication Publication Date Title
JP5491804B2 (ja) 電線共同溝用トラフ
GB2124277A (en) Arched precast concrete culvert
KR100885384B1 (ko) 분리형 원형관로 받침블럭
JP2013113010A (ja) U字溝と管との接続金具及びこれを用いた法面の縦排水工法
GB2390630A (en) Drainage channel section
FI129955B (en) Pass-through wall and method for producing the same
KR20190117920A (ko) 옹벽 구조물 및 그의 시공방법
JP3009597U (ja) 地中埋設用鋼板製ケーブル函
KR100430400B1 (ko) 조립식 매설관로 유닛
JP2021093853A (ja) 縁石
JPS60115987U (ja) 排水路付き共同溝ボツクスカルバ−ト
KR101734070B1 (ko) Pc블록과 현장 타설에 의한 수로 및 그 수로의 시공방법
KR100618199B1 (ko) 식생이 가능하며 배선배관부를 가진 도로중앙분리대.
KR101697938B1 (ko) 배수로 조립체
KR20080074523A (ko) 케이블 매설용 트로프 및 이의 시공방법
KR100281458B1 (ko) 조립식 암거
KR100883271B1 (ko) 지중 배선 관로
KR200275363Y1 (ko) 거푸집 설치가 필요 없는 조립식 원형 도로 배수관
JP3010023U (ja) 地中埋設用鋼板製ケーブル函の鋼板製蓋
KR100268394B1 (ko) 현장타설형 조립식 암거
JP2000017720A (ja) 水路用ブロック
JP2006161481A (ja) プラスチック構造体、u字型側溝、トラフ又はマンホール
KR20180131795A (ko) 배전맨홀
JP7745372B2 (ja) トラフ体及び、該トラフ体を用いたケーブル類の地中化方法
KR100565811B1 (ko) 배관의 상하 통과가 가능한 조적용 인방 조립체 및설치방법

Legal Events

Date Code Title Description
A621 Written request for application examination

Free format text: JAPANESE INTERMEDIATE CODE: A621

Effective date: 20120906

A977 Report on retrieval

Free format text: JAPANESE INTERMEDIATE CODE: A971007

Effective date: 20130903

A131 Notification of reasons for refusal

Free format text: JAPANESE INTERMEDIATE CODE: A131

Effective date: 20131126

A521 Request for written amendment filed

Free format text: JAPANESE INTERMEDIATE CODE: A523

Effective date: 20140107

TRDD Decision of grant or rejection written
A01 Written decision to grant a patent or to grant a registration (utility model)

Free format text: JAPANESE INTERMEDIATE CODE: A01

Effective date: 20140128

A61 First payment of annual fees (during grant procedure)

Free format text: JAPANESE INTERMEDIATE CODE: A61

Effective date: 20140228

R150 Certificate of patent or registration of utility model

Ref document number: 5491804

Country of ref document: JP

Free format text: JAPANESE INTERMEDIATE CODE: R150

R250 Receipt of annual fees

Free format text: JAPANESE INTERMEDIATE CODE: R250

R250 Receipt of annual fees

Free format text: JAPANESE INTERMEDIATE CODE: R250

R250 Receipt of annual fees

Free format text: JAPANESE INTERMEDIATE CODE: R250

R250 Receipt of annual fees

Free format text: JAPANESE INTERMEDIATE CODE: R250

R250 Receipt of annual fees

Free format text: JAPANESE INTERMEDIATE CODE: R250

R250 Receipt of annual fees

Free format text: JAPANESE INTERMEDIATE CODE: R250

R250 Receipt of annual fees

Free format text: JAPANESE INTERMEDIATE CODE: R250

LAPS Cancellation because of no payment of annual fees