JP2011028126A - レンズ装置および撮像装置 - Google Patents

レンズ装置および撮像装置 Download PDF

Info

Publication number
JP2011028126A
JP2011028126A JP2009175770A JP2009175770A JP2011028126A JP 2011028126 A JP2011028126 A JP 2011028126A JP 2009175770 A JP2009175770 A JP 2009175770A JP 2009175770 A JP2009175770 A JP 2009175770A JP 2011028126 A JP2011028126 A JP 2011028126A
Authority
JP
Japan
Prior art keywords
lens
unit
vibration
optical axis
movable lens
Prior art date
Legal status (The legal status is an assumption and is not a legal conclusion. Google has not performed a legal analysis and makes no representation as to the accuracy of the status listed.)
Granted
Application number
JP2009175770A
Other languages
English (en)
Other versions
JP5324350B2 (ja
Inventor
Fumiyoshi Nishimura
文良 西村
Current Assignee (The listed assignees may be inaccurate. Google has not performed a legal analysis and makes no representation or warranty as to the accuracy of the list.)
Tamron Co Ltd
Original Assignee
Tamron Co Ltd
Priority date (The priority date is an assumption and is not a legal conclusion. Google has not performed a legal analysis and makes no representation as to the accuracy of the date listed.)
Filing date
Publication date
Application filed by Tamron Co Ltd filed Critical Tamron Co Ltd
Priority to JP2009175770A priority Critical patent/JP5324350B2/ja
Priority to US12/647,814 priority patent/US8059950B2/en
Priority to CN2009102656226A priority patent/CN101986192A/zh
Publication of JP2011028126A publication Critical patent/JP2011028126A/ja
Application granted granted Critical
Publication of JP5324350B2 publication Critical patent/JP5324350B2/ja
Expired - Fee Related legal-status Critical Current
Anticipated expiration legal-status Critical

Links

Images

Landscapes

  • Lens Barrels (AREA)
  • Adjustment Of Camera Lenses (AREA)
  • Studio Devices (AREA)

Abstract

【課題】防振補正機能の実現および小型化を図ること。
【解決手段】光学系を構成する複数の撮像用レンズ102を備えたレンズ鏡筒101と、光軸方向と直交する方向に沿って移動可能であって光学系の一部を構成する防振補正可動レンズ102aと当該防振補正可動レンズ102aを収容した筐体104とを有し、レンズ鏡筒101に対して光軸方向と直交する方向(挿抜方向)にスライドすることによりレンズ鏡筒101に対して着脱可能な防振ユニット103と、筐体104に設けられ、光学系の一部を構成するとともに光軸方向において防振ユニット103に隣り合う撮像用レンズ102bの少なくとも一部と防振ユニット103とが光軸方向において重複するように、撮像用レンズ102bの少なくとも一部を収容可能な退避用開口部104aと、を備えたレンズユニット100を構成した。
【選択図】図2

Description

この発明は、防振補正機能を実現可能なレンズ装置および当該レンズ装置を備えた撮像装置に関する。
従来、撮影者の手ぶれなどによってレンズ鏡筒に加えられた振動を検知し、検知した振動に基づいて該当する防振補正用レンズを移動させることにより、当該振動に起因する像ブレをキャンセルする、いわゆる防振補正制御をおこなうレンズ装置や当該レンズ装置を搭載した撮像装置などの光学装置があった。このような防振補正制御は、防振補正用レンズを光軸に直交する面内において移動させることによって防振補正制御をおこなう。
このような防振補正制御をおこなう光学装置においては、従来、たとえばレンズ装置とカメラとの間に配置される防振アダプタの外装体となる本体ケース内に、カメラに加わる振動によって生じる像ぶれを補正するように移動される可動レンズが収納され、レンズ装置を介して入射する被写体からの光を通過させるために、レンズ装置側に面する本体ケースのおよびカメラ側に面する本体ケースの後面に可動レンズの光軸上に開口をそれぞれ形成し、前面に形成された開口に第1のレンズを取り付け、後面に形成された開口に第2のレンズを取り付けることにより本体ケースの内部が密閉構造となるようにした技術があった(たとえば、下記特許文献1を参照。)。
また、防振補正制御をおこなう光学装置においては、従来、たとえばカメラとレンズ装置の間に装着される防振アダプタにおいて、レンズ装置が接続される防振アダプタの前面に、カメラに形成されているレンズ接続構造と同様のレンズ接続部を形成し、カメラが接続される防振アダプタの後面に、レンズ装置に形成されているカメラ接続構造と同様のカメラ接続部を形成した技術があった(たとえば、下記特許文献2を参照。)。
特開2002−107785号公報 特開2002−156695号公報
しかしながら、上述した特許文献1、2に記載された従来の技術は、いずれも、防振アダプタの内部を外装体で覆った構成であり、このような構成のために防振アダプタの小型化の妨げになるという問題があった。そして、防振アダプタの小型化が妨げられることによって、当該防振アダプタを備えたレンズ装置などの光学装置の小型化が妨げられるという問題があった。
この発明は、上述した従来技術による問題点を解消するため、防振補正機能の実現および小型化を図ることができるレンズ装置および撮像装置を提供することを目的とする。
上述した課題を解決し、目的を達成するため、この発明にかかるレンズ装置は、光学系を構成する光学部材を備えたレンズ鏡筒と、光軸方向と直交する方向に沿って移動可能であって前記光学系の一部を構成する防振補正可動レンズと当該防振補正可動レンズを収容した筐体とを有し、前記レンズ鏡筒に対して前記光軸方向と直交する方向にスライドすることにより前記レンズ鏡筒に対して着脱可能な防振ユニットと、前記筐体に設けられ、前記光学系の一部を構成するとともに前記光軸方向において前記防振ユニットに隣り合う光学部材もしくは当該光学部材を保持する保持部材の少なくとも一部と前記防振ユニットとが前記光軸方向において重複するように、前記防振ユニットに隣り合う光学部材の少なくとも一部を収容可能な収容部と、を備えたことを特徴とする。
また、この発明にかかるレンズ装置は、上記の発明において、前記防振ユニットに隣り合う光学部材が、撮影状態において前記光軸方向に沿って移動可能なレンズであることを特徴とする。
また、この発明にかかる撮像装置は、上記のレンズ装置と、前記レンズ装置を通過した光が入射する撮像素子と、を備えたことを特徴とする。
この発明にかかるレンズ装置および撮像装置によれば、防振補正機能の実現および小型化を図ることができるという効果を奏する。
この発明にかかる実施の形態のレンズユニットの構成を示す説明図(その1)である。 この発明にかかる実施の形態のレンズユニットの構成を示す説明図(その2)である。 この発明にかかる実施の形態の防振ユニットを示す説明図(その1)である。 この発明にかかる実施の形態の防振ユニットを示す説明図(その2)である。 この発明にかかる実施の形態の防振ユニットを示す説明図(その3)である。 この発明にかかる実施の形態の防振ユニットを示す説明図(その4)である。 この発明にかかる実施の形態の防振ユニットを示す説明図(その5)である。 この発明にかかる実施の形態の防振ユニットを示す説明図(その6)である。 この発明にかかるレンズユニットにおける可動レンズ枠の配置方向を示す説明図である。 この発明にかかる実施の形態のレンズユニットが備える駆動制御回路を示すブロック図である。 位置検出アンプの一例を示すブロック図である。 防振補正可動レンズの効き量と防振補正可動レンズの駆動特性との関係を示す説明図(その1)である。 防振補正可動レンズの効き量と防振補正可動レンズの駆動特性との関係を示す説明図(その2)である。 防振補正可動レンズの固定機構の一例を示す説明図(その1)である。 防振補正可動レンズの固定機構の一例を示す説明図(その2)である。 防振補正可動レンズの固定機構の一例を示す説明図(その3)である。 防振補正可動レンズの固定機構の一例を示す説明図(その4)である。 防振補正可動レンズの固定機構の別の一例を示す説明図(その1)である。 防振補正可動レンズの固定機構の別の一例を示す説明図(その2)である。 防振補正可動レンズの固定機構の別の一例を示す説明図(その3)である。
以下に添付図面を参照して、この発明にかかるレンズ装置および撮像装置の好適な実施の形態を詳細に説明する。
(レンズユニットの構成)
まず、この発明にかかる実施の形態のレンズユニットの構成について説明する。図1および図2は、この発明にかかる実施の形態のレンズユニットの構成を示す説明図である。図1においては、この発明にかかる実施の形態のレンズユニットを斜め方向から見た状態を示している。図2においては、この発明にかかる実施の形態のレンズユニットを、光軸を通り当該光軸に平行な平面で切断した断面を示している。
図1および図2において、この発明にかかる実施の形態のレンズユニット(レンズ装置)100は、図示を省略する撮像装置本体に連結され、図示を省略する撮像装置を構成する。撮像装置本体は、撮像素子を備えている。撮像素子は、入射された光を電気に変換し、入射光の強度に応じた電気信号を出力する。
撮像素子は、具体的には、たとえばCCDイメージセンサ(Charge Coupled Device Image Sensor)やCMOSイメージセンサ(Complementary Metal Oxide Semiconductor Image Sensor)などの公知の各種の固体撮像素子によって実現することができる。撮像装置本体は、撮像素子に代えて、レンズユニット100を介して入射した光をフィルムに結像する構成であってもよい。
レンズユニット100は、レンズ鏡筒101と、当該レンズ鏡筒101の内側に配置された複数の撮像用レンズ(光学系)102と、防振ユニット(像振れ防止装置)103と、を備えている。防振ユニット103は、防振補正可動レンズ102aを備えている。防振補正可動レンズ102aは、たとえば1枚のレンズによって構成することができる。また、防振補正可動レンズ102aは、1枚のレンズによって構成されているものに限らず、複数枚のレンズ群によって構成されていてもよい。
防振補正可動レンズ102aは、複数の撮像用レンズ102に含まれ、画像を安定させるために用いられる。具体的には、防振補正可動レンズ102aは、光軸に直交する平面内において移動可能に設けられており、光軸に直交する平面内を移動することによりレンズ鏡筒101が振動することによる画像のブレを補正し、画像を安定させる。
防振ユニット103は、レンズ鏡筒101に対して挿抜可能に設けられている。レンズ鏡筒101には、レンズ鏡筒101に対する防振ユニット103の挿抜を許容する開口101aが設けられている。この開口101aは、レンズ鏡筒101に対する防振ユニット103の挿抜方向に交差する方向(以下「防振ユニットの幅方向」という)と略一致する大きさとされている。開口101aは、防振ユニット103の挿入を受け付け、防振ユニット103をレンズ鏡筒101に装着した場合に、防振ユニット103の筐体104によって塞がれる。
筐体104における対物側には、退避用開口部104aが設けられている。防振ユニット103において、退避用開口部104aは、防振補正可動レンズ102aとともに、筐体104における対物側の端面から接眼側に向かって凹んだ凹形状を形成する。防振ユニット103よりも対物側において防振ユニット103に隣り合って配置された撮像用レンズ102bは、もっとも接眼側に位置付けられた状態において、光軸方向において防振ユニット103と一部重複する。
あるいは、撮影用レンズ102bあるいは当該撮影用レンズ102bを保持するレンズ枠の光軸方向における位置に応じて、撮像用レンズ102bあるいは該当するレンズ枠が退避用開口部104aから退避あるいは進入していることが外部から視覚的に確認することができる構成を設けるようにしてもよい。
このように、防振ユニット103に隣り合って配置された撮像用レンズ102bあるいは撮像用レンズ102bを保持するレンズ枠と、防振ユニット103の筐体104と、を光軸方向において一部重複させることによって、重複させない場合と比較して、レンズユニット100の光軸方向における寸法を短くすることができる。そして、このような重複構造とすることにより、防振補正可動レンズ102aと撮像用レンズ102bとの光軸方向における間隔についての制約を軽減することができ、レンズユニット100における光学系のレンズ全長を短くすることができる。すなわちレンズユニット100および当該レンズユニット100を備えた撮像装置の光軸方向における寸法の小型化(薄型化)を図ることができる。
退避用開口部104aは、光軸方向において筐体104よりもフォーカスレンズ側に設ける。また、光軸方向において退避用開口部104aには、フォーカス(ピント)調整に用いるフォーカスレンズ、あるいはフォーカスレンズを保持するレンズ枠の少なくとも一部が入り込む(進入する)ことが好ましい。
レンズ鏡筒101に対する防振ユニット103の挿抜は、撮像用レンズ102bあるいは当該撮像用レンズ102bを保持するレンズ枠(符号を省略する)が、退避用開口部104aから退避している場合におこなうことができる。言い換えれば、撮像用レンズ102bあるいは当該撮像用レンズ102bを保持するレンズ枠の少なくとも一部が、退避用開口部104aに入り込んでいる場合、レンズ鏡筒101に対する防振ユニット103の挿抜は不可能となる。
レンズユニット100においては、撮像用レンズ102bあるいは当該撮像用レンズ102bを保持するレンズ枠が、光軸方向において退避用開口部104aから退避している場合に限って、レンズ鏡筒101に対する防振ユニット103の挿抜を許容する図示を省略するロック機構を設けるようにしてもよい。
このロック機構は、具体的には、たとえば撮像用レンズ102bあるいは当該撮像用レンズ102bを保持するレンズ枠の光軸方向における位置に応じて、撮像用レンズ102bあるいは該当するレンズ枠が退避用開口部104aから退避している場合に限ってアンロック状態となる、機械的な構成によって実現することができる。
あるいは、このロック機構は、具体的には、たとえば防振ユニット103の挿抜に際して操作する図示を省略する操作ボタンを設け、この操作ボタンが操作された場合に、撮像用レンズ102bあるいは該当するレンズ枠が退避用開口部104aから退避するように光軸方向に移動する、制御をともなう機械的な構成によって実現することができる。
図1における符号110は、レンズ鏡筒101に対する防振ユニット103の位置決めをおこなうための位置決め用の突起を示している。レンズ鏡筒101内には、この突起110の挿入を受け付ける、図示を省略する突起受け部が設けられている。突起110および突起受け部によって、レンズ鏡筒101に対して防振ユニット103を所定の位置に位置付けることができる。
(防振ユニット103の構成)
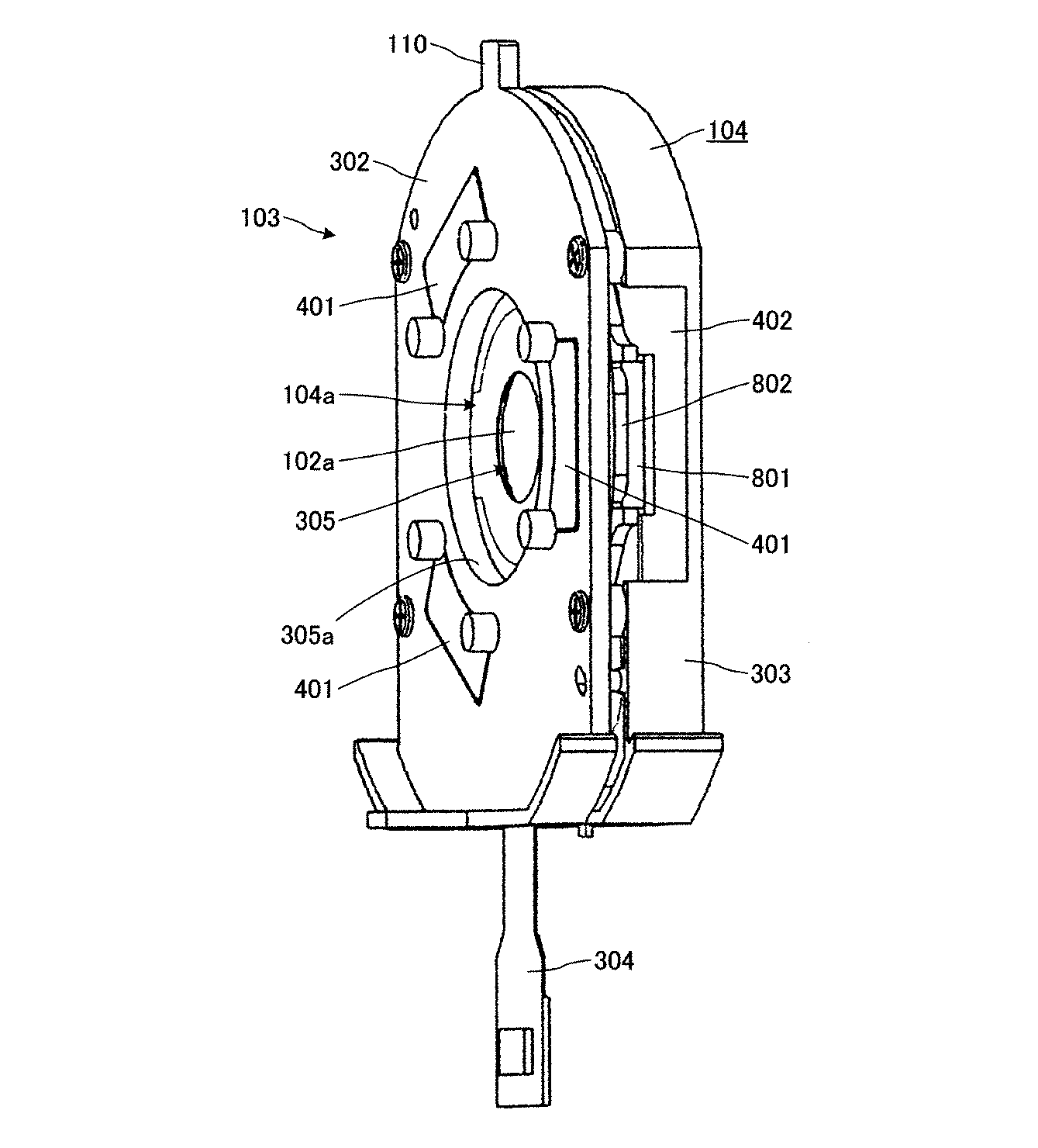
つぎに、防振ユニット103の構成について説明する。図3、図4、図5、図6、図7および図8は、この発明にかかる実施の形態の防振ユニット103を示す説明図である。図3、図4、図5、図6、図7および図8において、防振ユニット103は、上記の防振補正可動レンズ102aと、可動レンズ枠301と、防振ユニット外枠(基板)302と、防振ユニットカバー303と、を備えている。
可動レンズ枠301は、防振補正可動レンズ102aを保持しており、防振ユニット外枠302に対して移動可能に設けられている。防振ユニットカバー303は、防振ユニット外枠302とともに筐体104を構成する。可動レンズ枠301は、防振ユニットカバー303と防振ユニット外枠302との間に挟み込まれ、筐体104内において移動可能とされている。
可動レンズ枠301には、駆動用磁石801が設けられている。駆動用磁石801は、それぞれ長方形状をなし、長手方向が光軸を中心とする円の接線方向に一致するような状態で可動レンズ枠301に取り付けられている。また、駆動用磁石801は、防振補正可動レンズ102aにおける光軸を中心とする同心円上において、等間隔で3個設けられている。すなわち、駆動用磁石801は、可動レンズ枠301が保持する防振補正可動レンズ102aの光軸を中心とする円の中心に対して中心角が120度となるように間隔をあけた状態で設けられている。
この実施の形態においては、防振補正可動レンズ102aを3個の駆動用磁石801によって駆動する防振レンズユニット100について説明したが、駆動用磁石801の数は3個に限るものではない。駆動用磁石801の数は、たとえば、光軸に直交する面内において光軸を通り互いに直交する2つの軸上にそれぞれ1個ずつ設けた2個あるいは4個であってもよい。
防振ユニット外枠302において、駆動用磁石801に対向する位置には、それぞれ、駆動用コイル802および吸着用ヨーク401が設けられている。駆動用コイル802は、防振ユニット外枠302において可動レンズ枠301に対向する側に設けられている。吸着用ヨーク401は、駆動用磁石801と略一致する大きさの長方形状をなし、防振ユニット外枠302において可動レンズ枠301とは反対側に設けられている。上記の退避用開口部104aは、防振ユニット外枠302に設けられている。
駆動用磁石801と吸着用ヨーク401との間には、防振ユニット外枠302と可動レンズ枠301とを吸着する磁力が作用している。この磁力によって、防振ユニット外枠302および可動レンズ枠301に対しては、互いに吸着する方向への付勢力が作用している。
防振ユニット外枠302を非磁性材料によって形成することにより、駆動用磁石801の磁力を吸着用ヨーク401に効率よく作用させることができる。駆動用コイル802は、防振補正可動レンズ102aにおける光軸を中心とする同心円上において、等間隔で3個設けられている。また、駆動用コイル802は、光軸方向において駆動用磁石801との間に所定の間隔をあけた状態で設けられている。
具体的には、防振ユニット外枠302と可動レンズ枠301とは、光軸方向において球状体803を間に介在させた状態で対向配置されている。球状体803は、球体形状をなし、直径寸法が光軸方向における駆動用コイル802の寸法よりも小さい。球状体803は、防振補正可動レンズ102aにおける光軸を中心とする同心円上において、等間隔で3個設けられている。
防振ユニット外枠302と可動レンズ枠301との間には、駆動用磁石801と吸着用ヨーク401との間に作用する磁力によって、防振ユニット外枠302および可動レンズ枠301を互いに吸着する方向への付勢力が作用している。このため、各球状体803は、防振ユニット外枠302と可動レンズ枠301との間に挟持された状態とされる。
これにより、防振ユニット外枠302と可動レンズ枠301とは、光軸方向において、球状体803の直径寸法に相当する空間をあけて対向している。また、これにより、可動レンズ枠301における駆動用磁石801と駆動用コイル802とは、光軸方向において、球状体803の直径寸法と光軸方向における駆動用コイル802の寸法との差分に相当する空間をあけて対向している。
球状体803は、たとえばプラスチックなどと称される高分子材料を用いて形成することができる。また、球状体803は、たとえばスチールやアルミニウムなどのような鋼製の球体によって実現してもよい。球状体803は、完全な球体形状をなすものに限らない。具体的には、球状体803は、たとえば防振ユニット外枠302および可動レンズ枠301と接触する部分がおおむね球面をなす形状であればよい。
各球状体803は、それぞれ、防振ユニット外枠302および可動レンズ枠301に各々設けられた球状体受け部804によって位置決めされている。球状体受け部804は、防振ユニット外枠302および可動レンズ枠301において、可動レンズ枠301あるいは防振ユニット外枠302側に向かって突出する環状のリブによって実現されている。
各駆動用コイル802、および、各駆動用コイル802対応する位置に取り付けられた各駆動用磁石801は、リニアモーターを構成する。可動レンズ枠301は、各球状体803が防振ユニット外枠302と可動レンズ枠301との間に挟持された状態で球状体受け部804内において転がることによって、光軸に直交する面内において防振ユニット外枠302に対して任意の方向に移動(並進運動あるいは回転運動)する。防振ユニット外枠302に対する可動レンズ枠301の並進運動および回転運動は、駆動用コイル802および駆動用磁石801がなすリニアモーターによって制御される。
防振ユニット外枠302において、各駆動用コイル802の内周側となる位置には、それぞれホール素子805が設けられている。各ホール素子805は、光軸方向において各ホール素子805と対向する駆動用磁石801の磁気を検出する。各ホール素子805からの出力は、検出した磁気の強さに応じて変化する。各ホール素子805からの出力は、位置検出アンプ(図10を参照)に入力される。位置検出アンプは、レンズユニット100における駆動制御回路の一部を構成する。
防振ユニット外枠302には、駆動用コイル802に対して電流を供給したり、ホール素子805からの出力信号をレンズユニット100における駆動制御回路に入力したりするためのフレキシブルプリント配線基板304が設けられている。フレキシブルプリント配線基板304は、フィルム状の絶縁体(ベースフィルム)の上に形成された接着層に、所定の配線パターンで導体箔を形成し、当該導体箔を絶縁体によって被覆した構造をなしている。フレキシブルプリント配線基板304については、公知の技術であるため、説明を省略する。
筐体104は、筐体104内を移動(並進運動および回転運動)する可動レンズ枠301の移動範囲に重複する位置に設けられた開口402を備えている。この開口402を設けることにより、防振ユニット103の筐体104における幅方向の寸法と、防振ユニット103の幅方向における可動レンズ枠301の移動量とを等しくすることができる。これによって、可動レンズ枠301の移動量を確保しつつ、防振ユニット103の幅方向の寸法の小型化を図ることができる。
防振ユニット103の幅方向の寸法の小型化を図ることにより、レンズ鏡筒101における開口101aを小さくすることができる。そして、開口101aを小さくすることにより、当該開口101aからレンズ鏡筒101内にゴミや埃などの異物が入り込むことを防止し、撮像用レンズ102に異物が付着することによる撮像画質の低下を防止することができる。
また、筐体104は、レンズ鏡筒101内に入射した外光を対物側から接眼側(撮像素子側)に通過させる開口305を備えている。この開口305は、防振ユニット外枠302を光軸方向に貫通する開口305aと、防振ユニットカバー303を光軸方向に貫通する開口305bと、によって実現されている。開口305aは、退避用開口部104aがなす凹形状における底面部分に位置付けられている。防振補正可動レンズ102aは、光軸方向において開口305aと開口305bとの間に位置付けられる。
レンズユニット100は、ジャイロ(図10における符号1001を参照)を備えている。具体的には、レンズユニット100は、ヨーイング運動の角速度を検出するジャイロと、ピッチング運動の角速度を検出するジャイロと、の2つのジャイロを備えている。レンズユニット100においては、2つのジャイロが検出した各角速度に基づいてレンズ鏡筒101の振動を検出する。
レンズユニット100が備えるジャイロは、具体的には、たとえば圧電振動ジャイロによって実現することができる。レンズユニット100における駆動制御回路は、ジャイロによって検出した振動に基づいて防振ユニット103における防振補正可動レンズ102aを移動させる。これにより、撮像素子に結像される画像を安定化させる。
(可動レンズ枠301の配置方向)
つぎに、可動レンズ枠301の配置方向について説明する。図9は、この発明にかかるレンズユニット100における可動レンズ枠301の配置方向を示す説明図である。図9において、可動レンズ枠301は、3つの駆動用磁石801(801a、801b、801c)のうちの1つの駆動用磁石801(801a)の長手方向が、防振ユニット103のレンズ鏡筒101に対する挿抜方向に平行となるように配置されている。
3つの駆動用磁石801(801a、801b、801c)を上記のような向きで配置することにより、これ以外の向きで配置した場合と比較して、防振ユニット103の幅方向の寸法(図9における符号L1)を、もっとも小さくすることができる。具体的には、たとえば、1つの駆動用磁石801(801a)の長手方向が、防振ユニット103の幅方向に平行となるように3つの駆動用磁石801(801a、801b、801c)を配置した場合の防振ユニット103の幅方向の寸法(図9における符号L2)は、寸法L1と比較して大きくなる。
(駆動制御回路)
つぎに、この発明にかかる実施の形態のレンズユニット100が備える駆動制御回路について説明する。図10は、この発明にかかる実施の形態のレンズユニット100が備える駆動制御回路を示すブロック図である。図10において、この発明にかかる実施の形態のレンズユニット100が備える駆動制御回路1000は、2つのジャイロ1001(1001a、1001b)によってレンズユニット100の振動を検出する。
駆動制御回路1000は、各ジャイロ1001が出力する角速度に基づいて、レンズ位置指令信号を生成する。レンズ位置指令信号は、防振補正可動レンズ102aを移動させるべき位置を示す信号であり、当該位置を時系列で指令する。
具体的には、駆動制御回路1000は、たとえばジャイロ1001aによって検出されるヨーイング運動の角速度を時間積分し、所定の光学特性補正をおこなうことによってレンズ位置指令信号の水平方向成分Bxを生成する。また、具体的には、駆動制御回路1000は、たとえばジャイロ1001bによって検出されるピッチング運動の角速度に基づいてレンズ位置指令信号の鉛直方向成分Byを生成する。そして、生成された水平方向(X軸方向)成分Bxおよび鉛直方向(Y軸方向)成分Byに基づいて、レンズ位置指令信号を生成する。
レンズ位置指令信号は、X軸方向における移動距離BxおよびY軸方向における移動距離Byに基づいて、以下の演算によって求めることができる。下記の数式において、Ba、BbおよびBcは、それぞれ、光軸を中心とする円の接線方向において、各ホール素子805の感度中心に対して、各ホール素子805に対向する駆動用磁石801における着磁境界線の位置がどの程度ずれているかを示している。
Figure 2011028126
つぎに、生成したレンズ位置指令信号に基づいて、各駆動用コイル802に対するコイル位置指令信号を生成する。コイル位置指令信号は、防振補正可動レンズ102aをレンズ位置指令信号で指定された位置へ移動させた場合における、各駆動用コイル802と当該各駆動用コイル802対応した駆動用磁石801との位置関係を示す。生成したコイル位置指令信号は、駆動制御回路1000において駆動用コイル802ごとに設けられたコイル駆動回路1002に出力される。
コイル駆動回路1002には、各ホール素子805から出力され、位置検出アンプ1003によって増幅された信号が入力される。各ホール素子805から出力され、位置検出アンプ1003によって増幅された信号は、各駆動用コイル802に対する駆動用磁石801の移動量(駆動量)を示す。
あるいは各ホール素子805から出力され、位置検出アンプ1003によって増幅された信号は、駆動用磁石801の位置を示すものであってもよい。コイル駆動回路1002は、各コイル位置指令信号と、各位置検出アンプ1003から出力された信号との差に比例した電流を各駆動用コイル802に流す。
各駆動用コイル802に電流が流れることにより、電流に比例した磁界が発生する。この磁界により各駆動用コイル802に対応して配置された各駆動用磁石801は、それぞれ、コイル位置指令信号Ba、Bb、Bcによって指定された位置に近づく方向の駆動力を受ける。これにより、可動レンズ枠301を移動させることができる。
駆動用磁石801が、この駆動力によってコイル位置指令信号により指定された位置に到達すると、コイル位置指令信号とホール素子805からの出力信号とが一致するので駆動回路の出力はゼロとなり、駆動力もゼロになる。また、外乱あるいはコイル位置指令信号の変化などにより、各駆動用磁石801がコイル位置指令信号により指定された位置から外れると、再び各駆動用コイル802に電流が流され、各駆動用磁石801はコイル位置指令信号によって指定された位置に戻される。
各駆動用磁石801がコイル位置指令信号によって指令された位置に到達すると、コイル位置指令信号と位置検出アンプ1003からの出力との差がなくなる。コイル位置指令信号と位置検出アンプ1003からの出力との差がなくなった場合は、各駆動用コイル802には電流が流れなくなり、駆動用磁石801に作用する駆動力はゼロになる。
駆動制御回路1000は、このようにして、各駆動用コイル802に対するコイル位置指令信号によって指令された位置に各駆動用磁石801を移動させることによって、レンズ位置指令信号によって指令された位置へ防振補正可動レンズ102aを移動させる。これにより、レンズ位置指令信号にしたがって、防振補正可動レンズ102aを時々刻々移動させることができる。これにより、たとえば撮像に際しての露光中にレンズユニット100が振動した場合にも、撮像素子に結像される画像の乱れを防止し、安定化することができる。
可動レンズ枠301を回転運動させる場合は、各コイル位置指令信号として同一の値を与える。具体的には、たとえば可動レンズ枠301を角度θ[rad]だけ時計回りに回転させるための各コイル位置指令信号Ba、BbおよびBcは、それぞれ下記の数式によって示される。下記式において、Rは、光軸を中心とする円の半径、すなわち光軸から各ホール素子805の感度中心点までの距離を示している。
Figure 2011028126
上記のような制御によって各駆動用磁石801が各駆動用コイル802が同一距離接線方向に移動することにより、可動レンズ枠301は、防振補正可動レンズ102aの光軸と撮像用レンズ102の光軸が一致した状態を保持しながら、光軸を中心に回転する。以上の作用が時々刻々繰り返されることにより、各駆動用磁石801を有する可動レンズ枠301に取り付けられた防振補正可動レンズ102aが、レンズ位置指令信号に追従するように移動される。これにより、撮像素子に結像される像が安定化される。
図10において、データ記憶部1004は、それぞれの防振ユニット103に固有の各種データ(防振補正用のデータ)を記憶している。各種データ(防振補正用のデータ)は、レンズユニット100の振動に応じて防振補正可動レンズ102aを移動させる防振補正制御に際して用いる。データ記憶部1004は、たとえば移動量の検出感度、有効分解能、中心位置データ、最大移動量、応答性、オフセット量、倍率、補正効き量などに関するデータを各種データ(防振補正用のデータ)として記憶している。
データ記憶部1004は、電源を切った状態であってもデータが継続して記憶される、すなわち不揮発性の記憶媒体によって実現することができる。具体的には、データ記憶部1004は、たとえばEPROM、EEPROM、フラッシュメモリなどの公知の各種の記憶媒体を用いて実現することができる。
データ記憶部1004に記憶されている各種データ(防振補正用のデータ)は、たとえば、防振ユニット103ごとに、実測することによって取得することができる。また、データ記憶部1004に記憶されている各種データ(防振補正用のデータ)は、たとえば、防振ユニット103の製造ロットごとに、実測することによって取得することができる。
データ読出部1005は、レンズユニット100の振動に応じて防振補正可動レンズ102aを移動させる防振補正制御に際して、データ記憶部1004に記憶されている各種データ(防振補正用のデータ)を読み出す。データ読出部1005が読み出した各種データ(防振補正用のデータ)は、位置検出アンプ1003に入力され、各駆動用コイル802に対する駆動用磁石801の移動量(駆動量)あるいは各駆動用磁石801の位置の算出に供される。
(位置検出アンプ1003の一例)
図11は、位置検出アンプ1003の一例を示している。図11において、位置検出アンプ1003は、ホール素子805からの出力信号をA/D変換し、データ読出部1005が読み出した各種データ(防振補正用のデータ)に基づいて、各駆動用コイル802に対する駆動用磁石801の移動量(駆動量)あるいは各駆動用磁石801の位置を算出する。
具体的には、位置検出アンプ1003は、たとえばデータ読出部1005がデータ記憶部1004から読み出したオフセット量に基づいて、各駆動用磁石801のオフセット位置を算出する。各駆動用磁石801のオフセット位置の算出については、公知の技術を用いて容易に実現可能であるため、説明を省略する。
また、具体的には、位置検出アンプ1003は、たとえばデータ読出部1005がデータ記憶部1004から読み出した倍率に基づいて、ホール素子805の特性を補正する補正値を算出する。ホール素子805の特性を補正する補正値の算出については、公知の技術を用いて容易に実現可能であるため、説明を省略する。
駆動制御回路1000における位置検出アンプ1003などは、具体的には、たとえばCPUによって実現することができる。なお、位置検出アンプ1003を含め、駆動制御回路1000において実行される各種の演算処理については、公知の技術であるため説明を省略する。
図12および図13は、防振補正可動レンズ102aの効き量と防振補正可動レンズ102aの駆動特性との関係を示す説明図である。図12および図13において、防振補正可動レンズ102a(および撮像画像の補正にかかる補正レンズ)の効き量が小さい場合、防振補正可動レンズ102aの動きが微少となるように当該防振補正可動レンズ102aを駆動制御する。一方、図12および図13において、防振補正可動レンズ102a(および撮像画像の補正にかかる補正レンズ)の効き量が大きい場合、防振補正可動レンズ102aが速い動きとなるように当該防振補正可動レンズ102aを駆動制御する。
このような、レンズユニット100の振動に応じて防振補正可動レンズ102aを駆動制御する防振補正制御は、上記のようにデータ記憶部1004に記憶されている各種データ(防振補正用のデータ)に基づいておこなわれる。この実施の形態において、各種データ(防振補正用のデータ)は、レンズユニット100に組み込まれる前の防振ユニット103、すなわち防振ユニット103単体の状態においてデータ記憶部1004に記憶されている。
データ記憶部1004に記憶する各種データ(防振補正用のデータ)の取得に際しては、防振ユニット103における筐体104に対して、防振補正可動レンズ102aの位置を固定した状態とする。防振補正可動レンズ102aは、所定の固定機構を用いて、防振ユニット103における中立位置に固定する。以降、適宜、防振補正可動レンズ102aを防振ユニット103における中立位置に固定した状態を「ロック状態」、当該固定を解除した状態を「アンロック状態」として説明する。
(防振補正可動レンズ102aの固定機構の一例)
つぎに、この発明にかかる実施の形態のレンズユニット100が備えた防振ユニット103における防振補正可動レンズ102aの固定機構の一例について説明する。図14、図15、図16および図17は、防振補正可動レンズ102aの固定機構の一例を示す説明図である。
図14、図15、図16および図17において、防振補正可動レンズ102aの固定機構1400は、防振ユニット103の筐体104内に設けられている。固定機構1400は、防振ユニット103における防振ユニットカバー303と、可動レンズ枠301と、の間に嵌め込まれた係止部材1401、1402、1403によって実現されている。
係止部材1401および係止部材1402は、レンズ鏡筒101に対する防振ユニット103の挿抜方向に沿って、防振補正可動レンズ102aに対して接離するように筐体104内においてスライド可能に設けられている。
この実施の形態においては、レンズ鏡筒101に対する防振ユニット103の挿抜方向に沿って係止部材1401および係止部材1402をスライドさせる固定機構1400について説明したが、係止部材1401および係止部材1402のスライド方向はこれに限るものではない。たとえば、係止部材1401および係止部材1402は、防振ユニット103の幅方向に沿ってスライド可能な構成としてもよい。
係止部材1401および係止部材1402は、それぞれ、上記の挿抜方向において防振補正可動レンズ102aを間にして対向する係止用腕部(係止部)1401a、1402aを備えている。各係止用腕部1401a、1402aにおいて、防振補正可動レンズ102aと対向する位置には、防振補正可動レンズ102aの外周縁に沿うような略凹形状の切り欠き部1401b、1402bが設けられている。
係止用腕部1401a、1402aにそれぞれ設けられた切り欠き部1401b、1402bは、それぞれ、防振補正可動レンズ102aを間にして対向する係止用腕部1401aおよび係止用腕部1402aから離反するほど幅が狭くなるように傾斜する傾斜部1401c、1402cを備えている。すなわち、切り欠き部1401b、1402bは、防振補正可動レンズ102aと対向する側が、切り欠き部1401b、1402bの底辺に向けて幅狭となるような傾斜部1401c、1402cを備えている。
固定機構1400においては、係止用腕部1401a、1402aが防振補正可動レンズ102aに近づく方向に係止部材1401、1402をスライドさせると、係止用腕部1401a、1402aが防振補正可動レンズ102aを挟み込むように移動し、係止用腕部1401a、1402aにおける傾斜部1401c、1402cが防振補正可動レンズ102aの外周側から当接する。
固定機構1400においては、係止部材1401、1402を図17における矢印1700Aで示す方向にスライドさせ、係止用腕部1401a、1402aによって防振補正可動レンズ102aを挟み込むことによって、防振補正可動レンズ102aを防振ユニット103における機構上の中立位置に保持した状態、すなわちロック状態とする。
係止部材1401および係止部材1402において、傾斜部1401c、1402cは、防振補正可動レンズ102aを挟持した状態において、防振補正可動レンズ102aを防振ユニット103における機構上の中立位置に移動させるように設けられている。これにより、防振補正可動レンズ102aを係止用腕部1401a、1402aの間に挟持するように係止部材1401、1402をスライドさせると、傾斜部1401c、1402cに当接した防振補正可動レンズ102aは、傾斜部1401c、1402cによって付勢されながら傾斜部1401c、1402cに沿って移動する。
これによって、防振補正可動レンズ102aを係止用腕部1401a、1402aの間に挟持するように係止部材1401、1402をスライドさせるだけで、防振補正可動レンズ102aが中立位置からずれた位置にある場合にも、防振補正可動レンズ102aを防振ユニット103における機構上の中立位置に保持した状態で固定することができる。
固定機構1400がロック状態にある場合、各傾斜部1401c、1402cは、防振補正可動レンズ102aの外周縁に対して、図17において符号1701で示した4箇所の丸印の位置で当接する。防振補正可動レンズ102aの外周縁を4方向から押さえることにより、防振補正可動レンズ102aの位置を安定して固定することができる。
固定機構1400においては、係止部材1401、1402を図16における矢印1600Aで示す方向にスライドさせ、係止用腕部1401a、1402aによって挟み込まれた状態の防振補正可動レンズ102aから係止用腕部1401a、1402aを離間させることによって、防振補正可動レンズ102aが防振ユニット103の筐体104内において移動可能な状態、すなわちアンロック状態とする。
アンロック状態においては、各傾斜部1401c、1402cと防振補正可動レンズ102aの外周縁との間に、所定のクリアランス1601が形成される。可動レンズ枠301は、クリアランス1601の範囲内で移動可能とされる。係止部材1401、1402のスライド距離および切り欠き部1401b、1402bの形状は、アンロック状態における可動レンズ枠301が、上記の防振補正制御に際して十分に移動できる大きさのクリアランス1601を確保できるように設計されている。
また、固定機構1400においては、係止部材1401、1402が防振ユニット103の挿抜方向に沿ってスライドするため、係止部材1401、1402がスライドするスペースを確保するために防振ユニット103の幅方向における寸法を拡大する必要がない。これにより、防振ユニット103の幅方向における寸法の小型化(スリム化)を図ることができる。
防振ユニット103の幅方向の寸法の小型化(スリム化)を図ることにより、レンズ鏡筒101における開口101aを小さくすることができる。そして、開口101aを小さくすることにより、当該開口101aからレンズ鏡筒101内にゴミや埃などの異物が入り込むことを防止し、撮像用レンズ102に異物が付着することによる撮像画質の低下を防止することができる。
固定機構1400において、係止部材1401、1402を防振ユニット103の幅方向に沿ってスライド可能な構成とした場合は、係止部材1401、1402がスライドするスペースを確保するために防振ユニット103の挿抜方向における寸法を拡大する必要がない。これにより、防振ユニット103の挿抜方向における寸法の小型化を図ることができる。
固定機構1400における係止部材1403は、係止部材1401および係止部材1402に連結されており、係止部材1401と係止部材1402とを連動させる。係止部材1403は、支点1403bを中心として回動可能に設けられている。係止部材1403は、支点1403bを中心として、ロック状態からアンロック状態に変化する場合は図16における矢印1600Bで示す方向に回動する。また、係止部材1403は、支点1403bを中心として、アンロック状態からロック状態に変化する場合は図17における矢印1700Bで示す方向に回動する。係止部材1401および係止部材1402は、支点1403bを中心とする係止部材1403の回動にともなって、防振ユニット103の挿抜方向に沿ってスライドする。
係止部材1403は、筐体104の外部に突出する操作受付部1403aを備えている。操作受付部1403aを設けることにより、筐体104の外側から係止部材1403を回動させ、係止部材1401と係止部材1402とを連動させることができ、防振補正可動レンズ102aのロック状態とアンロック状態(フリー状態)とを容易に切り替えることができる。
操作受付部1403aを回動させて防振補正可動レンズ102aをロック状態又はアンロック状態を確実に維持させるためには、ロック状態又はアンロック状態となる係止部材1403の回動可能範囲の両端付近において係止部材1403の回転位置が保持されるように、図示しないが、例えば、操作受付部1403aが筐体104の外部に貫通する302と303との間に形成された貫通口に操作受付部1403aが配置される側に突出する突起部を形成しておき、係止部材1403の回動可能範囲の両端付近において操作受付部1403aが突起部に係合して貫通口に嵌合されて係止されるようにすればよい。但し、これは一例であって、防振補正可動レンズ102aをロック状態又はアンロック状態を確実に維持させることでできればこれに限るものではない。
操作受付部1403aは、防振ユニット103をレンズ鏡筒101に装着した状態において、筐体104およびレンズ鏡筒101の外部に突出する。これにより、係止部材1403は、駆動回路等を用いずに手動操作により、防振ユニット103単独の状態および防振ユニット103をレンズ鏡筒101に装着した状態、のいずれの状態においても係止部材1403を回動させ、係止部材1401と係止部材1402とを連動させることができる。
各種データ(防振補正用のデータ)の取得に際しては、たとえば各種データ(防振補正用のデータ)の取得作業をおこなう作業者が、操作受付部1403aを手で把持した状態で係止部材1403を回動させ、防振補正可動レンズ102aをロック状態とする。そして、防振補正可動レンズ102aの位置が固定され、防振ユニット103の性能が安定した状態で各種データ(防振補正用のデータ)の取得にかかる各種の測定をおこなう。
このように、固定機構1400においては、電力を消費することなく、防振補正可動レンズ102aのロック状態とアンロック状態とを切り替えることができる。これにより、防振補正可動レンズ102aを中立位置に位置付けるために、防振ユニット103をレンズ鏡筒101に装着したり、あるいは防振ユニット103に通電するための回路を用いたりすることなく、防振ユニット103の各種データ(防振補正用のデータ)を取得することができる。
また、防振補正可動レンズ102aがレンズ鏡筒101に対して挿抜可能な防振ユニット103に収容される構成の場合であって、その防振ユニット103がレンズ鏡筒101に挿し込まれていない単体の状態においても、駆動回路等を用いることなく手動操作によって防振補正可動レンズ102aを防振ユニット103における機構上の中立位置に保持した状態で固定することができる。
固定機構1400においては、係止部材1403を回動させるための所定のアクチュエーターを操作受付部1403aに連結することにより、防振補正可動レンズ102aのロック状態とアンロック状態との切り替えを電動化することができる。
(防振補正可動レンズ102aの固定機構の別の一例)
つぎに、この発明にかかる実施の形態のレンズユニット100が備えた防振ユニット103における防振補正可動レンズ102aの固定機構の別の一例について説明する。図18、図19および図20は、防振補正可動レンズ102aの固定機構の別の一例を示す説明図である。
図18、図19および図20において、防振補正可動レンズ102aの固定機構は、防振ユニット103の筐体104に対して取り外し可能に取り付けられる係止部材1801によって実現することができる。係止部材1801は、内径寸法が防振補正可動レンズ102aの外形寸法と同等であって、外形寸法が防振ユニットカバー303に設けられた開口305bの内径寸法と同等とされた環形状からなる。
防振ユニット103は、防振補正可動レンズ102aの外周縁と開口305bの内周との間に係止部材1801を嵌め込んだ状態においてロック状態とされる。また、防振ユニット103は、防振補正可動レンズ102aの外周縁と開口305bの内周との間から係止部材1801を取り外した状態においてアンロック状態とされる。
開口305bには、係止部材1801の取り外しに用いる、係止部材取り外し用切欠1802が設けられている。係止部材取り外し用切欠1802は、開口305bに連続し、開口305bを間にして防振ユニット103の挿抜方向に沿って対向するように設けられている。
係止部材1801によってロック状態とされた防振ユニット103をアンロック状態とする場合は、係止部材取り外し用切欠1802にピンセットなどを挿入し、係止部材1801を摘むようにして取り外すことができる。あるいは係止部材1801によってロック状態とされた防振ユニット103をアンロック状態とする場合は、係止部材取り外し用切欠1802に、先端が細くなった棒状部材を挿入し、係止部材1801を掻き出すようにして取り外すことができる。これによって、係止部材1801を用いた、防振ユニット103におけるロック状態とアンロック状態との切り替えを容易におこなうことができる。
以上説明したように、この実施の形態のレンズ装置の一例としてのレンズユニット100は、光学系を構成する光学部材の一例としての撮像用レンズ102を備えたレンズ鏡筒101と、光軸方向と直交する方向に沿って移動可能であって光学系の一部を構成する防振補正可動レンズ102aと当該防振補正可動レンズ102aを収容した筐体104とを有し、レンズ鏡筒101に対して光軸方向と直交する方向(挿抜方向)にスライドすることによりレンズ鏡筒101に対して着脱可能な防振ユニット103と、筐体104に設けられ、光学系の一部を構成するとともに光軸方向において防振ユニット103に隣り合う光学部材の一例としての撮像用レンズ102bの少なくとも一部と防振ユニット103とが光軸方向において重複するように、撮像用レンズ102bの少なくとも一部を収容可能な収容部の一例としての退避用開口部104aと、を備えたことを特徴としている。
この実施の形態のレンズユニット100によれば、防振補正機能を実現するレンズユニット100における小型化、特に、光軸方向における小型化(薄型化)を図ることができる。そして、レンズユニット100の小型化(薄型化)を図ることにより、当該レンズユニット100を備えた撮像装置の小型化(薄型化)を図ることができる。
レンズユニット100において、退避用開口部104aは、撮像用レンズ102bの少なくとも一部と防振ユニット103とが光軸方向において重複する形状に限るものではない。具体的には、退避用開口部104aは、撮像用レンズ102bを保持する保持部材の一例としてのレンズ枠の少なくとも一部と防振ユニット103とが光軸方向において重複するように、撮像用レンズ102bの少なくとも一部を収容可能な形状であればよい。
また、この実施の形態のレンズユニット100において、撮像用レンズ102bを、撮影状態において光軸方向に沿って移動可能なレンズ、具体的には撮影可能な状態において光軸方向に沿って移動可能であって、当該光軸方向に沿って移動することにより光学系の焦点位置を調整するフォーカスレンズとすることにより、撮像用レンズ102bと防振ユニット103とを光軸方向において重複させるために撮像用レンズ102bを光軸方向に移動可能とする構成をあらたに追加することなく、元々移動可能に構成されたフォーカスレンズを利用して撮像用レンズ102bと防振ユニット103とを光軸方向において一部重複させることができる。なお、撮像用レンズ102bは、フォーカスレンズに限られるものではなく、たとえば、異なる焦点距離を得るために光軸方向に移動可能としたズームレンズであってもよい。
これによって、構成の複雑化を抑え、元々の構成を活用しつつ、防振補正機能を実現するレンズユニット100における小型化、特に、光軸方向における小型化(薄型化)を図ることができる。そして、レンズユニット100の小型化(薄型化)を図ることにより、当該レンズユニット100を備えた撮像装置の小型化(薄型化)を図ることができる。
また、この実施の形態のレンズユニット100は、光学系を備えたレンズ鏡筒101と、レンズ鏡筒101に対して光軸方向と直交する方向に沿って挿抜可能な防振ユニット103と、を備えており、レンズ鏡筒101に対する防振ユニット103の挿抜を可能とすることにより、レンズユニット100における防振ユニット103のみを交換することができる。
これによって、たとえばレンズユニット100に対して要求される特性(性能)や劣化による防振ユニット103の性能低下などが生じた場合に、適宜、防振ユニット103の交換をおこなうことにより、レンズユニット100に対する要求性能を容易に維持することができる。
そして、これにより、レンズユニット100における防振ユニット103以外の部品を共通化しつつ、個々のレンズユニット100に対する要求性能を容易に満たすことができるので、レンズユニット100の品質確保および製造コストの低減を図ることができる。
また、この発明にかかる撮像装置は、上記のレンズ装置と、前記レンズ装置を通過した光が入射する撮像素子と、を備えたことを特徴とする。この実施の形態の撮像装置によれば、小型化(薄型化)を図ったレンズユニット100を用いて撮像装置を構成することができるので、撮像装置の小型化(薄型化)を図ることができる。
以上のように、この発明にかかるレンズ装置および撮像装置は、防振補正機能を実現可能なレンズ装置、および、当該レンズ装置を備えた撮像装置に有用であり、特に、監視カメラなどに利用されるレンズ装置、および、当該レンズ装置を備えた撮像装置に適している。
100 レンズユニット
101 レンズ鏡筒
102 撮像用レンズ
102a 防振補正可動レンズ
102b 撮像用レンズ
103 防振ユニット
104 筐体
104a 退避用開口部

Claims (3)

  1. 光学系を構成する光学部材を備えたレンズ鏡筒と、
    光軸方向と直交する方向に沿って移動可能であって前記光学系の一部を構成する防振補正可動レンズと当該防振補正可動レンズを収容した筐体とを有し、前記レンズ鏡筒に対して前記光軸方向と直交する方向にスライドすることにより前記レンズ鏡筒に対して着脱可能な防振ユニットと、
    前記筐体に設けられ、前記光学系の一部を構成するとともに前記光軸方向において前記防振ユニットに隣り合う光学部材もしくは当該光学部材を保持する保持部材の少なくとも一部と前記防振ユニットとが前記光軸方向において重複するように、前記防振ユニットに隣り合う光学部材の少なくとも一部を収容可能な収容部と、
    を備えたことを特徴とするレンズ装置。
  2. 前記防振ユニットに隣り合う光学部材は、撮影状態において前記光軸方向に沿って移動可能なレンズであることを特徴とする請求項1に記載のレンズ装置。
  3. 請求項1または2に記載のレンズ装置と、
    前記レンズ装置を通過した光が入射する撮像素子と、
    を備えたことを特徴とする撮像装置。
JP2009175770A 2009-07-28 2009-07-28 レンズ装置および撮像装置 Expired - Fee Related JP5324350B2 (ja)

Priority Applications (3)

Application Number Priority Date Filing Date Title
JP2009175770A JP5324350B2 (ja) 2009-07-28 2009-07-28 レンズ装置および撮像装置
US12/647,814 US8059950B2 (en) 2009-07-28 2009-12-28 Image stabilizing apparatus, lens apparatus, imaging apparatus, and correction optical apparatus
CN2009102656226A CN101986192A (zh) 2009-07-28 2009-12-28 图像抖动防止装置、透镜装置、摄像装置及补偿光学装置

Applications Claiming Priority (1)

Application Number Priority Date Filing Date Title
JP2009175770A JP5324350B2 (ja) 2009-07-28 2009-07-28 レンズ装置および撮像装置

Publications (2)

Publication Number Publication Date
JP2011028126A true JP2011028126A (ja) 2011-02-10
JP5324350B2 JP5324350B2 (ja) 2013-10-23

Family

ID=43636913

Family Applications (1)

Application Number Title Priority Date Filing Date
JP2009175770A Expired - Fee Related JP5324350B2 (ja) 2009-07-28 2009-07-28 レンズ装置および撮像装置

Country Status (1)

Country Link
JP (1) JP5324350B2 (ja)

Cited By (1)

* Cited by examiner, † Cited by third party
Publication number Priority date Publication date Assignee Title
JP2015040866A (ja) * 2013-08-20 2015-03-02 日立マクセル株式会社 手振れ補正装置およびズームレンズユニット

Citations (3)

* Cited by examiner, † Cited by third party
Publication number Priority date Publication date Assignee Title
JPH05196982A (ja) * 1992-01-17 1993-08-06 Nikon Corp 像ブレ補正システム
JP2003262776A (ja) * 2002-03-08 2003-09-19 Sony Corp 結像レンズ装置及び撮像装置
JP2004348030A (ja) * 2003-05-26 2004-12-09 Sony Corp レンズ装置

Patent Citations (3)

* Cited by examiner, † Cited by third party
Publication number Priority date Publication date Assignee Title
JPH05196982A (ja) * 1992-01-17 1993-08-06 Nikon Corp 像ブレ補正システム
JP2003262776A (ja) * 2002-03-08 2003-09-19 Sony Corp 結像レンズ装置及び撮像装置
JP2004348030A (ja) * 2003-05-26 2004-12-09 Sony Corp レンズ装置

Cited By (1)

* Cited by examiner, † Cited by third party
Publication number Priority date Publication date Assignee Title
JP2015040866A (ja) * 2013-08-20 2015-03-02 日立マクセル株式会社 手振れ補正装置およびズームレンズユニット

Also Published As

Publication number Publication date
JP5324350B2 (ja) 2013-10-23

Similar Documents

Publication Publication Date Title
US8059950B2 (en) Image stabilizing apparatus, lens apparatus, imaging apparatus, and correction optical apparatus
JP5188722B2 (ja) 像振れ補正装置およびカメラ
JP5202202B2 (ja) 光学機器
JP5430074B2 (ja) 光学機器およびそれを備えた撮像装置
JP4626780B2 (ja) カメラの手振れ補正装置
JP6103840B2 (ja) 補正光学装置及び撮像装置
JP5574873B2 (ja) 光学素子駆動装置および撮像装置
EP2141539B1 (en) Blurring correction device and optical apparatus
EP3261329A1 (en) Image capturing device
JP2013134385A (ja) 防振アクチュエータ、及びそれを備えたレンズユニット、カメラ、及びそれらの製造方法
US10379422B2 (en) Position detecting apparatus and image stabilization apparatus to which position detecting apparatus is applied
JP2008197388A (ja) 像ブレ補正装置、レンズ鏡筒、光学機器
WO2013046816A1 (ja) 像振れ補正装置及びそれを備えた撮像装置
US20190072779A1 (en) Image stabilization device
KR20140027418A (ko) 촬상 장치
JP5012085B2 (ja) ブレ補正装置及び光学装置
JP5450201B2 (ja) 光学要素の退避機構
US10151934B2 (en) Lens barrel capable of accurately positioning and fixing magnetic sensor, image pickup apparatus, and image blur correction device
JP5372641B2 (ja) 像振れ防止装置、レンズ装置および撮像装置
JP5159090B2 (ja) 光学機器
JP4921087B2 (ja) フレキシブル基板の固定装置
JP5324350B2 (ja) レンズ装置および撮像装置
JP2016184132A (ja) 光学駆動装置および光学機器
JP2013073201A (ja) 像振れ補正装置及びそれを備えた撮像装置
JP2010039083A (ja) 光学防振装置及び光学機器

Legal Events

Date Code Title Description
A621 Written request for application examination

Free format text: JAPANESE INTERMEDIATE CODE: A621

Effective date: 20111201

A977 Report on retrieval

Free format text: JAPANESE INTERMEDIATE CODE: A971007

Effective date: 20121121

A131 Notification of reasons for refusal

Free format text: JAPANESE INTERMEDIATE CODE: A131

Effective date: 20121204

A521 Request for written amendment filed

Free format text: JAPANESE INTERMEDIATE CODE: A523

Effective date: 20130130

TRDD Decision of grant or rejection written
A01 Written decision to grant a patent or to grant a registration (utility model)

Free format text: JAPANESE INTERMEDIATE CODE: A01

Effective date: 20130625

A61 First payment of annual fees (during grant procedure)

Free format text: JAPANESE INTERMEDIATE CODE: A61

Effective date: 20130718

R150 Certificate of patent or registration of utility model

Ref document number: 5324350

Country of ref document: JP

Free format text: JAPANESE INTERMEDIATE CODE: R150

Free format text: JAPANESE INTERMEDIATE CODE: R150

R250 Receipt of annual fees

Free format text: JAPANESE INTERMEDIATE CODE: R250

R250 Receipt of annual fees

Free format text: JAPANESE INTERMEDIATE CODE: R250

R250 Receipt of annual fees

Free format text: JAPANESE INTERMEDIATE CODE: R250

R250 Receipt of annual fees

Free format text: JAPANESE INTERMEDIATE CODE: R250

R250 Receipt of annual fees

Free format text: JAPANESE INTERMEDIATE CODE: R250

LAPS Cancellation because of no payment of annual fees